|
(21), (22) Заявка: 2005131601/12, 13.10.2005
(24) Дата начала отсчета срока действия патента:
13.10.2005
(43) Дата публикации заявки: 20.04.2007
(46) Опубликовано: 20.10.2007
(56) Список документов, цитированных в отчете о поиске:
US 3463005 A, 26.08.1969. WO 96/24829 A1, 15.08.1996. SU 1249378 A1, 07.08.1986. US 4401389 A, 30.08.1983. US 4361053 A, 30.11.1982. SU 1782992 A1, 23.12.1992.
Адрес для переписки:
162608, Вологодская обл., г. Череповец, ул. Комсомольская, 12, ООО “Нординкрафт-Сенсор”
|
(72) Автор(ы):
Гордеев Юрий Витальевич (RU), Мишин Дмитрий Владимирович (RU), Максимов Павел Александрович (RU)
(73) Патентообладатель(и):
ООО “Нординкрафт-Сенсор” (RU)
|
(54) ИЗМЕРИТЕЛЬНЫЙ ЗОНД ДЛЯ ПОГРУЖЕНИЯ В РАСПЛАВ МЕТАЛЛА
(57) Реферат:
Изобретение относится к измерительным зондам, погружаемым в расплав металла для замера температуры, окисленности, содержания углерода и отбора проб металла во время продувки плавки с последующим ее сливом без провалки конвертера. Измерительный зонд для погружения в расплав металла содержит фурму, механизм опускания фурмы в расплав металла и устройство для отбора проб и измерения температуры расплава. Фурма выполнена в виде трех концентрически расположенных относительно друг друга труб с образованием двух каналов между стенками для подачи охлаждающих сред для охлаждения измерительных кабелей. Кабели пропущены через центральный канал фурмы. Верхний конец фурмы снабжен оголовком с отверстиями для подачи охлаждающих сред. В центральную трубу фурмы установлен металлический стержень в виде жезла. Жезл герметично состыкован с центральной трубой. Жезл состоит из головки с установленными на нем контактодержателем и датчиком уровня расплава в конвертере. Жезл имеет среднюю часть в виде полой трубы и хвостовую часть в виде втулки с резьбой для соединения с фурмой. Жезл содержит узел установки электрических разъемов для подключения измерительных кабелей, пропущенных внутри центральной трубы. Тело фурмы установлено в хвостовую часть жезла с образованием кольцевого зазора по всей длине жезла. Наружная поверхность втулки хвостовой части жезла снабжена ребрами для укрепления на жезле сменного блока. Блок выполнен в виде картонной трубки. Блок содержит датчик температуры и пробницу для отбора пробы расплавленного металла. Блок имеет разъем для соединения с контактодержателем жезла. Датчик уровня расплава металла выполнен в виде катушки индуктивности, намотанной на стальную втулку, установленную на головке жезла. Фурма свободно подвешена над конвертером при помощи полиспастной системы. Фурма снабжена механизмом перезарядки в виде манипуляторов для стыковки сменных блоков с жезлом. Фурма имеет магазин для хранения сменных блоков и передачи их в манипулятор для стыковки сменных блоков с жезлом. Фурма имеет пневматическую систему отстрела отработанных сменных блоков. Фурма имеет успокоитель для гашения колебаний фурмы после извлечения из расплава металла. Фурма имеет устройство для удаления шлака с поверхности фурмы и механизм отвода фурмы и механизм перемещения отработанных сменных блоков. Изобретение повышает уровень автоматизации. 11 з.п. ф-лы, 20 ил.
Настоящее изобретение относится к измерительным зондам, погружаемым в расплав металла для замера температуры, окисленности, содержания углерода и отбора проб металла во время продувки плавки с последующим ее сливом без повалки конвертера.
Известен погружной зонд для взятия пробы расплавленного металла, определения температуры расплава в ванне и определения температуры ликвидуса расплавленного металла в процессе его затвердевания, имеющий удлиненную форму с возможностью контактирования с расплавом металла, первый и второй огнеупорные корпусы, соединенные встык при помощи связующего вещества, пробоотборную камеру, ограниченную множеством внутренних стенок, датчик температуры расплава, расположенный внутри пробоотборной камеры, теплоприемник, расположенный внутри пробоотборной камеры, изолирующий экран, электрический соединительный зажим, установленный по прессовой посадке внутри второго корпуса, и слой огнеупорного цемента, закрепляющего датчик определения температуры ликвидуса, датчик измерения температуры ванны расплава и электрический зонда в расплав предусмотрен металлический шест, соединяющийся с зондом при помощи сменной картонной трубки [1].
К недостаткам известного зонда относится:
– невозможность точного определения уровня расплава в ванне, что может вызвать неточность при определении температуры ликвидуса и температуры расплава;
– невозможность сохранения в целости электрического соединительного зажима после извлечения пробы металла, так как он зацементирован заодно с огнеупорными корпусами при помощи цемента, то есть разъем не подлежит повторному использованию;
– отсутствие охлаждения термопар, электрических кабелей и контактов, что не гарантирует зонд от прогорания в момент нахождения в расплаве;
– большой объем ручных работ при использовании зонда при его подготовке к следующему измерению.
Известен пробоотборник, пригодный для использования в целях получения пробы расплавленного металла во время продувки плавки стали в кислородном конвертере, включающий полую камеру с охладительной пластиной на одном конце и устройством на противоположном конце, например, в виде погружного жезла, при помощи которого пробоотборник опускается в ванну, при этом камера имеет, по меньшей мере, один канал между охладительной пластиной и устройством управления для соединения камеры и защитного огнеупорного покрытия на внешней стороне пробоотборника, продольно расширяющуюся полую камеру с охладительной пластиной на одном конце и устройством на противоположном конце, при помощи которого пробоотборник опускается в ванну, при этом камера имеет по меньшей мере один канал между охладительной пластиной и устройством управления для соединения камеры и защитного огнеупорного покрытия на внешней стороне пробоотборника, а также одноразовое средство, закрывающее канал и растворяющееся в расплавленной стали, когда канал пробоотборника оказывается в ванне с расплавом. Погружной жезл опускается в конвертер, например, при помощи кабеля и катушки на заранее установленное расстояние, определяемое вне конвертера [2].
К недостаткам известного проботборника относится:
– невозможность точного определения уровня расплава в ванне, что может вызвать попадание в пробоотборник шлака и соответственно получение некачественной пробы металла;
– отсутствие охлаждения металлического жезла, что не гарантирует жезл и пробоотборник от прогорания в момент нахождения в расплаве;
– трудоемкость работ при подготовке пробоотборника для получения следующей пробы.
Известна иммерсионная термопара для вакуумной печи (телескопического типа), включающая корпус с двумя синхронизированными отверстиями в верхней и донной частях, трубчатый вал, проходящий через отверстия и составленный из множества свободно выдвигающихся трубок, присоединенных одна к другой, при этом нижний конец самой большой трубки неподвижно прикрепляется к корпусу вокруг его верхнего отверстия, остальные трубки одна из другой выдвигаются из вышеуказанного нижнего конца самой большой трубки, из нижнего конца самой маленькой трубки выдается элемент термопары, к корпусу прикрепляется самая большая трубка и намоточный барабан с кабелем, устройство для закрепления нижнего конца кабеля в самой маленькой трубке; устройство для вращения барабана и намотки кабеля для того, чтобы поднять элемент термопары в корпус, расположенный наверху печи и опускать остальные трубки под действием силы тяжести в печь, устройство для подсоединения верхнего конца подводящего провода к электрической цепи и подключения термопары к кабелю в виде разъема, устройство для создания вакуума в указанном корпусе, когда элемент находится внутри корпуса и клапан закрыт, пружины для устройства захвата верхнего конца наконечника, устройство, разъемно соединяющее указанный элемент с проводом [3].
Известно погружное устройство для отбора пробы расплавленного металла для измерения температуры расплавленного металла на подповерхностном уровне ванны с расплавом, которое содержит утяжеленный корпус, имеющий футерованную камеру, закрытую с одного края и открытую с другого для того, чтобы сформировать пробу расплавленного металла на подповерхностном уровне ванны, при этом покрытие камеры имеет свойство – охлаждение пробы с регулируемой скоростью до температуры ниже температуры ванны с расплавом во время погружения корпуса в ванну; первое устройство измерения температуры располагается в камере и настроено для измерения температуры ликвидус пробы в камере; второе устройство измерения температуры выступает из корпуса и применяется для измерения температуры расплава ванны; соединения электрической цепи протянуты от каждого устройства определения температуры для подключения к схеме измерения температуры до положения над поверхностью ванны; и имеется устройство для попеременного подключения соединений цепи к устройству измерения температуры для попеременной регистрации температуры ванны и температуры ликвидус пробы в камере [4].
К недостаткам известного зонда относится:
– невозможность точного определения уровня расплава в ванне, что может вызвать неточность при определении температуры расплава;
– невозможность выполнения электрического соединения термопары и кабеля после извлечения из расплава без применения ручного труда;
– отсутствие охлаждения термопары, электрических кабелей и контактов, что не гарантирует их от прогорания в момент нахождения в расплаве;
– закрытие клапана в верхней стенке печи, извлечение термопары из корпуса, замена на новый элемент и подключение к разъему (розетке) осуществляется вручную, в непосредственной близости от печи, что сопряжено с опасностью для обслуживающего персонала.
Целью изобретения является упрощение конструкции, повышение надежности и ремонтопригодности, снижение аварийности и себестоимости зонда, а также повышение уровня автоматизации при выполнении измерений и обеспечение безопасности персонала.
Поставленная задача решается тем, что в измерительном зонде для погружения в расплав металла, содержащем фурму, механизм опускания фурмы в расплав металла, заполняющего емкость, например, конвертер и устройства для отбора проб и измерения температуры расплава, согласно изобретению фурма выполнена в виде трех, концентрически расположенных относительно друг друга труб с образованием двух каналов между стенками для подачи охлаждающих сред, например воды и газообразного азота для охлаждения измерительных кабелей, пропущенных через центральный канал фурмы, верхний конец фурмы снабжен оголовком с отверстиями для подачи охлаждающих сред, в центральную трубу фурмы установлен металлический стержень в виде жезла, герметично состыкованного с центральной трубой, состоящего из головки жезла с установленными на нем контактодержателем и датчиком уровня расплава в конвертере, средней части в виде полой трубы и хвостовой части в виде втулки с резьбой для соединения с фурмой и узла установки электрических разъемов для подключения измерительных кабелей, пропущенных внутри центральной трубы, тело фурмы установлено в хвостовую часть жезла таким образом, что образуется кольцевой зазор по всей длине жезла, наружная поверхность втулки хвостовой части жезла снабжена ребрами, предназначенные для укрепления на жезле сменного блока, выполненного, например, в виде картонной трубки, содержащего датчик температуры и пробницу для отбора пробы расплавленного металла и разъем для соединения с контактодержателем жезла, датчик уровня расплава металла выполнен в виде катушки индуктивности, намотанной на стальную втулку, установленную на головке жезла, фурма свободно подвешена над конвертером при помощи полиспастной системы, снабжена механизмом перезарядки в виде манипуляторов для стыковки сменных блоков с жезлом при помощи контактодержателя и приема отработанных блоков, магазином для хранения сменных блоков и передачи их в манипулятор для стыковки сменных блоков с жезлом, пневматической системой отстрела отработанных сменных блоков, успокоителем для гашения колебаний фурмы после извлечения из расплава металла, устройством для удаления шлака с поверхности фурмы, механизмом отвода фурмы и механизмом перемещения отработанных сменных блоков.
Кроме того, измерительный зонд для погружения в расплав металла снабжен механизмом подъема и опускания фурмы, выполненным в виде лебедки, соединенной при помощи полиспастной системы и обоймы с блоками с оголовком фурмы.
Катушка индуктивности датчика уровня расплава металла в конвертере снабжена экраном для предотвращения магнитного поля в тело жезла, выполненного в виде подложки из нескольких слоев пермолоя и лакоткани, залита эпоксидной смолой, а ее выходы подключены через разъем и контактодержатель на измерительном жезле к измерительному кабелю, проходящему через фурму к электронному модулю измерения уровня расплава металла.
Измерительный зонд для погружения в расплав металла снабжен также автоматической системой позиционирования на заданную глубину погружения в расплав металла.
Манипулятор механизма перезарядки для стыковки сменных блоков с жезлом состоит из привода перемещения манипулятора, центрирующей воронки, захвата и каретки.
Манипулятор механизма перезарядки, осуществляющий прием отработанного сменного блока и передачу его к механизму перемещения состоит из привода перемещения манипулятора, пассивной центрирующей воронки и заслонки.
Магазин для хранения сменных блоков и передачи их в манипулятор, осуществляющий стыковку сменного блока с жезлом, состоит из вращающегося барабана и зажимов сменных блоков.
Успокоитель для гашения колебаний фурмы выполнен в виде цангового захвата с пневматическим приводом.
Пневматическая система отстрела (съема) отработанных сменных блоков с жезла снабжена шлангом, связанным с электропневматическим клапаном азота и внутренней полостью сменного блока.
Устройство для удаления шлака с поверхности фурмы выполнено в виде консольного отбойника с пневмоприводом, установленного на шарнире с возможностью периодического пересечения с фурмой под углом 30° для совершения удара по наружной трубе фурмы после извлечения из расплава.
Механизм отвода фурмы содержит лебедку, полиспастную систему, соединенную с оголовком фурмы при помощи системы рычагов. Механизм перемещения отработанных сменных блоков выполнен в виде трубы, соединяющей манипулятор приема и сброса отработанных блоков со шкафом для приемки пробниц.
Назначение основных узлов измерительного зонда
Составные части комплекса измерительной фурмы установлены на металлоконструкциях, расположенных на разных уровнях над конвертером.
Фурма предназначена для закрепления на ней контактной трубы и измерительного зонда с целью опускания их в зону замера параметров расплавленной стали в конвертере и забора пробы стали, а также защиты измерительного кабеля от воздействия высоких температур и «отстрела» зонда. Фурма подвешена на несущих канатах механизма подъема посредством оголовка.
Механизм отвода фурмы предназначен для отвода фурмы из рабочего положения с целью освобождения прохода для проноса кислородной фурмы при ее замене на соседнем конвертере. Кроме того, механизм отвода фурмы позволяет центровать фурму относительно оси конвертера в заданном размере и обеспечивает удержание фурмы на жестком упоре про проведении ремонтных работ.
Изменение наклона портала механизма отвода фурмы осуществляется специальной лебедкой с электроприводом.
Полиспастная система предназначена для обеспечения опускания (подъема) фурмы в конвертер. Полиспастная система содержит грузовой канат, подвеску и систему отклоняющих блоков. Концы каната закреплены на барабанах механизма подъема. Один из отклоняющих блоков выполнен в виде ограничителя грузоподъемности.
Оголовок предназначен для подключения фурмы к сети энергоносителей (воздух, вода, азот).
Стенд для обслуживания фурмы предназначен для навески фурмы во время ремонтных и профилактических работ на механизме отвода и механизме подъема.
Механизм подъема предназначен для опускания (подъема) измерительной фурмы в конвертер. Механизм подъема двухскоростной.
Магазин предназначен для хранения сменных блоков в вертикальном положении и их подачи в зону захвата зондов манипулятором. Магазин роторного типа, вращение ротора осуществляется от пневмопривода.
Манипулятор А предназначен для извлечения сменных блоков из магазина, переноса их в зону замера параметров расплавленной стали в конвертере и насадки на контактную труду фурмы. Поворот манипулятора осуществляется от электропривода.
Манипулятор В предназначен для переноса сменного блока с пробой из зоны замера параметров расплавленной стали в конвертере в зону сброса сменного блока с пробой в пробоотвод.
Механизм перезарядки обеспечивает совместную работу магазина, манипулятора А и манипулятора В.
Шибер предназначен для перекрытия входного отверстия шлюза кессона в промежутках между замерами.
Успокоитель предназначен для успокоения и удержания фурмы от раскачивания. При опускании фурмы в конвертер и при ее подъеме захват раскрывается для обеспечения свободного прохода подвески фурмы.
Механизм перемещения использованного блока предназначен для приема использованного зонда с пробой и доставки их на рабочую площадку конвертера.
Подвеска рукавов предназначена для подвода к фурме энергоносителей и электрического кабеля.
Отбойник шлака предназначен для очищения фурмы от настылей и шлака после выведения ее из зоны замера.
Способ измерения уровня металла в конвертере основан на возникновении токов Фуко в катушке индуктивности, являющейся элементом резонансного контура электронного измерителя уровня металла, находящейся в среде расплавленного металла. Измеритель уровня металла (ИУМ) представляет собой генератор с перестраиваемой частотой, в колебательный контур которого включен датчик уровня с узлом фильтрации возмущающих действий шлака в конвертере. Дискретный выход ИУМ связан с контроллером, с помощью которого производится позиционирование измерительного зонда. При прохождении датчика уровня границы шлак-металл на выходе ИУМ возникает импульс +24В. В этот момент текущая позиция фурмы определяется как измеренный уровень металла.
Существующие способы измерения уровня металла:
1) с помощью специального сменного блока, измеряющего падение напряжения между двумя графитовыми стержнями от действия электрических токов, возникающих в результате термоэлектрической реакции в конвертере (KRUPP). Недостаток – низкая эффективность, требуется специальная подготовка ванны конвертера, дополнительное время на проведение замера, низкая точность замера;
2) за счет использования измерения окисленности металла с помощью блока измерения окисленности типа Celox. Недостаток – в случае отказа измерения окисленности, измерение уровня металла также не происходит. В обоих случаях низкая точность происходит в результате проведения замера уровня металла во время движения измерительного зонда вверх из-за насыщения приграничной шлаковой зоны металлом в результате барбатажа металла от горения сменного измерительного блока).
Способ позиционирования измерительной фурмы в металле во время измерительного цикла.
Для достижения стабильных положительных результатов по измерению параметров металла в конвертере и отбора проб с помощью измерительного зонда на каждом замере необходима фиксированная глубина погружения сменного блока в металл, не зависящая от технологической операции в конвертере. Во время движения измерительного зонда вниз при прохождении датчика уровня границы шлак-металл в результате воздействия токов Фуко на выходе измерителя уровня металла возникает импульс +24В, по фронту которого текущее положение измерительной фурмы определяется как измеренный уровень металла. В программе управления позиционированием измерительного зонда к этому значению добавляется заранее заданная глубина погружения (450 мм) и эта величина является точкой остановки измерительного зонда в конвертере. Отличительной особенностью будет являться то, что измерение уровня металла происходит на каждом измерительном цикле во время движения зонда вниз, что исключает влияние насыщения шлака металлом в точке измерения от горения блока.
Отличительная особенность. 1) Свободная подвеска фурмы без использования несущей и направляющей колонн и каретки. Это приводит к значительному сокращению затрат на изготовление и монтаж оборудования, удешевлению стоимости измерительной фурмы, повышает ремонтопригодность оборудования, позволяет смонтировать данную установку в практически любом конвертерном цехе со стесненными условиями, упрощает проведение ремонтных работ, связанных с котлом-охладителем отходящих газов. 2) Применение второго манипулятора для ускоренной перезарядки. Отсутствие направляющей колонны позволило установить второй манипулятор, с помощью которого производится сброс отработанного блока с пробой на рабочую площадку. Это позволяет сэкономить 30 секунд измерительного цикла и повысить надежность доставки пробы. 3) Использование газоохлаждаемой фурмы свело к нулю аварийные взрывы в конвертере в результате аварийных ситуаций на измерительном зонде. Кроме этого, исключена проблема стыковки автоматически перезаряжаемого сменного блока с измерительным жезлом в результате налипания настылей на фурме.
Способ пневматического съема сменного блока с жезла после замера параметров металла в конвертере.
После выхода зонда из конвертера необходимо произвести отделение отработанного сменного блока с пробой от измерительной фурмы.
Жезл, имеющий специальную конструкцию с находящимся на нем отработанным сменным блоком, герметично состыкован с центральной трубой фурмы, через которую проходят измерительные кабеля. В верхней части фурмы через специальную крышку подключен шланг, связанный с электропневматическим клапаном азота. После остановки фурмы в верхнем положении и подхода манипулятора для пневматического съема блока происходит включение азотного клапана. Давление азота, возникающее во внутренней полости сменного блока при условии применения специального жезла, производит его «отстрел» в приемную воронку манипулятора, после чего манипулятор разворачивается в позицию сброса блока. После этого открывается заслонка манипулятора и блок по специальному трубопроводу падает на рабочую площадку конвертера.
Конструкция жезла для пневматического съема сменного блока. Конструкция жезла должна обеспечивать выполнение следующих требований. 1) Надежное удержание сменного блока. 2) Обеспечение пневматического съема блока. Жезл состоит из следующих частей: головки жезла, с установленными на ней контактодержателем и датчиком уровня, тела жезла и хвостовой части. Хвостовая часть состоит из резьбы для вкручивания жезла в фурму, узла установки электрических разъемов для подключения кабелей, ребер для удержания сменного блока и уплотняющей части. Тело фурмы установлено в хвостовую часть таким образом, что образуется кольцевой зазор по всей длине хвостовой части. При подаче азота на отстрел за счет уплотняющей части хвостовика во внутренней полости сменного блока возникает давление, которое создает усилие по сдергиванию блока с удерживающих ребер жезла. Так как удерживающие ребра находятся выше уплотняющей части, сдергивающая сила будет существовать и после схода блока с ребер. При этом происходит ускорение движения и блок со скоростью попадает в воронку манипулятора. Для исключения попадания жидкого металла во внутреннюю полость фурмы в результате аварийного прогара жезла верхняя часть последнего, через которую выведены измерительные провода, герметично заглушено специальной термостойкой массой.
Конструкция оголовка для установки измерительной фурмы. Отличительные особенности следующие. 1) Крепление шлангов осуществляется к оголовку, в который помещается фурма. 2) Герметичность соединения осуществляется с помощью специальных уплотняющих колец, установленных на оголовок. Конструкция пазов и колец, а также система установки обеспечивает герметичность соединения и долговечность уплотняющих колец. Фиксация фурмы в оголовке происходит с помощью быстросъемных зажимных устройств. Подобная конструкция подвески позволяет в течение 10 минут подготовить фурму к замене.
Способ и конструкция удаления шлака с измерительной фурмы. Удаление шлака, налипающего на фурму в конвертере после ее выхода в верхнее положение возможно только после его остывания в течение времени не менее, чем 10 секунд. В связи с этим, съем шлака во время движения фурмы из конвертера не эффективен. После остывания шлака на поверхности фурмы достаточно нанесения нескольких ударов по ее поверхности в районе образования настылей для его удаления. Съемник шлака представляет собой рычажный ударный механизм с пневматическим приводом. После остановки фурмы перед подходом манипулятора для пневматического съема блока производится несколько ударов по поверхности фурмы.
Алгоритм работы измерительного зонда выглядит следующим образом.
1. Исходное положение.
1.1. Фурма находится в верхнем нормальном положении.
1.2. Магазин в позиции «назад».
1.3. Манипулятор А в позиции «магазин».
1.4. Захват и воронка открыты.
1.5. Каретка внизу.
1.6. Манипулятор В в поз.«сброс».
1.7. Заслонка закрыта.
1.8. Успокоитель открыт.
1.9. Шибер закрыт.
1.10. Азот и воздух на охлаждение отключены.
1.11. Азот на отстрел отключен.
1.12. Портал в рабочем положении.
2.Зарядка.
2.1. По команде с ГПО «Зарядка» все механизмы переводятся в исходное положение не в зависимости от их положения.
2.2. Срабатывает съемник шлака и происходит обрушение шлака.
2.3. Магазин совершает движение «Вперед»-«Назад» (прокручивается барабан на один шаг).
2.4. Закрывается воронка манипулятора А.
2.5.Закрывается захват манипулятора А.
2.6. Манипулятор А поворачивается под фурму.
2.7. Фурма опускается в позицию «Зарядка».
2.8. Открывается воронка манипулятор А.
2.9. Каретка манипулятора А поднимается вверх.
2.10. Система управления (СУ) определяет замкнутое состояние. Если измерительная цепь замкнута, то открывается захват.
2.11. Манипулятор А поворачивается в позицию «магазин».
2.12. Каретка манипулятора А опускается вниз.
2.13. СУ выдает готовность к старту.
2.14. Если измерительная цепь не замкнута, то открывается захват и выдается сигнал «Авария».
3.Измерение.
3.1. Конвертер в вертикальном положении.
3.2. Расход кислорода меньше 500 м3/ч.
3.3. Все механизмы в исходном положении.
3.4. Команда «Старт» с главного пульта оператора.
3.5. Открывается шибер.
3.6. Фурма опускается на малой скорости и останавливается.
3.7. Включается воздух, азот на охлаждение.
3.8. Включается режим свободного падения.
3.9. Через заданное время включается большая скорость.
3.10. В заданной точке пути происходит переключение на малую скорость.
3.11. Срабатывает датчик уровня, фурма проходит после этого путь, равный заданной глубине погружения в металл и останавливается.
3.12. Если датчик уровня не сработал, то происходит остановка фурмы в заданной точке остановки в конвертере.
3.13. За заданный промежуток времени (3-6 с) происходит поиск площадки на температурной кривой.
3.14. По окончании измерения включается малая скорость движения вверх.
3.15. Через заданное время происходит включение большой скорости.
3.16. В заданной точке пути происходит переключение привода в режим «выбег».
3.17. Через заданный промежуток времени включается малая скорость.
3.18. Фурма останавливается в верхнем нормальном положении.
3.19. Отключаются вода и азот охлаждения.
3.20. Закрывается шибер.
3.21. Воздух отключается через заданный промежуток времени.
4. Отстрел блока.
4.1. Фурма после выхода из конвертера в верхнем положении.
4.2. Закрывается успокоитель.
4.3. Манипулятор В поворачивается под фурму.
4.4. Через заданное время включается азот на отстрел.
4.5. Блок с пробой падает в воронку манипулятора В.
4.6. Манипулятор В поворачивается в позицию «Сброс».
4.7.Открывается заслонка, блок попадает в трубопровод и падает в шкаф.
4.8. Измерительный зонд готов к новому циклу.
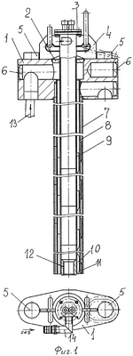
На фиг.1 показан продольный разрез фурмы измерительного зонда (далее ИЗ).
На фиг.2а показан продольный разрез жезла на фиг.2б показан датчик уровня, на фиг.2в показан датчик уровня, конструкция обмотки, узел I.
На фиг.3 показан продольный разрез сменного блока (далее СБ) с термопарой, пробницей и разъемом для соединения с контактодержателем жезла.
На фиг.4 показан продольный разрез сменного блока с жезлом, контактодержателем, датчиком для определения уровня расплава в конвертере, термопарой и пробницей.
На фиг.5 показаны термопара с разъемом и пробница в сборе.
На фиг.6 показана полиспастная система ИЗ с механизмами отвода, опускания и подъема фурмы.
На фиг.7 показана полиспастная система с механизмом отвода фурмы, вид Б-Б (фиг.6).
На фиг.8 показана полиспастная система с механизмом опускания и подъема фурмы, вид В (фиг.6).
На фиг.9 показан механизм перезарядки ИЗ с манипуляторами А и В и магазином для хранения сменных блоков.
На фиг.10 показан механизм перезарядки ИЗ с манипуляторами А и В и магазином для хранения сменных блоков в плане, вид Г-Г (фиг.9).
На фиг.11 показан манипулятор А для извлечения СБ из магазина, передачи и стыковки СБ с нижним концом фурмы.
На фиг.12 показан манипулятор В для приема отработанных СБ, передачи к механизму перемещения и отстрелу СБ с жезла.
На фиг.13 показан магазин для хранения СБ.
На фиг.14 показан успокоитель колебаний фурмы.
На фиг.15 показан отбойник шлака.
На фиг.16 показан механизм перемещения отработанных СБ к шкафу для приема проб.
На фиг.17-18 и фиг.19-20 показаны виды спереди и сбоку (Е,И) на измерительный зонд (ИЗ) с узлами (фиг.1-16).
Описание отдельных узлов измерительного зонда
1. Фурма (фиг.1).
Содержит корпус 1, крышку 2, фланец 3, ребра 4, накладки 5, заглушки 6, наружную трубу 7, среднюю трубу 8, центральную трубу 9, ребра 10, 11, втулку 12 для крепления жезла, патрубок 13 подачи воды и газообразного азота для охлаждения измерительных кабелей, пропущенных через центральный канал фурмы, патрубка 14 подачи газообразного азота для отстрела использованного сменного блока 58.
2. Жезл (фиг.2а; 2б; 2в).
Содержит трубу 15, втулку 16, втулку 17, ребра 18, контактную пластину 19 (фиг.2а), датчик 20 уровня расплава металла в конвертере, состоящий из катушки индуктивности 21, намотанной на втулку 16, изоляционной трубки 22, кабеля 23 (фиг.26), провода 24, лакоткани 25, изоляционной ленты 26, болтов крепления 27 (фиг.2в, фиг.2а).
3. Сменный блок (фиг.3).
Содержит картонную трубку 28, соединительную втулку 29, разъем 30, термопару 31, пробницу 32.
4.Сменный блок в сборе с жезлом (фиг.4).
Содержит картонную трубку 28, соединительную втулку 29, разъем 30, термопару 31, пробницу 32, датчик 20 уровня расплава металла, контактодержатель 33 жезла (см. п.2).
5. Термопара с пробницей и разъемом для соединения с контактодержателем жезла, в сборе.
Содержит разъем 30, термопару 31, пробницу 32.
6. Полиспастная система измерительного зонда.
Содержит механизм 34 подъема и опускания измерительного зонда и механизм 35 отвода измерительного зонда (фиг.6).
7. Полиспастная система измерительного зона с механизмом отвода фурмы.
Содержит механизм 35 (фиг.7, вид Б-Б) отвода ИЗ (измерительный зонд) содержит раму 36, портал 37, тяги 38, кронштейн 39, блоки в сборе 40, 41, лебедка 42, упоры 43, ограждение 44.
8. Полиспастная система измерительного зонда с механизмом опускания и подъема измерительного зонда.
Содержит механизм 34 (фиг.6, 8, вид В) подъема и опускания ИЗ содержит обойму 45 с блоками в сборе 46, канаты 47, лебедку 48.
9. Механизм перезарядки измерительного зонда с манипуляторами А и В и магазином для хранения сменных блоков.
Содержит механизм перезарядки 49, манипулятор А 50, манипулятор В 51, магазин 52 для хранения сменных блоков 58 (Фиг.9).
10. Механизм перезарядки ИЗ с манипуляторами А и В и магазином для хранения сменных блоков.
Механизм перезарядки (фиг.9, 10) содержит раму 53, площадку 54, привод 55 манипулятора А 50, привод 56 манипулятора В 51, кожух 57.
11. Манипулятор А (фиг.11).
Содержит воронку 59, каретку 60, захват 61, раму 62, опоры 63, упор 64. Воронка 59 и захват 61 выполнены из двух симметричных половин, закрепленных на рычагах 65 и 66, соединенных с механизмами 67 и 68 размыкания и смыкания половин воронки 59 и захвата 61 в процессе перезарядки сменных блоков 58.
12. Манипулятор В (фиг.12).
Содержит раму 69, заслонку 70, раму 71, опоры 72, шторку 73, датчик 74, пневмоцилиндр 75, воронку 76 для приема отстрелянных сменных блоков 58.
13. Магазин для хранения сменных блоков (фиг.13) содержит каркас 77, опору 78, стойку полую 79, вал 80, вал 81, захваты 82, крышку 83, стопор 84, пяту 85, собачку 86, пневмоцилиндр 87, кольца 88, 89, опору нижнюю 90, пружину 91 возврата собачки 86, кольцо 92, храповик 93.
14. Успокоитель ИЗ (фиг.14).
Содержит раму 94, захват левый 95, захват правый 96, упор левый 97, упор правый 98, выключатели путевые 99, 100, пневмоцилиндры 101, 102, оси 103, 104.
15. Отбойник шлака с поверхности фурмы (фиг.15).
Содержит отбойник 105, кронштейны 106, 107, пневмоцилиндр 108, рама 109.
16. Механизм перемещения отработанных блоков с пробой металла.
Содержит трубопровод секционный 110, шкаф 111 для приема проб. Общие виды измерительного зонда с узлами. На фиг.17-18 показан измерительный зонд (ИЗ) – виды спереди.
На фиг.19-20 показан измерительный зонд (ИЗ) – виды Е, И, сбоку. Измерительный зонд содержит фурму 112, механизм отвода 113 фурмы 112, полиспастную систему 114, механизм подъема и опускания 115 фурмы 112, магазин 116, манипулятор А 117, манипулятор В 118, механизм перезарядки 119, успокоитель 120, механизм перемещения 121.
Цикл работы (время от старта до старта) составляет 1 мин 40 с и превосходит по этому показателю, например, зонд фирмы Steel Nippon corpora s. Испытания опытного образца измерительного зонда на конвертере №2 ОАО «Северсталь» показали, что цикл плавки за счет безповалочной работы конвертера сокращается на 4 мин.
Источники информации
1. Патент РФ №2155948.
2. Патент US №3298069.
3. Патент US №2971041.
4. Патент US №3463005.
Формула изобретения
1. Измерительный зонд для погружения в расплав металла, содержащий фурму, механизм опускания фурмы в расплав металла, заполняющего емкость, например конвертер, и устройства для отбора проб и измерения температуры расплава, отличающийся тем, что фурма выполнена в виде трех концентрически расположенных относительно друг друга труб с образованием двух каналов между стенками для подачи охлаждающих сред, например воды и газообразного азота, для охлаждения измерительных кабелей, пропущенных через центральный канал фурмы, верхний конец фурмы снабжен оголовком с отверстиями для подачи охлаждающих сред, в центральную трубу фурмы установлен металлический стержень в виде жезла, герметично состыкованного с центральной трубой, состоящего из головки жезла с установленными на нем контактодержателем и датчиком уровня расплава в конвертере, средней части в виде полой трубы и хвостовой части в виде втулки с резьбой для соединения с фурмой и узла установки электрических разъемов для подключения измерительных кабелей, пропущенных внутри центральной трубы, тело фурмы установлено в хвостовую часть жезла таким образом, что образуется кольцевой зазор по всей длине жезла, наружная поверхность втулки хвостовой части жезла снабжена ребрами, предназначенными для укрепления на жезле сменного блока, выполненного, например, в виде картонной трубки, содержащего датчик температуры и пробницу для отбора пробы расплавленного металла и разъем для соединения с контактодержателем жезла, датчик уровня расплава металла выполнен в виде катушки индуктивности, намотанной на стальную втулку, установленную на головке жезла, фурма свободно подвешена над конвертером при помощи полиспастной системы, снабжена механизмом перезарядки в виде манипуляторов для стыковки сменных блоков с жезлом при помощи контактодержателя и приема отработанных блоков, магазином для хранения сменных блоков и передачи их в манипулятор для стыковки сменных блоков с жезлом, пневматической системой отстрела отработанных сменных блоков, успокоителем для гашения колебаний фурмы после извлечения из расплава металла, устройством для удаления шлака с поверхности фурмы, механизмом отвода фурмы и механизмом перемещения отработанных сменных блоков.
2. Измерительный зонд по п.1, отличающийся тем, что он снабжен механизмом подъема и опускания фурмы, выполненным в виде лебедки, соединенной при помощи полиспастной системы и обоймы с блоками с оголовком фурмы.
3. Измерительный зонд по п.1, отличающийся тем, что катушка индуктивности датчика уровня расплава металла в конвертере снабжена экраном для предотвращения проникновения магнитного поля в тело жезла, выполненного в виде подложки из нескольких слоев пермолоя и лакоткани, залита эпоксидной смолой, а ее выходы подключены через разъем и контактодержатель на измерительном жезле к измерительному кабелю, проходящему через фурму к электронному модулю измерения уровня расплава металла.
4. Измерительный зонд по п.1, отличающийся тем, что он снабжен автоматической системой позиционирования на заданную глубину погружения в расплав металла.
5. Измерительный зонд по п.1, отличающийся тем, что манипулятор механизма перезарядки для стыковки сменных блоков с жезлом состоит из привода перемещения манипулятора, центрирующей воронки, захвата и каретки.
6. Измерительный зонд по п.1, отличающийся тем, что манипулятор механизма перезарядки, осуществляющий прием отработанного сменного блока и передачу его к механизму перемещения, состоит из привода перемещения манипулятора, пассивной центрирующей воронки и заслонки.
7. Измерительный зонд по п.1, отличающийся тем, что магазин для хранения сменных блоков и передачи их в манипулятор, осуществляющий стыковку сменного блока с жезлом, состоит из вращающегося барабана и зажимов сменных блоков.
8. Измерительный зонд по п.1, отличающийся тем, что успокоитель для гашения колебаний фурмы выполнен в виде цангового захвата с пневматическим приводом.
9. Измерительный зонд по п.1, отличающийся тем, что пневматическая система отстрела отработанных сменных блоков снабжена шлангом, связанным с электропневматическим клапаном азота и внутренней полостью сменного блока.
10. Измерительный зонд по п.1, отличающийся тем, что устройство для удаления шлака с поверхности фурмы выполнено в виде консольного отбойника с пневмоприводом, установленного на шарнире с возможностью периодического пересечения с фурмой для совершения удара по наружной трубе фурмы после извлечения из расплава.
11. Измерительный зонд по п.1, отличающийся тем, что механизм отвода фурмы содержит лебедку, полиспастную систему, соединенную с оголовком фурмы при помощи системы рычагов.
12. Измерительный зонд по п.1, отличающийся тем, что механизм перемещения отработанных сменных блоков выполнен в виде трубы, соединяющей манипулятор приема и сброса отработанных блоков со шкафом для приемки пробниц.
РИСУНКИ
|