|
|
(21), (22) Заявка: 2004122475/28, 19.12.2002
(24) Дата начала отсчета срока действия патента:
19.12.2002
(30) Конвенционный приоритет:
22.12.2001 GB 0130871.7
(43) Дата публикации заявки: 20.03.2005
(46) Опубликовано: 20.10.2007
(56) Список документов, цитированных в отчете о поиске:
ЕР 0425250, 02.05.1991. US 4914636, 03.04.1990. SU 996964, 15.02.1983. SU 1803897, 23.03.1993. МАК-КУИЛЛИН Р., БЭКОН М., БАРКЛАЙ У., Введение в сейсмическую интерпретацию. – М.: Недра, 1985.
(85) Дата перевода заявки PCT на национальную фазу:
22.07.2004
(86) Заявка PCT:
GB 02/05821 (19.12.2002)
(87) Публикация PCT:
WO 03/056362 (10.07.2003)
Адрес для переписки:
129090, Москва, ул. Б.Спасская, 25, стр. 3, ООО “Юридическая фирма Городисский и Партнеры”, пат.пов. Г.Б. Егоровой
|
(72) Автор(ы):
ЛААКЕ Андреас (GB)
(73) Патентообладатель(и):
ВЕСТЕРНДЖЕКО САЙЗМИК ХОЛДИНГЗ ЛИМИТЕД (VG)
|
(54) СПОСОБ СЕЙСМОРАЗВЕДКИ И УСТРОЙСТВО СЕЙСМОРАЗВЕДКИ
(57) Реферат:
Способ относится к области сейсмической разведки. Сущность способа заключается в том, что способ содержит операцию сбора сейсмических данных, используемых для построения изображения, которые относятся к нижележащей геологической структуре в месте проведения разведочных работ, и выполняемую одновременно или, по существу, одновременно с ней операцию сбора сейсмических данных статики, относящихся к приповерхностной области в месте проведения разведочных работ. В данном способе для сбора сейсмических данных, используемых для построения изображения, может быть использован источник для построения изображения, а для сбора сейсмических данных статики может быть использован отдельный источник для статики. В альтернативном варианте может быть использован только один источник для построения изображения, а сейсмические данные статики могут быть получены с использованием поверхностных волн, воздушных волн или наземных бегущих волн-помех, создаваемых источником для построения изображения, которые до настоящего времени считали только лишь нежелательными шумами. Техническим результатом будет использование поверхностных волн и/или воздушных волн для получения информации о свойствах приповерхностной области, а также настоящее изобретение позволяет осуществлять одновременный или почти одновременный сбор данных для построения изображения и данных статики и, следовательно, обеспечивает снижение продолжительности и стоимости сейсморазведки. 3 н. и 29 з.п. ф-лы, 8 ил.
Настоящее изобретение относится к способу сейсморазведки и, в частности, оно относится к способу сейсморазведки, используемому в том месте проведения разведочных работ, в котором недра Земли, расположенные на поверхности Земли или вблизи нее, имеют иные сейсмические свойства, чем нижележащий слой (нижележащие слои) недр Земли, и в котором желательно получить информацию о свойствах приповерхностной области недр Земли. Изобретение также относится к устройству сейсморазведки.
На Фиг.1 показана схема наземного устройства сейсморазведки. В этом устройстве сейсмическую энергию излучает сейсмический источник 1, расположенный на поверхности 2 Земли или под ней. При приведении источника в действие сейсмическая энергия проходит внутрь Земли и распространяется в направлении вниз через недра Земли до тех пор, пока не произойдет ее отражение от геологической структуры, действующей как частичный отражатель 3 сейсмической энергии. Отраженная сейсмическая энергия проходит в направлении вверх через недра Земли, а ее регистрацию осуществляют посредством группы сейсмоприемников 4, расположенных на поверхности Земли. Информацию о недрах Земли получают, например, путем определения времени прохождения сейсмической энергии от сейсмического источника 1 до приемников 4. На Фиг.1 показан всего лишь один отражатель 3, но в действительности в качестве частичных отражателей сейсмической энергии действуют несколько геологических структур, расположенных в недрах Земли.
На Фиг.1 показан всего лишь один источник 1, но в действительности наземное устройство сейсморазведки содержит группу источников. Для обеспечения облучения геологических структур, глубоко залегающих в недрах Земли, величина излучаемой сейсмической энергии должна быть достаточно высокой и для получения требуемой энергии обычно необходимо использовать группу источников.
Геологическая структура Земли является неоднородной. Одной из проблем, с которой сталкиваются при обработке сейсмических данных, является то, что сейсмические свойства Земли в области 5, расположенной на поверхности Земли или вблизи нее, часто существенно отличаются от свойств нижележащей геологической структуры 6. Нижележащую геологическую структуру 6 именуют ниже “геологическим фундаментом”, а область 5, расположенную на поверхности Земли или вблизи нее, именуют ниже “приповерхностной”. Приповерхностная область может также именоваться “слоем выветривания”, поскольку разрушение приповерхностной области под влиянием атмосферных воздействий (выветривание) является одной из причин различий в сейсмических свойствах, так как это приводит к тому, что приповерхностная область 5 является менее уплотненной, чем геологический фундамент. В частности, скорость распространения сейсмической энергии в приповерхностной области 5 может быть значительно более низкой, чем в геологическом фундаменте 6. Эта разность в скорости создает сдвиг по времени прохождения сейсмической энергии по сравнению с тем временем прохождения, которое было бы зарегистрировано в том случае, если приповерхностная область и геологический фундамент имели бы идентичные сейсмические свойства, и эти изменения по времени прохождения обычно известны как “статические сдвиги” или просто как “статика”.
На Фиг.1 приповерхностная область 5 показана расположенной на поверхности недр Земли, но она не обязательно должна доходить до самой поверхности 2, и может существовать дополнительный слой, лежащий выше приповерхностной области. Граница между приповерхностной областью и геологическим фундаментом не обязательно должна быть явно выраженной и свойства Земли могут измениться постепенно.
Статический сдвиг, создаваемый за счет приповерхностной области 5, зависит от толщины приповерхностной области и от скорости распространения сейсмической энергии через приповерхностную область. Обычно имеют место как изменения толщины приповерхностной области 5, так и скорости распространения через приповерхностную область, зависящие от местоположения по горизонтали, поэтому существует вероятность того, что статический сдвиг, наблюдаемый в сейсмоприемнике, расположенном в одном месте, отличается от статического сдвига, наблюдаемого в приемнике, расположенном в другом месте. В первом приближении полный набор данных, зарегистрированный в одном приемнике, будет иметь опережение или задержку по времени на величину статического сдвига относительно данных, зарегистрированных в другом приемнике. Очень желательно обеспечить учет статического сдвига при обработке сейсмических данных. Если не произвести удаление этих статических сдвигов из сейсмических данных, то будет существовать неопределенность в отношении того, являются ли отклонения по времени поступления данных о сейсмических явлениях от более глубоких пластов следствием непостоянства глубины или месторасположения этих более глубоких пластов в горизонтальном направлении либо они просто возникают вследствие влияния условий распространения в приповерхностной области 5.
Проблема наличия статических сдвигов, вызванных приповерхностной областью, является особенно существенной для многокомпонентных сейсмических данных. Это обусловлено тем, что статический сдвиг для поперечной волны (S-волны, волны сдвига) обычно является намного большим, чем статический сдвиг для продольной волны (P-волны, волны сжатия), вследствие того обстоятельства, что поперечные волны, например S-волны, являются более чувствительными к проникновению из одной среды в другую по горизонтали внутри Земли. Это показано на Фиг.2. На Фиг.2 по оси X отложено расстояние от источника по горизонтали. Обычно статические сдвиги от области, очень близкой к поверхности, имеют наибольшие амплитуды и оказывают существенное воздействие на общий статический сдвиг вследствие низких скоростей распространения сейсмических волн в приповерхностной области.
Еще одна проблема, возникающая при обработке сейсмических данных, состоит в том, что могут возникать погрешности вследствие различной ориентации, месторасположения или чувствительности датчиков. Эти эффекты известны как отклонения показаний датчиков и не зависят от геологического строения приповерхностной области.
Одним из примеров отклонения показаний датчиков является наклонное положение датчика. Это является особенно существенным для многокомпонентного датчика, который предназначен для регистрации составляющих воспринятого движения материальной точки по осям Х, Y и Z датчика. Если датчик размещен таким образом, что его внутренняя ось Z ориентирована не вертикально, то возникает взаимное влияние между вертикальной составляющей и горизонтальными составляющими сейсмической энергии, зарегистрированной датчиком.
Еще одной причиной отклонений показаний датчиков является погрешность размещения. Погрешность размещения возникает в том случае, когда приемник установлен не в заданном для него месте, а в месте, смещенном по горизонтали и/или по вертикали относительно заданного положения приемника. Такие погрешности размещения приводят к отклонению траектории прохождения сейсмической энергии в приемник относительно ожидаемой траектории ее прохождения в заданное место расположения приемника, что приводит к отклонениям момента времени поступления сейсмической энергии в приемник. Эти отклонения момента времени поступления не зависят от статического сдвига, вызванного приповерхностной областью, и возникают в дополнение к нему.
Еще одной причиной отклонений показаний датчиков является разброс по чувствительности между одним приемником из группы и другим приемником из группы. Однако этот разброс не влияет на момент времени поступления сейсмической энергии в датчик.
Еще одна проблема, с которой сталкиваются при обработке многокомпонентных сейсмических данных, состоит в том, что приемник может регистрировать одну составляющую сейсмических данных с более высокой точностью, нежели другую составляющую. Это факт известен как “неточность вектора”.
На Фиг.3 на виде в перспективе схематично показаны статический сдвиг и отклонения показаний датчиков при типичной наземной сейсморазведке. Из пяти приемников 7-11, показанных на Фиг.3, два приемника, а именно приемники 9 и 11, ориентированы не вертикально, поэтому внутренние оси Z этих приемников имеют наклон относительно вертикали. Этот наклон приемника приводит к отклонениям показаний датчиков, которые оказывают воздействие на сейсмические данные, полученные посредством приемников 9 и 11. Также следует отметить, что каждый из приемников на Фиг.3 расположен на различной высоте и эта разница высот опять-таки приводит к отклонениям показаний датчиков.
Обычный способ корректировки сейсмических данных с введением поправок на статические сдвиги, вызванные наличием приповерхностной области, заключается в следующем: делают предположение о том, что разброс значений статического сдвига между приемниками является малым. Это предположение является справедливым в том случае, если приемники расположены близко друг к другу. С учетом этого предположения обычный способ заключается в замене локального времени поступления в каждом отдельном приемнике средним временем поступления, которое получено путем усреднения локального времени поступления по расстоянию для одной группы приемников. Это приводит к размыванию локальных сдвигов по времени, что, в свою очередь, приводит к размытости сейсмического изображения, полученного путем обработки данных. Это является неудовлетворительным, в особенности в том случае, если желательно получить изображение с высоким разрешением и/или многокомпонентное изображение.
Еще одна проблема, возникающая в этом способе из известного уровня техники, состоит в том, что он сильно затрудняет корректировку сейсмических данных с введением поправок на отклонения показаний датчиков. Для введения в данные поправок на отклонения показаний датчиков для каждого приемника необходимо иметь данные с высоким разрешением.
В европейском патенте №EP-А-0421658 раскрыт способ сейсморазведки, в котором для получения информации о приповерхностной области используют данные, полученные как в сейсмоприемниках, расположенных на поверхности Земли, так и в датчиках, заглубленных в землю. Однако этот способ является непригодным для практической реализации, поскольку процесс заглубления датчиков в землю является сложным и дорогостоящим.
При приведении в действие сейсмического источника при наземной сейсморазведке существуют некоторые траектории прохождения сейсмической энергии из источника в приемник, полностью лежащие в пределах приповерхностной области 5. Одним из их примеров является траектория 19, показанная на Фиг.1. Сейсмические данные, получаемые в результате прохождения по траекториям, которые полностью лежат в пределах приповерхностной области, могут быть использованы для получения информации о приповерхностной области, а эти данные именуют “данными статики”. Сейсмические данные, получаемые в результате прохождения сейсмической энергии по траектории, содержащей отражение от нижележащей геологической структуры (например, по траектории 20, показанной на Фиг.1), предоставляют информацию о геологической структуре геологического фундамента, и эти данные именуют “данными для построения изображения”.
Одним из сейсмических источников, часто используемых при наземной сейсморазведке, является вибрационный сейсмический источник. Вибрационный сейсмический источник, по существу, состоит из гири, установленной таким образом, что она может быть подвергнута колебательному движению, а генерацию сейсмической энергии осуществляют в результате соударения между колеблющейся гирей и поверхностью Земли. Гирю вибрационного сейсмического источника часто устанавливают на транспортном средстве, которое снабжено двигателем, служащим в качестве источника энергии для перемещения гири вибрационного сейсмического источника.
В том случае, когда в качестве сейсмического источника при наземных разведочных работах используют вибрационный сейсмический источник, это приводит к созданию множества шумовых сигналов, существенно снижающих отношение сигнал-шум в сейсмических данных, которые могут быть использованы для получения информации о статическом сдвиге. Одним из шумовых сигналов является шум двигателя, представляющий собой некогерентный шум, создаваемый двигателем вибрационного сейсмического источника, и отличающийся наличием спектральных линий, а также более широкополосного спектра, перекрывающих весь диапазон сейсмических сигналов. Шум двигателя ухудшает суммарное отношение сигнал-шум в сигнале от источника.
Другой шумовой сигнал возникает вследствие нелинейности вибрационного сейсмического источника. Обычный вибрационный сейсмический источник, используемый при сейсморазведке, создает значительное количество нелинейных шумов, например высших гармоник и субгармоник. Эти нелинейные шумы являются результатом дисбаланса гармонического генератора, состоящего из гири вибрационного сейсмического источника и упругих пустот в Земле.
Как указано выше, при обычной наземной сейсморазведке используют группу сейсмических источников. Это может приводить к возникновению сигналов интерференции вследствие несовершенной суперпозиции отдельных полей источников в ближней зоне группы источников. Создаваемые таким способом сигналы интерференции или сигналы биений, вызывают когерентное ухудшение волнового поля источника и известны как полевые эффекты в ближней зоне группы вибрационных сейсмических источников.
Помимо вышеупомянутых шумовых сигналов, происходит генерация множества сигналов в дополнение к запланированному выходному сигналу вибрационного сейсмического источника. Этими дополнительными сигналами являются, в том числе, наземные бегущие волны, поверхностные волны и воздушные волны.
Сейсмический источник предназначен для генерации распространяющегося вниз волнового поля волн сжатия. Однако вследствие ограниченной пространственной протяженности площади источника возникают краевые эффекты. Эти краевые эффекты приводят к тому, что поверхностные волны имеют поперечные составляющие.
Имеющаяся в вибрационном сейсмическом источнике вибрационная гиря, помимо создания волн в земле, создает волны в воздухе, и это явление обычно называют воздушными волнами. До сих пор воздушную волну расценивали как элемент когерентного шума, который должен быть устранен из сейсмических данных путем последующей обработки.
Авторы настоящего изобретения поняли, что наземная бегущая волна, поверхностные волны и/или воздушные волны могут быть использованы для получения информации о свойствах приповерхностной области. Например, несмотря на то, что генерация поверхностных волн является непреднамеренным побочным продуктом, эти волны распространяются через приповерхностный слой и, следовательно, могут быть использованы для получения информации о приповерхностной области. Кроме того, было замечено, что при некоторых обстоятельствах воздушная волна, созданная вибрационным сейсмическим источником, производит генерацию поверхностных волн с очень небольшой глубиной проникновения. Вследствие малого ослабления воздушной волны с расстоянием и вследствие того, что воздушная волна создает поверхностную волну практически “без шумов”, созданный воздушной волной “веер поверхностных волн” может быть использован для определения скоростей распространения в приповерхностной области, непосредственно примыкающей к поверхности.
Первым техническим решением, предложенным в настоящем изобретении, является способ сейсморазведки, содержащий следующую операцию: в месте проведения разведочных работ осуществляют сбор первых сейсмических данных, относящихся к нижележащей геологической структуре; при этом вышеупомянутый способ содержит следующую дополнительную операцию: в вышеупомянутом месте проведения разведочных работ осуществляют сбор вторых сейсмических данных, относящихся к приповерхностной области, причем вышеупомянутую операцию сбора вторых сейсмических данных выполняют одновременно или, по существу, одновременно с выполнением вышеупомянутой операции сбора первых сейсмических данных.
Обычным подходом к решению проблемы наличия статического сдвига, созданного приповерхностной областью, является выполнение двух отдельных разведочных работ в месте проведения разведочных работ. Целью одних разведочных работ является сбор данных для построения изображения и при их выполнении используют группу источников и группу приемников, специально предназначенную для получения высококачественных данных для построения изображения. Затем выполняют вторые разведочные работы в том же самом месте с использованием иной группы источников и иной группы приемников, причем новые группы источников и приемников выполнены таким образом, что обеспечивают получение высококачественной информации о приповерхностном слое. Информацию, собранную при выполнении разведочных работ, используют для корректировки данных, используемых для построения изображения, с введением поправок на влияние приповерхностной области. Несмотря на то, что этот способ может обеспечить получение хороших результатов, необходимость выполнения двух отдельных разведочных работ означает, что он является дорогостоящим и трудоемким. В отличие от этого настоящее изобретение позволяет осуществлять одновременный или почти одновременный сбор данных для построения изображения и данных статики и, следовательно, обеспечивает снижение продолжительности и стоимости сейсморазведки.
В одном из вариантов осуществления настоящего изобретения предложен способ, содержащий следующие операции: приводят в действие первый сейсмический источник и осуществляют сбор первых сейсмических данных посредством группы приемников, состоящей из одного или большего количества приемников, а также выполняют операцию сбора вторых сейсмических данных, содержащую следующие операции: приводят в действие второй сейсмический источник, являющийся иным, чем вышеупомянутый первый сейсмический источник, и осуществляют сбор вторых сейсмических данных посредством той же самой группы приемников. Первый сейсмический источник действует в качестве “источника для построения изображения” и обеспечивает данные для построения изображения нижележащей геологической структуры, тогда как второй сейсмический источник действует в качестве “источника для статики” и предоставляет данные статики о приповерхностной области.
В предпочтительном варианте способ содержит следующую операцию: осуществляют кодирование сейсмической энергии, излучаемой, по меньшей мере, одним из сейсмических источников: первым или вторым. Это упрощает операцию определения того, является ли сейсмическое явление в данных, собранных посредством группы приемников, результатом сейсмической энергии, излученной первым сейсмическим источником или же вторым сейсмическим источником, и обеспечивает большую ее достоверность. Способами кодирования сейсмической энергии являются, в том числе, следующие: использование источников, излучающих энергию в различных диапазонах частот, задержка момента приведение в действие одного из сейсмических источников относительно момента приведения в действие остальных сейсмических источников и/или пространственное разнесение первого и второго сейсмических источников.
В альтернативном варианте осуществления способ содержит следующие операции: приводят в действие сейсмический источник, излучающий сейсмическую энергию, и посредством группы приемников осуществляют сбор первых и вторых сейсмических данных, являющихся следствием приведения в действие вышеупомянутого сейсмического источника. В этом варианте осуществления для получения данных статики одновременно со сбором данных для построения изображения могут быть использованы наземные бегущие волны, поверхностные волны и/или воздушные волны.
Способ может содержать операцию обработки вторых сейсмических данных для получения информации о приповерхностной области и/или для получения информации об отклонениях показаний приемника.
Способ может содержать операцию обработки первых сейсмических данных для получения информации о нижележащей геологической структуре исходя из информации о приповерхностной области и/или информации об отклонениях показаний приемника.
В способе из настоящего изобретения использование приемников, заглубленных в землю, не является обязательным условием, и он может быть реализован с использованием только приемников, расположенных на поверхности Земли или вблизи нее.
Вторым техническим решением, предложенным в настоящем изобретении, является способ сейсморазведки, содержащий следующие операции: приводят в действие источник сейсмической энергии таким образом, чтобы осуществить генерацию поверхностных волн, и осуществляют сбор сейсмических данных, относящихся к приповерхностной области в месте проведения разведочных работ, полученных посредством вышеупомянутых поверхностных волн.
Третьим техническим решением, предложенным в настоящем изобретении, является способ сейсморазведки, содержащий следующие операции: приводят в действие источник сейсмической энергии таким образом, чтобы осуществить генерацию воздушных волн, и осуществляют сбор сейсмических данных, относящихся к приповерхностной области в месте проведения разведочных работ, полученных посредством вышеупомянутых воздушных волн.
Четвертым техническим решением, предложенным в настоящем изобретении, является устройство сейсморазведки, содержащее: первый сейсмический источник, приспособленный для облучения нижележащей геологической структуры сейсмической энергией, второй сейсмический источник, средство управления, служащее для, по существу, одновременного приведения в действие вышеупомянутых первого и второго сейсмических источников, и приемник, являющийся пространственно разнесенным по отношению к вышеупомянутому первому сейсмическому источнику и к вышеупомянутому второму сейсмическому источнику.
Предпочтительные отличительные признаки настоящего изобретения изложены в зависимых пунктах формулы изобретения.
Ниже приведено описание предпочтительных вариантов осуществления настоящего изобретения посредством пояснительных примеров со ссылкой на сопроводительные чертежи, на которых изображено следующее:
на Фиг.1 показана схема наземной сейсморазведки;
на Фиг.2 показаны статические сдвиги для продольных волн и для поперечных волн;
на Фиг.3 схематично показаны статический сдвиг и отклонения показаний датчиков;
на Фиг.4 схематично показаны источники шумов при наземной сейсморазведке;
на Фиг.5 схематично показаны сейсмические данные, сбор которых осуществляют в способе из настоящего изобретения;
на Фиг.6 схематично показана геометрическая конфигурация, необходимая для одного из вариантов осуществления настоящего изобретения;
на Фиг.7 показаны волновые поля, необходимые для определения статических сдвигов и введения поправок на статический сдвиг; и
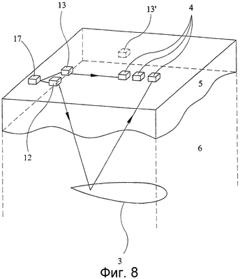
на Фиг.8 показана схема одного из вариантов осуществления настоящего изобретения.
Один из вариантов осуществления настоящего изобретения изображен на Фиг.8. На Фиг.8 показана схема наземной сейсморазведки, в которой два сейсмических источника 12, 13 расположены на поверхности Земли. Источник 12 предназначен для предоставления информации о геологической структуре 3, являющейся объектом разведки, и его именуют “источником для построения изображения”. Другой источник 13 предназначен для предоставления информации о приповерхностной области и его именуют “источником для статики”. В действительности, каждый из источников: источник 12 для статики и источник 13 для построения изображения может состоять из группы сейсмических источников, но на Фиг.8 показан только один источник 12 для построения изображения и один источник 13 для статики.
Каждый из источников: источник 13 для статики и источник 12 для построения изображения соединен со средством 17 управления. Средство управления способно приводить в действие источник 12 для построения изображения и/или источник 13 для статики в желательный момент времени, например, путем передачи электрического пускового сигнала в тот источник (в те источники), который желательно привести в действие.
Амплитуда сейсмической энергии, излученной источником 12 для построения изображения после его приведения в действие средством управления является достаточной для облучения геологических структур, расположенных глубоко в земле. Следовательно, при приведении в действие источника 12 для построения изображения происходит излучение сейсмической энергии в направлении вниз в геологический фундамент и ее отражение одной или большим количеством геологических структур 3, расположенных в геологическом фундаменте, которые действуют в качестве частичных отражателей сейсмической энергии. Отраженная сейсмическая энергия попадает на группу 4 приемников, расположенных на поверхности Земли. Понятно, что источник для построения изображения функционирует, по существу, обычным способом.
Источник 13 для статики предназначен для предоставления информации о приповерхностной области 5. Информация о приповерхностной области может быть определена по вступлению прямой волны, созданной в результате приведения в действие источника 13 для статики. Вступление прямой волны соответствует сейсмической энергии, прошедшей от источника 13 для статики до группы 4 приемников по траектории, полностью расположенной в пределах приповерхностной области 5, например по траектории 19 из Фиг.1.
Сейсмическая энергия, созданная источником для статики, не обязательно должна глубоко проникать в геологический фундамент 6, она должна проходить только лишь через приповерхностную область, которая обычно имеет толщину от нескольких метров до приблизительно 100 метров. Следовательно, предпочтительным источником для статики является небольшой, но имеющий высокую линейность сейсмический источник. Одним из пригодных источников является электромагнитный вибрационный сейсмический источник сдвига, выпускаемый фирмой “Oyo”.
Как указано выше, источник 12 для построения изображения осуществляет генерацию прямой волны, проходящей через приповерхностную область 5 к группе приемников 4. Однако явления в сейсмических данных, возникающие в результате действия этой прямой волны от источника 12 для построения изображения, являются не пригодными для определения свойств приповерхностной области 5. Как указано выше, источник 12 для построения изображения фактически состоит из группы сейсмических источников с высокой энергией. Как описано выше, энергия, излученная источником 12 для построения изображения, содержит шумы от различных источников и, кроме того, возникают эффекты взаимодействия между сигналами, излученными из отдельных приемников, входящих в состав группы. В результате становится невозможным точно определить статический сдвиг посредством прямой волны, созданной источником 12 для построения изображения. Поэтому в варианте осуществления изобретения, изображенном на Фиг.8, в котором используют два сейсмических источника, для получения точной информации о приповерхностной области необходимо различить вступление прямой волны, пришедшей от источника 12 для построения изображения, от вступления прямой волны, пришедшей от источника для статики. Следовательно, в предпочтительном варианте обеспечивают кодирование сейсмической энергии, излученной, по меньшей мере, одним из источников: источником для построения изображения и источником для статики, определенным способом, чтобы было можно достоверно определить то, какой именно источник являлся ответственным за конкретное явление в сейсмических данных, полученных в приемнике.
В одном из вариантов осуществления изобретения сейсмическая энергия, излученная источником для построения изображения и источником для статики, является закодированной по частоте. В этом варианте осуществления изобретения источник для построения изображения и источник для статики излучают сейсмическую энергию в различных, в предпочтительном варианте в неперекрывающихся, диапазонах частот.
Типичный наземный вибрационный сейсмический источник, который является пригодным для использования в качестве источника 12 для построения изображения, не излучает сейсмическую энергию на одиночной частоте. Вместо этого вибрационный сейсмический источник приводится в действие таким образом, чтобы он излучал сейсмическую энергию в некотором диапазоне частот, поэтому операцию приведения вибрационного сейсмического источника в действие обычно именуют “свипированием”. Свипирование, необходимое для источника, используемого для построения изображения, определяется такими параметрами, как, например, желательное разрешение, характеристики поглощения геологической структуры, являющейся объектом разведки, и угла падения, под которым сейсмическая энергия входит в структуру, являющуюся объектом разведки. Обычно при таком свипировании используют диапазон частот, нижний предел которого равен приблизительно 5-10 Гц, а его верхний предел равен приблизительно 60-100 Гц. В этом варианте осуществления изобретения используют источник для статики, работающий в иной полосе частот, чем источник для построения изображения, для того чтобы сигнал, поступающий из источника 13 для статики, можно было гарантированно отличить от сигнала, поступающего из источника 12 для построения изображения. В предпочтительном варианте диапазон частот источника для статики не перекрывает диапазон частот источника для построения изображения (в принципе, источник для статики может излучать сейсмическую энергию номинально на одиночной частоте, но фактически источник для статики часто представляет собой источник, в котором осуществляют свипирование вышеописанным способом, и, следовательно, оно излучает сейсмическую энергию в заданном диапазоне частот). В этом варианте осуществления изобретения вступление прямой волны из источника для статики может легко быть обнаружено в полученных сейсмических данных, поскольку оно является первым вступлением сейсмической энергии в полосе частот источника 13 для статики. Удобное распознавание вступления прямой волны, пришедшей от источника для статики, может быть осуществлено посредством операции кросс-корреляции или обращения свертки полученных сейсмические данных с характеристикой источника для статики, хотя, в принципе, для распознавания вступления прямой волны, пришедшей от источника для статики, может быть использован любой пригодный для этого способ. Посредством кросс-корреляции или обращения свертки полученных сейсмических данных с характеристикой источника для построения изображения обеспечивают распознавание сейсмических явлений в полученных сейсмических данных, возникающих в результате приведения в действие источника для построения изображения.
Вступление прямой волны, пришедшей от источника 13 для статики, можно рассматривать как “первое вступление” волны сдвига. Его обработка может быть осуществлена тем же самым способом, что и первого вступления продольной волны, поэтому для обработки вступления прямой волны, пришедшей от источника 13 для статики, может быть использован любой способ или алгоритм обработки первого вступления продольной волны.
Диапазон частот источника для построения изображения 12 часто доходит до нижнего предела частот, равного 5 или 10 Гц. Следовательно, предпочтительным вариантом является тот, в котором диапазон частот источника 13 для статики расположен выше диапазона частот источника 12 для построения изображения. Подходящим диапазоном частот для источника для статики является, например, диапазон частот от 150 до 200 Гц.
Альтернативным способом обеспечения того, что вступление прямой волны, пришедшей от источника 13 для статики, можно гарантированно отличить от других явлений в сейсмических данных, полученных посредством группы приемников 4, является введение временной задержки между началом свипирования статического источника и началом свипирования источника для построения изображения. Этот способ можно рассматривать как кодирование по времени.
Например, средство 17 управления может быть устроено таким образом, что приводит в действие один из источников: источник для построения изображения или источник для статики, ждет в течение заранее заданного промежутка времени, а затем приводит в действие другой источник. Одним из удобных способов является задержка начала свипирования источника 12 для построения изображения на заранее заданный промежуток времени, например на задержку по времени в интервале приблизительно от 0,5 до 1,0 секунды, после начала свипирования источника 13 для статики. Это гарантирует то, что вступление прямой волны, пришедшей от источника 13 для статики, является первым сейсмическим явлением, зарегистрированным приемниками 4, и что его распознавание не будет затруднено из-за событий, являющихся следствием приведения в действие источника 12 для построения изображения. И вновь удобным способом распознавания вступления прямой волны, пришедшей от источника для статики, может являться способ кросс-корреляции или обращения свертки.
Время, необходимое для свипирования источника 12 для построения изображения, обычно составляет от 3 до 10 секунд. Следовательно, две операции свипирования можно считать являющимися, по существу, одновременными, поскольку временная задержка, равная от 0,5 до 1,0 секунды, составляет от 5 до 33% от продолжительности свипирования источника для построения изображения (Следует отметить, что время, необходимое для свипирования источника для статики, может быть значительно более коротким, чем время свипирования источника для построения изображения, поскольку источник для статики должен излучить только лишь такую энергию, которая является достаточной для прохождения через слой выветривания.)
Следует отметить, что временная задержка между свипированием источника для статики и свипированием источника для построения изображения может быть большей, чем предложенный выше интервал от 0,5 до 1,0 секунды. Однако выбор временной задержки, существенно превышающей задержку, необходимую для обеспечения отчетливого распознавания вступления прямой волны, пришедшей от источника 13 для статики, не приводит к существенно лучшим результатам. Увеличение времени задержки приводит только к увеличению времени, требуемого для выполнения разведочных работ. Поэтому предпочтительным вариантом является выбор наименьшего возможного времени задержки, но, тем не менее, позволяющего осуществлять точное распознавание вступления прямой волны, пришедшей от источника для статики.
В принципе, временная задержка между началом свипирования источника для статики и началом свипирования источника для построения изображения может быть равна временной задержке на несколько выборок, поскольку, в принципе, она является достаточной для различения явлений вступления прямой волны, пришедшей от этих двух источников. Однако сигнал, полученный в приемнике 4, фактически является смазанным вследствие ослабления и рассеяния в земле, поэтому при наличии такой короткой временной задержки точное распознавание вступления прямой волны, пришедшей от источника 13 для статики, может оказаться невозможным.
В еще одном варианте осуществления настоящего изобретения источник 13 для статики расположен не рядом с источником 12 для построения изображения, а расположен на некотором расстоянии от источника 13 для построения изображения. Этот вариант можно рассматривать как позиционное кодирование.
Пригодное месторасположение источника для статики в этом варианте осуществления изобретения показано на Фиг.8 пунктирными линиями и обозначено номером позиции 13′. Введение смещения между источником 12 для построения изображения и источником 13′ для статики предотвращает взаимное влияние шума двигателя источника для построения изображения на данные, полученные от источника 13′ для статики. Кроме того, если источник для статики расположен таким образом, что расстояние между источником 13′ для статики и группой приемников является меньшим, чем расстояние между источником 12 для построения изображения и группой приемников, то пространственное смещение между источниками действует как введение временной задержки между вступлением прямой волны, пришедшей от источника для статики в группу приемников, и вступлением прямой волны, пришедшей от источника 12 для построения изображения. Смещение между источником для статики и источником для построения изображения может быть выбрано таким образом, чтобы обеспечить желательную временную задержку между вступлением прямой волны, пришедшей от источника для статики в группу приемников, и вступлением прямой волны, пришедшей от источника 12 для построения изображения.
Смещение источника для построения изображения и источника для статики в радиальном направлении таким образом, чтобы эти два источника были отделены один от другого, но находились бы на приблизительно одинаковом расстоянии от приемника, не приводит к введению временной задержки между вступлением прямой волны, пришедшей от источника для статики в группу приемников, и вступлением прямой волны, пришедшей от источника 12 для построения изображения. Однако это смещение предотвращает взаимное влияние шума двигателя источника для построения изображения на данные, полученные от источника 13′ для статики. Следовательно, в некоторых случаях может оказаться полезным сочетание радиального смещения между источником для построения изображения и источником для статики в совокупности со свипированием, закодированным по частоте, и/или с временной задержкой между свипированием.
Средство 17 управления при его использовании приводит в действие источник 12 для построения изображения и источник 13 для статики таким образом, что они излучают сейсмическую энергию. Источники могут быть приведены в действие одновременно или же средство управления может создать небольшую заранее заданную временную задержку между приведением в действие одного источника и приведением в действие другого источника. В результате приведения в действие источников происходит регистрация сейсмических данных в каждом приемнике 4. Данные, полученные в каждом приемнике, в общем случае содержат данные о сейсмических явлениях, произошедших вследствие излучения сейсмической энергии источником 12 для построения изображения, и данные о сейсмических явлениях, произошедших вследствие излучения сейсмической энергии источником 13 для статики. Приемники могут производить сбор однокомпонентных или многокомпонентных сейсмических данных и может быть осуществлено запоминание полученных данных любым пригодным для этого способом.
При анализе данных исходной операцией является определение того, какое именно сейсмическое явление в данных, полученных посредством приемника, является вступлением прямой волны сейсмической энергии, пришедшей от источника 13 для статики.
Осуществляют распознавание вступления прямой волны, пришедшей от источника 13 для статики, в данных, полученных в каждом приемнике из группы. После распознавания вступления прямой волны может быть получена информация о статическом сдвиге в месте расположения каждого приемника. В изображенной схеме длина пути от источника 13 для статики до каждого приемника 4 является известной, поэтому может быть определена разность длины пути до каждого приемника 4 из группы. Любые различия во времени вступления прямой волны в каждом приемнике, которые нельзя объяснить на основании различной длины пути, могут быть приписаны отклонениям статического сдвига для различных мест расположения приемников. Информация о статическом сдвиге может быть получена любым пригодным для этого способом.
Если приемники 4 представляют собой многокомпонентные приемники, то можно получить информацию о статическом сдвиге как для продольных волн, так и для поперечных волн.
После получения информации о статическом сдвиге в месте расположения каждого приемника можно получить информацию об отклонении показаний приемника в месте расположения каждого приемника. Это может быть выполнено с использованием любого пригодного для этого обычного способа.
После получения информации о статическом сдвиге в месте расположения каждого приемника и об отклонении показаний приемника в месте расположения каждого приемника может быть выполнена корректировка данных, полученных в результате приведения в действие источника 12 для построения изображения, с введением поправок на статический сдвиг и отклонение показаний приемника в месте расположения каждого приемника. Это позволяет осуществить обработку данных от источника 12 для построения изображения таким способом, который обеспечивает учет статического сдвига и отклонений показаний приемника, поэтому возможно получить более точную информацию о геологической структуре фундамента 6. Эти операции обработки данных могут быть выполнены любым пригодным для этого способом.
Следовательно, настоящее изобретение позволяет получать информацию о приповерхностной области с использованием одного или большего количества приемников, расположенных на поверхности Земли или вблизи нее. В настоящем изобретении не требуется осуществлять заглубление приемников в землю.
Выше было приведено описание трех способов кодирования сейсмической энергии, излучаемой двумя сейсмическими источниками, поэтому вступление прямой волны, пришедшей от источника 13, 13′ для статики, можно достоверно отличить от данных, поступивших от источника 12 для построения изображения. Два или даже три из этих способов могут быть объединены в рамках одной сейсморазведочной операции. Например, может быть использован источник для статики, диапазон частот которого расположен вне диапазона частот источника для построения изображения, а также введена временная задержка между началом свипирования источника для статики и началом свипирования источника для построения изображения. Кроме того, может быть введено пространственное разнесение между источником для статики и источником для построения изображения, что приводит к дополнительному увеличению разницы во времени между вступлением прямой волны, пришедшей от источника для статики, и первым поступлением данных из источника для построения изображения. В альтернативном варианте может быть использован источник для статики, диапазон частот которого расположен вне диапазона частот источника для построения изображения, введено пространственное разнесение между источником для статики и источником для построения изображения, но средство управления устроено таким образом, что одновременно приводит в действие источник для построения изображения и источник для статики.
На Фиг.5 показаны сейсмические данные, которые обычно могут быть зарегистрированы в приемнике при приведении в действие источника 12 для построения изображения. На Фиг.5 на горизонтальной оси отложена разность между приемником и источником для построения изображения по горизонтали, а по вертикальной оси приемника отложено время, начиная с момента приведения в действие источника для построения изображения. Видно, что для большинства значений разнесения между приемником и источником для построения изображения первым существенным зарегистрированным сейсмическим явлением является вступление прямой волны, то есть энергии, прошедшей непосредственно от источника для построения изображения до приемника через приповерхностную область. На Фиг.5 также в виде вкладки показаны сейсмические явления, полученные путем приведения в действие источника для статики, в отношении которого сделано предположение, что он является пространственно разнесенным по отношению к источнику для построения изображения.
На Фиг.6 на виде сверху показана часть схемы расположения устройства сейсморазведки из настоящего изобретения, содержащего источник для построения изображения и источник для статики, который является пространственно разнесенным относительно источника для построения изображения. На Фиг.6 приблизительно обозначена область 14, расположенная вокруг источника 12 для построения изображения, в которой возникает некогерентный шум, а также обозначена область 15, в которой возникает шум от наземной бегущей волны. На Фиг.6 также обозначена область вокруг источника 13 для статики, в которой могут быть получены данные статики. В предпочтительном варианте источники расположены один относительно другого и относительно приемника таким образом, что приемник (на чертеже не показан) находится в области 16, расположенной вокруг источника для статики, в которой могут быть получены данные статики, но вне областей 14 и 15, в которых источник для построения изображения вызывает некогерентный шум и шум от наземной бегущей волны. В предпочтительном варианте источник 13 для статики смещен относительно источника 12 для построения изображения таким образом, чтобы он был расположен вне областей 14 и 15, в которых источник для построения изображения вызывает некогерентный шум, интерференцию и шум от наземной бегущей волны.
На Фиг.7 показана схема волновых полей, необходимых для того, чтобы можно было осуществить полную корректировку данных для построения изображения с введением поправок на влияние приповерхностной области. Как указано выше, приповерхностная область не всегда проходит до поверхности Земли и иногда существует тонкий слой, “непосредственно примыкающий к поверхности”, покрывающий приповерхностную область. В тех местах, где существует такой слой, для получения информации о свойствах этого поверхностного слоя необходим такой тип волны, которая проникает в землю на очень небольшую глубину. Как указано выше, для определения скорости распространения в слое, непосредственно примыкающем к поверхности, может быть использован вызванный воздушной волной “веер поверхностных волн”, созданный источником для построения изображения.
Как указано выше, тип волны, имеющей малую глубину проникновения и не проникающей в геологический фундамент 6, распространяется только через приповерхностную область (или слой выветривания). Следовательно, волна такого типа может обеспечить получение информации о свойствах приповерхностной области. Пригодными для этого типами волны являются, в том числе, прямая волна от надлежащего источника для статики, а также поверхностные волны и наземные бегущие волны, создаваемые источником для построения изображения.
Наконец, для получения информации о геологических свойствах геологического фундамента (уплотненной породы) необходим полный набор данных для построения изображения, полученных от надлежащего источника для построения изображения.
В альтернативном варианте осуществления изобретения для получения как данных для построения изображения, так и данных статики используют только один сейсмический источник. Как объяснено выше, прямая волна от источника для построения изображения обычно является непригодной для получения информации о приповерхностной области. Следовательно, в этом варианте осуществления изобретения для получения информации о приповерхностной области не пытаются использовать прямую волну, созданную источником для построения изображения, а вместо этого используют, по меньшей мере, одну из следующих волн: наземные бегущие волны, поверхностные волны и воздушные волны, созданные источником для построения изображения. В этом варианте осуществления изобретения в полученных в приемнике сейсмических данных распознают те сейсмические явления, которые возникают вследствие, по меньшей мере, одних из следующих волн: наземных бегущих волн, поверхностных волн и воздушных волн. Эти явления связаны с сейсмической энергией, прошедшей только лишь через приповерхностную область, и, следовательно, могут быть использованы для получения информации о свойствах приповерхностной области. И опять-таки они создают первое вступление волны сдвига, обработка которого может быть осуществлена тем же самым способом, что и первого вступления продольной волны.
Этот вариант осуществления изобретения может опять-таки быть реализован с использованием приемников, расположенных на поверхности Земли или вблизи нее, и в нем не требуется осуществлять заглубление приемников в землю.
Этот вариант осуществления изобретения предпочтительным образом реализуют с использованием высококачественного источника с малой глубиной проникновения. Это предотвращает наличие шума двигателя и нелинейности, свойственной обычному большому вибрационному сейсмическому источнику. Кроме того, малый вибрационный сейсмический источник создает значительно меньшее количество наземных бегущих волн и поверхностных волн, а также создает меньше воздушных волн, чем обычный вибрационный сейсмический источник. Более низкая амплитуда таких волн означает, что эти волны должны быть более линейными и, следовательно, являются более пригодными для определения информации о свойствах приповерхностной области.
Формула изобретения
1. Способ сейсморазведки, содержащий следующую операцию: в приемнике, расположенном в месте проведения разведочных работ, осуществляют сбор первых сейсмических данных, относящихся к нижележащей геологической структуре; при этом способ содержит также следующие операции: осуществляют сбор вторых сейсмических данных, относящихся к приповерхностной области в месте проведения разведочных работ, при этом операцию сбора вторых сейсмических данных выполняют одновременно или, по существу, одновременно с выполнением операции сбора первых сейсмических данных; и осуществляют обработку вторых сейсмических данных для получения информации о приповерхностной области и/или об отклонениях показаний приемника.
2. Способ по п.1, по которому операция сбора первых сейсмических данных содержит следующие операции: приводят в действие первый сейсмический источник и осуществляют сбор первых сейсмических данных посредством группы приемников, состоящей из одного или большего количества приемников, и по которому операция сбора вторых сейсмических данных содержит следующие операции: одновременно или, по существу, одновременно с приведением в действие первого сейсмического источника приводят в действие второй сейсмический источник, являющийся иным, чем первый сейсмический источник, и осуществляют сбор вторых сейсмических данных посредством группы приемников.
3. Способ по п.2, содержащий операцию, на которой осуществляют кодирование сейсмической энергии, излученной, по меньшей мере, одним из сейсмических источников: первым или вторым сейсмическим источником.
4. Способ по п.2, по которому первый сейсмический источник при его использовании излучает сейсмическую энергию в первом диапазоне частот, а второй сейсмический источник при его использовании излучает сейсмическую энергию во втором диапазоне частот, отличающемся от первого диапазона частот.
5. Способ по п.4, по которому первый диапазон частот не перекрывает вышеупомянутый второй диапазон частот.
6. Способ по п.2, содержащий операцию, на которой приводят в действие второй сейсмический источник на заранее заданный промежуток времени до или через заранее заданный промежуток времени после приведения в действие первого сейсмического источника.
7. Способ по п.6, содержащий операцию, на которой приводят в действие второй сейсмический источник через заранее заданный промежуток времени после приведения в действие первого сейсмического источника.
8. Способ по п.7, по которому заранее заданный промежуток времени равен, по меньшей мере, 0,5 с.
9. Способ по п.7, по которому заранее заданный промежуток времени является меньшим 1,0 с.
10. Способ по п.2, по которому первый сейсмический источник является пространственно разнесенным по отношению ко второму сейсмическому источнику.
11. Способ по п.10, по которому расстояние от первого сейсмического источника до приемника является большим, чем расстояние от второго сейсмического источника до приемника.
12. Способ по п.2, по которому приемник или каждый из приемников, в которых получают сейсмические данные, расположен на поверхности Земли.
13. Способ по п.1, содержащий операцию, на которой приводят в действие сейсмический источник таким образом, чтобы обеспечить излучение сейсмической энергии, и посредством группы приемников осуществляют сбор первых и вторых сейсмических данных, являющихся следствием приведения в действие сейсмического источника.
14. Способ по п.13, по которому вторые сейсмические данные получают от поверхностных волн, созданных сейсмической энергией, излученной сейсмическим источником.
15. Способ по п.13, по которому вторые сейсмические данные получают от воздушных волн, созданных сейсмическим источником.
16. Способ по п.1, содержащий операцию, на которой выбирают первое вступление волны по первым вступлениям поперечной волны во вторых сейсмических данных.
17. Способ по п.1, который также содержит следующую операцию:
осуществляют обработку первых сейсмических данных для получения информации о нижележащей геологической структуре, исходя из информации о приповерхностной области и/или информации об отклонениях показаний приемника.
18. Способ по п.13, по которому группа приемников расположена на поверхности Земли.
19. Способ сейсморазведки, содержащий следующие операции: приводят в действие источник сейсмической энергии таким образом, чтобы осуществить генерацию, по меньшей мере, одной из следующих волн: поверхностных волн, наземной бегущей волны и воздушных волн, и осуществляют сбор сейсмических данных, относящихся к приповерхностной области в месте проведения разведочных работ, полученных посредством вышеупомянутой, по меньшей мере, одной из следующих волн, поверхностных волн, наземной бегущей волны и воздушных волн, и осуществляют обработку сейсмических данных для получения информации о приповерхностной области и/или об отклонениях показаний приемника.
20. Устройство сейсморазведки, содержащее первый сейсмический источник, приспособленный для облучения нижележащей геологической структуры сейсмической энергией, второй сейсмический источник, средство управления, служащее для, по существу, одновременного приведения в действие первого и второго сейсмических источников, приемник, являющийся пространственно разнесенным по отношению к первому сейсмическому источнику и ко второму сейсмическому источнику, и средство обработки сейсмических данных, полученных в результате приведения в действие второго сейсмического источника, чтобы таким образом получить информацию о приповерхностной области и/или об отклонениях показаний приемника.
21. Устройство сейсморазведки по п.20, в котором первый сейсмический источник выполнен таким образом, что при его использовании излучается сейсмическая энергия в первом диапазоне частот, а второй сейсмический источник выполнен таким образом, что при его использовании излучается сейсмическая энергия во втором диапазоне частот, отличающемся от первого диапазона частот.
22. Устройство сейсморазведки по п.21, в котором первый диапазон частот не перекрывает второй диапазон частот.
23. Устройство сейсморазведки по п.20, в котором средство управления выполнено таким образом, что приводит в действие один из сейсмических источников: первый или второй, через заранее заданный промежуток времени после приведения в действие другого из сейсмических источников: первого или второго.
24. Устройство сейсморазведки по п.23, в котором средство управления выполнено таким образом, что приводит в действие второй сейсмический источник через заранее заданный промежуток времени после приведения в действие первого сейсмического источника.
25. Устройство сейсморазведки по п.23, в котором заранее заданный промежуток времени равен, по меньшей мере, 0,5 с.
26. Устройство сейсморазведки по п.23, в котором заранее заданный промежуток времени является меньшим 1,0 с.
27. Устройство сейсморазведки по п.20, в котором второй сейсмический источник расположен, по существу, рядом с первым сейсмическим источником.
28. Устройство сейсморазведки по п.20, в котором второй сейсмический источник является пространственно разнесенным по отношению к первому сейсмическому источнику.
29. Устройство сейсморазведки по п.28, в котором расстояние между приемником и вторым сейсмическим источником является меньшим, чем расстояние между приемником и первым сейсмическим источником.
30. Устройство сейсморазведки по п.20, в котором приемник расположен на поверхности Земли.
31. Устройство сейсморазведки по п.30, в котором расстояние между приемником и вторым сейсмическим источником меньше, чем расстояние между приемником и первым сейсмическим источником.
32. Устройство сейсморазведки по п.22, в котором приемник расположен на поверхности Земли.
РИСУНКИ
|
|