|
|
(21), (22) Заявка: 2005116812/28, 01.06.2005
(24) Дата начала отсчета срока действия патента:
01.06.2005
(43) Дата публикации заявки: 20.11.2006
(46) Опубликовано: 20.10.2007
(56) Список документов, цитированных в отчете о поиске:
FR 2193479 А, 15.02.1974. RU 2025705 C1, 30.12.1994. SU 1810773 A1, 23.04.1993. SU 1103104 A, 15.07.1984. SU 1465729 A1, 15.03.1989. JP 3257339 A, 15.11.1995.
Адрес для переписки:
300001, г.Тула, Щегловская засека, ГУП “Конструкторское бюро приборостроения”
|
(72) Автор(ы):
Савченко Дмитрий Игнатьевич (RU), Иванова Любовь Владимировна (RU), Погорельский Семен Львович (RU), Бутенко Алексей Иванович (RU)
(73) Патентообладатель(и):
Государственное унитарное предприятие “Конструкторское бюро приборостроения” (RU)
|
(54) СПОСОБ ПРОВЕРКИ НА ГЕРМЕТИЧНОСТЬ СТЫКА ИЗДЕЛИЯ, ПРЕИМУЩЕСТВЕННО ПРИЦЕЛ-ПРИБОРА НАВЕДЕНИЯ, С ОБЪЕКТОМ, ПРЕДНАЗНАЧЕННЫМ ДЛЯ ПРЕОДОЛЕНИЯ ВОДНЫХ ПРЕГРАД, И УСТРОЙСТВО ДЛЯ ЕГО РЕАЛИЗАЦИИ
(57) Реферат:
Изобретение относится к области испытательной техники и предназначено для испытания на герметичность прицел-приборов наведения, установленных на объектах, предназначенных для преодоления водных преград, в которых часть прибора расположена на корпусе объекта, например блок головного зеркала, а другая часть расположена внутри объекта, например блок модулей с визирным каналом, при этом посадочное место блока головного зеркала, уплотнение и корпус объекта образуют стык, который является запорным элементом в объекте на герметичность. Изобретение направлено на повышение достоверности проверки на герметичность, сокращение затрат и времени на подготовку и снижение трудоемкости испытаний. Этот технический результат обеспечивается за счет того, что изделие погружают в резервуар с крышкой, заполненный водой, а его внутренний объем сообщают с прибором контроля, считывают величину колебания утечки воды, по которой судят о герметичности изделия. В крышку устанавливают имитатор объекта с отверстиями под прицел-прибор наведения, включающий блок головного зеркала и блок модулей с визиром. Монтаж прицел-прибора наведения производят на имитаторе объекта, устанавливая уплотнение и блок головного зеркала сверху имитатора, а снизу устанавливают блок модулей с визиром, скрепляют их, затем заполняют резервуар водой, поднимают подъемным устройством крышку с имитатором объекта и прицел-прибором наведения, переворачивают их и погружают уплотнительным стыком в резервуар с водой, скрепляют крышку с резервуаром. После этого вращают резервуар до верхнего вертикального положения блока головного зеркала с уплотнительным стыком, фиксируют резервуар в данном положении, затем создают давление с имитацией глубины погружения объекта, выдерживают в течение заданного времени и по показаниям прибора контроля колебания утечки воды судят о герметичности стыка прицел-прибора наведения. 2 н.п. ф-лы, 5 ил.
Предлагаемое изобретение относится к оборонной технике, в частности к прицел-приборам наведения, установленным на объектах, предназначенных для преодоления водных преград, в которых часть прибора расположена на корпусе объекта, например блок головного зеркала, а другая часть прибора расположена внутри объекта, например блок модулей с визирным каналом, при этом посадочное место блока головного зеркала, уплотнение и корпус объекта образуют стык, который является запорным элементом в объекте на герметичность.
Известен способ проверки на герметичность изделия, выбранный в качестве прототипа, при котором изделие погружают в резервуар, заполненный водой, при этом резервуар сообщается с прибором контроля, по которому считывают величину утечки колебания воды и судят о герметичности изделия (Патент Франции № 2193479 от 24 июля 1972 г. по G01M 3/00).
Данный способ проверки на герметичность изделия реализуется устройством, выбранным в качестве прототипа, содержащим резервуар с водой, прибор контроля утечки воды в резервуаре, трубы с водозапорными устройствами подачи и слива воды, сообщающимися с внутренним объемом резервуара и прибором контроля, и крепежные элементы (Патент Франции № 2193479 от 24 июля 1972 г по G01М 3/00).
Известный способ и устройство проверки на герметичность стыка прибора с объектом не обеспечивает приближенных к реальным условиям испытаний и достоверность проверки стыка, так как его невозможно проверить без погружения объекта на заданную глубину водоема, не обеспечивается имитация избыточного давления на стык прибор-объект в заданных диапазонах по глубине преодоления объектом водных преград и пребыванию его под водой по времени, а для использования известного способа потребовалась бы большая емкость резервуара и трубка прибора, колебания уровня которой характеризуют величину утечки, зависят от температуры окружающей среды и воды.
В приведенном устройстве проверки изделия на герметичность контрольный прибор утечки имеет в трубке капиллярное явление, т.к. вогнутый или выпуклый мениск получается в зависимости от расположения конца трубки над уровнем воды или ниже него.
Смещение мениска зависит от коэффициента, в который входит материал трубки, род жидкости, температура и внутренний диаметр трубки. Ввиду этого следует учитывать подъем мениска в трубке вследствие капиллярности, и, в общем случае, для определения высоты подъема воды пользуются выражением:

где – поверхностное натяжение воды;
1 и 2 – объемный вес воды и воздуха;
d – внутренний диаметр трубки, мм.
Поправка на влияние капиллярности может быть учтена путем установки при атмосферном давлении нуля шкалы на уровне мениска воды в трубке при начальном уровне, т.е. смещении нуля шкалы вверх на величину:

Ошибка, обусловленная капиллярностью, может быть уменьшена при применении больших диаметров трубки прибора, регистрирующего утечку.
При проверке на герметичность стыка прибора с объектом необходимо создать давление Р=1,5 Рраб, а также атмосферное давление, действующее на свободную поверхность воды, подобное давление называется абсолютным, отсчитывается от нуля и измеряется в технических атмосферах.
Давление часто измеряют высотой Н столба жидкости, а в технической практике атмосферное давление обычно во внимание не принимают, пользуясь так называемым избыточным или манометрическим давлением.
Все вышесказанное снижает достоверность проверки на герметичность стыка прибора с объектом, требует большой металлоемкости и трудоемкости устройства.
Задача изобретения состоит в повышении достоверности проверки на герметичность стыка прибора с объектом, предназначенным для преодоления водных преград, в приближенных к реальным условиям эксплуатации, сокращении затрат времени на подготовку испытаний, снижении трудоемкости испытаний путем имитации стыка прибора корпус объекта без погружения всего объекта на заданную глубину в водоем.
Поставленная задача достигается тем, что в способе проверки на герметичность стыка изделия, преимущественно прицел-прибора наведения, с объектом, предназначенным для преодоления водных преград, при котором изделие погружают в резервуар с крышкой, заполненный водой, а внутренний объем резервуара сообщают с прибором контроля, считывают величину колебания утечки воды, по которой судят о герметичности изделия, в нем в крышку резервуара устанавливают имитатор объекта с отверстиями под крепежные элементы и посадочными местами под прицел-прибор наведения, включающий блок головного зеркала и блок модулей с визиром, при этом монтаж прицел-прибора наведения производят на имитаторе объекта, причем устанавливают уплотнение и блок головного зеркала сверху имитатора объекта, а снизу имитатора объекта устанавливают блок модулей с визиром, скрепляют их, затем заполняют резервуар водой, поднимают подъемным устройством крышку с имитатором объекта и прицел-прибором наведения, переворачивают их и погружают уплотнительным стыком в резервуар с водой, скрепляют крышку с резервуаром, после чего вращают резервуар с крышкой поворотным устройством до верхнего вертикального положения блока головного зеркала с уплотнительным стыком, фиксируют резервуар в данном положении, затем создают давление с имитацией глубины погружения объекта, выдерживают в течение заданного времени и по показаниям прибора контроля колебания утечки воды судят о герметичности стыка прицел-прибора наведения.
Способ проверки на герметичность стыка изделия, преимущественно прицел-прибора наведения с объектом, предназначенным для преодоления водных преград, реализуется устройством, содержащим резервуар, крышку, прибор контроля утечки воды в резервуаре, трубы подачи и слива воды с водозапорным устройствами, в нем на крышке резервуара установлен имитатор объекта с отверстиям под крепежные элементы и посадочными местами для монтажа прицел-прибора наведения, крышка имеет оси под чалки подъемного устройства, при этом резервуар выполнен с осями, которые размещены в стойках опорной рамы и скреплены с поворотным устройством, причем оси резервуара и стойки рамы имеют горизонтальные планки с отверстиями, выполненными слева и справа осей и стоек рамы, а в отверстие планок введен палец, имеющий хвостовую часть для отвода (ввода) его при горизонтальном положении резервуара относительно рамы.
Предложенный способ проверки на герметичность стыка изделия преимущественно прицел-прибора наведения с объектом, предназначенным для преодоления водных преград, и устройство для его реализации позволяют повысить достоверность испытаний в приближенных к реальным условиям эксплуатации, сократить время, затраты на подготовку испытаний, снизить трудоемкость испытаний. Кроме этого, появляется возможность проверки на герметичность защитного стекла блока головного зеркала.
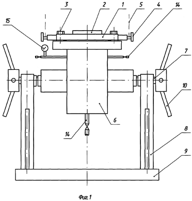
На фиг.1 и 2 представлено устройство для реализации способа проверки на герметичность стыка изделия, преимущественно прицел-прибора наведения, где
1 – крышка резервуара;
2 – имитатор объекта, предназначенного для преодоления водных преград, с отверстиями и посадочными местами под прицел-прибор наведения;
3 – крепежные элементы;
4 – оси крышки резервуара под цапфы 5 подъемного устройства ;
6 – резервуар с водой, который имеет оси 7, установленные в стойках 8 рамы 9, при этом оси соединены с поворотным устройством 10;
11 – горизонтальные планки с отверстиями 12, выполненные слева и справа осей 7 резервуара 6 и стоек 8 рамы 9, которые контактируют с пальцем 13, имеющего хвостовую часть для отвода (ввода) его при горизонтальном положении резервуара относительно рамы;
14 – трубы подвода, слива воды с водозапорными устройствами;
15 – прибор контроля, по которому считывают колебания утечки воды.
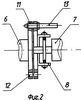
На фиг.3 показан монтаж прицел-прибора наведения на крышке 1 резервуара и имитаторе 2 объекта, включающего блок головного зеркала 16 и блок модулей 17 с визирным каналом; 18 – уплотнительный стык блока головного зеркала 16 с имитатором объекта 2.
На фиг.4 показано погружение прицел-прибора наведения в резервуар 6 с водой и монтаж крышки 1 с предварительным поворотом в осях на 180°.
На фиг.5 представлена проверка прицел-прибора наведения на герметичность в приближенных к реальным условиям эксплуатации, где резервуар 6 с водой и блоком головного зеркала 16 с уплотнительным стыком 18 поворотным устройством вращают на 180°, после чего создают давление.
Работает устройство для проверки на герметичность стыка прицел-прибора наведения с объектом, предназначенным для преодоления водных преград, следующим образом.
С резервуара 6 снимают крышку 1, свинчивая крепежные элементы 3, и переворачивают ее на 180° с помощью подъемного устройства 4, 5. На крышку устанавливают имитатор объекта 2 с отверстиями и посадочными местами под блок головного зеркала 16 и блок модулей 17 с визирным каналом, потом производят монтаж прицел-прибора наведения на имитаторе объекта 2, причем устанавливают уплотнение и блок головного зеркала 16 сверху имитатора объекта, образуя уплотнительный стык 18 с имитатором объекта, а снизу имитатора объекта 2 устанавливают блок модулей 17, скрепляют их, заполняют резервуар 6 водой, поднимают подъемным устройством 4, 5 крышку 1 с имитатором объекта 2 и прицел-прибором наведения, переворачивают их на 180° и погружают уплотнительным стыком 18 в резервуар 6 с водой, скрепляют крышку 1 с резервуаром 6 с помощью крепежных элементов 3, резервуар имеет оси 7, установленные в стойках 8 рамы 9, при этом оси 7 соединены с поворотным устройством 10, причем оси 7 резервуара 6 и стойки 8 рамы 9 имеют горизонтальные планки 17 с отверстиями 12, выполненными слева и справа осей 7 и стоек 8 рамы 9, которые контактируют с пальцем 13, имеющим хвостовую часть для отвода(ввода) при горизонтальном положении резервуара относительно рамы. Резервуар 6 с помощью поворотного устройства 10 поворачивают на 180° до вертикального положения блока головного зеркала, фиксируют вручную с помощью пальца 13, с помощью водозапорных устройств 14 создают необходимое давление во внутреннем объеме резервуара, при этом давление регистрируется прибором контроля колебания утечки воды, выдерживают в течение заданного времени и по показаниям прибора контроля судят о герметичности стыка прицела-прибора наведения и защитного стекла блока головного зеркала.
После окончания испытаний поворачивают резервуар 6 с помощью поворотного устройства 10 на 180° в первоначальное положение, фиксируют с помощью пальца 13 и производят демонтаж крышки 1 с имитатором объекта 2, переворачивают ее на 180° с помощью подъемного устройства 4, 5 и производят демонтаж прицел-прибора наведения.
Устройство готово к испытанию следующего прибора. Предложенное техническое решение позволяет сымитировать подводное перемещение объекта на глубоких водоемах без привлечения технических средств, позволяет сократить затраты и время на подготовку испытаний со снижением трудоемкости.
Формула изобретения
1. Способ проверки на герметичность стыка изделия, преимущественно прицел-прибора наведения, с объектом, предназначенным для преодоления водных преград, при котором изделие погружают в резервуар с крышкой, заполненный водой, а внутренний объем резервуара сообщают с прибором контроля, считают величину утечки воды, по которой судят о герметичности изделия, отличающийся тем, что в крышку резервуара устанавливают имитатор объекта с отверстиями под крепежные элементы и посадочными местами под прицел-прибор наведения, включающий его блок головного зеркала и блок модулей с визиром, при этом монтаж прицел-прибора наведения производят на имитаторе объекта, причем устанавливают уплотнение и блок головного зеркала сверху имитатора объекта, а снизу имитатора объекта устанавливают блок модулей с визиром, скрепляют их, затем заполняют резервуар водой, поднимают подъемным устройством крышку с имитатором объекта и прицел-прибором наведения, переворачивают их и погружают уплотнительным стыком в резервуар с водой, скрепляют крышку с резервуаром, после чего вращают резервуар с крышкой поворотным устройством до верхнего вертикального положения блока головного зеркала с уплотнительным стыком, фиксируют резервуар в данном положении, затем создают давление с имитацией глубины погружения объекта, выдерживают в течение заданного времени и по показаниям прибора контроля утечки воды судят о герметичности стыка и прицел-прибора наведения.
2. Устройство проверки на герметичность стыка изделия, преимущественно прицел-прибора наведения, с объектом, предназначенным для преодоления водных преград, содержащее резервуар, крышку, прибор контроля утечки воды в резервуаре трубы подачи и слива воды с водозапорными устройствами, отличающееся тем, что на крышке резервуара установлен имитатор объекта с отверстиями под крепежные элементы и посадочными местами для монтажа прицел-прибора наведения, крышка имеет оси под чалки подъемного устройства, при этом резервуар выполнен с осями, которые размещены в стойках опорной рамы и скреплены с поворотным устройством, причем оси резервуара и стойки рамы имеют горизонтальные планки с отверстиями, выполненными слева и справа осей и стоек рамы для взаимодействия с пальцем, вводимым для фиксации резервуара.
РИСУНКИ
|
|