|
(21), (22) Заявка: 2006115823/28, 06.05.2006
(24) Дата начала отсчета срока действия патента:
06.05.2006
(46) Опубликовано: 20.10.2007
(56) Список документов, цитированных в отчете о поиске:
SU 1631304 A1, 28.02.1991. SU 501976 A, 05.02.1976. RU 2017078 C1, 30.07.1994. RU 4002 U1, 16.04.1997. DE 4341675 A, 20.04.1995. GB 1517597 A, 12.07.1978.
Адрес для переписки:
454048, г.Челябинск, ул. Энтузиастов, 6а, ЗАО”ЭТАЛОН ВЕСПРОМ”
|
(72) Автор(ы):
Лосев Анатолий Васильевич (RU), Терентьев Иван Анатольевич (RU)
(73) Патентообладатель(и):
Закрытое акционерное общество “ЭТАЛОН ВЕСПРОМ” (RU)
|
(54) СПОСОБ ВЗВЕШИВАНИЯ ГРУЗОВ НА РЫЧАЖНЫХ ВЕСАХ И ВЕСОИЗМЕРИТЕЛЬНОЕ УСТРОЙСТВО
(57) Реферат:
Изобретение относится к области измерительной техники и предназначено для взвешивания грузов большой массы, преимущественно при аттестации гирь. Изобретение направлено на повышение чувствительности весов и их быстродействия при упрощении их конструкции. Этот результат обеспечивается за счет того, что датчиком перемещений измеряют параметры движения рычага и преобразуют их в цифровой код. При этом измерение веса груза ведут в режиме автоколебаний, измеряя по крайней мере три любые последовательности экстремального отклонения рычага, а вес груза определяют как среднее составляющее. Весоизмерительное устройство содержит установленный на призматической опоре основания двуплечий рычаг с грузоприемным элементом на конце одного плеча и связанный концом другого плеча с противовесом и датчиком перемещений, укрепленным на основании, микропроцессорное устройство с цифровым индикатором. Причем в микропроцессорном устройстве имеется определитель экстремумов, соединенный последовательно с блоком памяти и вычислительным устройством. 2 н.п. ф-лы, 3 ил.
Изобретения относятся к измерительной технике, а именно к способам взвешивания грузов большой массы, преимущественно при аттестации гирь большой массы.
Известен способ взвешивания грузов, в котором процесс измерения веса ведут после устранения колебаний системы. Для ускорения процесса затухания колебаний используют демпфирование [1].
Недостатком способа является недостаточная точность и длительность процесса измерения.
Известно весоизмерительное устройство, содержащее грузоприемный механизм с гидродемпфером, датчик веса, блок установки нуля, вторичный измеритель [1].
Недостатками известного устройства являются сложность конструкции, длительность процесса измерения, низкая точность.
Наиболее близким по технической сущности и достигаемому эффекту к предлагаемому является способ взвешивания грузов на рычажных весах, а именно весах, содержащих двуплечий рычаг – коромысло [2]. В данном способе, как и в указанном выше аналоге, вес груза измеряют после гашения колебаний рычажной системы. Датчиком перемещений фиксируют колебания двуплечего рычага и преобразуют их в цифровой код. Для ускорения затухания колебаний рычага применяют демпфирование. При больших колебаниях рычага колебания гасят с помощью фрикционного элемента. После снижения скорости колебаний ниже установленной фрикционный механизм отключают и доуспокоение системы ведут с помощью пневмоцилиндра. Измерение веса ведут при полном отсутствии колебаний двуплечего рычага.
Недостатком данного способа являются низкая точность, длительность процесса измерения.
Наиболее близким по технической сущности и достигаемому эффекту к предлагаемому является весоизмерительное устройство, содержащее установленный на основании на призматической опоре двуплечий рычаг [2]. На конце одного плеча рычага установлен грузоприемный элемент, конец другого плеча связан с противовесом и датчиком перемещений, закрепленным на основании. В устройстве имеется демпфер в виде цилиндра, шток поршня которого соединен с фрикционным элементом и закреплен на двуплечем рычаге (коромысле). Ось цилиндра и штока проходит по дуге с центром в опоре двуплечего рычага. Датчик перемещения связан с цифровым преобразователем. Управляющее устройство по сигналам датчика перемещений подключает фрикционный элемент при больших скоростях противовеса. При уменьшении скорости движения противовеса до величины, меньше заданной, гашение колебаний двуплечего рычага происходит путем перемещения штока с поршнем в изогнутом корпусе цилиндра.
Недостатками наиболее близкого устройства являются сложность конструкции, длительность процесса измерения, низкая точность.
Задачей предлагаемых изобретений является повышение чувствительности, упрощение конструкции и повышение быстродействия.
Поставленная задача в предлагаемом способе достигается тем, что в способе взвешивания грузов на рычажных весах, в котором датчиком перемещений измеряют параметры движения рычага и преобразуют их в цифровой код, согласно изобретению вес груза измеряют в режиме слабозатухающих автоколебаний, для этого измеряют по крайней мере три любые последовательные экстремальные отклонения рычага, а вес груза определяют как среднее составляющее.
То, что вес измеряют в режиме слабозатухающих автоколебаний, приводит к тому, что не требуется ждать, пока затухнут колебания, и нет необходимости применять демпфирование системы, что ускоряет процесс измерения, упрощает его. Процесс измерения исключает погрешность, вносимую в измерение вследствие сухого трения в опоре рычага, что повышает его чувствительность (точность).
Поставленная задача в предлагаемом устройстве достигается тем, что в устройстве, содержащем установленный на основании на опорной призме двуплечий рычаг с грузоприемным элементом на конце одного плеча и связанный концом другого плеча с противовесом и датчиком перемещений, укрепленным на основании, микропроцессорное устройство с цифровым индикатором, согласно изобретению оно снабжено определителем экстремумов, соединенным последовательно с блоком памяти и вычислительным устройством.
То, что весоизмерительное устройство снабжено определителем экстремумов, соединенным последовательно с блоком памяти и вычислительным устройством, позволит измерять вес грузов в режиме слабозатухающих автоколебаний, не дожидаясь успокоения двуплечего рычага, что ускорит процесс измерения веса груза.
Это позволит также исключить сложное демпфирующее устройство с цилиндром, фрикционным элементом и многочисленными кинематическими связями этих элементов между собой и двуплечим рычагом (коромыслом). Это значительно упростит конструкцию устройства.
Помимо этого, в предлагаемом устройстве исключается действие сухого трения в призматической опоре, что повысит чувствительность (точность) устройства.
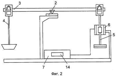
Предлагаемые способ взвешивания грузов на рычажных весах и весоизмерительное устройство проиллюстрированы на фиг.1-3, где на фиг.1 показан график колебательного движения двуплечего рычага, на фиг.2 – принципиальная схема предлагаемого устройства, на фиг.3 – принципиальная схема микропроцессорного устройства.
Способ осуществляется следующим образом.
После установки груза на конец одного плеча двуплечего рычага и начала слабозатухающих колебаний его вокруг опоры с помощью датчика перемещений измеряют эти перемещения и преобразуют в цифровой код. Далее определяют все экстремумы (max, min) и заносят их в блок памяти. На основании трех последовательных экстремумов, например трех последних, вычисляют среднюю составляющую по формуле:

где Ui – цифровой код, соответствующий экстремальному перемещению рычага в i-м колебании.
Весоизмерительное устройство содержит установленный на основании 1 на призматической опоре 2 двуплечий рычаг (коромысло) 3. На конце одного плеча рычага 3 смонтирован грузоприемный элемент 4, конец другого плеча связан с противовесом 5 и датчиком 6 перемещений, укрепленным на основании 2. Выход датчика 6 подключен к микропроцессорному устройству 7. Микропроцессорное устройство 7 состоит из генератора 8 переменного тока повышенной частоты, подключенного к первичной обмотке датчика 6 перемещений, вторичные обмотки датчика 6 перемещений подключены к выходу усилителя выпрямителя 9. К выходу усилителя выпрямителя 9 подключен аналого-цифровой преобразователь 10, выход которого соединен с определителем 11 экстремумов. Выход определителя 11 экстремумов соединен с блоком 12 памяти, к выходу которого подключено вычислительное устройство 13, выход которого соединен с индикатором 14 микропроцессорного устройства 7.
Весоизмерительное устройство работает следующим образом.
При наложении взвешиваемого груза на грузоприемный элемент 4 поворачивается двуплечий рычаг 3 с противовесом 5 вокруг призматической опоры 2. Далее из-за малого трения в опоре 2 двуплечий рычаг 3 совершает слабозатухающие автоколебания вокруг точки равновесия, определяемой разностью взвешиваемого груза и противовеса. При перемещении противовеса 5 в любую сторону от среднего положения на катушках вторичной обмотки закрепленного на основании 1 датчика 6 перемещений, подключенного к генератору 8, возникает разностная ЭДС, величина которой прямо пропорциональна величине смещения противовеса 5. Напряжение, пропорциональное величине перемещения противовеса 5, усиливается и выпрямляется усилителем – выпрямителем 9. Этот сигнал поступает на аналого-цифровой преобразователь 10, где он преобразуется в цифровой код. Далее определителем 11 экстремумов последовательно определяют все экстремумы (max, min), которые заносятся в блок 12 памяти. На основании по крайней мере трех любых последовательных экстремумов вычислительное устройство 13 определяет среднее составляющее значение, которое далее отображается на цифровом индикаторе 14 микропроцессорного устройства.
Разработан опытный образец предлагаемого устройства, предназначенный для аттестации гирь массой 2 т. Устройство реализовано на контроллере серии ICP DAS, выполняющем функцию определения экстремумов, их запоминания, вычисления значения веса и отображения на индикаторе. На данном устройстве опробован заявляемый способ. Период измерения веса составил 15 с, время успокоения системы 20 мин, чувствительность ±4 г.
Предлагаемые способ и весоизмерительное устройство найдут применение в измерительной технике для аттестации гирь большой массы.
Источники информации
1. Авторское свидетельство СССР № 501976, Весоизмерительное устройство, МКИ С01G 23/10 от 11.01.74.
2. Авторское свидетельство СССР № 1631304, Весоизмерительное устройство, МКИ5 G01G 7/00 от 28.02.91.
Формула изобретения
1. Способ взвешивания грузов на рычажных весах, при котором датчиком перемещений измеряют параметры движения рычага, преобразуют их в цифровой код, отличающийся тем, что вес груза измеряют в режиме слабозатухающих автоколебаний, для этого измеряют по крайней мере три любых последовательных экстремальных перемещения рычага, а вес груза определяют как среднее составляющее.
2. Весоизмерительное устройство, содержащее установленный на основании на призматической опоре двуплечий рычаг с грузоприемным элементом на конце одного плеча и связанный концом другого плеча с противовесом и датчиком перемещений, укрепленным на основании, микропроцессорное устройство с цифровым индикатором, отличающееся тем, что оно снабжено определителем экстремумов, соединенным последовательно с блоком памяти и вычислительным устройством.
РИСУНКИ
PC4A – Регистрация договора об уступке патента СССР или патента Российской Федерации на изобретение
Прежний патентообладатель:
Закрытое акционерное общество “ЭТАЛОН ВЕСПРОМ”
(73) Патентообладатель:
Закрытое акционерное общество “Бизнес Контрол”
Договор № РД0036474 зарегистрирован 23.05.2008
Извещение опубликовано: 10.07.2008 БИ: 19/2008
|