|
|
(21), (22) Заявка: 2006100801/02, 17.01.2006
(23) Дата поступления дополнительных материалов к ранее поданной заявке: 29 2005129796/0.11.2005
(24) Дата начала отсчета срока действия патента:
17.01.2006
(46) Опубликовано: 20.10.2007
(56) Список документов, цитированных в отчете о поиске:
КОСТЕНКО В.П., “Пули для охотничьего гладкоствольного ружья”, М.: изд. дом Рученькиных, 2003, с.123, 124, рис.61. RU 2169340 С2, 20.06.2001. RU 2163998 C1, 10.03.2001. US 5239928 А, 31.08.1993. FR 2437604 A3, 30.04.1980.
Адрес для переписки:
121471, Москва, а/я 72, пат.пов. А.Л. Храмцову, рег.№ 762
|
(72) Автор(ы):
Иванов Михаил Юрьевич (RU)
(73) Патентообладатель(и):
Иванов Михаил Юрьевич (RU)
|
(54) ПУЛЕВОЙ СНАРЯД ИВАНОВА ДЛЯ ГЛАДКОСТВОЛЬНОГО ОХОТНИЧЬЕГО РУЖЬЯ
(57) Реферат:
Пулевой снаряд используется для стрельбы из гладкоствольного ружья при охоте на крупного животного, преимущественно с использованием насадки со сверловкой “парадокс”. Снаряд содержит дискретные и последовательно расположенные полый цилиндрический контейнер и полый обтюратор, а также средство поражения, выполненное в виде цилиндра с кольцевой канавкой, которая выполнена в головной зоне средства поражения, расположенного заподлицо с торцевой поверхностью головной зоны полого цилиндрического контейнера. Полый обтюратор выполнен с расположенным в его головной части полым стабилизатором, в полости которого выполнены соосно расположенный по его центру полый цилиндрический хвостовик и сопряженные с ним радиальные ребра. Оптимизированы формы и относительные размеры элементов снаряда. Повышается резкость выстрела за счет достижения оптимальной обтюрации и амортизации. 3 ил.
Изобретение относится к зарядной технике, а именно к пулевым снарядам для стрельбы из гладкоствольного ружья при охоте на крупного животного, преимущественно с использованием насадки со сверловкой “парадокс”.
В настоящее время наиболее распространенным видом охотничьего оружия является гладкоствольное ружье. Это обусловлено его небольшой стоимостью и универсальностью по сравнению с ружьем, имеющим нарезной ствол. Применяя различные боеприпасы, охотничьи ружья с гладким стволом позволяют охотиться практически на всех представителей животного мира. Однако в отличие от самой конструкции огнестрельных ружей в наибольшей степени совершенствуются пулевые снаряды, отвечающие условиям конкретного вида охоты.
В настоящее время известно более 200 конструкций пулевых снарядов и средств поражения (пуль). Но ни одна из известных пуль не дает при стрельбе из гладких стволов разброс, близкий к нарезному оружию, т.е. в пределах 45 мм при стрельбе на 100 м.
Известен пулевой снаряд Полева для гладкоствольного охотничьего ружья, содержащий корпус грибовидной формы, состоящий из подкалиберной головной части и хвостовика, пыж-стабилизатор, выполненный с обтюратором в задней части, турбинкой в виде выступов на его боковой поверхности и выемкой на переднем торце, в которую установлен хвостовик корпуса, а также центрирующие отделяемые сектора, установленные на головную часть корпуса (Авторское свидетельство № 1141293, F42В 11/02).
Недостатками указанного пулевого снаряда являются низкая точность попадания, скорость полета, дальность поражения, пробивная способность и склонность к рикошетам, что вызвано деформацией свинцового корпуса пули и полиэтиленового пыжа-стабилизатора, отсутствием вращения пули в полете вокруг своей продольной оси и жесткости в соединении корпуса с пыжом-стабилизатором. При стрельбе с использованием насадки со сверловкой “парадокс” кучность резко снижается. Данными пулевыми снарядами невозможно стрелять через густой кустарник из-за рикошетов. Кроме того, свинцовый пулевой снаряд, попадая по костям крупных животных, сильно деформируется и не может создавать хороший останавливающий эффект.
Также известен пулевой снаряд для стрельбы из гладкоствольного ружья, содержащий сплошной стальной цилиндрический корпус и полиэтиленовый стабилизатор, установленный с натягом на меньший диаметр корпуса (журнал “Охота и охотничье хозяйство”, Москва, ноябрь-декабрь 1992 г., стр.25, рис.2).
Недостатками указанного пулевого снаряда являются низкая точность попадания, скорость полета, дальность поражения и пробивная способность, вызванные отсутствием вращения вокруг продольной оси и, следовательно, стабилизации полета, полетом корпуса вместе со стабилизатором на всей траектории, и, кроме того, существует опасность его применения, так как нет устройства, предохраняющего ствол от удара по нему стальной пули, особенно при наличии в нем дульного сужения.
Наиболее близким к заявленному изобретению является известный из уровня техники пулевой снаряд Рубейкина, содержащий дискретные и последовательно расположенные полый цилиндрический контейнер с головной и хвостовой зонами, выполненный, по меньшей мере, из двух, дискретных частей, и полый обтюратор, выполненный с головной и хвостовой частями, а также средство поражения, выполненное в виде цилиндра с головной и хвостовой зонами и с профилированной кольцевой канавкой, расположенное соосно внутри полости цилиндрического контейнера (В.П.Костенко. Пули для охотничьего гладкоствольного ружья. Москва, Издательский дом Рученькиных, 2003 г., стр.123-124, рис.61).
Многолетние испытания в реальных условиях охоты и при стрельбе из гладкоствольного охотничьего ружья в тире показали, что основными недостатками известного из уровня техники решения по отношению к заявленному изобретению являются низкие показатели внешних и внутренних баллистических характеристик, т.е. повышенное аэродинамическое сопротивление, за счет низкой скорости полета средства поражения (пули), отсутствия продольной устойчивости (т.е. положение продольной оси средства поражения не совпадает с направлением его полета – происходит кувыркание, вследствие чего – приход средства поражения к цели под углом), отсутствия амортизации и вращения средства поражения вокруг своей продольной оси, которое приводит к недлительному сохранению кинетической энергии, особенно необходимой для поражения крупных животных. Кроме того, недостаточная обтюрация при движении средства поражения в стволе ружья в момент выстрела, поскольку не обеспечивается необходимая и достаточная герметизация ствола при выстреле, предотвращающая прорыв пороховых газов.
Все вышеизложенное, в конечном итоге, приводит к недостаточному останавливающему действию, низкой поражающей способности и не исключает рикошет за счет низкой точности попадания, дальности поражения и пробивной способности.
Техническая задача, на решение которой направлено заявленное изобретение, заключается в качественном улучшении внешних и внутренних баллистических характеристик, обеспечивающих при стрельбе из гладкоствольных ружей разброс пуль на дистанции до 100 метров в пределах 45 мм, за счет обеспечения стабилизации полета, снижения аэродинамического сопротивления средства поражения во время полета, улучшения обтюрации при движении средства поражения в стволе ружья в момент выстрела и обеспечения амортизации.
Данный технический результат достигается посредством того, что пулевой снаряд для гладкоствольного охотничьего ружья содержит дискретные и последовательно расположенные полый цилиндрический контейнер с головной и хвостовой зонами, выполненный, по меньшей мере, из двух, дискретных частей, и полый обтюратор, выполненный с головной и хвостовой частями, а также средство поражения, выполненное в виде цилиндра с головной и хвостовой зонами и с профилированной кольцевой канавкой, расположенное соосно внутри полости цилиндрического контейнера. Кольцевая канавка выполнена в головной зоне средства поражения, расположенного заподлицо с торцевой поверхностью головной зоны полого цилиндрического контейнера, и ее профиль имеет вид равносторонней трапеции, а полый обтюратор выполнен с расположенным в его головной части полым стабилизатором, в полости которого выполнены соосно расположенный по его центру полый цилиндрический хвостовик и сопряженные с ним радиальные ребра, при этом хвостовая часть обтюратора выполнена в виде конуса, больший диаметр d1 которого составляет 1,01-1,02 от внешнего диаметра d полого цилиндрического контейнера, внутренний диаметр d2 кольцевой канавки составляет 0,63-0,69 от диаметра D средства поражения, ширина h кольцевой канавки по конуру составляет 0,5-0,8 от D, расстояние Н от центральной поперечной оси кольцевой канавки до торца головной зоны средства поражения составляет 0,5-0,8 от D, а угол наклона боковых сторон кольцевой канавки относительно продольной оси средства поражения выполнен в пределах 45 градусов с учетом технологического поля допуска.
Сравнительный анализ предлагаемого изобретения с прототипом и аналогами показал, что предложенное техническое решение соответствует критериям “новизна”, “изобретательский уровень” и “промышленная применимость”.
Изобретение поясняется графическими материалами, где:
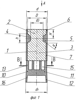
– на Фиг.1 изображен поперечный разрез пулевого снаряда;
– на Фиг.2 – вид А;
– на Фиг.3 – поперечный разрез стабилизатора-амортизатора по А-А.
Пулевой снаряд для гладкоствольного охотничьего ружья содержит средство 1 поражения, выполненное в виде цилиндра с головной зоной 2 и хвостовой зоной 3, и с кольцевой канавкой 4, которая выполнена в головной зоне 2 средства 1 поражения. Профиль кольцевой канавки 4 имеет вид равносторонней трапеции. Пулевой снаряд также содержит дискретно расположенные полый цилиндрический контейнер 5, который выполнен с головной зоной 6 и хвостовой зоной 7 и полый обтюратор 10. Полый цилиндрический контейнер 5 выполнен составным, по меньшей мере, из двух, дискретных частей 8 и 9. Средство 1 поражения расположено заподлицо с торцевой поверхностью головной зоны 6 полого цилиндрического контейнера 5.
Упомянутый полый обтюратор 10 выполнен с головной частью 11 и хвостовой частью 12. В головной части 11 обтюратора 10 выполнен полый стабилизатор 13 (обтюратор 10 и стабилизатор 13 выполнены как единый конструктивный элемент), в свою очередь, в полости которого выполнены соосно расположенный по его центру полый цилиндрический хвостовик 14 и сопряженные с ним радиальные ребра 15. Хвостовая часть 12 полого обтюратора 10 выполнена в виде конуса 16, больший диаметр d1 которого составляет 1,01-1,02 от d – внешнего диаметра полого цилиндрического контейнера 5. Кроме того, торец хвостовой зоны 3 средства 1 поражения и торец хвостовой зоны полого цилиндрического контейнера 5 сопряжены с торцом стабилизатора 13.
При этом внутренний диаметр d2 кольцевой канавки 4 составляет 0,63-0,69 от D, ширина h кольцевой канавки 4 по конуру составляет 0,5-0,8 от D, высота Н – расстояние от центральной поперечной оси кольцевой канавки 4 до торца головной зоны средства 1 поражения составляет 0,5-0,8 от D, а угол наклона боковых сторон кольцевой канавки 4 относительно продольной оси средства 1 поражения выполнен в пределах 45 градусов с учетом технологического поля допуска, где D – диаметр средства 1 поражения.
Функционирование пулевого снаряда осуществляется следующим образом.
В гильзу гладкоствольного охотничьего ружья (на чертеже не показана) устанавливается предложенный пулевой снаряд путем следующих последовательных действий.
После засыпки в гильзу порохового заряда устанавливается полый обтюратор 10 с полым стабилизатором 13. Затем в гильзу в собранном виде устанавливается комплект, состоящий из средства 1 поражения с обхватывающим его полым цилиндрическим контейнером 5, который выполнен составным, по меньшей мере, из двух частей 8 и 9. Причем средство 1 поражения располагается заподлицо с торцевой поверхностью головной зоны 6 полого цилиндрического контейнера 5.
В момент выстрела пулевой снаряд начинает двигаться по каналу ствола с натягом (0,3-0,5 мм) посредством выполнения хвостовой части 12 полого обтюратора 10 в виде конуса 16. За счет конкретного конструктивного выполнения обтюратора 10 со стабилизатором 13 при выстреле как в начальный момент движения, так и в процессе движения по всему каналу ствола обеспечивается оптимальная обтюрация и амортизация, выстрел делается значительно резче, т.е. хвостовая часть 11 обтюратора 10, выполненная в виде конуса с конкретным соотношением размеров, обеспечивает полную герметизацию как в гильзе, так и в канале ствола ружья, а наличие и конструктивные особенности стабилизатора 13 помимо обеспечения стабилизации прохождения в стволе и во время полета пулевого снаряда обеспечивают оптимальную амортизацию в канале ствола.
В момент отрыва пулевого снаряда от ствола, части 8 и 9 контейнера 5 и обтюратор 10 с полым стабилизатором 13 отделяются от средства 1 поражения посредством давления продуктов сгорания пороховых газов, а конкретное расположение средства 1 поражения относительно торца головной зоны 6 полого цилиндрического контейнера 5 позволяет ускорить данный процесс.
Многолетние испытания в реальных условиях охоты и при стрельбе из гладкоствольного охотничьего ружья в тире показали, что использование предложенного изобретения (заявленная совокупность существенных признаков, изложенная в формуле изобретения) позволяет значительно улучшить показатели внешних и внутренних баллистических характеристик, т.е. сделать выстрел более резким, уменьшить аэродинамическое сопротивление (исключить появление сил, опрокидывающих пулю), а также уменьшить разброс за счет повышения скорости полета средства поражения (пули), обеспечения оптимальной обтюрации и амортизации, стабилизации, его продольной устойчивости и необходимого вращения средства поражения вокруг своей продольной оси, что приводит к длительному сохранению кинетической энергии, что особенно необходимо для поражения крупных животных, и исключить приход средства поражения к цели под углом (особенно при стрельбе через густой кустарник).
При выходе за границы заявленных в формуле изобретения интервалов параметры вышеперечисленных характеристик и показателей резко снижались, т.е. не решалась поставленная техническая задача.
Все вышеизложенное, в конечном итоге, приводит к необходимому и достаточному (оптимальному) останавливающему действию, высокой поражающей способности и точности попадания, дальности поражения и пробивной способности.
Таким образом, заявленное изобретение может быть использовано для стрельбы гладкоствольных оружий для охоты на крупного зверя, а с применением насадки со сверловкой “парадокс” охотничье ружье по своим показателям становится альтернативой нарезному оружию при стрельбе на расстоянии до 100 метров.
Формула изобретения
Пулевой снаряд для гладкоствольного охотничьего ружья, содержащий дискретные и последовательно расположенные полый цилиндрический контейнер с головной и хвостовой зонами, выполненный, по меньшей мере, из двух дискретных частей, и полый обтюратор, выполненный с головной и хвостовой частями, а также средство поражения, выполненное в виде цилиндра с головной и хвостовой зонами и с профилированной кольцевой канавкой, расположенное соосно внутри полости цилиндрического контейнера, отличающийся тем, что кольцевая канавка выполнена в головной зоне средства поражения, расположенного заподлицо с торцевой поверхностью головной зоны полого цилиндрического контейнера, и ее профиль имеет вид равносторонней трапеции, а полый обтюратор выполнен с расположенным в его головной части полым стабилизатором, в полости которого выполнены соосно расположенный по его центру полый цилиндрический хвостовик и сопряженные с ним радиальные ребра, при этом хвостовая часть обтюратора выполнена в виде конуса, больший диаметр d1 которого составляет 1,01-1,02 внешнего диаметра d полого цилиндрического контейнера, внутренний диаметр d2 кольцевой канавки составляет 0,63-0,69 диаметра D средства поражения, ширина h кольцевой канавки по конуру составляет 0,5-0,8 D, расстояние Н от центральной поперечной оси кольцевой канавки до торца головной зоны средства поражения составляет 0,5-0,8 D, а угол наклона боковых сторон кольцевой канавки относительно продольной оси средства поражения выполнен в пределах 45° с учетом технологического поля допуска.
РИСУНКИ
RH4A – Выдача дубликата патента Российской Федерации на изобретение
Дата выдачи дубликата: 10.01.2008
Наименование лица, которому выдан дубликат:
Иванов Михаил Юрьевич (RU)
Извещение опубликовано: 27.03.2008 БИ: 09/2008
|
|