|
|
(21), (22) Заявка: 2006102097/02, 25.01.2006
(24) Дата начала отсчета срока действия патента:
25.01.2006
(46) Опубликовано: 20.10.2007
(56) Список документов, цитированных в отчете о поиске:
RU 2219474 С2, 20.12.2003. RU 2107882 C1, 27.03.1998. GB1281084 А, 12.07.1972. US 2004237764 A, 02.12.2004. FR 2860542 A1, 08.04.2005. DE 10337005 A1, 17.03.2005.
Адрес для переписки:
300001, г.Тула, Щегловская засека, ГУП “Конструкторское бюро приборостроения”
|
(72) Автор(ы):
Шипунов Аркадий Георгиевич (RU), Березин Сергей Михайлович (RU), Швец Лев Михайлович (RU), Жилин Сергей Юрьевич (RU), Бурлаков Борис Валентинович (RU)
(73) Патентообладатель(и):
Государственное унитарное предприятие “Конструкторское бюро приборостроения” (RU)
|
(54) ЛЮК БОЕВОГО ОТДЕЛЕНИЯ
(57) Реферат:
Изобретение относится к бронетанковой технике, в частности к конструкциям люков боевых отделений машин легкой категории. Люк боевого отделения содержит крышку с отверстием, шарнирно закрепленную на крыше башни, и вращающийся блок с пятой, внутри которого установлен прибор наблюдения. В отверстии крышки соосно установлены кольца с возможностью регулировки торцевого зазора между ними. Пята выполнена в виде цилиндра с буртиком, расположенным между кольцами и контактирующим с пружинными прокладками, размещенными в зазоре между буртиком и кольцами. Изобретение позволяет уменьшить вес люка боевого отделения и повысить боевые и эксплуатационные характеристики боевого отделения. 2 ил.
Изобретение относится к бронетанковой технике и может найти применение в конструкциях боевых машин легкой категории.
Известен люк боевого отделения танка Т-54 М (Танк Т-54 М. Техническое описание и инструкция по эксплуатации. М.: Военное издательство Министерства обороны СССР, 1982, с.54-58). Люк состоит из основания, блока с погоном, крышки сферической формы и шариков. Основание крепится болтами к крыше башни. Блок соединен с основанием с помощью шариков, уложенных в беговые дорожки погона и основания. В блоке люка размещены прибор наблюдения ТПКУ-2Б и четыре призменных прибора.
Недостатком люка является его большой вес, так как для улучшения обзорности дополнительно установлены четыре призменных прибора.
Частично указанный недостаток устраняется в конструкции люка боевого отделения (патент RU №2219474), который, по мнению авторов, является наиболее близким техническим решением к заявленному объекту и выбран в качестве прототипа. Люк боевого отделения содержит основание, крышку и вращающийся блок. Основание снабжено горловиной, выполненной по периметру проема люка. Крышка имеет корытообразное сечение и установлена выпуклой частью вверх над горловиной люка. В средней части крышки выполнено отверстие, в котором жестко установлены верхняя и нижняя полусферы, контактирующие со сферической поверхностью пяты вращающегося блока, в отверстии которой установлена плита для закрепления на ней призматического прибора наблюдения.
Недостатком люка является невозможность плавного поворота блока с призматическим прибором, так как при эксплуатации из-за загрязнения и коррозии сферических поверхностей увеличивается усилие на рукоятке вращающегося блока при его повороте.
Задачей предлагаемого изобретения является уменьшение веса люка боевого отделения и повышение эксплуатационных и боевых характеристик боевого отделения за счет обеспечения плавности вращения блока с призматическим прибором.
Задача решается тем, что в люке боевого отделения, содержащем крышку с отверстием, шарнирно закрепленную на крыше башни и вращающийся блок с пятой, внутри которого установлен прибор наблюдения, новым является то, что в отверстии крышки соосно установлены кольца с возможностью регулировки торцевого зазора между ними. Пята выполнена в виде цилиндра с буртиком, расположенным между кольцами и контактирующим с пружинными прокладками, размещенными в зазоре между буртиком и кольцами.
Установка колец в отверстии крышки с возможностью регулировки зазора между ними обеспечивает получение необходимого момента при повороте блока с прибором наблюдения. Выполнение пяты в виде цилиндра с буртиком, расположенным между кольцами и контактирующим с пружинными прокладками, размещенными в зазоре между буртиком и кольцами, уменьшает вес люка и обеспечивает плавность вращения блока с прибором наблюдения.
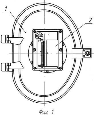
Предлагаемое техническое решение поясняется графическими материалами. На фиг.1 изображен вид на люк сверху. На фиг.2 – продольный разрез по оси отверстия люка.
Люк боевого отделения состоит из крышки 1, на которой установлен вращающийся блок 2 с пятой 3. Внутри вращающегося блока 2 размещен прибор наблюдения 4. В отверстии крышки 1 соосно закреплены кольца 5 и 6, свинченные друг с другом болтами. Зазор между кольцами регулируется прокладками 7. Пята 3 имеет буртик 9, который расположен между кольцами. В зазоре между кольцами 5, 6 и буртиком 9 установлены пружинные прокладки 8, выполненные в виде тонких колец волнообразного сечения. Материал колец – пружинная сталь.
Постоянный момент вращения блока 2 равный 3.5±0.5 Н·м обеспечивается подбором прокладок 7. При этом за счет деформации пружинных прокладок 8 обеспечивается необходимое усилие трения между буртиком 9 пяты 3 и торцевыми поверхностями колец 5 и 6.
Таким образом, предложенное техническое решение позволило уменьшить вес люка и за счет обеспечения плавности вращения прибора наблюдения повысить эксплуатационные и боевые характеристики боевого отделения.
Формула изобретения
Люк боевого отделения, содержащий крышку с отверстием, шарнирно закрепленную на крыше башни, и вращающийся блок с пятой, внутри которого установлен прибор наблюдения, отличающийся тем, что в отверстии крышки соосно установлены кольца с возможностью регулировки торцевого зазора между ними, пята выполнена в виде цилиндра с буртиком, расположенным между кольцами и контактирующим с пружинными прокладками, размещенными в зазоре между буртиком и кольцами.
РИСУНКИ
|
|