|
(21), (22) Заявка: 2005131442/02, 10.10.2005
(24) Дата начала отсчета срока действия патента:
10.10.2005
(43) Дата публикации заявки: 20.04.2007
(46) Опубликовано: 20.10.2007
(56) Список документов, цитированных в отчете о поиске:
Техника и вооружение. – 2002, №2 с.22, 23. RU 2172464 С2, 20.08.2001. GB 2254133 А, 30.09.1992. US 4280393 A, 28.07.1981. FR 2068993 A1, 03.09.1971. DE 2324988 A1, 02.04.1981.
Адрес для переписки:
644020, г.Омск, Красный пер., 2, ФГУП КБТМ
|
(72) Автор(ы):
Беляков Владимир Федорович (RU), Бобыльков Юрий Александрович (RU), Жуков Альберт Иосифович (RU), Кошкин Виктор Владимирович (RU), Пшевлоцкий Леонид Альфонсович (RU)
(73) Патентообладатель(и):
Федеральное государственное унитарное предприятие Конструкторское бюро транспортного машиностроения (RU)
|
(54) НИЗКОПРОФИЛЬНАЯ РУБКА ВОЕННОЙ МАШИНЫ (ВАРИАНТЫ)
(57) Реферат:
Группа изобретений относится к военной технике, в частности к рубкам машин различного назначения, выполненных на базовом шасси. Сущность изобретений заключается в том, что основание рубки выполнено с возможностью установки и фиксации на корпусе базового шасси, боковые стенки подвижного блока-погона башенки командира изготовлены заодно с ее горизонтальной монолитной крышей, в передней части которой выполнена ниша под инфракрасный осветитель для обеспечения минимально возможного высотного размера башенки при его установке. Донная часть ниши расположена на уровне основания башенки, а переход боковых стенок ниши в донную часть выполнен по вогнутой поверхности. Инфракрасный осветитель установлен в нише с гарантированным зазором для обеспечения возможности его прокачки в диапазоне рабочих углов. Пустотелая тяга выполнена П-образной формы, продольные ветви которой соединены одна – с шарниром комбинированного прибора наблюдения, а другая – с шарниром инфракрасного осветителя. Использование изобретений позволяет снизить общие габариты машины при высоком уровне броневой защиты. 2 н. и 8 з.п. ф-лы, 11 ил.
Изобретение относится к военной технике и может быть использовано на машинах различного назначения, выполненных на базовом шасси, у которых вместо орудийной или пулеметной башни установлена рубка экипажа с платформой, на которой размещено вооружение или рабочее оборудование.
Известна бронированная ремонтно-эвакуационная машина БРЭМ-1 (см. книгу “Современные танки” под ред. Сафонова Б.С. и Мураховского В.И., М., “Арсенал-Пресс”, 1995 г., стр.120), выполненная на базе танка Т-72. На корпусе базового шасси жестко закреплена рубка, на крыше которой установлена командирская башенка с зенитным пулеметом и приборами наблюдения. На машине может быть использована известная танковая командирская башенка (см., например, “Объект 219Р. Техническое описание и инструкция по эксплуатации”, М., “Воениздат”, 1986 г., кн. 2, стр.40-42, 206-212), предназначенная для обзора местности и целеуказания командиром при закрытых люках.
Башенка состоит из основания, на котором с помощью шаровой опоры установлен подвижный блок-погон с крышкой люка.
В передней части блока-погона по центру установлен комбинированный прибор наблюдения, который представляет собой электронно-оптический перископ бинокулярного типа с дневным и ночным каналами. В ночном режиме прибор работает во взаимодействии с инфракрасным осветителем, предназначенным для освещения участка местности или объекта инфракрасными лучами. Прибор устанавливается с возможностью качания в вертикальной плоскости, чем увеличивается поле обзора, а для синхронного (согласованного) качания его с осветителем они связаны между собой параллелограммным приводом. Тяга привода выполнена пустотелой, во внутренней полости проложен провод электрического питания осветителя. Слева и справа от комбинированного прибора установлены призматические приборы наблюдения (оптические), которые улучшают обзорность местности.
Недостатком известных башенки и рубки является их большой высотный габарит, что повышает заметность и возможность распознавания машины на складках местности и тем самым увеличивает вероятность ее поражения огнем противника на поле боя.
Известна тяжелая огнеметная система ТОС-1 “Буратино”, установленная на базе танка Т-72 (см. журнал “Техника и вооружение”, №8 за 2002 г., стр.22 и фото на стр.23), разработчиком и изготовителем которой является заявитель настоящей заявки на изобретение. Поворотная платформа качающейся части пусковой установки реактивной системы залпового огня, смонтированная на погонном устройстве танка, выполнена в виде низкопрофильной рубки в форме перевернутой тарелки. В крыше рубки установлены люки командира и оператора, а так же командирская башенка. Для снижения высотного габарита у подобных машин очень ограничено расстояние между рубкой и установленным вооружением или оборудованием, этим и определяются недостатки известной конструкции – нельзя использовать описанную выше серийную танковую башенку командира, так как:
– во-первых, инфракрасный осветитель не размещается по высоте;
– во-вторых, крышка люка командира не открывается и вход-выход через него невозможен.
Кроме того, у известной командирской башенки блок-погон сложной конфигурации изготавливается методом литья, а как известно, недостатками литой брони являются меньшая бронестойкость и большая масса по сравнению с листовой катанной броней. Особенно остро вопрос о замене литья на прокат возникает в опытном и единичном производствах при отсутствии металлургических мощностей.
Настоящим изобретением решается задача создания низкопрофильной рубки военной машины, размещаемой в ограниченном объеме.
Техническим результатом, достигаемым при решении поставленной задачи, является снижение общих габаритов машины при высоком уровне броневой защиты.
Поставленная задача решается тем, что в низкопрофильной рубке военной машины, содержащей боковые броневые стенки, крышу с люками для экипажа, башенку командира с основанием, подвижным блок-погоном на шариковой опоре, крышей с перископическими приборами наблюдения оптическими и комбинированным дневным-ночным, связанным с инфракрасным осветителем параллелограммным приводом с пустотелой тягой и шарнирами, согласно изобретению основание рубки выполнено с возможностью установки и фиксации на корпусе базового шасси, боковые стенки подвижного блока-погона башенки командира изготовлены заодно с ее горизонтальной монолитной крышей, в передней части которой выполнена ниша под инфракрасный осветитель для обеспечения минимально возможного высотного размера башенки при его установке, причем донная часть ниши расположена на уровне основания башенки, а переход боковых стенок ниши в донную часть выполнен по вогнутой поверхности, при этом инфракрасный осветитель установлен в нише с гарантированным зазором для обеспечения возможности его прокачки в диапазоне рабочих углов, а пустотелая тяга выполнена П-образной формы, продольные ветви которой соединены одна – с шарниром комбинированного прибора наблюдения, а другая – с шарниром инфракрасного осветителя.
Башенка командира может быть выполнена сварной конструкции с колпаком из катанного броневого листа, содержащим крышу и верхнюю часть боковой цилиндрической стенки и установленным на нижнее опорное кольцо с обеспечением фиксации от горизонтального смещения за счет взаимодействия кольцевых проточек и ответных кольцевых выступов, которые выполнены в привалочных поверхностях, причем вогнутая поверхность ниши под инфракрасный осветитель образована концентрическими ступенчатыми проточками.
Низкопрофильная рубка может быть установлена с возможностью кругового вращения на шариковом погоне корпуса базового шасси.
Основание низкопрофильной рубки может быть жестко связанно с бортами и крышей корпуса базового шасси.
Люки экипажа могут быть установлены в крыше со смещением от башенки, обеспечивающим требуемые жесткостные и прочностные характеристики конструкции.
Люки экипажа могут быть установлены в нишах, выполненных в боковых броневых стенках.
По второму варианту исполнения в низкопрофильной рубке военной машины, содержащей боковые броневые стенки и крышу с люками для экипажа, башенку командира с основанием, подвижным блок-погоном на шариковой опоре, крышей с перископическими приборами наблюдения оптическими и комбинированным дневным-ночным, связанным с инфракрасным осветителем параллелограммным приводом с пустотелой тягой и шарнирами, согласно изобретению основание рубки выполнено с возможностью установки и фиксации на корпусе базового шасси, боковые стенки подвижного блока-погона башенки командира изготовлены заодно с ее крышей, в которой установлен люк командира, а в передней части выполнена ниша под инфракрасный осветитель для обеспечения минимально возможного высотного размера башенки при его установке, причем донная часть ниши расположена на уровне основания башенки, а переход боковых стенок ниши в донную часть выполнен по вогнутой поверхности, при этом инфракрасный осветитель установлен в нише с гарантированным зазором для обеспечения возможности его прокачки в диапазоне рабочих углов, а пустотелая тяга выполнена П-образной формы, продольные ветви которой соединены одна – с шарниром комбинированного прибора наблюдения, а другая – с шарниром инфракрасного осветителя.
Башенка командира может быть выполнена сварной конструкции с колпаком из катанного броневого листа, содержащим крышу и верхнюю часть боковой цилиндрической стенки и установленным на нижнее опорное кольцо с обеспечением фиксации от горизонтального смещения за счет взаимодействия кольцевых проточек и ответных кольцевых выступов, которые выполнены в привалочных поверхностях, причем вогнутая поверхность ниши под инфракрасный осветитель образована концентрическими ступенчатыми проточками.
Основание низкопрофильной рубки может быть жестко связано с бортами и крышей корпуса базового шасси.
Люки экипажа могут быть установлены в крыше со смещением от башенки, обеспечивающим требуемые жесткостные и прочностные характеристики конструкции.
Анализ основных отличительных признаков показал, что:
– выполнение крыши башенки монолитной без ослабления конструкции наличием люка повысило защищенность командира от обстрела со стороны верхней полусферы;
– выполнение ниши, дно которой расположено на уровне основания башенки, позволило компактно разместить инфракрасный осветитель с обеспечением минимального высотного габарита рубки;
– выполнение перехода боковых стенок ниши в донную часть по вогнутой поверхности и установка инфракрасного осветителя в нише с гарантированным зазором, обеспечило возможность его прокачки в диапазоне рабочих углов для расширения площади, подсвечиваемой инфракрасными лучами;
– выполнение пустотелой тяги П-образной формы, продольные ветви которой соединены одна с шарниром комбинированного прибора наблюдения, а другая – с шарниром инфракрасного осветителя, позволило простым конструктивным решением надежно согласовать их перемещение в двух взаимно параллельных плоскостях;
– выполнение башенки сварной конструкции с колпаком из катанного броневого листа, содержащим крышу и верхнюю часть боковой цилиндрической стенки, упрощает ее конфигурацию и обеспечивает возможности изготовления колпака из катанного листа, что значительно повышает бронестойкость;
– установка колпака на нижнее опорное кольцо с обеспечением фиксации от горизонтального смещения за счет взаимодействия кольцевых проточек и ответных кольцевых выступов, которые выполнены в привалочных поверхностях, облегчает их центровку при сборке, повышает стойкость от горизонтальных ударных нагрузок;
– образование ниши под инфракрасный осветитель концентрическими ступенчатыми проточками позволяет изготавливать ее механической обработкой без использования сложной и дорогостоящей литейной оснастки;
– выполнение низкопрофильной рубки по второму варианту исполнения позволяет использовать ее на военных машинах, у которых требуется снизить высотный габарит для уменьшения заметности на складках местности, а по условиям компоновки люк командира возможно установить в крыше башенки, таких как бронированные ремонтно-эвакуационные и инженерные машины и т.д.
Изобретение поясняется чертежами, на которых изображено:
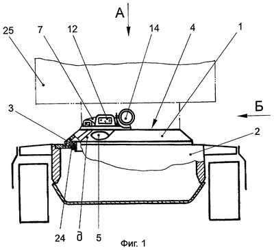
– на фиг.1 – вид спереди на низкопрофильную рубку, установленную с возможностью кругового вращения на шариковом погоне корпуса базового шасси военной машины;
– на фиг.2 – вид сверху на низкопрофильную рубку с башенкой командира и люками экипажа, установленными в нишах, выполненных в крыше и боковых броневых стенках рубки, вид А на фиг.1;
– на фиг.3 – вид сбоку на низкопрофильную рубку с продольным сечением по комбинированному прибору наблюдения, вид Б на фиг.1;
– на фиг.4 – вид сверху на комбинированный прибор наблюдения и инфракрасный осветитель, вид В на фиг.3;
– на фиг.5 – вид спереди на комбинированный прибор наблюдения и инфракрасный осветитель, вид Г на фиг.3;
– на фиг.6 – вид сверху на башенку командира низкопрофильной рубки по первому варианту исполнения, элемент Д фиг.2;
– на фиг.7 – вид сверху на башенку командира низкопрофильной рубки по второму варианту исполнения, элемент Д фиг.2;
– на фиг.8 – вертикальное сечение по литой башенке командира (комбинированный прибор наблюдения и инфракрасный осветитель не показаны), сечение Е-Е фиг.6;
– на фиг.9 – сечение по башенке командира сварной конструкции (комбинированный прибор наблюдения и инфракрасный осветитель не показаны), сечение Е-Е фиг.6;
– на фиг.10 – вид сверху на башенку командира сварной конструкции, вид Ж на фиг.9;
– на фиг.11 – вид спереди на низкопрофильную рубку жестко связанную с бортами и крышей корпуса базового шасси.
Низкопрофильная рубка 1 (см. фиг.1, 2) выполнена с возможностью установки основанием и фиксации на корпусе базового шасси 2 и содержит боковые броневые стенки 3, крышу 4, в которой установлены люки экипажа 5, 6, и башенку командира 7. Указанная башенка включает основание 8, жестко связанное с крышей 4, подвижный блок-погон 9 на шариковой опоре 10 и крышу 11 с размещенными в ней перископическими приборами наблюдения: комбинированным (дневным-ночным) 12 и оптическими 13 (см. фиг.3-7). Комбинированный прибор наблюдения 12 и установленный рядом с ним инфракрасный осветитель 14, закреплены с возможностью прокачки на шарнирах 15, 16, связанных между собой продольными ветвями П-образной пустотелой тяги 17, во внутренней полости которой проложен провод 18 электрического питания осветителя 14. Боковые стенки 19 подвижного блока-погона 9 изготовлены заодно с ее горизонтальной монолитной крышей 11 (см. фиг.8). Для установки инфракрасного осветителя 14 с обеспечением минимально возможного высотного размера башенки 7 в передней части крыши 11 выполнена ниша “а”, донная часть которой расположена на уровне основания башенки, а переход боковых стенок ниши в донную часть выполнен по вогнутой поверхности “е”. Инфракрасный осветитель 14 установлен в нише “а” с гарантированным зазором, для обеспечения возможности его прокачки в диапазоне рабочих углов.
Башенка командира 7 может быть выполнена сварной конструкции (см. фиг.9) с колпаком 20 из катанного броневого листа, содержащим выполненные заодно крышу 21 и верхнюю часть боковой цилиндрической стенки 22. Колпак 20 установлен на нижнее опорное кольцо 23 с обеспечением фиксации от горизонтального смещения за счет взаимодействия кольцевых проточек “б” и ответных кольцевых выступов “в”, которые выполнены в привалочных поверхностях. Вогнутая поверхность “е” ниши “а” под инфракрасный осветитель 14 образована концентрическими ступенчатыми проточками “г” (см. фиг.10).
Основание низкопрофильной рубки 1 может быть выполнено с возможностью установки, фиксации и кругового вращения на шариковом погоне 24 корпуса базового шасси 2, и снабжено модулем 25 с различным вооружением или оборудованием (на фиг. не показаны). Люки экипажа 5, 6 установлены в нишах “д”, выполненных в боковых броневых стенках 3 и крыше 4. Такое размещение рубки 1 может использоваться, например, на боевых машинах реактивной системы залпового огня на базовом шасси танка.
Основание низкопрофильной рубки 1 может быть жестко связанно с бортами и крышей корпуса базового шасси 2 (см. фиг.11). При этом люки экипажа 5, 6 установлены в ее крыше 4 со смещением от башенки командира 7, обеспечивающим требуемые жесткостные и прочностные характеристики конструкции (на фиг. не показаны).
В низкопрофильной рубке 1 по второму варианту исполнения основные элементы конструкции выполнены так же, как описано выше, а существенным отличием является то, что люк командира 5 установлен в крыше башенки командира 7.
Такое размещение рубки 1 может использоваться, например, на бронированных ремонтно-эвакуационных и инженерных машинах, тяжелых бронетранспортерах на базовом шасси танков, танковых мостоукладчиках и т.д.
Работа
Низкопрофильная рубка 1 предназначена для размещения экипажа военной машины. Броневые стенки 3 и крыша 4 обеспечивают надежную противопульную защиту экипажа. Компактное размещение инфракрасного осветителя 14 в нише “а” обеспечивает минимальный высотный габарит рубки 1, что позволяет разместить ее в ограниченном объеме, а так же уменьшает заметность и возможность распознавания машины на складках местности и тем самым снижает вероятность ее поражения огнем противника.
Комбинированный прибор наблюдения 12 обеспечивает командиру машины возможность вести наблюдение за местностью как днем, так и ночью.
В ночном режиме комбинированный прибор 12 работает во взаимодействии с инфракрасным осветителем 14, который подсвечивает участок местности или объект инфракрасными лучами. Пустотелая тяга 17 надежно согласовывает перемещение комбинированного прибора 12 и инфракрасного осветителя 14 в двух взаимно параллельных плоскостях, охватывая заданный диапазон рабочих углов наблюдения.
Низкопрофильная рубка 1 может быть использована для военных машин различного назначения: боевых, инженерных, а также радиационной, химической и биологической защиты.
Таким образом, настоящим изобретением решена поставленная задача создания низкопрофильной рубки военной машины, размещаемой в ограниченном объеме.
Формула изобретения
1. Низкопрофильная рубка военной машины, содержащая боковые броневые стенки, крышу с люками для экипажа, башенку командира с основанием, подвижным блок-погоном на шариковой опоре, крышей с перископическими приборами наблюдения – оптическими и комбинированным дневным – ночным, связанным с инфракрасным осветителем параллелограммным приводом с пустотелой тягой и шарнирами, отличающаяся тем, что основание рубки выполнено с возможностью установки и фиксации на корпусе базового шасси, боковые стенки подвижного блока-погона башенки командира изготовлены заодно с ее горизонтальной монолитной крышей, в передней части которой выполнена ниша под инфракрасный осветитель для обеспечения минимально возможного высотного размера башенки при его установке, причем донная часть ниши расположена на уровне основания башенки, а переход боковых стенок ниши в донную часть выполнен по вогнутой поверхности, при этом инфракрасный осветитель установлен в нише с гарантированным зазором для обеспечения возможности его прокачки в диапазоне рабочих углов, а пустотелая тяга выполнена П-образной формы, продольные ветви которой соединены одна – с шарниром комбинированного прибора наблюдения, а другая – с шарниром инфракрасного осветителя.
2. Низкопрофильная рубка по п.1, отличающаяся тем, что башенка командира выполнена сварной конструкции с колпаком из катаного броневого листа, содержащим крышу и верхнюю часть боковой цилиндрической стенки и установленным на нижнее опорное кольцо с обеспечением фиксации от горизонтального смещения за счет взаимодействия кольцевых проточек и ответных кольцевых выступов, которые выполнены в привалочных поверхностях, причем вогнутая поверхность ниши под инфракрасный осветитель образована концентрическими ступенчатыми проточками.
3. Низкопрофильная рубка по п.1, отличающаяся тем, что она установлена с возможностью кругового вращения на шариковом погоне корпуса базового шасси.
4. Низкопрофильная рубка по п.1, отличающаяся тем, что ее основание жестко связано с бортами и крышей корпуса базового шасси.
5. Низкопрофильная рубка по п.1, отличающаяся тем, что люки экипажа установлены в ее крыше со смещением от башенки командира, обеспечивающим требуемые жесткостные и прочностные характеристики конструкции.
6. Низкопрофильная рубка по п.1, отличающаяся тем, что люки экипажа установлены в нишах, выполненных в боковых броневых стенках и крыше.
7. Низкопрофильная рубка военной машины, содержащая боковые броневые стенки и крышу с люками для экипажа, башенку командира с основанием, подвижным блок-погоном на шариковой опоре, крышей с перископическими приборами наблюдения – оптическими и комбинированным дневным – ночным, связанным с инфракрасным осветителем параллелограммным приводом с пустотелой тягой и шарнирами, отличающаяся тем, что основание рубки выполнено с возможностью установки и фиксации на корпусе базового шасси, боковые стенки подвижного блока-погона башенки командира изготовлены заодно с ее крышей, в которой установлен люк командира, а в передней части выполнена ниша под инфракрасный осветитель для обеспечения минимально возможного высотного размера башенки при его установке, причем донная часть ниши расположена на уровне основания башенки, а переход боковых стенок ниши в донную часть выполнен по вогнутой поверхности, при этом инфракрасный осветитель установлен в нише с гарантированным зазором для обеспечения возможности его прокачки в диапазоне рабочих углов, а пустотелая тяга выполнена П-образной формы, продольные ветви которой соединены одна – с шарниром комбинированного прибора наблюдения, а другая – с шарниром инфракрасного осветителя.
8. Низкопрофильная рубка по п.1, отличающаяся тем, что башенка командира выполнена сварной конструкции с колпаком из катаного броневого листа, содержащим крышу и верхнюю часть боковой цилиндрической стенки и установленным на нижнее опорное кольцо с обеспечением фиксации от горизонтального смещения за счет взаимодействия кольцевых проточек и ответных кольцевых выступов, которые выполнены в привалочных поверхностях, причем вогнутая поверхность ниши под инфракрасный осветитель образована концентрическими ступенчатыми проточками.
9. Низкопрофильная рубка по п.7, отличающаяся тем, что ее основание жестко связано с бортами и крышей корпуса базового шасси.
10. Низкопрофильная рубка по п.7, отличающаяся тем, что люки экипажа установлены в ее крыше со смещением от башенки, обеспечивающим требуемые жесткостные и прочностные характеристики конструкции.
РИСУНКИ
Другие изменения, связанные с зарегистрированными изобретениями
Изменения:
Зарегистрирован переход исключительного права без заключения договора Дата и номер государственной регистрации перехода исключительного права: 18.03.2010/РП0000632 Патентообладатель: Открытое акционерное общество “Конструкторское бюро транспортного машиностроения” Прежний патентообладатель: Федеральное государственное унитарное предприятие “Конструкторское бюро транспортного машиностроения”
Номер и год публикации бюллетеня: 29-2007
Извещение опубликовано: 10.05.2010 БИ: 13/2010
|