|
(21), (22) Заявка: 2005120908/02, 04.07.2005
(24) Дата начала отсчета срока действия патента:
04.07.2005
(46) Опубликовано: 20.10.2007
(56) Список документов, цитированных в отчете о поиске:
Танк “Урал”, Техническое описание и инструкция по эксплуатации, М., Воениздат, 1975, с.49, рис.15, с.53, рис.17, с.199, рис.92. RU 2237843 C1, 10.10.2004. US 5159148 A, 27.10.1992. FR 2662788 A1, 06.12.1991. FR 2654819 A1, 24.05.1991.
Адрес для переписки:
620027, г.Екатеринбург, ул. Свердлова, 6, ФГУП “Уралтрансмаш”, ЦКБ “Трансмаш”
|
(72) Автор(ы):
Кукис Валерий Александрович (RU), Ложкин Геннадий Николаевич (RU), Щелчков Сергей Александрович (RU)
(73) Патентообладатель(и):
Федеральное государственное унитарное предприятие “Уральский завод транспортного машиностроения” (ФГУП “Уралтрансмаш”) (RU)
|
(54) АРТИЛЛЕРИЙСКОЕ ОРУДИЕ С УСТРОЙСТВОМ ОГРАНИЧЕНИЯ УГЛОВ НАВЕДЕНИЯ
(57) Реферат:
Изобретение относится к области военной техники, в частности к артиллерийским орудиям и зенитно-ракетным комплексам с электрическими и гидравлическими механизмами наведения. Артиллерийское орудие содержит нижний станок, вращающуюся часть, качающуюся часть, упоры и амортизаторы. Упоры установлены в вертикальной плоскости на вращающейся части и/или в горизонтальной плоскости на нижнем станке. Амортизаторы установлены соответственно на качающейся части артиллерийского орудия и/или на вращающейся части. Амортизаторы выполнены двустороннего действия с возможностью взаимодействия с соответствующими упорами. Использование изобретения позволит повысить надежность работы устройства за счет снижения ударных нагрузок при подходе к крайним положениям орудия и снизить затраты и время на проведение технического обслуживания за счет компактного и удобного расположения конструкции вне боевого отделения. 2 з.п. ф-лы, 2 ил.
Изобретение относится к области военной техники, в частности к артиллерийским орудиям и зенитно-ракетным комплексам с электрическими и гидравлическими механизмами наведения, а также может быть использовано в конструкциях орудий военно-морского флота и береговой артиллерии.
Известно устройство ограничения крайних положений при придании максимальных углов возвышения и снижения качающейся части пушки, состоящее из трех бонок, упоров, двух резиновых буферов и планки. Бонки, приваренные к бронировке амбразуры башни, являются ограничителями угла возвышения пушки. Упор, приваренный к крыше башни, является ограничителем угла снижения пушки. Пушка взаимодействует с бонками и упором при наведении в вертикальной плоскости через посредство двух резиновых буферов, установленных на люльке орудия. В электрогидравлический привод наведения и стабилизации пушки в вертикальной плоскости входит дополнительно ограничитель углов в виде планки. Устройство ограничения крайних положений пушки размещено в боевом отделении (см. Танк “Урал”. Техническое описание и инструкция по эксплуатации (172М.ТО). Книга первая. Ордена Трудового Красного Знамени Военное издательство министерства обороны СССР, М., 1975, стр.49, рис.15, стр.53, рис.17, стр.199, рис.92).
Недостатками вышеприведенной конструкции устройств ограничения углов наведения артиллерийского орудия являются:
– возможность поломки механизмов наведения из-за жесткого удара упоров по ограничителю при придании стволу орудия максимального угла возвышения с большой скоростью переброски;
– размещение составных частей и деталей устройства в труднодоступных местах боевого отделения, что затрудняет его ремонт и проведение технического обслуживания;
– не предусмотрена регулировка максимальных величин углов возвышения и снижения артиллерийского орудия.
Задачей предлагаемого изобретения является повышение надежности работы устройства и механизмов ограничения углов наведения артиллерийского орудия, а также снижение затрат и времени на проведение технического обслуживания.
Задача решается тем, что в артиллерийском орудии, содержащем упоры и амортизаторы углов наведения
– упоры и амортизаторы установлены на башне вне боевого отделения;
– амортизаторы выполнены двустороннего действия;
– в вертикальной плоскости наведения упоры установлены на станке башни, амортизаторы – на качающейся части орудия;
– в горизонтальной плоскости наведения упоры установлены на нижнем станке (основании), амортизаторы – на вращающейся части орудия;
– на упорах установлены регулировочные шайбы;
– амортизаторы двустороннего действия выполнены в виде неподвижного корпуса, в котором установлены с возможностью возвратно-поступательного перемещения, по меньшей мере, один поршень и упругий элемент.
Новая совокупность конструктивных элементов, а также наличие связей между ними позволяют, в частности, за счет:
– размещения упоров и амортизаторов на башне вне боевого отделения обеспечить легкий доступ к устройству;
– выполнения амортизаторов двустороннего действия установить один амортизатор вместо двух в отличие от прототипа;
– установки в вертикальной плоскости наведения упоров на станке башни, амортизаторов – на качающейся части орудия создать компактную конструкцию и снизить нагрузки на механизм вертикального наведения;
– установки в горизонтальной плоскости наведения упоров на нижнем станке (основании), амортизаторов – на вращающейся части орудия создать компактную конструкцию и снизить нагрузки на механизм горизонтального наведения;
– установки на упорах регулировочных шайб обеспечить необходимые углы возвышения и снижения орудия;
– выполнения амортизаторов двустороннего действия в виде неподвижного корпуса, в котором установлены с возможностью возвратно-поступательного перемещения, по меньшей мере, один поршень и упругий элемент поглощать и рассеивать кинетическую энергию удара.
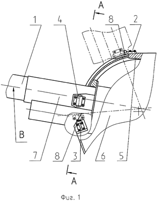
Изобретение поясняется чертежами, где на фиг.1 изображена часть артиллерийского орудия, с местным вырезом по маске и амбразуре; на фиг.2 изображена часть артиллерийского орудия с разрезом по амортизатору двустороннего действия.
Для самоходных артиллерийских орудий с круговым обстрелом в горизонтальной плоскости необходимо одно устройство ограничения углов наведения артиллерийского орудия 1 (фиг.1) в вертикальной плоскости, которое содержит симметрично расположенные относительно оси В два верхних упора 2, два нижних упора 3 и два амортизатора 4. Упоры 2, 3 крепятся на станке 5 башни 6, амортизаторы 4 – на люльке 7 артиллерийского орудия 1. Величина максимальных углов возвышения и снижения артиллерийского орудия 1 регулируется установкой необходимого количества шайб 8 на упорах 2 и 3.
Для артиллерийских орудий с ограниченным углом обстрела (например, корабельных и береговых) в горизонтальной плоскости устанавливаются дополнительно аналогичные упоры на нижнем станке (основании) и амортизаторы на вращающейся части артиллерийского орудия (не показаны).
Амортизаторы 4 (фиг.2) выполнены двустороннего действия в виде неподвижного корпуса 9, установленного на люльке 7, двух подвижных поршней верхнего 10 и нижнего 11, воспринимающих ударные нагрузки с противоположных сторон, и упругого элемента 12, расположенного между ними.
Возможно исполнение амортизатора в виде неподвижного корпуса, в котором установлен один поршень со штоками, проходящими через упругие элементы, расположенные между поршнем и боковыми стенками корпуса (не показано).
Работает устройство следующим образом. При переброске качающейся части артиллерийского орудия 1 (фиг.1) на максимальный угол возвышения верхний поршень 10 (фиг.2) амортизатора 4 (фиг.1) соприкасается с верхним упором 2 и поджимает упругий элемент 12, вследствие чего происходит поглощение и рассеивание энергии удара. После снятия нагрузки верхний поршень 10 под действием аккумулированной упругим элементом 12 энергии возвращается в исходное положение. Аналогично происходит работа ограничителя углов наведения и при придании качающейся части орудия максимального угла снижения, при этом демпфирование удара обеспечивается поджатием нижним поршнем 11 упругого элемента 12.
Техническое обслуживание устройства ограничения углов наведения и регулировка углов возвышения и снижения орудия 1 с помощью шайб 8, а при необходимости замена упругого элемента 12, производится членами экипажа со стороны маски, вне боевого отделения.
Таким образом, предложенное техническое решение позволит повысить надежность работы механизмов наведения за счет снижения ударных нагрузок при подходе к крайним положениям углов наведения и снизить затраты и время на проведение технического обслуживания за счет компактного и удобного расположения конструкции вне боевого отделения.
Формула изобретения
1. Артиллерийское орудие с устройством ограничения углов наведения, содержащее нижний станок, вращающуюся часть, качающуюся часть, упоры и амортизаторы, отличающееся тем, что упоры установлены в вертикальной плоскости на вращающейся части и/или в горизонтальной плоскости на нижнем станке, а амортизаторы установлены соответственно на качающейся части артиллерийского орудия и/или на вращающейся части, причем амортизаторы выполнены двустороннего действия с возможностью взаимодействия с соответствующими упорами.
2. Орудие по п.1, отличающееся тем, что на упорах установлены регулировочные шайбы.
3. Орудие по п.1, отличающееся тем, что амортизаторы выполнены в виде неподвижного корпуса, в котором установлены с возможностью возвратно-поступательного перемещения системы поршень – упругий элемент.
РИСУНКИ
Прежний патентообладатель:
Федеральное государственное унитарное предприятие “Уральский завод транспортного машиностроения”
(73) Патентообладатель:
Открытое акционерное общество “Уральский завод транспортного машиностроения”
Договор № РП0000947 зарегистрирован 18.08.2010
Извещение опубликовано: 10.10.2010 БИ: 28/2010
|