|
|
(21), (22) Заявка: 2005124378/02, 01.08.2005
(24) Дата начала отсчета срока действия патента:
01.08.2005
(43) Дата публикации заявки: 20.02.2007
(46) Опубликовано: 20.10.2007
(56) Список документов, цитированных в отчете о поиске:
DE 7621750 А, 28.10.1976. SU 836507 A1, 09.06.1981. SU 1709172 A1, 30.01.1992. RU 2227258 C1, 20.04.2004.
Адрес для переписки:
426006, г.Ижевск, пр-д Дерябина, 3, ОАО “Концерн “Ижмаш”, Конструкторско-оружейный центр
|
(72) Автор(ы):
Пономарев Александр Афанасьевич (RU), Агапитов Сергей Викторович (RU)
(73) Патентообладатель(и):
Открытое акционерное общество “Концерн “Ижмаш” (RU)
|
(54) СТРЕЛКОВОЕ ОРУЖИЕ
(57) Реферат:
Изобретение относится к стрелковому оружию с предохранительным устройством для защиты ствола от попадания посторонних предметов и атмосферных осадков в ствол, обеспечивающим безопасную и надежную работу оружия в целом. Стрелковое оружие содержит предохранительное устройство спускового механизма, предохранительное устройство для защиты ствола, включающее защитную крышку, рычаг, шарнирно соединенный и взаимодействующий с элементом предохранительного устройства спускового механизма и защитной крышкой. Новым является то, что защитная крышка выполнена на корпусе мушки и снабжена цапфами, установленными в пазы, выполненные на конце рычага. Изобретение обеспечивает повышение безопасности и удобства эксплуатации и сокращение времени на открывание-закрывание защитной крышки в процессе эксплуатации. 5 ил.
Изобретение относится к стрелковому оружию, а именно к стрелковому оружию с предохранительным устройством для защиты ствола от попадания посторонних предметов и атмосферных осадков в ствол и обеспечивающих безопасную и надежную работу оружия в целом.
Известно устройство защиты ствола танковой пушки (патент RU №2227258, 22.04.2004, F41A 21/44, F41A 35/02), содержащее ствол с хомутом, защитную крышку. Крышка выполнена открывающейся, ее нижний край связан с осью шпильки хомута, на которой закреплены основания рычагов. Верхние плечи двуплечих рычагов подпружинены и шарнирно соединены с крышкой, а нижние плечи шарнирно соединены с сердечником электромагнита. Фиксация крышки в положении «закрыто» обеспечивается пружинами, а в положении «открыто» – электромагнитом.
Недостатком устройства является сложность конструкции из-за применения электромагнита.
Наиболее близким аналогом (прототипом) является стрелковое оружие с предохранительным устройством (DE 7621750 A, F41C 27/08, 28.10.1976), содержащее ствол с корпусом мушки, предохранительное устройство защиты ствола и спускового механизма, тягу, подвижную в осевом направлении, в виде двуплечего рычага, шарнирно соединенного с подвижной осью, одно плечо которого содержит дульную крышку, другое плечо – защитную крышку спускового механизма.
Недостатками данного стрелкового оружия являются:
– увеличение габаритов стрелкового оружия;
– неудобство эксплуатации из-за выступающих частей предохранительного устройства за контуры оружия;
– не защищенность частей предохранительного устройства от воздействия внешней среды.
Задачей изобретения является создание стрелкового оружия, обеспечивающего технический результат, состоящий в повышении надежности и удобства эксплуатации, так как основная часть деталей предохранительного устройства расположены внутри оружия и не подвержены воздействию внешней среды как при транспортировке оружия, так и при стрельбе.
Этот технический результат в стрелковом оружии, содержащем ствол с корпусом мушки, предохранительное устройство для защиты ствола, включающее защитную крышку, установленную на корпусе мушки, предохранительное устройство спускового механизма, достигается тем, что предохранительное устройство для защиты ствола снабжено тягой, выполненной в виде, по меньшей мере, одноплечего рычага, взаимодействующей с элементом предохранительного устройства спускового механизма и защитной крышкой.
Один конец рычага шарнирно соединен с элементом предохранительного устройства спускового механизма.
Другой конец рычага шарнирно соединен с защитной крышкой с возможностью поворота защитной крышки, шарнирно соединенной с корпусом мушки.
Отличительными признаками является то, что шарнирное соединение рычага с защитной крышкой осуществлено посредством цапф на защитной крышке, установленных в пазы, выполненные на конце рычага, а защитная крышка выполнена на корпусе мушки.
Взаимодействие рычага с элементом предохранительного устройства спускового механизма и защитной крышкой, позволяет одним движением снять оружие с предохранителя, при этом автоматически открывается защитная крышка.
Сущность изобретения поясняется чертежами, где изображено:
на фиг.1 – общий вид стрелкового оружия (тяга выполнена в виде одноплечего рычага, конец рычага шарнирно соединен с элементом предохранительного устройства спускового механизма);
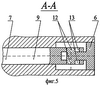
на фиг.5 – А-А на фиг.2 (цапфы выполнены на защитной крышке).
Стрелковое оружие состоит из ствола 1, корпуса 2 мушки, предохранительного устройства 3 спускового механизма с элементом 4 и предохранительного устройства 5 для защиты ствола, включающего защитную крышку 6 и рычаг 7. Рычаг 7 выполнен в виде, по меньшей мере, в виде одноплечего рычага. Один конец 8 рычага 7 может быть соединен стационарно или нестационарно, например шарнирно с элементом 4 предохранительного устройства 3 спускового механизма. Другой конец 9 рычага 7 соединен шарнирно с защитной крышкой 6. Шарнирное соединение конца 9 рычага 7 с защитной крышкой 6 может быть выполнено в виде цапф 12 на защитной крышке 6, которые установлены в пазы 13, выполненные на конце 9 рычага 7.
Предохранительное устройство 3 спускового механизма может занимать два фиксированных положения: «предохранение» и «огонь». При переводе предохранительного устройства 3 спускового механизма из положения «предохранение» в положение «огонь», элемент 4 передает движение рычагу 7, конец 9 которого с ним стационарно или нестационарно соединен. С помощью цапф 12 рычаг 7 поворачивает защитную крышку 6 на угол более 90°. Одним движением оружие снимается с предохранителя и при этом автоматически открывается защитная крышка 6, то есть все элементы освобождены для производства выстрела.
Таким образом, стрелковое оружие обеспечивает повышение безопасности и удобства эксплуатации и сокращение времени на открывание – закрывание защитной крышки в процессе эксплуатации.
Формула изобретения
Стрелковое оружие, содержащее ствол с корпусом мушки, предохранительное устройство спускового механизма, предохранительное устройство для защиты ствола, включающее защитную крышку, рычаг, шарнирно соединенный и взаимодействующий с элементом предохранительного устройства спускового механизма и защитной крышкой, отличающееся тем, что защитная крышка выполнена на корпусе мушки и снабжена цапфами, установленными в пазы, выполненные на конце рычага.
РИСУНКИ
|
|