|
|
(21), (22) Заявка: 2006103617/06, 07.02.2006
(24) Дата начала отсчета срока действия патента:
07.02.2006
(46) Опубликовано: 20.10.2007
(56) Список документов, цитированных в отчете о поиске:
RU 2094711 C1, 27.10.1997. RU 2197688 C1, 27.01.2003. RU 23098 U1, 20.05.2002. US 5188090 A, 23.02.1993. US 4590918 A, 27.05.1986.
Адрес для переписки:
601900, Владимирская обл., г. Ковров, ул. Труда, 4, ОАО “Завод им. В.А. Дегтярева”, ОПЛИР
|
(72) Автор(ы):
Мосалёв Сергей Михайлович (RU), Наумов Виктор Иванович (RU), Сыса Виктор Павлович (RU)
(73) Патентообладатель(и):
Открытое акционерное общество “Завод им. В.А. Дегтярева” (RU)
|
(54) УСТРОЙСТВО ДЛЯ НАГРЕВА ЖИДКОСТИ
(57) Реферат:
Изобретение относится к теплотехнике и может быть использовало в качестве источника тепловой энергии в системах отопления и горячего водоснабжения. Технический результат – повышение теплопроизводительности, снижение гидравлических потерь при подводе рабочей жидкости в зону с наивысшей производительнотью. Устройство для нагрева жидкости содержит статор, имеющий полость, состоящую из цилиндрической полости, относительно которой симметрично выполнены конические полости с диаметром основания конуса, меньшим, чем диаметр цилиндра, входной канал, выполненный в виде устройства для закручивания жидкости, расположенного соосно с отверстием по центру статора, которое заканчивается округлением или фаской, выходной канал для отвода жидкости, выполненный на цилиндрической поверхности статора. В полости статора установлен с зазором и с возможностью вращения ротор, выполненный в виде диска, закрепленного на валу. На торцевой поверхности цилиндрической части статора и диска выполнен, как минимум, один ряд несквозных отверстий. Аналогичные отверстия выполнены на цилиндрической поверхности диска. 2 ил.
Изобретение относится к теплотехнике и может быть использовано в качестве источника тепловой энергии в системах отопления и горячего водоснабжения.
Известен нагреватель жидкого теплоносителя (см.патент RU № 2094711, опубл. № 30 27.10.97 г.), содержащий камеру с жидкостью, снабженную патрубками подвода и отвода последней, и установленный в камере ротор в виде закрепленных на валу перфорированных дисков. В камере дополнительно закреплены пары неподвижных перфорированных дисков, в каждой из которых между последними с образованием зазоров для прохода жидкости установлен соответствующий диск ротора.
Недостатком данного устройства является сложность конструкции из-за наличия большого количества дисков.
Известно устройство для нагрева жидкости (см. заявку RU № 2002113432/06 от 23.05.02 г.),принятое за прототип. Устройство содержит статор, имеющий цилиндрическую полость, входные, каналы для подвода жидкости и выходной канал для отвода жидкости, а также установленный с зазором в эту полость ротор, выполненный в виде закрепленных на валу дисков со сквозными и несквозными отверстиями, расположенными по окружности вдоль переферии его торцов.
Недостатками прототипа являются низкая эффективность теплообразования при наличии большого количества сквозных и несквозных отверстий, большие гидравлические потери при прокачивании жидкости через устройство.
Предлагаемым изобретением решается задача: снижение энергозатрат.
Технический результат, получаемый при осуществлении изобретения, заключается в повышении теплопроизводительности, снижении гидравлических потерь при подводе рабочей жидкости в зону с наивысшей теплопроизводительностью.
Указанный технический результат достигается тем, что в устройстве для нагрева жидкости, содержащем статор, имеющий полость, входной канал для подвода жидкости и выходной канал для отвода жидкости, а также установленный с зазором в эту полость ротор, выполненный в виде закрепленного на валу диска с несквозными отверстиями, расположенными по окружности вдоль переферии его торцов, новым является то, что внутреняя полость статора выполнена сложной формы и включает в себя цилиндрическую полость, относительно которой симметрично выполнены две конические полости с диаметром основания конуса меньшим, чем диаметр цилиндра, входной канал выполнен в виде устройства для закручивания жидкости, входные отверстия в полость статора имеют округления или фаски, на цилиидрической части статора и ротора выполнены несквозные отверстия.
Выполнение части внутренней полости статора в форме двух прилегающих к цилиндрической поверхности усеченных конусов обусловлено тем, что поступление рабочей жидкости в пространство, расположенное между поверхностью статора и ротора, осуществляется по конусной поверхности, что значительно снижает гидравлическое сопротивление на этом участке и обеспечивает подачу рабочей жидкости в зону, расположенную между статором и ротором на цилиндрическом участке их поверхности, то есть туда, где теплоотдача наиболее эффективна ввиду того, что процессы кавитации и трения протекают при повышенном давлении, обусловленном закономерным распределением величин окружных скоростей в зависимости от удаления от оси вращения. То есть на участке с невысокой теплопроизводительностью, находящемся вблизи от вала, на котором зафиксирован ротор, рабочая жидкость движется с наименьшим сопротивлением и в дальнейшем поступает в зону, где торцевые поверхности статора и ротора, а также цилиндрическая поверхность ротора, имеют, как минимум, один ряд несквозных отверстий, обеспечивающих наиболее интенсивные процессы тепловыделения за счет процессов трения и кавитации жидкости. Следовательно, в данном случае обеспечивается использование для процессов теплообразования только высокоэффективных участков статора и ротора, что позволяет снизить непроизводительные затраты потребляемой энергии.
Исходя из вышеизложенного, расположение несквозных отверстий на торцевых поверхностях цилиндрической части ротора и статора, а также на цилиндрической поверхности ротора, обусловлено необходимостью получения наивысшей теплопроизводительности в зоне с повышенным давлением, где процесс тепловыделения происходит наиболее интенсивно.
Выполнение входного канала в виде устройства для закручивания жидкости, расположенного соосно с осью ротора и представляющего собой корпус с входным и выходным отверстиями, оси которых расположены перпендикулярно относительно друг друга и соединены друг с другом каналом, боковые стенки которого выполнены в виде любой поверхности, форма которой определена геометрической кривой, способной придать потоку движущейся жидкости вращательное движение, совпадающее по направлению с направлением вращения ротора. Тем самым обеспечивается дополнительное снижение энергетических затрат на прокачивание жидкости через устройство. Форма боковых стенок устройства для закручивания жидкости может быть определена, в частности, кривой в виде спирали Архимеда, гиперболической спирали, логарифмической спирали, разверткой окружности и т.д.
Выполнение отверстия в статоре, соосно с которым установлено устройство для закручивания жидкости, и отверстия, соединенного с камерой для установки торцевого уплотнения, со округлением или фаской обусловлено необходимостью снижения гидравлических потерь при поступлении жидкости в зазор между ротором и статором с одновременным значительным изменением направления своего движения.
Технические решения с признаками, отличающими заявляемое решение от прототипа, не известны и явным образом из уровня техники не следуют. Это позволяет считать, что заявляемое решение является новым и обладает изобретательским уровнем.
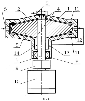
Сущность изобретения поясняется чертежами, где на фиг.1 – схема устройства для нагрева жидкости, фиг.2 – форма канала для закручивания жидкости.
Устройство для нагрева жидкости содержит статор 1, имеющий полость 2, состоящую из цилиндрической полости, относительно которой симметрично выполнены конические полости с диаметром онования конуса, меньшим, чем диаметр цилиндра, входной канал 3, выполненный в виде устройства для закручивания жидкости, расположенного соосно с отверстием по центру статора, которое заканчивается скруглением или фаской 4, выходной канал 5 для отвода жидкости, выполненный на цилиндрической поверхности статора. В полости статора установлен с зазором и с возможностью вращения ротор, выполненный в виде диска 6, закрепленного на валу 7, который установлен в подшипниковой опоре 8 и связан посредством муфты 9 с электродвигателем 10, и имеющий форму, аналогичную форме полости. На торцевой поверхности цилиндрической части статора и диска выполнен, как минимум, один ряд несквозных отверстий 11. Аналогичные отверстия выполнены на цилиндрической поверхности диска. На цилиндрической поверхности статора выполнено перепускное отверстие 12, соединенное с отверстием 13 камеры 14 для установки торцевого уплотнения. Камера для установки торцевого уплотнения соединена с полостью статора отверстием со округлением или фаской.
Устройство работает следующим образом.
После заполнения устройства жидкостью включается электродвигатель 10, который приводит в движение посредством муфты 9 вал 7 с закрепленным на нем диском 6. Под давлением жидкость поступает во входной канал 3, где происходит изменение прямолинейного направления ее движения на вращательное, ускорение и подача в полость 2. Далее под действием давления, приложенного со стороны входного канала 3, и действием центробежных сил она перемещается между торцевыми поверхностями статора 1 и диска 6 на их коническом участке, имея минимальное гидравлическое сопротивление, дальнейшее продвижение жидкости происходит на цилиндрическом участке зазора между статором 1 и диском 6 с интенсивным выделением тепловой энергии в зонах несквозных отверстий 11 в условиях повышенного давления из-за действия центробежных сил, далее она частично отводится через выходной канал 5, а частично через перепускное отверстие 12 поступает к отверстию 13 камеры 14 для установки торцевого уплотнения. Из камеры 14 жидкость устремляется в зазор между диском 6 и статором 1 и в дальнейшем, минуя конический и цилиндрический участки, отводится через выходной канал 5 и подается в систему отопления или горячего водоснабжения.
Формула изобретения
Устройство для нагрева жидкости, содержащее статор, имеющий полость, входной канал для подвода жидкости и выходной канал для отвода жидкости, а также установленный с зазором в эту полость ротор, выполненный в виде закрепленного на валу диска с несквозными отверстиями, расположенными по окружности вдоль периферии его торцов, отличающееся тем, что внутренняя полость статора выполнена сложной формы и включает в себя цилиндрическую полость, относительно которой симметрично выполнены две конические полости с диаметром основания конуса, меньшим, чем диаметр цилиндра, входной канал выполнен в виде устройства для закручивания жидкости, входные отверстия в полость статора имеют скругления или фаски, на цилиндрических частях статора и ротора выполнены несквозные отверстия.
РИСУНКИ
|
|