|
|
(21), (22) Заявка: 2006116734/06, 03.05.2006
(24) Дата начала отсчета срока действия патента:
03.05.2006
(46) Опубликовано: 20.10.2007
(56) Список документов, цитированных в отчете о поиске:
ТРОНОВ В.П., Промысловая подготовка нефти, Москва, Недра, 1977, стр.14, рис. 1а. SU 570375 A, 30.08.1977. SU 1780801 A1, 15.12.1992. SU 1725952 A1, 15.04.1992. SU 850119 A, 30.07.1981. RU 2023468 C1, 11.30.1994. RU 2144179 C1, 10.01.2000. EP 0338279 A2, 25.10.1989.
Адрес для переписки:
420032, г.Казань, ул. Герцена, 7а, кв.1, И.Р.Вальшину
|
(72) Автор(ы):
Вальшин Ильдар Ринатович (RU), Вальшин Айнарс Ринатович (RU)
(73) Патентообладатель(и):
Вальшин Ильдар Ринатович (RU), Вальшин Айнарс Ринатович (RU)
|
(54) СПОСОБ ВВОДА ХИМИЧЕСКОГО РЕАГЕНТА В ПОТОК ЖИДКОСТИ В ТРУБОПРОВОДЕ И УСТРОЙСТВО ДЛЯ ЕГО ОСУЩЕСТВЛЕНИЯ
(57) Реферат:
Изобретения относятся к технологии и технике ввода химреагента в поток жидкости в трубопроводе и могут быть использованы в нефтяной и других отраслях промышленности для интенсификации разделения жидкостей, например для отделения воды от нефти, для предотвращении отложений и коррозии в трубопроводах. В способе ввода химического реагента в поток жидкости в трубопроводе, при котором осуществляют перекачку жидкости по трубопроводу и ввод химического реагента в поток, в трубопроводе размещают зонд по диаметру трубопровода, через который осуществляют ввод химического реагента в поток трубопровода, при котором доля подаваемого химического реагента в трубопровод увеличивается от периферии к центру. В устройстве для реализации способа, включающем емкость для химического реагента, насос прокачки, вспомогательный трубопровод для прокачки химического реагента из емкости в трубопровод при помощи насоса, согласно изобретению в трубопроводе размещают зонд для ввода химического реагента в трубопровод с одним или несколькими отверстиями, которые выполнены из условия, чтобы доля подаваемого химического реагента в трубопровод увеличивалась от периферии к центру. 2 н. и 6 з.п. ф-лы, 1 ил., 1 табл.
Изобретение ввода химического реагента (далее химреагента) в поток жидкости в трубопроводе и устройство для его осуществления относятся к технологии и техники ввода химреагента в поток жидкости в трубопроводе и могут быть использованы в нефтяной и других отраслях промышленности для интенсификации разделения жидкостей, например для отделения воды от нефти, для предотвращении отложений и коррозии в трубопроводах.
Известен способ ввода химреагента в поток жидкости в трубопроводе, применяемый при обессоливании нефти, включающий перекачку жидкости по трубопроводу, ввод в него химреагента и компонента, составляющую дисперсную фазу в потоке жидкости в трубопроводе, разделение жидкости на фазы, раздельный отвод фаз [1].
Известно устройство ввода химреагента в поток жидкости в трубопроводе, применяемое при обессоливании нефти, включающее емкость для химического реагента, насос прокачки, вспомогательные трубопроводы ввода в трубопровод химического реагента и компонента, составляющую дисперсную фазу в потоке жидкости в трубопроводе, емкости для разделения жидкости на фазы, последовательно соединенные с трубопроводом [2].
Недостатки данных технологии и техники ввода химреагента в поток жидкости в трубопроводе – при вводе химреагента через вспомогательный трубопровод, соединенный с трубопроводом через патрубок ввода, обеспечивается интенсивное взаимодействие химреагента не с потоком в трубопроводе, а с поверхностью трубопровода. Как следствие, во-первых, наступает преждевременная коррозия металла, особенно на участках сварных швов и выход его из строя. Во-вторых, процесс взаимодействия химреагента с потоком трубопровода оказывается длительным и мало эффективным. Повышение эффективности при применении химреагента достигается его передозировкой.
Известен способ ввода химреагента в поток жидкости в трубопроводе, применяемый при разделении жидкости на фазы, включающий перекачку жидкости по трубопроводу, ввод химреагента через патрубок ввода, разделение жидкости на фазы, раздельный отвод фаз [3] (прототип способа)..
Известно устройство ввода химреагента в поток жидкости в трубопроводе, применяемое при разделении жидкости на фазы, включающее емкость для химического реагента, насос прокачки, вспомогательный трубопровод для прокачки химического реагента из емкости в трубопровод через патрубок ввода химреагента, смонтированный на трубопроводе, емкости для разделения жидкости на фазы, последовательно соединенные с трубопроводом [4] (прототип устройства).
Недостатки данных технологии и техники ввода химреагента в поток жидкости в трубопроводе – при вводе химреагента через вспомогательный трубопровод, соединенный с трубопроводом через патрубок ввода, обеспечивается интенсивное взаимодействие химреагента не с потоком в трубопроводе, а с поверхностью трубопровода. Как следствие, во-первых, наступает преждевременная коррозия металла, особенно на участках сварных швов и выход его из строя. Во-вторых, процесс взаимодействия химреагента с потоком трубопровода оказывается длительным и мало эффективным. Повышение эффективности при применении химреагента достигается его передозировкой.
Техническим результатом данного изобретения является уменьшение непосредственного контакта с поверхностью трубопровода, времени взаимодействия химреагента с потоком в трубопроводе, расхода химреагента, увеличение эффективности взаимодействия химреагента с потоком трубопровода.
Для достижения технического результата в способе ввода химреагента в поток жидкости в трубопроводе, при котором осуществляют перекачку жидкости по трубопроводу и ввод химреагента в поток через патрубок ввода, согласно изобретению в трубопроводе размещают зонд по диаметру трубопровода, через который осуществляют ввод химреагента в поток трубопровода, при котором доля подаваемого химреагента в трубопровод увеличивается от периферии к центру, ввод, который при этом насколько можно точно соответствовал бы требованию «ввод химреагента в поток трубопровода осуществляют одинаково-пропорционально расходу потока через каждую область, получаемую условным разбиением поперечного сечения трубопровода линиями, симметрично расположенными относительно зонда», выходные отверстия на зонде ориентируют так, чтобы они не были обращены навстречу к потоку (направление поступления химреагента из зонда в поток совпадало с направлением этого потока в трубопроводе или было перпендикулярно относительно набегающего на зонд потока трубопровода), при этом осуществляют перемешивание потока, которое начинают до ввода в него химреагента.
В заявляемом способе химреагент, в отличие от прототипа [3], подается по диаметру трубопровода через зонд, при котором доля подаваемого химреагента в трубопровод увеличивается от периферии к центру. При этом достигается оптимальный ввод химреагента через этот зонд в поток с точки зрения равномерности распределения химреагента в потоке трубопровода, если предварительно поперечное сечение трубопровода условно разбивают на области при помощи линий, симметрично расположенных относительно зонда, а ввод химреагента в поток трубопровода осуществляют одинаково-пропорционально расходу потока в каждой области. Указанная пропорциональность обеспечивает рациональное (оптимальное) распределение химреагента в потоке по уровням ввода, а значит, наиболее эффективное распределение химреагента в потоке под воздействием турбулентности потока. Осуществление перемешивания потока до ввода в него химреагента обеспечивает увеличение равномерного распределения дисперсной фазы поперечным и продольным сечением потока трубопровода и площади их контакта и, как следствие, более быстрое и эффективное взаимодействие химреагента на поверхность раздела фаз и с потоком. Это позволяет заявляемому способу уменьшить интенсивность взаимодействия химреагента со стенками трубопроводом, сократить время равномерного распределения химреагента в потоке трубопровода и тем самым увеличить время взаимодействия химреагента с потоком, и тем самым повысить эффективность воздействия химреагента на поток и сократить его расход и время для получения того же результата воздействия химреагента на поток, какой имеет место в прототипе [3]. Снижение расхода химреагента, уменьшение его контакта со стенкой трубопровода позволит продлить срок службы в трубопроводе по заявляемому способу в сравнении с прототипом [3]. Ориентация выходных отверстий на зонде из условия, чтобы химреагент через зонд в поток трубопровода поступал с обратной по направлению потока боковой стороны зонда или перпендикулярно относительно набегающего на зонд потока трубопровода, способствует сохранению проходимости выходных отверстий в процессе длительной реализации заявляемого способа, что способствует повышению технологичности заявляемого способа.
Таким образом, благодаря осуществлению перечисленных операций заявляемого способа обеспечивается уменьшение непосредственно контакта с поверхностью трубопровода, времени взаимодействия химреагента с потоком в трубопроводе, расхода химреагента.
Применение заявляемого способа позволит увеличить срок службы трубопровода, сократить расход химреагента, увеличить эффективность взаимодействия химреагента с потоком трубопровода.
Для достижения технического результата при реализации заявляемого способа используют устройство, которое включает емкость для химического реагента, насос прокачки, вспомогательный трубопровод для транспортировки (прокачки) химреагента из емкости в трубопровод при помощи насоса, согласно изобретению в трубопроводе размещают зонд для ввода химреагента в трубопровод с одним или несколькими отверстиями, которые выполнены из условия, чтобы доля подаваемого химреагента в трубопровод увеличивалась от периферии к центру и как можно более точно соответствовала бы требованию «ввод химреагента в поток трубопровода осуществляют одинаково-пропорционально расходу потока через каждую область, получаемую условным разбиением поперечного сечения трубопровода линиями, симметрично расположенными относительно зонда», при этом отверстия в зонде выполняются на боковой поверхности так, чтобы они не были обращены навстречу к потоку, а также используется смеситель, который установлен на трубопроводе перед зондом по ходу потока.
В заявляемом устройстве, согласно изобретению, в трубопроводе размещают зонд с одним или несколькими отверстиями для ввода химреагента в поток в трубопроводе, которые выполнены из условия, чтобы доля подаваемого химреагента в трубопровод увеличивалась от периферии к центру. При этом при помощи заявляемого устройства достигается оптимальный ввод химреагента в поток с точки зрения равномерности распределения химреагента в потоке трубопровода, если предварительно поперечное сечение трубопровода условно разбивают на области при помощи линий, симметрично расположенных относительно зонда, а отверстия в зонде выполняют из условия ввода химреагента в поток трубопровода одинаково-пропорционально расходу потока в каждой области. Указанная пропорциональность обеспечивает рациональное (оптимальное) распределение химреагента в потоке по уровням ввода, а значит, наиболее эффективное распределение химреагента в потоке под воздействием турбулентности потока. Применение в заявляемом устройстве смесителя обеспечивает увеличение равномерного распределения дисперсной фазы поперечным и продольным сечением потока трубопровода и площади их контакта и, как следствие, более быстрое и эффективное взаимодействие химреагента на поверхность раздела фаз и с потоком. Это позволяет при использовании заявляемого устройства уменьшить интенсивность взаимодействия химреагента с потоком трубопровода, сократить время равномерного распределения химреагента в потоке трубопровода и тем самым увеличить время взаимодействия химреагента с потоком, и тем самым повысить эффективность воздействия химреагента на поток и сократить его расход и время для получения того же результата воздействия химреагента на поток, который имеет место при применении прототипа [4]. Снижение расхода химреагента, уменьшение его контакта со стенкой трубопровода позволит продлить срок службы в трубопроводе по заявляемому устройству в сравнении с прототипом [4]. Ориентация выходных отверстий на зонде из условия, чтобы химреагент через зонд в поток трубопровода поступал с обратной стороны или перпендикулярно относительно набегающего на зонд потока трубопровода, способствует сохранению проходимости выходных отверстий в процессе длительной эксплуатации заявляемого устройства.
Таким образом, благодаря выполнению выходного отверстия из указанных условий и использованию смесителя обеспечивается более высокая эффективность воздействия химреагента с потоком трубопровода, получаемая заявляемым устройством, нежели при помощи прототипа [4].
Заявляемые способ ввода химреагента в трубопровод и устройство для его осуществления могут конкретно применяться на нефтепромыслах – в системе сбора и подготовки нефти (отделения от нефти воды), а также при защите трубопроводов от коррозии.
Заявляемый способ ввода химреагента в поток жидкости в трубопроводе осуществляется следующим образом.
В трубопроводе, по которому под избыточным давлением транспортируют жидкость, размещая пропорционально расходу потока на каждом уровне ввода, поток в трубопроводе предварительно подвергают перемешиванию.
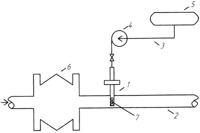
На чертеже представлен один из вариантов заявляемого устройства ввода химреагента в поток трубопровода.
Устройство включает зонд 1 с заглушенным торцом, установленный на трубопроводе 2 по диаметру трубопровода 2, соединенным с трубопроводом 2 при помощи вспомогательного трубопровода 3, насос 4, установленный на вспомогательном трубопроводе 3, емкость 5 для химреагента, последовательно соединенную при помощи вспомогательного трубопровода 3 с насосом 4 и зондом 1 на трубопроводе 2, по ходу потока в трубопроводе 2, смеситель 6. Зонд 1 имел на боковой поверхности отверстия 7 для ввода химреагента в поток трубопровода 2 пропорционально расходу потока на уровнях вывода химреагента из зонда 1 и ориентированы с противоположной стороны набегающего на зонд 1 потока трубопровода 2.
Назначение элементов 1-6 устройства при его работе:
зонд 1 предназначен для ввода химреагента в поток жидкости в трубопроводе 2; трубопровод 2 – для транспортировки жидкости; вспомогательный трубопровод 3 – для транспортировки химреагента из емкости 5 при помощи насоса 4 к зонду 1; емкость 5 – для хранения химреагента, смеситель 6 предназначен для повышения однородности потока. Отверстия 7 на боковой поверхности зонда 1 предназначены для ввода химреагента в поток трубопровода 2 пропорционально расходу потока на уровнях вывода химреагента из зонда 1.
По трубопроводу 2 под избыточным давлением транспортируют жидкость, предварительно жидкость в трубопроводе 2 подвергают перемешиванию при прокачке жидкости по трубопроводу 2 и смесителю 6, после прохождения смесителя 6 дисперсная фаза равномерно распределяется в потоке жидкости, непосредственно после смесителя 6 по ходу потока, а в трубопроводе 2 в него подают через зонд 1 химреагент, при помощи насоса 4 из емкости 5 химреагент в трубопроводе подается к зонду 1, пропорционально расходу потока на каждом уровне ввода химреагентов через отверстия 7 на боковой стенки зонда 1 этим обеспечивается рациональность распределения химреагента в потоке по трубопроводу 2. Под воздействием турбулентности потока, создаваемой при помощи смесителя 6 и транспортировки жидкости за смесителем 6 по трубопроводу 2, обеспечивается быстрое перемешивание химреагента с потоком трубопровода 2. После распределения химреагента в трубопроводе 2 поток направляется в отстойную емкость для разделения его на фазы и раздельный вывод этих фаз из емкости.
Для сравнительных испытаний заявляемых и прототипов способа и устройства были изготовлены образцы: четыре образца зонда 1 заявляемого устройства были изготовлены по техническому условию ТУ 3667-005-33883316-02, смеситель 6 – по ТУ 3667-003-33883316-02 (разработчик указанных ТУ – ООО «Булгар-Метротех», г.Казань); площадь выходного отверстия зонда 1 составляла 177 мм2, и оно было изготовлено в соответствие с патентом [5], в котором приведена методика условного разделения поперечного сечения на области, в которые заявляемое устройство дозирует (вводит) химреагент. Условное разделение поперечного сечения трубопровода 2 было произведено тремя равноотстоящими хордами, перпендикулярными зонду и разделяющими поперечное сечение трубопровода на четыре области одинаковой высоты. Плотность выходных отверстий 7 на зонде 1 изменялась – к центру трубопровода 2 она увеличивалась, в соответствии с колонкой 2 таблицы.
Устройство-прототип [4] представляло собой патрубок диаметром 50 мм и высотой 100 мм.
Параметры трубопровода и потока были следующими: жидкость в трубопроводе 2 представляла собой сырую нефть, содержание воды в нефти изменялось (см. таблицу), диаметр трубопровода 2 составлял Ду 150 мм. Фактический расход сырой нефти отражен в таблице. Время разделения сырой нефти составляло 30 мин, расстояние по ходу потока в трубопроводе 2 от зонда 1 до разделительной емкости (отстойника) составляло около 50 м.
Результаты сравнительных испытаний сведены в таблицу. В качестве химреагента применялся деэмульгатор «Сепарол WF-41».
Результаты эксперемнта показывают, что отделение воды от нефти в отстойнике при вводе в поток химреагента в трубопровод 2 через зонд 1 по заявляемому способу с применением устройства более полное, нежели для прототипа технологии [1-2]. Расход химреагента при этом был тем ниже, чем больше расход вводимого химреагента на уровнях ввода в трубопровод соответствовал одинаково-пропорциональному расходу потока на уровнях ввода: в четырех сериях экспериментов (первая – эксперименты 1,1-1.3, вторая – 2.1-2.3, третья – 3.1-3.3, четвертая – 4.1-4.4) расход химреагента минимальный для заявляемого способа, когда выходные отверстия в зонде 1 выполнены из условия одинаково-пропорционального расхода по уровням ввода химреагента, и расход химреагента тем больше, чем больше имеет место отклонение от одинаково-пропорционального ввода химреагента (колонка 2 таблицы). Кроме того, эксплуатация заявляемого устройства в течение квартала эксплуатации показала, что выходные отверстия 7 на зонде 1 для ввода химреагента в поток трубопровода 2, выполненные на боковой поверхности зонда 1 со стороны, с которой направление подаваемого потока химреагента совпадает с направлением движения потока или перпендикулярно к нему, оставались чистыми в период квартала эксплуатации их устройства, что говорит о соответствии полученных результатов экспериментов заявляемым технологии и технике.
Таким образом, проведенные испытания подтверждают необходимость осуществления ввода химреагента в поток по заявляемому способу при реализации его на заявляемом устройстве.
Заявляемый способ ввода химического реагента в поток жидкости в трубопроводе и устройство для его осуществления промышленно применимы – для реализации способа требуется устройство, которое может быть изготовлено силами работников, эксплуатирующих трубопроводы, из узлов и деталей, выпускаемых отечественной промышленностью.
| Таблица |
| № эксперимента |
Расчетное отклонение от одинаково-пропорционального отбора на уровнях вывода химреагента через зонд 1, % |
Средний расход жидкости в трубопроводе 2 за квартал, м3/час |
Среднее значение воды в нефти за квартал, об.% |
Расход химреагента «Сепарола WF-41», грамм на тонну |
Остаточное содержание воды в нефти, за 30 мин. отстоя, об.% |
| заявляемый |
прототип |
заявляемый |
прототип |
| 1.1 |
0 |
90,3 |
10,2 |
15 |
27 |
0,8 |
1,2 |
| 1.2 |
0 |
120,2 |
15,4 |
-«- |
-«- |
0,7 |
1,5 |
| 1.3 |
0 |
70,4 |
9,2 |
-«- |
-«- |
0,9 |
1,5 |
| 2.1 |
10 |
86,4 |
8,9 |
18 |
-«- |
1,1 |
1,4 |
| 2.2 |
10 |
87,7 |
9,3 |
-«- |
-«- |
1,3 |
1,5 |
| 2.3 |
10 |
114,0 |
11,7 |
-«- |
-«- |
0,9 |
1,3 |
| 3.1 |
20 |
88,8 |
10,4 |
22 |
-«- |
1,3 |
1,6 |
| 3.2 |
20 |
91,6 |
9,7 |
-«- |
-«- |
1,1 |
1,4 |
| 3.3 |
20 |
99,3 |
12,1 |
-«- |
-«- |
1,0 |
1,3 |
| 4.1 |
40 |
120,4 |
8,9 |
25 |
-«- |
1,0 |
1,2 |
| 4.2 |
40 |
93,2 |
10,6 |
-«- |
-«- |
1,3 |
1,3 |
| 4.3 |
40 |
77,4 |
11,7 |
-«- |
-«- |
1,5 |
1,6 |
ИСТОЧНИКИ ИНФОРМАЦИИ
1. Способ ввода химреагента в поток жидкости трубопровода. В.П.Тронов. Промысловая подготовка нефти. М.: Недра, 1977 г., стр.15, рис.2.
2. Устройство ввода химреагента в поток жидкости в трубопроводе. В.П.Тронов. Промысловая подготовка нефти. М.: Недра, 1977 г., стр.15, рис.2.
3. Способ ввода химреагента в поток жидкости в трубопровод. В.П.Тронов. Промысловая подготовка нефти. М.: Недра, 1977 г., стр.14, рис.1a).
4. Устройство ввода химреагента в поток жидкости в трубопроводе. В.П.Тронов. Промысловая подготовка нефти. М.: Недра, 1977 г., стр.14, рис.1a).
5. Патент на изобретение №2144179 “Способ отбора проб жидкости из трубопровода и устройство для его осуществления”, МПК G01N 1/10, 1999 г.
Формула изобретения
1. Способ ввода химического реагента в поток жидкости в трубопроводе, при котором осуществляют перекачку жидкости по трубопроводу и ввод химреагента в поток, отличающийся тем, что в трубопроводе размещают зонд по диаметру трубопровода, через который осуществляют ввод химреагента в поток трубопровода, при котором доля подаваемого химреагента в трубопровод увеличивается от периферии к центру.
2. Способ по п.1, отличающийся тем, что поперечное сечение трубопровода условно разбивают на области линиями, симметрично расположенными относительно зонда, и ввод химического реагента в поток жидкости в трубопроводе осуществляют одинаково-пропорционально расходу потока через каждую условно полученную область.
3. Способ по п.1, отличающийся тем, что выходные отверстия на зонде ориентируют так, чтобы они не были обращены навстречу к потоку.
4. Способ по п.1, отличающийся тем, что поток жидкости в трубопроводе перемешивают, при этом перемешивание потока начинают до ввода в него химреагента.
5. Устройство ввода химического реагента в поток жидкости в трубопроводе, которое включает емкость для химического реагента, насос прокачки, вспомогательный трубопровод для прокачки химического реагента из емкости в поток жидкости в трубопроводе при помощи насоса, отличающееся тем, что в трубопроводе размещают зонд для ввода химического реагента в поток жидкости в трубопроводе с одним или несколькими отверстиями, которые выполнены из условия, чтобы доля подаваемого химического реагента в трубопровод увеличивалась от периферии к центру.
6. Устройство по п.5, отличающееся тем, что отверстия в зонде выполнены из требования, чтобы ввод химического реагента в поток жидкости в трубопроводе осуществлялся одинаково-пропорционально расходу потока через каждую область, получаемую условным разбиением поперечного сечения трубопровода линиями, симметрично расположенными относительно зонда.
7. Устройство по п.5, отличающееся тем, что отверстия в зонде выполняются на боковой поверхности так, чтобы не были обращены к потоку.
8. Устройство по п.5, отличающееся тем, что смеситель установлен на трубопроводе перед зондом по ходу потока.
РИСУНКИ
|
|