|
|
(21), (22) Заявка: 2006131729/06, 05.09.2006
(24) Дата начала отсчета срока действия патента:
05.09.2006
(46) Опубликовано: 20.10.2007
(56) Список документов, цитированных в отчете о поиске:
RU 2162184 C1, 20.01.2001. RU 2043554 C1, 10.09.1995. EP 0617220 A1, 28.09.1994. SU 1386041 A3, 30.03.1988. RU 2016338 C1, 15.07.1994.
Адрес для переписки:
109451, Москва, Перервенский б-р, 7, корп.2, кв.40, А.Л. Чахееву
|
(72) Автор(ы):
Чахеев Сергей Леонидович (RU), Чахеев Андрей Леонидович (RU)
(73) Патентообладатель(и):
Общество с ограниченной ответственностью “Производственно-коммерческая фирма Малый Сок” (RU)
|
(54) СПОСОБ СОЕДИНЕНИЯ ТРУБ С ЗАЩИТНЫМ ПОКРЫТИЕМ
(57) Реферат:
Изобретение относится к строительству трубопроводного транспорта из труб с внутренним защитным покрытием и может быть использовано при строительстве и ремонте трубопроводов, транспортирующих химически агрессивные жидкости и газы. Собирают соединяемые трубы на герметизирующей цилиндрической втулке, устанавливают на стык труб с внешней стороны обжимную цилиндрическую муфту с последующим редуцированием муфты. Предварительно на внешней поверхности герметизирующей цилиндрической втулки выполняют проточку с образованием «выступов». В центре проточки устанавливают кольцо с выступом, наружный диаметр которого больше внутреннего диаметра соединяемых труб и меньше их наружного диаметра на величину не менее величины редуцирования. Герметизирующий материал размещают на внешней поверхности герметизирующей цилиндрической втулки. На поверхности выступов втулки в канавках размещают резиновые уплотнительные кольца. На внутренней поверхности обжимной цилиндрической муфты выполняют проточки с образованием между ними в центральной части муфты выступа. Выступы и впадины втулки и муфты обеспечивают получение замка в соединенияых концах труб. Повышает надежность неразъемного соединения труб. 1 ил.
Изобретение относится к способам неразъемного муфтового соединения труб с внутренним защитным покрытием и может быть использовано при строительстве и ремонте трубопроводов, транспортирующих химически агрессивные жидкости и газы.
Известен способ соединения труб для транспортировки агрессивных жидкостей, согласно которому производят насадку металлических труб с внутренним покрытием на герметизирующую цилиндрическую втулку, имеющую выступы на наружной поверхности и заполненную герметиком канавку посередине. На стык труб с внешней стороны устанавливают обжимную цилиндрическую муфту с, по крайней мере, одной кольцевой проточкой цилиндрической формы на наружной поверхности и заходным радиусом на стороне проточки. Располагают боковые стороны муфты по разные стороны от стыка заходным радиусом к редуцирующему органу. Редуцирование муфты ведут от одного торца муфты к другому до придания внешней поверхности муфты цилиндрической формы. Обжимная цилиндрическая муфта может иметь на внутренней поверхности резьбу и/или проточки (Патент РФ №2162183, кл. F16L 13/14, опубл. 2001.01.20).
Известный способ не позволяет создать надежного прочного соединения вследствие образования при редуцировании недостаточно прочного механического замка муфты, труб и втулки.
Наиболее близким к предложенному изобретению по технической сущности является способ соединения труб для транспортировки агрессивных жидкостей, согласно которому при соединении труб производят насадку металлических труб с внутренним покрытием на герметизирующую цилиндрическую втулку, установку на стык труб с внешней стороны обжимной цилиндрической муфты с расположением боковых сторон муфты по разные стороны от стыка, последующее редуцирование муфты от одного торца муфты к другому. На наружной поверхности герметизирующей цилиндрической втулки выполняют выступы и канавку (проточку) посередине, а на внутренней поверхности обжимной цилиндрической муфты выполняют резьбу и/или проточки. Перед насадкой труб на герметизирующую втулку в ее канавке размещают герметизирующий материал, а канавку (проточку) при сборке располагают на месте стыка металлических труб (Патент РФ 2162184, кл. F16L 13/14, опубл. 2001.01.20 – прототип).
Известный способ приводит к соединению с большей надежностью, однако образующийся при редуцировании механический замок муфты, труб и втулки остается недостаточно прочным. Кроме того, при редуцировании нарушается целостность внутреннего покрытия соединяемых труб.
В предложенном изобретении решается задача повышения надежности неразъемного муфтового соединения труб с внутренним покрытием, сохранения целостности покрытий на соединяемых трубах и герметизирующей цилиндрической втулке.
Задача решается тем, что в способе соединения труб с защитным покрытием, включающем насадку металлических труб с защитным покрытием на герметизирующую цилиндрическую втулку, имеющую на внешней поверхности выступы, проточку и герметизирующий материал, установку на стык труб с внешней стороны обжимной цилиндрической муфты, имеющей на внутренней поверхности резьбу, проточки и выступ, с расположением торцов муфты по разные стороны от стыка труб, последующее редуцирование муфты, согласно изобретению, на внешней поверхности герметизирующей цилиндрической втулки проточку выполняют в центре между выступами, в центре проточки выполняют выступ в виде кольца с наружным диаметром более внутреннего диаметра соединяемых труб и менее наружного диаметра соединяемых труб на величину не менее величины редуцирования, герметизирующий материал размещают на внешней поверхности герметизирующей цилиндрической втулки, прочую поверхность герметизирующей цилиндрической втулки покрывают защитным покрытием, на поверхности выступов в канавках размещают резиновые уплотнительные кольца, на внутренней поверхности обжимной цилиндрической муфты выступ выполняют в центре между проточками, выступ выполняют с высотой, равной глубине проточки на внешней поверхности герметизирующей цилиндрической втулки, и шириной, меньшей ширины проточки на внешней поверхности герметизирующей цилиндрической втулки на величину, равную удвоенной толщине стенки соединяемой трубы, резьбу выполняют в проточках, проточки выполняют по краям с глубиной, равной высоте выступов герметизирующей цилиндрической втулки, и шириной, большей ширины выступов герметизирующей цилиндрической втулки на величину, равную удвоенной толщине стенки соединяемой трубы, при сборке соединения на трубу надевают обжимную цилиндрическую муфту на всю длину, вставляют в трубу герметизирующую цилиндрическую втулку до ограничительного кольца, вторую соединяемую трубу насаживают на герметизирующую цилиндрическую втулку до ограничительного кольца, обжимную цилиндрическую муфту надвигают на стык и центрируют по предварительно выставленным меткам, после чего проводят редуцирование с образованием замкового соединения между выступами и проточками обжимной цилиндрической муфты, труб и внутреннего покрытия соединяемых труб и герметизирующей цилиндрической втулки.
Сущность изобретения
При соединении металлических труб с внутренним покрытием важным моментом является прочность, надежность и герметичность неразъемного муфтового соединения труб с внутренним покрытием. Существующие способы соединения таких труб недостаточно прочны и надежны. В изобретении решается задача повышения прочности, надежности и герметичности соединения за счет равномерного распределения нагрузок между обжимной цилиндрической муфтой, трубами и герметизирующей цилиндрической втулкой и сохранения целостности покрытий на соединяемых трубах и герметизирующей цилиндрической втулке. Задача решается следующей совокупностью действий.
При соединении труб производят насадку металлических труб с внутренним покрытием на герметизирующую цилиндрическую втулку, установку на стык труб с внешней стороны обжимной цилиндрической муфты с расположением торцов муфты по разные стороны от стыка труб и редуцирование муфты.
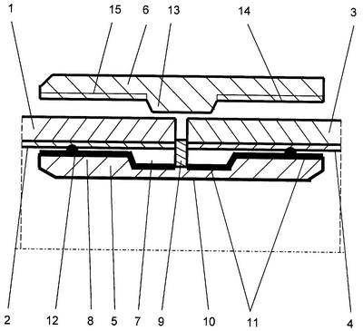
Соединение труб представлено на чертеже
Соединение состоит из трубы 1 с внутренним защитным покрытием 2, трубы 3 с внутренним защитным покрытием 4, герметизирующей цилиндрической втулки 5 и обжимной цилиндрической муфты 6.
На внешней поверхности герметизирующей цилиндрической втулки 5 выполнена проточка 7 в центре между выступами 8. В центре проточки 7 выполнен выступ 9 в виде кольца с наружным диаметром более внутреннего диаметра соединяемых труб 1 или 3 и менее наружного диаметра соединяемых труб 1 или 3 на величину не менее величины редуцирования. Герметизирующая цилиндрическая втулка 5 покрыта защитным покрытием 10, например, лакокрасочным, металлическим типа оцинковки и т.п. На внешней поверхности герметизирующей цилиндрической втулки 5 размещен герметизирующий материал 11. На поверхности выступов 8 размещены в канавках резиновые уплотнительные кольца 12.
На внутренней поверхности обжимной цилиндрической муфты 6 выступ 13 выполнен в центре между проточками 14. Выступ 13 выполнен с высотой, равной глубине проточки 7 на внешней поверхности герметизирующей цилиндрической втулки 5, и шириной, меньшей ширины проточки 7 на внешней поверхности герметизирующей цилиндрической втулки 5 на величину, равную удвоенной толщине стенки соединяемой трубы 1 или 3. Проточки 14 выполняют по краям с глубиной, равной высоте выступов 8 герметизирующей цилиндрической втулки 5, и шириной, большей ширины выступов 8 герметизирующей цилиндрической втулки 5 на величину, равную удвоенной толщине стенки соединяемой трубы 1 или 3. На поверхности проточек 14 выполнена резьба 15.
При сборке соединения на трубу 1 или 3 надевают обжимную цилиндрическую муфту 6 на всю длину, вставляют в трубу 1 или 3 герметизирующую цилиндрическую втулку 5 до ограничительного кольца 9. Вторую соединяемую трубу 3 или 1 насаживают на герметизирующую цилиндрическую втулку 5 до ограничительного кольца 10. Обжимную цилиндрическую муфту 6 надвигают на стык и центрируют по предварительно выставленным меткам (не показаны), после чего проводят редуцирование с образованием замкового соединения между выступом 13 и проточкой 7 и выступами 8 и проточками 14 обжимной цилиндрической муфтой 5, трубами 1 и 3 с внутренними покрытиями 2 и 4 и герметизирующей цилиндрической втулкой 5.
Пример конкретного выполнения
Металлические трубы 1 и 3 выполнены из стали, имеют наружный диаметр 76 мм, толщину стенки 5 мм. Внутреннее полиэтиленовое покрытие 2 и 4 выполнено из полиэтилена низкой плотности с толщиной стенки 1 мм. Герметизирующая цилиндрическая втулка 5 с наружным диаметром 62 мм выполнена из стали и покрыта лакокрасочным эпоксидным покрытием 10. Обжимная цилиндрическая муфта 6 выполнена из стальной трубы с внутренним диаметром 76,5 мм.
На внешней поверхности герметизирующей цилиндрической втулки 5 выполнена проточка 7 глубиной 3 мм и шириной 40 мм в центре между выступами 8, имеющими ширину 30 мм каждый. В центре проточки 7 выполнен выступ 9 в виде кольца с наружным диаметром 68 мм. Герметизирующая цилиндрическая втулка 5 покрыта защитным лакокрасочным эпоксидным покрытием 10. На внешней поверхности герметизирующей цилиндрической втулки 5 размещен герметизирующий материал 11. На поверхности выступов 8 размещены в канавках резиновые уплотнительные кольца 12.
На внутренней поверхности обжимной цилиндрической муфты 6 выступ 13 выполнен глубиной 3 мм и шириной 30 мм в центре между проточками 14 шириной 40 мм каждая. На поверхности проточек 14 выполнена метрическая резьба 15.
При сборке соединения на трубу 1 надевают обжимную цилиндрическую муфту 6 на всю длину, вставляют в трубу 1 герметизирующую цилиндрическую втулку 5 до ограничительного кольца 10. Вторую соединяемую трубу 3 насаживают на герметизирующую цилиндрическую втулку 5 до ограничительного кольца 10. Обжимную цилиндрическую муфту 6 надвигают на стык и центрируют по предварительно выставленным меткам (не показаны), после чего проводят редуцирование с уменьшением диаметра обжимной цилиндрической муфты 6 на 8 мм с образованием замкового соединения между выступом 13 и проточкой 7 и выступами 8 и проточками 14 обжимной цилиндрической муфтой 5, трубами 1 и 3 с внутренними покрытиями 2 и 4 и герметизирующей цилиндрической втулкой 5.
Испытания смонтированного трубопровода показали, что трубопровод выдерживает нагрузку при изгибе без потери герметичности порядка 1,4 т, в то время как трубопровод по прототипу выдерживает не более 0,7 т. Вскрытие стыка установило целостность покрытий 2 и 4 на соединяемых трубах 1 и 3 и покрытия 10 на герметизирующей цилиндрической втулке 5. Конструкция отличается простотой выполнения элементов и легкостью монтажа и позволяет использовать трубопровод для транспортировки агрессивных жидкостей.
Применение предложенного способа позволит повысить прочность, надежность и герметичность соединения.
Формула изобретения
Способ соединения труб с защитным покрытием, заключающийся в сборке труб на герметизирующей цилиндрической втулке, имеющей на внешней поверхности проточку и герметизирующий материал, установке на стык труб с внешней стороны, имеющей на внутренней поверхности выступ и проточки с резьбой обжимной цилиндрической муфты с расположением ее торцов по разные стороны от стыка труб и последующем редуцировании муфты, отличающийся тем, что на трубу надевают обжимную цилиндрическую муфту на всю ее длину, покрытую защитным покрытием герметизирующую цилиндрическую втулку с выступом в виде кольца вставляют в трубу до последнего, вторую соединяемую трубу насаживают на герметизирующую цилиндрическую втулку до выступа в виде кольца, обжимную цилиндрическую муфту надвигают на стык и центрируют по предварительно выставленным меткам, после чего проводят редуцирование с образованием замкового соединения между выступами и проточками обжимной цилиндрической муфты, труб с внутренним покрытием и герметизирующей цилиндрической втулки, при этом выступ в виде кольца с наружным диаметром более внутреннего диаметра соединяемых труб и менее наружного диаметра соединяемых труб на величину не менее величины редуцирования выполнен в центре проточки, выполненной в центре втулки, на выступах втулки в канавках размещают резиновые уплотнительные кольца, на внутренней поверхности обжимной цилиндрической муфты по ее краям выполнены проточки с выступом в центре между проточками, глубина которых равна высоте выступов цилиндрической герметизирующей втулки, а ширина больше ширины выступов цилиндрической герметизирующей втулки на величину, равную удвоенной толщине стенки соединяемой трубы, высота выступа на внутренней поверхности муфты равна глубине проточки втулки, а ширина выступа меньше ширины проточки втулки на величину, равную удвоенной толщине стенки соединяемой трубы.
РИСУНКИ
|
|