|
(21), (22) Заявка: 2005138131/06, 08.12.2005
(24) Дата начала отсчета срока действия патента:
08.12.2005
(43) Дата публикации заявки: 20.06.2007
(46) Опубликовано: 20.10.2007
(56) Список документов, цитированных в отчете о поиске:
RU 2124668 C1, 10.01.1999. RU 2253790 C1, 10.06.2005. SU 1099172 А, 23.06.1984. SU 556273 А, 12.05.1977. SU 564483 A, 22.08.1977. GB 2285667 A, 19.07.1995.
Адрес для переписки:
117218, Москва, ул. Кржижановского, 19/28, ООО “Газпромэнергодиагностика”
|
(72) Автор(ы):
Власов Сергей Викторович (RU), Губанок Иван Иванович (RU), Дудов Александр Николаевич (RU), Егурцов Сергей Алексеевич (RU), Пиксайкин Роман Владимирович (RU), Сеченов Владимир Сергеевич (RU), Сидорочев Михаил Евгеньевич (RU), Степаненко Александр Иванович (RU), Харионовский Владимир Васильевич (RU), Хороших Андрей Валентинович (RU)
(73) Патентообладатель(и):
Общество с ограниченной ответственностью “Газпромэнергодиагностика” (RU)
|
(54) РЕГУЛИРУЕМАЯ ОПОРА ТРУБОПРОВОДА
(57) Реферат:
Изобретение относится к трубопроводному транспорту и может быть использовано в качестве регулируемой опоры при строительстве трубопровода в условиях вечной мерзлоты. Расположенный на основании опоры ложемент трубопровода установлен на регулировочном силоизмерительном элементе, соединенном выходом с регистратором. Силоизмерительный (регулировочный) элемент выполнен в виде сильфона, гидравлически связанного с нагнетателем рабочей среды, а в качестве регистратора используется измеритель давления, гидравлически связанный с сильфоном. Сильфон способен воспринимать значительные перемещения под действием давления или осевой силы, и опора обладает более широким диапазоном регулирования вертикального положения трубопровода в условиях нестабильных внешних условий. 7 з.п. ф-лы, 3 ил.
Изобретение относится к транспортировке газа и нефти и может быть использовано в качестве регулируемой опоры при строительстве трубопроводов в условиях вечной мерзлоты.
Известны регулируемые опоры трубопровода, содержащие расположенный на основании ложемент трубопровода, установленный на силоизмерительном элементе, соединенном выходом с регистратором, и регулировочный элемент (Патент РФ №2253790, кл. F16L 3/16, 2005; Патент РФ №2124668, кл. F16L 3/205, 1999).
Последнее техническое решение принято за прототип.
В аналоге в качестве силоизмерительного элемента используются силоизмерительные датчики с полусферическими головками, в качестве регулировочного элемента – регулировочные башмаки, а в качестве регистратора – измеритель напряжения.
В прототипе в качестве силоизмерительного элемента используются пружины, прокалиброванные по усилию, в качестве регулировочного элемента – промежуточная платформа, а в качестве регистратора – планка с визиром.
Недостатком аналога и прототипа является узкий рабочий диапазон регулирования вертикального положения опоры в условиях нестабильных внешних условий.
Техническим эффектом, получаемым от внедрения изобретения, является расширение рабочего диапазона регулирования вертикального положения опоры в сторону больших перемещений опоры в условиях нестабильных внешних условий.
Данный технический результат достигают за счет того, что в известной регулируемой опоре, содержащей расположенный на основании опоры ложемент трубопровода, установленный на силоизмерительном элементе, соединенном выходом с регистратором, регулировочный элемент и сваю, в качестве силоизмерительного и регулировочного элементов используется сильфон, гидравлически связанный с нагнетателем рабочей среды, а в качестве регистратора используется измеритель давления, гидравлически связанный с сильфоном.
Опора дополнительно содержит ограничители поперечного смещения сильфона, выполненные, например, в виде соосных с сильфоном цилиндрических направляющей и корпуса.
Измеритель давления опоры выполнен с электрическим выходом.
Опора дополнительно содержит систему автоматического регулирования (CAP) давления с обратной связью, вход которой связан с выходом измерителя давления, а выход – с управляемым входом нагнетателя рабочей среды.
Опора может дополнительно содержать блок пересчета значения давления рабочей среды в значение силы реакции опоры, выполненный в виде микропроцессора, подключенного к электрическому выходу измерителя давления.
Опора может также дополнительно содержать два патрубка с кранами, соединяющими соответственно трубопровод с сильфоном, а сильфон с атмосферой.
Регулируемая опора может также дополнительно содержать штуцер для стравливания воздуха, связанный с верхней частью сильфона, при этом нагнетатель рабочей среды и измеритель давления гидравлически связаны с нижней частью сильфона.
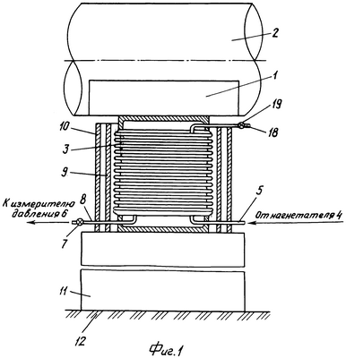
Изобретение поясняется чертежами.
На фиг.1 представлена схема регулируемой опоры трубопровода; на фиг.2 – схема опоры с обратной связью; на фиг.3 – схема опоры, в которой трубопровод гидравлически соединен с сильфоном.
Опора содержит (фиг.1) расположенный на основании опоры ложемент 1 трубопровода 2, установленный на силоизмерительном элементе, выполненном в виде сильфона 3, гидравлически связанном с нагнетателем 4 (фиг.2) рабочей среды посредствам штуцера 5.
Имеется также измеритель 6 давления, выполненный в виде манометра с электрическим выходом, гидравлически связанный через кран 7 штуцером 8 с сильфоном 3.
Опора содержит ограничители поперечного смещения гофр сильфона 3.
Ограничители поперечного смещения гофр сильфона 3 выполнены в виде соосных с сильфоном 3 цилиндрических направляющей 9 и корпуса 10, внутри которого расположены направляющая 9 и сильфон 3.
Вся конструкция опоры закреплена, как в прототипе, на свае 11, заделанной в грунт 12.
Имеется также CAP 13 давления с обратной связью (фиг.2), вход которой связан с выходом измерителя 6 давления, а выход – с управляемым входом нагнетателя 4 рабочей среды.
Опора дополнительно содержит блок пересчета значения давления рабочей среды в значение силы реакции опоры, выполненный в виде микропроцессора, подключенного к электрическому выходу измерителя 6 давления (на чертеже не показаны).
Опора дополнительно содержит патрубки 14, 15 с кранами 16, 17 (фиг.3), соединяющими соответственно трубопровод 2 с сильфоном 3, а сильфон 3 с атмосферой.
Опора может дополнительно содержать штуцер 18 с краном 19 для стравливания воздуха из верхней части сильфона 3 (фиг.1).
Регулируемая опора работаем следующим образом.
При изменении климатических условий может произойти вертикальная подвижка сваи 12 опоры, что приведет к изменению силового взаимодействия трубопровода 2 с опорой.
При этом давление трубопровода 2 на сильфон 3 изменится и измеритель 6 давления зарегистрирует сигнал, пропорциональный силовому взаимодействию трубопровода 2 с сильфоном 3.
Наличие ограничителя поперечного смещения гофр сильфона 3 в виде направляющей 9 и корпуса 10 не позволяет испытывать сильфону 3 поперечные деформации.
Начальное давление рабочей среды в сильфоне 3, задаваемое нагнетателем рабочей среды через штуцер 5, выбирается исходя из силовой нагрузки трубопровода 2 на опору и рабочего диапазона сильфона 3.
При нагнетании рабочей среды в сильфон 3 сжатый в верхней части сильфона 3 воздух стравливается в атмосферу.
При выполнении измерителя 6 давления с электрическим выходом выходной сигнал измерителя 6 давления пересчитывается в блоке пересчета (на чертеже не показан) в значение силы реакции опоры, используемом в дальнейшем для расчета оптимального силового взаимодействия всех контролируемых опор с трубопроводом 2.
Наличие CAP 13 с обратной связью (фиг.2) позволяет автоматически поддерживать рабочее состояние опоры. В этом случае на нагнетатель 4 рабочей среды от CAP 13 направляется соответствующий сигнал, под действием которого нагнетатель 4 рабочей среды поддерживает в сильфоне 3 давление, необходимое для восстановления высоты опоры до ее штатного значения.
Если нагнетатель 4 рабочей среды выйдет из строя, то пользуется резервный вариант нагнетания рабочей среды в сильфон 3.
Непосредственно из трубопровода 2 через патрубок 14 с помощью регулировочного крана 16 в сильфон 3 нагнетается транспортируемая по трубопроводу 2 среда (т.е. в качестве рабочей среды используется транспортируемый по трубопроводу 2 продукт).
При этом излишнее давление транспортируемой среды из сильфона 3 стравливается через патрубок 15 с помощью крана 17 в атмосферу (при закрытом кране 16).
Как известно («Приборостроение и средства автоматики», том 2 «Конструкции и расчет приборов», кн.1 под ред. С.С.Щедровицкого. М.: Машиностроение, 1964, с.199), сильфон способен получать значительные перемещения под действием давления или осевой силы в отличие от других силовых элементов. Это позволяет достичь поставленный технический результат.
Формула изобретения
1. Регулируемая опора трубопровода, содержащая ложемент, установленный на силоизмерительном элементе, соединенном выходом с регистратором, регулировочный элемент и сваю, отличающаяся тем, что в качестве силоизмерительного и регулировочного элементов используется сильфон, гидравлически связанный с нагнетателем рабочей среды, а в качестве регистратора используется измеритель давления, гидравлически связанный с сильфоном.
2. Регулируемая опора по п.1, отличающаяся тем, что дополнительно содержит ограничитель поперечного смещения гофр сильфона, выполненный в виде соосных с сильфоном цилиндрических направляющей и корпуса.
3. Регулируемая опора по п.1, отличающаяся тем, что измеритель давления опоры выполнен с электрическим выходом.
4. Регулируемая опора по п.3, отличающаяся тем, что дополнительно содержит систему автоматического регулирования давления с обратной связью, вход которой связан с выходом измерителя давления, а выход – с управляемым входом нагнетателя рабочей среды.
5. Регулируемая опора по п.3, отличающаяся тем, что дополнительно содержит блок пересчета значения давления рабочей среды в значение силы реакции опоры, подключенный к электрическому выходу измерителя давления.
6. Регулируемая опора по п.5, отличающаяся тем, что блок пересчета значения давления рабочей среды в значение силы реакции опоры выполнен в виде микропроцессора.
7. Регулируемая опора по п.1, отличающаяся тем, что дополнительно содержит два патрубка с кранами, соединяющими соответственно трубопровод с сильфоном, а сильфон с атмосферой.
8. Регулируемая опора по п.1, отличающаяся тем, что дополнительно содержит штуцер для стравливания воздуха, связанный через кран с верхней частью сильфона, при этом нагнетатель рабочей среды и измеритель давления связаны с нижней частью сильфона.
РИСУНКИ
MM4A – Досрочное прекращение действия патента СССР или патента Российской Федерации на изобретение из-за неуплаты в установленный срок пошлины за поддержание патента в силе
Дата прекращения действия патента: 09.12.2007
Извещение опубликовано: 27.07.2009 БИ: 21/2009
|