|
|
(21), (22) Заявка: 2006109059/06, 23.03.2006
(24) Дата начала отсчета срока действия патента:
23.03.2006
(46) Опубликовано: 20.10.2007
(56) Список документов, цитированных в отчете о поиске:
SU 1574970 A1, 30.06.1990. SU 1719550 A1, 15.03.1992. RU 2110007 С1, 27.04.1998. SU 507741 А, 19.04.1976. RU 2001114255 A, 10.05.2003. SU 1739718 A1, 20.04.1995.
Адрес для переписки:
192289, Санкт-Петербург, а/я 155, пат.пов. Е.В.Савиковской
|
(72) Автор(ы):
Козлович Аркадий Викторович (RU)
(73) Патентообладатель(и):
Козлович Аркадий Викторович (RU)
|
(54) СПОСОБ ПРОКЛАДКИ ТРУБОПРОВОДА ПО ДНУ ВОДОЕМА
(57) Реферат:
Изобретение относится к строительству трубопроводного транспорта и может быть использовано для прокладки подводного трубопровода или туннеля. Маячками размечают путь следования плавучего средства для укладки подводного трубопровода. Закрепляют плавучее средство, собирают трубопровод, надевают грузила в виде колец, на внутренней поверхности которых расположены резиновые ролики, трубы укладывают на предварительно закрепленные на дне опоры-винтовые сваи. На каждую пару свай устанавливают балку с крепежными элементами, на балке размещают ложемент. После установки трубопровода его закрепляют на опорах с помощью хомутов. Повышает надежность трубопровода. 4 ил.
Изобретение относится к подводному строительству и может использоваться при установке трубопроводов и туннелей.
Наиболее близким по технической сущности и достигаемому результату является способ прокладки трубопровода по дну водоема, укладки соединенных между собой труб на опоры (авт. св. СССР N 1574970, F16L 1/12, 1985).
В известном способе трубы соединены при помощи гофровых вставок, опоры выполнены в виде пластины с ребрами жесткости, прикрепленной к нижней части гофры. Погружение трубопровода осуществляют проталкиванием.
Для прокладки трубопроводов большого диаметра или туннелей такой способ не применим, поскольку существует большая вероятность деформации гофровых вставок при проталкивании трубопровода и отсутствуют механизмы для проталкивания трубопроводов большого диаметра, обладающих значительным весом, что усложняет производство работ.
Технический результат, на достижение которого направлено настоящее изобретение, заключается в повышении надежности и прочности трубопровода, сокращении трудозатрат и повышении безопасности при его эксплуатации.
Указанный технический результат достигается тем, что в способе прокладки трубопровода по дну водоема, включающем сборку трубопровода из труб и последующее размещение трубопровода на опорах, согласно изобретению, перед прокладкой трубопровода маячками размечают путь следования плавучего средства, плавучее средство закрепляют в фиксированном относительно дна водоема положении, при этом на плавучем средстве покрытые слоем полимера трубы с помощью специальных аппаратов сваривают между собой, покрывают места сварки полимерным покрытием и затем на трубы надевают грузила, выполненные в виде колец, на внутренней поверхности которых расположены резиновые ролики, потом трубы укладывают на опоры, выполненные в виде винтовых свай, которые предварительно завинчивают с плавучего средства по месту прокладки трубопровода с двух сторон от последнего, при этом на каждую пару свай устанавливают балку с крепежными элементами, выполненными, например, в виде втулок с резьбой или штырей с резьбовой нарезкой, на балке размещают ложемент для размещения трубы, выполненный по форме последней, после установки трубы ее закрепляют на опоре с помощью хомутов.
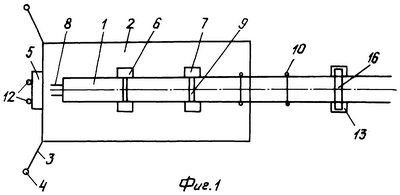
Способ прокладки трубопровода по дну водоема поясняется чертежами, где на фиг.1 изображено плавучее средство для прокладки трубопровода; на фиг.2 изображена труба с грузилом; на фиг.3 изображен трубопровод, размещенный на опорах; на фиг.4 разрез трубопровода, размещенного на опоре.
Способ прокладки трубопровода по дну водоема осуществляют следующим образом.
Перед прокладкой трубопровода, состоящего из отдельных труб 1, маячками (не показано) размечают путь следования плавучего средства 2, плавучее средство 2 закрепляют в фиксированном относительно дна водоема положении тросами 3, соединенными с якорями 4. На барже (не показано) к месту укладки подвозят трубы 1, покрытые слоем полимера, к плавучему средству 2 краном (не показано) перегружают их на плавучее средство 2. В передней части плавучего средства 2 размещен аппарат 5 для завинчивания труб, затем аппарат 6 для сварки труб и аппарат 7 для покрытия стыков труб полимером. Трубы 1 по рельсам 8 направляют сначала на сварочный аппарат 6, затем сваренные трубы 1 в местах сварки при помощи аппарата 7 покрывают полимерным покрытием 9, на трубы надевают грузила 10, выполненные в виде колец, на внутренней поверхности которых расположены резиновые ролики 11. Грузила 10 закреплены тросами (не показано) к плавучему средству 2. Количество грузил и длина троса зависят от глубины укладки труб 1. Грузила служат для погружения трубы 1 на опоры, выполненные в виде винтовых свай 12, которые при помощи аппарата 5 завинчивают перед установкой труб 1 по ходу трубопровода с двух сторон от последнего, при этом на каждую пару свай 12 устанавливают балку 13 с крепежными элементами 14, выполненными, например, в виде втулок с резьбой, или штырей с резьбовой нарезкой, на балке 13 размещают ложемент 15 для размещения трубы, выполненный по форме последней. После установки трубы 1 ее закрепляют на опоре с помощью хомутов 16. Хомуты 16 и ложемент 15 крепят на балке 13 с помощью крепежных элементов 14.
Предложенный способ прокладки трубопровода позволяет быстро, надежно, качественно устанавливать трубопроводы в максимально короткие сроки, при необходимости его можно быстро демонтировать.
Формула изобретения
Способ прокладки трубопровода по дну водоема, включающий сборку трубопровода из труб и последующее размещение трубопровода на опорах, отличающийся тем, что перед прокладкой трубопровода маячками размечают путь следования плавучего средства, плавучее средство закрепляют в фиксированном относительно дна водоема положении, при этом на плавучем средстве покрытые слоем полимера трубы с помощью специальных аппаратов сваривают между собой, покрывают места сварки полимерным покрытием и затем на трубы надевают грузила, выполненные в виде колец, на внутренней поверхности которых расположены резиновые ролики, потом трубы укладывают на опоры, выполненные в виде винтовых свай, которые предварительно завинчивают с плавучего средства по месту прокладки трубопровода с двух сторон от последнего, при этом на каждую пару свай устанавливают балку с крепежными элементами, на балке размещают ложемент для размещения трубы, выполненный по форме последней, после установки трубы ее закрепляют на опоре с помощью хомутов.
РИСУНКИ
|
|