|
|
(21), (22) Заявка: 2005132813/06, 24.10.2005
(24) Дата начала отсчета срока действия патента:
24.10.2005
(43) Дата публикации заявки: 27.04.2007
(46) Опубликовано: 20.10.2007
(56) Список документов, цитированных в отчете о поиске:
DD 118156 А, 12.02.1976. RU 2154217 С1, 10.08.2000. GB 1603551 А, 25.11.1981. GB 994438 А, 06.06.1911. GB 2159249 А, 27.11.1985. US 3665946 А, 30.05.1972. FR 2436921 А1, 18.04.1980. WO 94/12818 А1, 09.06.1994. JP 11078549 А, 23.03.1999.
Адрес для переписки:
195027, Санкт-Петербург, пр. Шаумяна, 4/1, лит.А, а/я 33, ЗАО НПФ “ЦКБА”, начальнику отдела маркетинга В.Б. Ларионову
|
(72) Автор(ы):
Соколов Борис Михайлович (RU), Барышев Геннадий Сергеевич (RU)
(73) Патентообладатель(и):
Закрытое акционерное общество Научно-производственная фирма “Центральное конструкторское бюро арматуростроения” (RU)
|
(54) ЗАПОРНЫЙ КЛАПАН ДЛЯ ТОПЛИВНОГО БАКА ЛИБО ЦИСТЕРНЫ
(57) Реферат:
Изобретение относится к средствам для хранения и транспортирования наливных продуктов, в частности к запорным клапанам для топливных баков либо железнодорожных цистерн. Запорный клапан для топливного бака либо цистерны содержит корпус. Корпус включает наружный и погружаемый в цистерну патрубки, расположенный между патрубками присоединительный фланец и горловину с обратным затвором в виде седла и золотника, устройство принудительного открытия затвора в виде штока с приводом и средство аварийной защиты окружающей среды в виде ослабленного сечения корпуса. Золотник подпружинен к седлу со стороны погружаемого патрубка. Средство аварийной защиты окружающей среды включает дублирующий обратный затвор с уплотнением «металл по металлу». Изобретение направлено на повышение надежности работы клапана, в том числе в экстремальных условиях: аварии и/или пожара. 3 з.п. ф-лы, 2 ил.
Изобретение относится к средствам для хранения и транспортирования наливных продуктов, в частности к запорным клапанам для топливных баков либо железнодорожных цистерн.
Известны запорные клапаны для топливных баков, защищенные патентами СА 2426433, МПК7 F16K 15/02, опубл. 30.10.2003; СА 2475887, МПК7 F16K 15/06, опубл. 06.02.2005; ЕР 0674128, МПК7 F16K 15/02, опубл. 27.09.1995, и патентной заявкой US 2004000342, МПК7 F16K 15/02, опубл. 01.01.2004.
Клапаны-аналоги выполнены в виде золотников, установленных в наливных горловинах топливных баков и поджатых к седлам с помощью пружин, а также давлением наливного продукта, хранящегося в баке.
Недостатками клапанов-аналогов является то, что они препятствуют сливу содержимого топливного бака через наливную горловину и не обеспечены противопожарной защитой, так как выполнены из полимерных материалов.
Известен запорный клапан для топливного бака, защищенный патентом JP 11078549, МПК7 F16K 15/04, опубл. 23.03.1999. Клапан установлен в соединении топливного бака с наливной трубой и содержит наружный и погружаемый в цистерну патрубки, расположенный между патрубками присоединительный фланец и соединяющую патрубки горловину с затвором в форме седла и золотника, поджатого к седлу со стороны погружаемого патрубка. Уплотнительная поверхность затвора расположена между присоединительным фланцем и погружаемым патрубком. Клапан выполнен из полимерного материала.
Недостатки у аналога те же, что и у предыдущих – узкие функциональные возможности и низкая степень противопожарной безопасности.
Прототипом заявляемого устройства является угловой запорный клапан для бака или железнодорожной цистерны, защищенный патентом DD 118156, МПК F16K 27/07; F16K 31/50; F16K 41/12; F16K 27/00; F16K 31/44; F16K 41/00; (IРС1-7): F16K 27/03, опубл. 12.02.1976. Запорный клапан-прототип содержит фланцевый корпус с наружным и погружаемым патрубками, расположенными по разные стороны от присоединительного фланца. В горловине корпуса на уровне присоединительного фланца закреплено седло для подъемного подпружиненного золотника, который образует с седлом обратный затвор. Обратный затвор снабжен эластичным уплотнительным элементом. Принудительное открытие обратного затвора обеспечивается ручным приводом, включающим шток и маховик. Возвратная пружина установлена в погружаемом патрубке с опорой на корпусную деталь. Опора снабжена также направляющей поверхностью для хвостовика, выполненного на золотнике. Корпус клапана выполнен сварным. Сечение разъема корпуса – сварного шва ослаблено на случай аварии. В случае отрыва в результате аварии верхней части корпуса от нижней по ослабленному сечению корпуса золотник обратного затвора прижимается пружиной к седлу, предотвращая слив продукта из бака или цистерны.
Однако запорный клапан-прототип не обеспечивает достаточной аварийной защиты окружающей среды.
Заявляемое изобретение решает техническую задачу повышения надежности работы клапана, в том числе в экстремальных условиях аварии и/или пожара.
Технический результат достигается в запорном клапане для топливного бака либо цистерны, корпус которого включает наружный и погружаемый в цистерну патрубки, расположенный между патрубками присоединительный фланец и горловину с обратным затвором в виде седла и золотника, подпружиненного к седлу со стороны погружаемого патрубка. Устройство принудительного открытия затворов содержит накладной корпус, шток, привод, резьбовой шпиндель и ходовую втулку, установленную в накладном корпусе с возможностью скольжения и стопорения в рабочем положении фиксирующим элементом и фиксатором. Клапан содержит средство аварийной защиты окружающей среды в виде ослабленного сечения корпуса, а также дублирующего обратного затвора с седлом, золотником и уплотнением «металл по металлу», золотник которого упруго поджат к седлу со стороны погружаемого патрубка и соединен с первым золотником упруго-подвижной связью. Средство аварийной защиты окружающей среды также включает рукоятку экстренного закрытия клапана, соединенную с фиксатором и закрепляемую в рабочем положении на накладном корпусе. Запорный клапан снабжен регулятором скорости обратного потока.
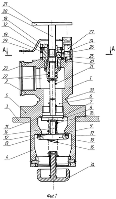
Существо заявляемого изобретения поясняется чертежами, на фиг.1 – изображен заявляемый запорный клапан в разрезе, на фиг.2 – разрез по А-А фиг.1.
Заявляемый запорный клапан содержит корпус 1 с наружным патрубком 2, погружаемым в цистерну 3 патрубком 4 и присоединительным к цистерне фланцем 5. В горловине 6 корпуса на уровне между присоединительным фланцем 5 и патрубком 4 выполнены седло 7 для золотника 8 и седло 9 для золотника 10, которые образуют в совокупности затворы соответственно 11 и 12. На золотнике 10 затвора 12 выполнен хвостовик 13, а на золотнике 8 затвора 11 – направляющая поверхность 14 для хвостовика 13. Золотник 10 поджат к седлу 9 пружиной 15, между золотниками 8 и 10 размещена пружина 16. Уплотнение в затворе 11 – «металл по металлу», золотник 10 снабжен эластичным уплотнительным элементом 17. На наружной части корпуса 1 с помощью резьбовых крепежных деталей 18 закреплен накладной корпус 19, внутри которого размещено устройство принудительного открытия, фиксации в рабочем положении и аварийного закрытия затворов 11 и 12. Устройство содержит приводной элемент в виде шпинделя 20 с маховиком 21. Шпиндель установлен на ходовой втулке 22, которая имеет возможность осевого скольжения во втулке 23 корпуса 19 и снабжена конусной выемкой 24 для шарикового фиксирующего элемента 25. В корпусе 19 размещены также фиксирующий стержень 26, цилиндрический фиксатор 27 со скосом 28 и рукояткой 29 экстренного закрытия клапана, стопор 30. Шпиндель 20 снабжен пружиной 31. Между корпусом 19 и крепежными гайками либо головками резьбовых крепежных деталей 18 размещена прокладка 32 из легкоплавкого либо горючего материала. Она фиксирует втулку 23 в неподвижном положении в корпусе 19. Над присоединительным фланцем 5 со стороны патрубка 2 за счет утонения стенки корпуса 1 выполнено ослабленное сечение 33 корпуса. Запорный клапан снабжен регулятором 34 скорости обратного потока наливного продукта.
Для подготовки запорного клапана к работе управляющую рукоятку 29 экстренного закрытия клапана поворачивают в крайнее положение до упора скоса 28 цилиндрического фиксатора 27 в стопор 30. В этом положении фиксатор 27 своей боковой цилиндрической поверхностью поджимает через фиксирующий стержень 26 шариковый фиксирующий элемент 25 к конусной выемке 24 ходовой втулки 22. Рукоятку 29 закрепляют на корпусе 19. Ходовая втулка 22 при этом зафиксирована от осевого и вращательного перемещения во втулке 23. Вращением маховика 21 шпиндель 20 устанавливают в верхнем положении. При таком взаимном расположении элементов запорного клапана кинематическая связь между шпинделем 20 и золотниками 8, 10 отсутствует. Золотник 8 поджат пружиной 16 к седлу 7, золотник 10 поджат пружиной 15 к седлу 9. Затворы 11 и 12 закрыты.
При подаче наливного продукта в цистерну 3 через патрубок 2 прямой поток продукта, попадая на золотник 8, преодолевает прижимное усилие пружины 16 и отжимает золотник 8 от седла 7, открывая себе проход через затвор 11. Золотник 8 при этом воздействует на хвостовик 13 золотника 10 и, преодолевая усилие пружины 15, перемещает золотник 10, открывая проход в затворе 12. Происходит наполнение цистерны.
Для слива содержимого цистерны через наливную горловину вращают маховик 21 шпинделя 20, передавая шпинделю вращательное движение в ходовой втулке 22. Так как ходовая втулка 22 зафиксирована неподвижно, шпиндель 20 движется поступательно по направлению к затворам 11 и 12 и, преодолевая усилие пружин 31 и 16, перемещает золотник 8. Проход для обратного потока наливного продукта через затвор 11 открывается. Золотник 8, в свою очередь, воздействует на хвостовик 13 золотника 10 и, преодолевая усилие пружины 15, открывает проход в затворе 12 для сливаемого продукта. При сливе продукта через клапан скорость движения обратного потока регулируется регулятором 34. Чрезмерное повышение скорости потока сопровождается автоматическим уменьшением проходного сечения в затворе регулятора.
Принудительно открытые затворы 11 и 12 могут быть зафиксированы в открытом положении до тех пор, пока вращением маховика 21 в обратную сторону шпиндель 20 не будет выведен в верхнее нерабочее положение. При этом обратные затворы 11 и 12 закрываются усилиями пружин 15 и 16, а также от воздействия на золотники 8 и 10 давления среды, находящейся внутри цистерны.
Экстренное закрытие затворов 11 и 12 может быть осуществлено поворотом рукоятки 29 в обратное положение до упора скоса 28 цилиндрического фиксатора 27 в стопор 30 с обратной стороны, в результате чего фиксирующий стержень 26 получает дополнительное пространство для перемещения по направлению к цилиндрическому фиксатору 27, давление через шарик 25 на ходовую втулку 22 ослабевает и она освобождается от фиксации. Под действием пружины 31 ходовая втулка 22 скользит по неподвижной втулке 23 вверх, увлекая за собой шпиндель 20 в верхнее нерабочее положение, после чего обратные затворы 11 и 12 закрываются усилиями пружин 15 и 16 и от воздействия на золотники 8 и 10 давления среды, находящейся внутри цистерны.
В случае повышения температуры окружающей среды, например при пожаре, прокладка 32 из легкоплавкого либо горючего материала плавится либо сгорает, в результате чего натяжение резьбового соединения крепежных деталей 18 ослабевает. Полученная элементами устройства принудительного открытия затворов свобода перемещения приводит к размыканию кинематической связи между шпинделем 20 и золотником 8. В результате этого обратные затворы 11 и 12 закрываются под действием пружин 15 и 16 и давления среды, находящейся внутри цистерны.
Если от высокой температуры окружающей среды эластичный уплотнительный элемент 17 в затворе 12 разрушается, то затвор 11 с уплотнением «металл по металлу» надежно герметизирует цистерну в любом диапазоне температур.
В случае железнодорожной аварии с опрокидыванием цистерны 3 и ударом наружной части запорного клапана, например о землю, разрушение корпуса 1 клапана происходит по ослабленному сечению в месте утонения 33 стенки горловины 6. При этом затворы 11 и 12, расположенные внутри котла цистерны ниже уровня присоединительного фланца 5, остаются закрытыми благодаря усилию пружин 15 и 16 и давлению на золотники 8 и 10 среды, находящейся внутри цистерны.
Таким образом, заявляемый запорный клапан обладает широкими функциональными возможностями и наделен несколькими степенями аварийной и противопожарной защиты.
Формула изобретения
1. Запорный клапан для топливного бака либо цистерны, корпус которого включает наружный и погружаемый в цистерну патрубки, расположенный между патрубками присоединительный фланец и горловину с обратным затвором в виде седла и золотника, подпружиненного к седлу со стороны погружаемого патрубка, устройство принудительного открытия затвора в виде штока с приводом и средство аварийной защиты окружающей среды в виде ослабленного сечения корпуса, отличающийся тем, что средство аварийной защиты окружающей среды включает дублирующий обратный затвор с уплотнением «металл по металлу».
2. Запорный клапан по п.1, отличающийся тем, что дублирующий обратный затвор содержит седло и золотник, упруго поджатый к седлу со стороны погружаемого патрубка и соединенный с первым золотником упруго-подвижной связью.
3. Запорный клапан по п.1 или 2, отличающийся тем, что устройство принудительного открытия дополнительно включает накладной корпус, резьбовой шпиндель и ходовую втулку, установленную в накладном корпусе с возможностью скольжения и стопорения в рабочем положении фиксирующим элементом и фиксатором, а средство аварийной защиты окружающей среды включает соединенную с фиксатором рукоятку экстренного закрытия клапана, закрепляемую в рабочем положении на накладном корпусе.
4. Запорный клапан по п.1 или 2, отличающийся тем, что он снабжен регулятором скорости обратного потока.
РИСУНКИ
|
|