|
|
(21), (22) Заявка: 2006103042/06, 02.02.2006
(24) Дата начала отсчета срока действия патента:
02.02.2006
(46) Опубликовано: 20.10.2007
(56) Список документов, цитированных в отчете о поиске:
Каталог фирмы “РУСТ” “Регулирующие устройства и приборы автоматического управления”, Москва, 2005, рис.1. RU 2267682 С1, 10.01.2006. RU 2266455 С2, 20.12.2005. SU 676795 А, 30.07.1979. GB 2033549 А, 21.05.1980. US 5375502 А, 27.12.1994. US 4274433 A, 23.06.1981. US 3722860 А, 27.03.1973. EP 0167252 A1, 08.01.1986.
Адрес для переписки:
394065, г.Воронеж, ул. Олеко Дундича, 25, кв.186, А.В. Ларионову
|
(72) Автор(ы):
Лачугин Иван Георгиевич (RU), Шевцов Александр Петрович (RU), Гриценко Владимир Дмитриевич (RU), Чагин Сергей Борисович (RU), Черниченко Владимир Викторович (RU)
(73) Патентообладатель(и):
Общество с ограниченной ответственностью Финансово-промышленная компания “Космос-Нефть-Газ” (RU)
|
(54) РЕГУЛИРУЮЩИЙ КЛАПАН
(57) Реферат:
Изобретение относится к регулирующей трубопроводной арматуре и предназначено для перекрытия и регулирования потока проходящей среды. Регулирующий клапан содержит корпус с подводящим и отводящим патрубками и с установленным внутри него клетковым запорным узлом. Последний состоит из гильзы и плунжера. На внутренней стороне гильзы выполнена опорная уплотнительная поверхность седла и радиальные отверстия. Плунжер установлен с возможностью осевого перемещения внутри гильзы. Плунжер закреплен на штоке и соединен с приводом. Плунжер выполнен в виде полого цилиндра с идентичными торцевыми поверхностями, соответствующими ответной уплотнительной поверхности седла. Плунжер установлен на штоке при помощи гайки и втулок с торцевыми буртами. Во втулках выполнены продольные каналы. Они соединяют полость входного патрубка с полостью над плунжером. Упомянутые втулки расположены внутри плунжера навстречу друг другу с торцевым зазором. Объем пространства, образованного торцами втулок с буртом и внутренней полостью полого цилиндра, выполнен не меньше чем объем продольного канала нижней втулки с буртом. Верхняя втулка с торцевым буртом опирается своим буртом на торцевую поверхность полого цилиндра. Нижняя втулка опирается на кольцевой выступ. Кольцевой выступ выполнен внутри полого цилиндра и расположен в центральной его части. Длина полого цилиндра равна не менее одного хода запорного элемента. Гильза имеет не менее двух рядов радиальных отверстий. Изобретение направлено на расширение диапазона регулирования транспортируемой среды, на увеличение долговечности запорного элемента. 2 з.п. ф-лы, 2 ил.
Изобретение относится к машиностроению, в частности к регулирующей трубопроводной арматуре, предназначенной для перекрытия и регулирования потока проходящей среды.
Известен регулирующий клапан, содержащий корпус с входящим и выходящими патрубками, расположенными под углом 90°, клетковый запорный узел, расположенный внутри корпуса и состоящий из гильзы с отверстиями, седла, запорного элемента в виде стакана с продольными отверстиями в торце последнего, контактирующего с гильзой по наружной поверхности и закрепленного на штоке, имеющего привод (Каталог фирмы «Master Flo», титульный лист и эскиз прилагаются). Недостатком данной конструкции является короткий срок работы клапана между ремонтными работами вследствие быстрого износа запорного элемента.
Известен регулирующий клапан, содержащий корпус со смещенными входным и выходным патрубками, помещенную в него гильзу с профильными отверстиями, установленный внутри гильзы с возможностью перемещения полый плунжер с симметрично расположенными отверстиями с перфорированным диском на торце (пат. №2189512, МПК F16K 1/54). Недостатком данной разработки является непродолжительный срок работы запорного элемента вследствие его быстрого износа.
Известен запорно-регулирующий клапан, содержащий корпус с входящим и выходящим патрубками, внутри которого расположен клетковый запорный узел, состоящий из гильзы с двумя рядами отверстий и с седловой поверхностью, внутри которой установлен стаканообразный запорный элемент с продольными отверстиями в верхнем торце, а нижний торец которого имеет поверхность, идентичную поверхности седла. Запорный элемент закреплен на штоке, имеющем привод (Прототип – каталог фирмы “РУСТ”). Недостатками данной разработки являются быстрый износ запирающей кромки запорного элемента, небольшой диапазон в регулировании величины расхода транспортируемой среды.
Технической задачей данной разработки является увеличение продолжительности работы запорного элемента между ремонтом и расширение диапазона расхода транспортирующей среды.
Данная задача решается с помощью регулирующего клапана, содержащего корпус с подводящим и отводящим патрубками, внутри которого установлен клетковый запорный узел, состоящий из гильзы с опорной уплотнительной поверхностью седла, имеющей не менее двух рядов радиальных отверстий, расположенных ниже оси выходящего патрубка, внутри которой установлен с возможностью осевого перемещения плунжер, закрепленный на штоке и соединенный с приводом. Плунжер выполнен в виде полого цилиндра с идентичными торцевыми поверхностями, одна из которых контактирует с ответной опорной седловой поверхностью гильзы. Торцевая поверхность полого цилиндра плотно контактирует с ответной поверхностью седла, расположенного на внутреннем сужении гильзы. Длина полого цилиндра равна не менее длины хода плунжера. На внутренней поверхности полого цилиндра, в середине, имеется кольцевой выступ для установки втулки с торцевым буртом и продольным каналом. Втулки с торцевым буртом и продольным каналом каждая установлены одна под другой с торцевым зазором. Продольные каналы соединяют полость входного патрубка с полостью над плунжером. Объем пространства, образованного между торцами втулок с буртом и внутренней полостью полого цилиндра, не менее объема продольного канала нижней втулки с торцевым буртом для улучшения перетекания транспортируемой среды при движении плунжера. Верхняя втулка с торцевым буртом опирается нижней стороной бурта на торцевую поверхность полого цилиндра, нижняя – на кольцевой выступ, выполненный внутри полого цилиндра и распложенный в середине последнего. Диаметр радиальных отверстий в гильзе, их количество в ряду, количество рядов отверстий являются величинами расчетными и зависят от заданной величины диапазона расхода транспортируемой среды. В гильзе отверстия расположены ниже оси выходящего патрубка, причем отверстия меньшего диаметра расположены ниже отверстий большего диаметра. Втулки с торцевым буртом и продольным каналом установлены на штоке одна под другой коаксиально полому цилиндру и гильзе. Идентичная поверхность торцев полого цилиндра позволяет в случае износа, перевернуть цилиндр на 180°, использовать его далее, тем самым продлив срок службы плунжера. Таким образом совокупность признаков заявляемого технического решения обеспечивает получение технического результата, выражающегося в расширении диапазона регулирования величины расхода транспортируемой среды, увеличения срока службы запорного элемента.
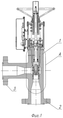
Сущность изобретения пояснена чертежами, где на фиг.1 показан продольный разрез регулирующего клапана, на фиг.2 – выносной элемент А.
Клапан содержит корпус 1 с входящим 2 и выходящим 3 патрубками, внутри которого установлена гильза 4 с двумя рядами радиальных отверстий 5 и 6. Диаметр радиальных отверстий 5 больше диаметра радиальных отверстий 6. Внутри гильзы 4 установлен плунжер 7, состоящий из полого цилиндра 8, имеющего идентичные торцевые поверхности 9. В середине внутренней поверхности полого цилиндра 8 имеется кольцевой выступ 10, который с помощью втулок 11 и 12 с буртом и продольным каналом и гайки 13 соединен со штоком 14, имеющим привод (не показано) и линейный позиционный датчик расхода (не показано). Втулка с буртом 11 устанавливается навстречу втулке с буртом 12, т.е. втулка с буртом 11 устанавливается сверху на штоке 14, опираясь буртом на торец цилиндра 8, а втулка с буртом 12 устанавливается с зазором h между торцами, не имеющими бурт, под втулкой с буртом 11 буртом вниз, контактируя последним с кольцевым выступом 10. Гильза 4, цилиндр 8 и втулки с буртом 11 и 12 установлены коаксиально.
Гильза 4 в нижней части имеет сужение, образуя седловую поверхность 15, которая является ответной поверхностью торцевой поверхности 9 цилиндра 8. Каждая втулка с буртом 11 и 12 имеет продольный канал 16 и 17 для прохода транспортируемой среды. Объем пространства между торцами втулок с буртом 11 и 12 и внутренней поверхностью цилиндра 8, высотой h не менее объема продольного канала 17. Радиальные отверстия 5 и 6 расположены ниже оси 19 выходящего патрубка 3. Гильза 4 соединена с корпусом 18 штока 14, и внутренняя поверхность корпуса 18 является продолжением внутренней поверхности гильзы 4, образуя полость для перемещения плунжера 7. Полостью входящего патрубка 2 посредством каналов 16 и 17 соединяется с полостью над плунжером 7. Количество рядов, количество радиальных отверстий 5 и 6 в ряду, диаметр радиальных отверстий являются величинами расчетными и зависят от заданной величины расхода транспортируемой среды. Регулирующий клапан работает следующим образом. Среда поступает во входной патрубок 2. Во время работы привод (не показан) перемещает шток 14 с плунжером 7 вверх или вниз. В крайнем нижнем положении плунжера 7 торцевая кромка 9 полого цилиндра 8 плотно прилегает к седловой поверхности 15. Клапан закрыт, так как наружная поверхность полого цилиндра 8 герметично перекрывает радиальные отверстия 5 и 6. Транспортируемая среда заполняет внутреннюю полость входящего патрубка 2, проходя по продольным каналам 16 и 17 в полость над плунжером 7, образованную внутренней поверхностью корпуса 18 штока 14. При включении привода шток 14 вместе с плунжером 7 начинает движение вверх, приоткрывая радиальные отверстия 5, 6 в зависимости от заданной величины расхода транспортируемой среды. При этом последняя через радиальные отверстия 5, 6 в гильзе 4 попадает в выходящий патрубок 3, а сжимаемая транспортируемая среда из полости над плунжером 7 переходит по продольным каналам 16 и 17, объем между торцами втулок 11 и 12 в зону под плунжером 7 и далее через радиальные отверстия 5, 6 в выходящий патрубок 3. Величина поднятия плунжера 7, а следовательно, степень приоткрытая радиальных отверстий 5 или 6 определяется величиной расхода транспортируемой среды и отслеживается по линейному позиционному датчику расхода (не показано).
При износе поверхности 9 нижнего торца полый цилиндр 8 устанавливается верхним торцем вниз, тем самым продлевая срок работы регулирующего клапана, после износа обеих кромок 9 полый цилиндр 8 заменяется на новый.
Таким образом данный регулирующий клапан имеет широкий диапазон величины расхода транспортируемого газа. Кроме того, значительно увеличивается продолжительность работы клапана между заменой запорного элемента.
Формула изобретения
1. Регулирующий клапан, содержащий корпус с подводящим и отводящим патрубками, с установленным внутри него клетковым запорным узлом, состоящим из гильзы, на внутренней стороне которой выполнена опорная уплотнительная поверхность седла и радиальные отверстия, а внутри установлен с возможностью осевого перемещения плунжер, закрепленный на штоке и соединенный с приводом, отличающийся тем, что плунжер выполнен в виде полого цилиндра с идентичными торцевыми поверхностями, соответствующими ответной уплотнительной поверхности седла, и установлен на штоке при помощи гайки и втулок с торцевыми буртами, в которых выполнены продольные каналы, соединяющие полость входного патрубка с полостью над плунжером, расположенных внутри него навстречу друг другу с торцевым зазором, объем пространства, образованного торцами втулок с буртом и внутренней полостью полого цилиндра, не менее объема продольного канала нижней втулки с буртом, при этом верхняя втулка с торцевым буртом опирается своим буртом на торцевую поверхность полого цилиндра, нижняя – на кольцевой выступ, выполненный внутри полого цилиндра и расположенный в центральной его части, кроме того длина полого цилиндра равна не менее одного хода запорного элемента, а гильза имеет не менее двух рядов радиальных отверстий.
2. Регулирующий клапан по п.1, отличающийся тем, что радиальные отверстия расположены ниже оси выходящего патрубка, причем радиальные отверстия меньшего диаметра в гильзе расположены под радиальными отверстиями большего диаметра.
3. Регулирующий клапан по п.1, отличающийся тем, что втулки с буртом и продольным каналом, полый цилиндр и гильза установлены коаксиально.
РИСУНКИ
MM4A – Досрочное прекращение действия патента СССР или патента Российской Федерации на изобретение из-за неуплаты в установленный срок пошлины за поддержание патента в силе
Дата прекращения действия патента: 03.02.2008
Извещение опубликовано: 20.09.2009 БИ: 26/2009
NF4A – Восстановление действия патента СССР или патента Российской Федерации на изобретение
Дата, с которой действие патента восстановлено: 10.01.2010
Извещение опубликовано: 10.01.2010 БИ: 01/2010
|
|