|
|
(21), (22) Заявка: 2005131376/11, 12.10.2005
(24) Дата начала отсчета срока действия патента:
12.10.2005
(43) Дата публикации заявки: 20.04.2007
(46) Опубликовано: 20.10.2007
(56) Список документов, цитированных в отчете о поиске:
US 6427821 B1, 06.08.2002. JP 2003301861 A, 24.10.2003. SU 394603 A1, 01.01.1973. US 6039160 A, 21.03.2000. SU 397698 A1, 01.01.1973. JP 2005240826 A, 08.09.2005.
Адрес для переписки:
105523, Москва, ул. 16-я Парковая, 49, корп.1, кв.88, А.Н. Лыскову
|
(72) Автор(ы):
Нагайцев Максим Валерьевич (RU), Харитонов Сергей Александрович (RU), Лысков Александр Николаевич (RU), Семенов Александр Владимирович (RU), Палеев Дмитрий Николаевич (RU)
(73) Патентообладатель(и):
Общество с ограниченной ответственностью “КАТЕ” (RU)
|
(54) МНОГОДИСКОВАЯ ФРИКЦИОННАЯ МУФТА
(57) Реферат:
Изобретение относится к области автотранспортного машиностроения. Многодисковая фрикционная муфта преимущественно для коробок передач транспортных средств содержит внешний барабан, связываемый со ступицей, фрикционные диски трения, расположенные внутри барабана с возможностью вращения относительно друг друга вокруг продольной оси муфты, поршень для сжатия фрикционных дисков и пружину, возвращающую поршень в исходное положение. Пружина устанавливается между поршнем и экранирующим диском, а наружная кромка экранирующего диска связана с внутренней поверхностью поршня через уплотнительное кольцо. Поршень на наружной поверхности имеет шлицы, которые не позволяют поршню вращаться относительно внешнего барабана. В ступице выполнено сквозное осевое ступенчатое отверстие, на поверхности меньшего диаметра которого выполнены шлицы, а в поверхности большего диаметра выполнены каналы подвода масла в полость между внешним барабаном и поршнем и каналы подвода масла в полость между поршнем и экранирующим диском, на внешней поверхности ступицы выполнены продольные канавки для слива масла из полости между экранирующим диском и поршнем, а также на внешней поверхности ступицы выполнен пересекающий продольные канавки паз в виде кольцевого канала, в котором установлено стопорное кольцо, при этом внутренняя кромка паза, выполненного в виде кольцевого канала, расположена на большем расстоянии от продольной оси муфты, чем внутренняя кромка продольной канавки. Внешний барабан выполнен ступенчатым, поверхность меньшего диаметра выполнена гладкой, а в ее внутреннюю полость установлен поршень, а поверхность большего диаметра выполнена в виде периодически повторяющихся впадин и выступов равного размера, которые используются как шлицы для фрикционных дисков и поршня и в которых выполнены отверстия для слива масла. Так же во внешнем барабане выполнен кольцевой канал для стопорного кольца и кольцевой канал для установки упорного кольца для ограничения перемещения фрикционных дисков вдоль продольной оси. Внутренний барабан, расположенный внутри внешнего барабана соосно с ним, по наружному диаметру выполнен в виде периодически повторяющихся впадин и выступов равного размера, которые используются как шлицы для фрикционных дисков и в которых выполнены отверстия для подачи масла во фрикционный пакет между фрикционными дисками. На поверхности внутреннего барабана, выполненной под углом к наружной поверхности, выполнены отверстия для передачи масла к отверстиям в наружной поверхности внутреннего барабана. Наружная часть меньшего диаметра внешнего барабана может быть жестко связана с венцом датчика частоты вращения. Технический результат заключается в улучшении эксплуатационных характеристик муфты за счет обеспечения гарантированного ее невключения при отсутствии планового рабочего давления. 1 з.п. ф-лы, 4 ил.
Изобретение относится к области автотранспортного машиностроения и касается конструкции элементов ступенчатой планетарной коробки передач, которая может быть использована в автоматических трансмиссиях, управляемых с помощью электронного блока и гидравлики и предназначенных для транспортных средств.
В состав автоматической трансмиссии входит гидродинамический преобразователь крутящего момента (гидротрансформатор), в котором кинетическая энергия рабочей жидкости используется для передачи крутящего момента от коленчатого вала двигателя на входное звено коробки передач. Далее расположена, как правило, коробка передач планетарного типа, обеспечивающая изменение крутящего момента на движителе и частоты его вращения. Коробка передач планетарного типа состоит из планетарных рядов и фрикционных элементов управления. Фрикционные элементы управления по своему назначению делятся на две группы: тормоза и муфты. Фрикционные муфты соединяют элементы планетарного механизма между собой. Фрикционные тормоза соединяют элементы планетарного механизма с картером коробки передач. Фрикционные муфты и фрикционные тормоза состоят из барабана, в котором размещается поршень и фрикционные диски, нажимного диска.
Использование коробок передач планетарного типа в автоматических трансмиссиях транспортных средств обусловлено возможностью получения малогабаритной компактной по компоновке конструкции, легко вписывающейся в ограниченное габаритами кузова пространство. Использование фрикционных муфт позволяет формировать большие площади поверхности трения, тем самым давая возможность передавать больший момент.
Известна многодисковая муфта, содержащая барабан муфты, два и более фрикционных дисков трения, расположенных внутри барабана и имеющих возможность вращаться относительно друг друга по оси муфты, поршень для сжатия фрикционных дисков, пружину, возвращающую поршень в исходное положение (US, №6427821, F16D 13/52, опубл. 06.08.2002 г.).
Данное решение принято в качестве прототипа.
Недостатком данной многодисковой муфты является отсутствие устройства для компенсирования давления, оказываемого на поршень выключенной муфты. Масло под действием центробежных сил поднимается вверх по полости между поршнем и барабаном и пытается сдвинуть поршень, тем самым сжать фрикционный пакет. Для недопущения самопроизвольного включения муфты приходится использовать более жесткие пружины, что приводит к увеличению давления масла (примерно на 20%), подаваемого в полость между поршнем и барабаном при плановом включении муфты.
Настоящее изобретение направлено на решение технической задачи по компенсированию давления, оказываемого на поршень выключенной муфты со стороны рабочей жидкости, и недопущению самопроизвольного включения фрикционной муфты. Другой технической задачей является получение конструкции с минимальными габаритами.
Достигаемый при этом технический результат заключается в улучшении эксплуатационных характеристик муфты за счет обеспечения гарантированного ее невключения при отсутствии планового рабочего давления.
Указанный технический результат достигается тем, что в многодисковой фрикционной муфте преимущественно для коробок передач транспортных средств, содержащей внешний барабан, связываемый со ступицей, фрикционные диски трения, расположенные внутри барабана с возможностью вращения относительно друг друга вокруг продольной оси муфты, поршень для сжатия фрикционных дисков и пружину, возвращающую поршень в исходное положение, пружина устанавливается между поршнем и экранирующим диском, осуществляя воздействие на них в осевом направлении, а наружная кромка экранирующего диска связана с внутренней поверхностью поршня через уплотнительное кольцо с сохранением возможности продольного перемещения относительно друг друга, поршень на наружной поверхности имеет шлицы, которые не позволяют поршню вращаться относительно внешнего барабана, а позволяют перемещаться в осевом направлении, в ступице выполнено сквозное осевое ступенчатое отверстие, на поверхности меньшего диаметра которого выполнены шлицы, а в поверхности большего диаметра выполнены каналы подвода масла в полость между внешним барабаном и поршнем и каналы подвода масла в полость между поршнем и экранирующим диском, на внешней поверхности ступицы выполнены продольные канавки для слива масла из полости между экранирующим диском и поршнем, на поверхности которых выполнен кольцевой канал, в котором установлено стопорное кольцо для ограничения перемещения экранирующего диска относительно продольной оси муфты, при этом внутренняя кромка паза расположена на большем расстоянии от продольной оси муфты, чем внутренняя кромка канавки, внешний барабан выполнен ступенчатым, при этом поверхность меньшего диаметра выполнена гладкой, а в ее внутреннюю полость установлен поршень, а поверхность большего диаметра выполнена в виде периодически повторяющихся впадин и выступов равного размера, которые используются как шлицы для фрикционных дисков и поршня, в которых выполнены отверстия для слива масла, так же во внешнем барабане выполнен кольцевой канал для стопорного кольца и кольцевой канал для установки упорного кольца для ограничения перемещения фрикционных дисков вдоль продольной оси, расположенный между каналом для стопорного кольца и поверхностью меньшего диаметра, внутренний барабан, расположенный внутри внешнего барабана и соосно с ним, по наружному диаметру выполнен в виде периодически повторяющихся впадин и выступов равного размера, которые используются как шлицы для фрикционных дисков и в которых выполнены отверстия для подачи масла во фрикционный пакет между фрикционными дисками, на поверхности внутреннего барабана, выполненной под углом к наружной поверхности, выполнены отверстия для передачи масла к отверстиям в наружной поверхности внутреннего барабана, через которые масло попадает между фрикционными дисками.
Указанные признаки являются существенными и взаимосвязаны между собой с образованием устойчивой совокупности существенных признаков, достаточной для получения требуемого технического результата.
Оснащение наружной части меньшего диаметра внешнего барабана венцом датчика частоты вращения позволяет получать данные о частоте вращения внешнего барабана муфты.
Настоящее изобретение поясняется конкретным примером, который, однако, не является единственно возможным, но наглядно демонстрирует возможность достижения требуемого технического результата приведенной совокупностью признаков.
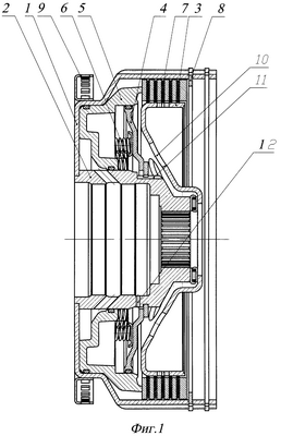
Сущность предлагаемого технического решения поясняется чертежами, где на фиг.1 – общий разрез муфты; фиг.2 – муфта с частичным вырезом в изометрии; фиг.3 – общий вид внешний барабана со ступицей и венцом датчика частоты вращения; фиг.4 – общий вид внутреннего барабана.
Согласно настоящему изобретению многодисковая фрикционная муфта преимущественно для коробок передач транспортных средств, содержащая внешний барабан, связываемый со ступицей, фрикционные диски трения, расположенные внутри барабана с возможностью вращения относительно друг друга вокруг продольной оси муфты, поршень для сжатия фрикционных дисков и пружину, возвращающую поршень в исходное положение.
Пружина устанавливается между поршнем и экранирующим диском, осуществляя воздействие на них в осевом направлении, а наружная кромка экранирующего диска связана с внутренней поверхностью поршня через уплотнительное кольцо с сохранением возможности продольного перемещения относительно друг друга, поршень на наружной поверхности имеет шлицы, которые не позволяют поршню вращаться относительно внешнего барабана, а позволяют перемещаться в осевом направлении.
В ступице выполнено сквозное осевое ступенчатое отверстие, на поверхности меньшего диаметра которого выполнены шлицы, а в поверхности большего диаметра выполнены каналы подвода масла в полость между внешним барабаном и поршнем и каналы подвода масла в полость между поршнем и экранирующим диском, на внешней поверхности ступицы выполнены продольные канавки для слива масла из полости между экранирующим диском и поршнем, на поверхности которых выполнен кольцевой канал, в котором установлено стопорное кольцо для ограничения перемещения экранирующего диска относительно продольной оси муфты, при этом внутренняя кромка паза расположена на большем расстоянии от продольной оси муфты, чем внутренняя кромка канавки.
Внешний барабан выполнен ступенчатым, при этом поверхность меньшего диаметра выполнена гладкой, а в ее внутреннюю полость установлен поршень, а поверхность большего диаметра выполнена в виде периодически повторяющихся впадин и выступов равного размера, которые используются как шлицы для фрикционных дисков и поршня, в которых выполнены отверстия для слива масла, так же во внешнем барабане выполнен кольцевой канал для стопорного кольца и кольцевой канал для установки упорного кольца для ограничения перемещения фрикционных дисков вдоль продольной оси, расположенный между каналом для стопорного кольца и поверхностью меньшего диаметра.
Внутренний барабан, расположенный внутри внешнего барабана и соосно с ним, по наружному диаметру выполнен в виде периодически повторяющихся впадин и выступов равного размера, которые используются как шлицы для фрикционных дисков и в которых выполнены отверстия для подачи масла во фрикционный пакет между фрикционными дисками, на поверхности внутреннего барабана, выполненной под углом к наружной поверхности, выполнены отверстия для передачи масла к отверстиям в наружной поверхности внутреннего барабана, через которые масло попадает между фрикционными дисками.
Для получения возможности получать данные о частоте вращения внешнего барабана муфты по первому примеру реализации фрикционной многодисковой муфты наружная часть меньшего диаметра внешнего барабана жестко связана с венцом датчика частоты вращения.
Ниже рассматривается пример конкретного исполнения муфты.
Муфта состоит из внешнего барабана 1, ступицы 2, внутреннего барабана 3, экранирующего диска 4, поршня 5, пружины 6, фрикционных дисков 7, упорного кольца 8, венца датчика частоты вращения 9, отверстия 10 для передачи масла в полость между внутренним барабаном и барабаном соседней муфты, канавок 11 для слива масла из полости между экранирующим диском и поршнем, каналов 12 подвода масла в полость между поршнем и экранирующим диском.
Внешний барабан 1 жестко связан со ступицей 2. Внешний барабан выполнен ступенчатым, при этом поверхность меньшего диаметра выполнена гладкой и наружной частью жестко связана с венцом датчика частоты вращения 9, а в ее внутреннюю полость установлен поршень 5, на наружной поверхности которого выполнены шлицы, которые не дают поршню вращаться относительно внешнего барабана 1, а только перемещаться в продольном направлении. Во внутрь поверхности большего диаметра установлены фрикционные диски 7.
Во внешнем барабане выполнен кольцевой канал для установки упорного кольца 8 для ограничения перемещения фрикционных дисков 7 вдоль продольной оси, а так же кольцевой канал для установки стопорного кольца.
Внутренний барабан 3 расположен соосно внутри внешнего барабана 1. На наружной поверхности установлены фрикционные диски 7.
На поверхности внутреннего барабана 3, выполненной под углом к поверхности периодически повторяющихся впадин и выступов равного размера, выполнены отверстия 10 для передачи масла через них в полость между внутренним барабаном 3 и барабаном соседней муфты, откуда через отверстия во внутреннем барабане 3 масло попадает в пространство между фрикционными дисками 7.
Пружина 6 устанавливается между поршнем 5 и экранирующим диском 4, осуществляя воздействие на них в осевом направлении, наружная кромка экранирующего диска 4 связана с внутренней поверхностью поршня 5 через уплотнение с сохранением возможности продольного перемещения относительно друг друга.
Такое выполнение муфты по сравнению с известными муфтами коробок передач типа ZF 6 HP-26, ZF 5 HP-30, AW TR-60SN позволяет получить конструкцию муфты, которая позволяет получить компактную по размерам конструкцию, в которой полностью скомпенсирована сила, действующая на поршень. Внутреннее расположение экранирующего диска обеспечивает надежный подвод масла и уменьшает осевой габарит узла по сравнению с конструкциями, содержащими внутренние экранирующие диски.
Если в многодисковой фрикционной муфте к наружной части меньшего диаметра внешнего барабана добавить венец датчика частоты вращения, можно получить возможность получать данные о частоте вращения внешнего барабана.
Предлагаемая согласно изобретению муфта работает следующим образом.
При включении фрикционной муфты масло под давлением через канал, выполненный в ступице 2, подается в полость между поршнем 5 и барабаном 1. Поршень начинает двигаться в осевом направлении, сжимая пружину 6, и сжимает фрикционные диски 7. Чтобы фрикционные диски не сошли с барабана со стороны, противоположной поршню, установлено упорное кольцо 8. При выключении муфты подача масла в полость между поршнем 5 и барабаном 1 под давлением прекращается и под действием пружины 6 поршень начинает двигаться назад, вытесняя масло обратно в канал ступицы. Однако в полости между поршнем 5 и барабаном 1 после полного отхода поршня 4 остается масло и под действием центробежных сил оно поднимается на верх полости и действует на поршень 5 в направлении сжатия муфты. Для компенсации этого давления в полость между экранирующим диском 4 и поршнем 5 через канал 12 подается масло. Под действием центробежных сил масло начинает давить на поршень 5 в осевом направлении в сторону внешнего барабана 1 и на экранирующий диск 4 в противоположную сторону. Экранирующий диск 4 упирается в стопорное кольцо, закрепленное на ступице 2, которое не дает ему перемещаться в осевом направлении, поэтому вся сила воздействует на поршень 4 в направлении, обратном действию силы масла, которое находится в полости между поршнем 5 и внешним барабаном 1. Тем самым на поршень 4 действуют две силы, направленные в противоположные стороны и компенсирующие друг друга. Излишки масла и пространства между поршнем 5 и экранирующим диском 4 сливаются через продольные канавки 11, выполненные на ступице 2.
Настоящее изобретение позволяет получить конструкцию муфты, которая позволяет получить компактную по размерам конструкцию, в которой полностью скомпенсирована центробежная сила, действующая на поршень. Внутреннее расположение экранирующего диска обеспечивает надежный подвод масла и уменьшает осевой габарит узла.
Настоящее изобретение промышленно применимо, так как для его реализации не требуется специальной новой технологии и специального оборудования, кроме тех, что используются в машиностроении в производстве редукторов, в том числе и планетарных.
Формула изобретения
1. Многодисковая фрикционная муфта, преимущественно для коробок передач транспортных средств, содержащая внешний барабан, связываемый со ступицей, фрикционные диски трения, расположенные внутри барабана с возможностью вращения относительно друг друга вокруг продольной оси муфты, поршень для сжатия фрикционных дисков и пружину, возвращающую поршень в исходное положение, отличающаяся тем, что пружина устанавливается между поршнем и экранирующим диском, осуществляя воздействие на них в осевом направлении, а наружная кромка экранирующего диска связана с внутренней поверхностью поршня через уплотнительное кольцо с сохранением возможности продольного перемещения относительно друг друга, поршень на наружной поверхности имеет шлицы, которые не позволяют поршню вращаться относительно внешнего барабана, а позволяют перемещаться в осевом направлении, в ступице выполнено сквозное осевое ступенчатое отверстие, на поверхности меньшего диаметра которого выполнены шлицы, а в поверхности большего диаметра выполнены каналы подвода масла в полость между внешним барабаном и поршнем и каналы подвода масла в полость между поршнем и экранирующим диском, на внешней поверхности ступицы выполнены продольные канавки для слива масла из полости между экранирующим диском и поршнем, а также на внешней поверхности ступицы выполнен пересекающий продольные канавки паз в виде кольцевого канала, в котором установлено стопорное кольцо для ограничения перемещения экранирующего диска относительно продольной оси муфты, при этом внутренняя кромка паза, выполненного в виде кольцевого канала, расположена на большем расстоянии от продольной оси муфты, чем внутренняя кромка продольной канавки, внешний барабан выполнен ступенчатым, при этом поверхность меньшего диаметра выполнена гладкой, а в ее внутреннюю полость установлен поршень, а поверхность большего диаметра выполнена в виде периодически повторяющихся впадин и выступов равного размера, которые используются как шлицы для фрикционных дисков и поршня, в которых выполнены отверстия для слива масла, также во внешнем барабане выполнен кольцевой канал для стопорного кольца и кольцевой канал для установки упорного кольца для ограничения перемещения фрикционных дисков вдоль продольной оси, расположенный между каналом для стопорного кольца и поверхностью меньшего диаметра, внутренний барабан расположенный внутри внешнего барабана и соосно с ним, по наружному диаметру выполнен в виде периодически повторяющихся впадин и выступов равного размера, которые используются как шлицы для фрикционных дисков и в которых выполнены отверстия для подачи масла во фрикционный пакет между фрикционными дисками, на поверхности внутреннего барабана, выполненной под углом к наружной поверхности, выполнены отверстия для передачи масла к отверстиям в наружной поверхности внутреннего барабана, через которые масло попадает между фрикционными дисками.
2. Многодисковая фрикционная муфта по п.1, отличающаяся тем, что наружная часть меньшего диаметра внешнего барабана жестко связана с венцом датчика частоты вращения.
РИСУНКИ
|
|