|
|
(21), (22) Заявка: 2005132238/11, 19.10.2005
(24) Дата начала отсчета срока действия патента:
19.10.2005
(43) Дата публикации заявки: 27.04.2007
(46) Опубликовано: 20.10.2007
(56) Список документов, цитированных в отчете о поиске:
SU 1732036 А, 07.05.1992. DE 2635120 А1, 10.02.1977. SU 1229472 А1, 07.05.1986. GB 2177374 А, 21.01.1987. RU 2073133 C1, 10.02.1997. JP 58094630 A, 04.06.1983.
Адрес для переписки:
109457, Москва, а/я 5
|
(73) Патентообладатель(и):
Общество с ограниченной ответственностью Производственно-научная фирма “ЛГ автоматика” (RU)
|
(54) ОПОРА ШТОКА
(57) Реферат:
Изобретение относится к области машиностроения, а именно к опорам штоков регулирующей арматуры, работающей в широком диапазоне температур. Опора штока содержит полимерную втулку, размещенную в обойме. Полимерная втулка запрессована в обойму. На внутренних поверхностях полимерной втулки и обоймы выполнены кольцевые проточки глубиной 0,1…0,35 от толщины полимерной втулки. Кольцевые проточки на полимерной втулке смещены по ее длине относительно кольцевых проточек обоймы. Кольцевые проточки на полимерной втулке и обойме одинаковы. Ширина кольцевых проточек равна расстоянию между ними. Кольцевые проточки на полимерной втулке смещены по ее длине относительно кольцевых проточек обоймы на ширину кольцевой проточки. Ширина кольцевых проточек обоймы больше ширины кольцевых проточек полимерной втулки, а их смещение симметрично. Достигается повышение надежности работы опоры при повышенных температурах путем снижения радиальной нагрузки на шток. 2 з.п. ф-лы, 3 ил.
Предлагаемое изобретение относится к опорам штоков регулирующей арматуры, работающей в широком диапазоне температур, и может быть использовано в различных отраслях промышленности.
Известны опоры штока, в которых полимерная втулка размещена в металлической обойме [1 и 2]. Недостатком таких устройств является то, что при повышении рабочей температуры до (150…200)°С из-за различных коэффициентов линейного расширения значительно возрастает радиальное усилие на шток со стороны втулки, что приводит к возрастанию осевого усилия на штоке и возможности его заклинивания.
Известна упругая опора [3], в которой упругая втулка выполнена разборной. Эластичный элемент, расположенный между наружной и внутренней втулками с выступами, хорошо воспринимает радиальные нагрузки, но при осевом перемещении вала нагрузка воспринимается цилиндрическим элементом и в этом случае данная опора не отличается от описанных выше.
Наиболее близким из известных по технической сущности является металлополимерная опора, содержащая полимерную вставку, размещенную в тонкостенной металлической оболочке [4]. На наружной поверхности оболочки выполнены поперечные кольцевые рельефные пазы. Недостаток тот же, что и в предыдущих конструкциях – увеличение радиального усилия на штоке при повышении рабочей температуры.
Целью данного технического решения является повышение надежности работы опоры при повышенных температурах путем снижения радиальной нагрузки на шток.
Этот технический результат достигается тем, что втулка запрессована в обойму, а на внутренних поверхностях втулки и обоймы выполнены кольцевые проточки глубиной 0,1…0,35 от толщины втулки, причем проточки на втулке смещены по ее длине относительно проточек обоймы.
Кольцевые проточки на втулке и обойме одинаковы, ширина проточек равна расстоянию между ними и проточки на втулке смещены по ее длине относительно проточек обоймы на ширину проточки. Ширина проточек обоймы может выполняться больше ширины проточек втулки при симметричном их смещении.
В результате анализа технической и патентной информации в данной области техники не обнаружено технических решений, которые обладали бы признаками, отличающими заявленное техническое решение от прототипа [4], т.е. заявляемый объект отвечает признаку “новизна”.
Предлагаемое изобретение является “промышленно полезным”, что подтверждается нижеследующим описанием со ссылками на чертежи, где:
на фиг.1 показан продольный разрез опоры,
на фиг.2 – положение полимерной втулки при работе на повышенных температурах,
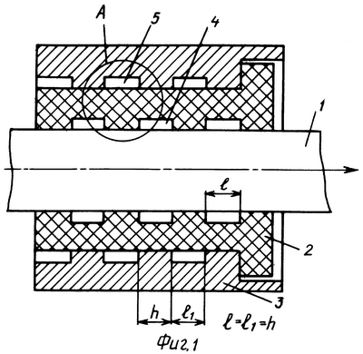
на фиг.3 – вариант конструктивного выполнения опоры.
Опора штока 1 (фиг.1) содержит полимерную втулку 2, запрессованную в обойму 3. На внутренней поверхности втулки 2 выполнены кольцевые проточки 4, а на внутренней поверхности обоймы 3 – кольцевые проточки 5. Проточки 4 на втулке 2 смещены по ее длине относительно обоймы 3. Глубина проточек составляет 0,1…0,35 от толщины втулки 2. Кроме того, ширина (l) проточки 4 равна ширине (l1) проточки 5. Ширина проточек равна расстоянию между ними (h), а проточки 4 на втулке 2 смещены по ее длине относительно проточек 5 обоймы 3 на ширину (l=l1) проточки. При работе на повышенных температурах (150…200)°С наибольший эффект достигается при ширине (l1) проточек 5 обоймы 3 больше ширины (l) проточек 4 втулки 2 при симметричном смещении проточек (фиг.3).
Опора работает следующим образом. Полимерная втулка, выполненная, например, из фторопласта, обеспечивает направление поступательно перемещающемуся штоку и снижает осевое усилие на штоке из-за низкого коэффициента трения. Так как у фторопласта коэффициент линейного расширения во много раз больше, чем у стали, то при повышении рабочей температуры значительно возрастает радиальное усилие на штоке со стороны втулки.
Кольцевые проточки, выполненные на внутренних поверхностях втулки и обоймы, позволяют избежать заклинивания штока и снижают радиальные нагрузки на нем, так как при расширении материал втулки 2 “затекает” в кольцевые проточки 5 обоймы 3. Измененное положение внутренней поверхности втулки 2 показано пунктиром на фиг.2. Кольцевые проточки 4 на втулке 2 уменьшают поверхность соприкосновения втулки 2 и штока 1, а проточки 5, расположенные со стороны, противоположной поверхностям соприкосновения втулки со штоком, позволяют материалу втулки “затекать” в них.
Источники информации
1. Авторское свидетельство СССР №236168, кл. F16К 41/04, 1969 г.
2. Патент Великобритании №1546357, кл. F16С 33/22, 1978 г.
3. Авторское свидетельство СССР №1186226, кл. F16С 27/04, 1966 г.
4. Авторское свидетельство СССР №1732036, кл. F16С 29/02, 1992 г.
Формула изобретения
1. Опора штока, содержащая полимерную втулку, размещенную в обойме, отличающаяся тем, что полимерная втулка запрессована в обойму, на внутренних поверхностях полимерной втулки и обоймы выполнены кольцевые проточки глубиной 0,1 – 0,35 от толщины полимерной втулки, причем кольцевые проточки на полимерной втулке смещены по ее длине относительно кольцевых проточек обоймы.
2. Опора штока по п.1, отличающаяся тем, что кольцевые проточки на полимерной втулке и обойме одинаковы, ширина кольцевых проточек равна расстоянию между ними и кольцевые проточки на полимерной втулке смещены по ее длине относительно кольцевых проточек обоймы на ширину кольцевой проточки.
3. Опора штока по п.1, отличающаяся тем, что ширина кольцевых проточек обоймы больше ширины кольцевых проточек полимерной втулки, а их смещение симметрично.
РИСУНКИ
|
|