|
|
(21), (22) Заявка: 2006106563/06, 02.03.2006
(24) Дата начала отсчета срока действия патента:
02.03.2006
(46) Опубликовано: 20.10.2007
(56) Список документов, цитированных в отчете о поиске:
RU 2191925 C1, 27.10.2002. RU 94020881 A1, 20.01.1996. RU 2074985 C1, 10.03.1997. SU 989139 A1, 15.01.1983. GB 1500834 A, 15.02.1978. US 4665761 A, 19.05.1987.
Адрес для переписки:
630092, г.Новосибирск, пр. Карла Маркса, 20, НГТУ
|
(72) Автор(ы):
Малахов Алексей Петрович (RU)
(73) Патентообладатель(и):
Новосибирский Государственный Технический Университет (RU)
|
(54) ЭЛЕКТРОНЕФТЕКАЧАЛКА
(57) Реферат:
Устройство предназначено для использования в технике добычи нефти штанговыми глубинными насосными установками путем непосредственной установки привода этой установки на устье нефтяной скважины. Электронефтекачалка содержит линейный асинхронный или синхронный двигатель, состоящий из ферромагнитного цилиндрического статора с катушками по внутренней его поверхности и полого цилиндрического якоря с короткозамкнутыми обмотками по его внешней поверхности. Двигатель помещен в цилиндрическую герметичную оболочку. Все образованные полости частично заполнены охлаждающей жидкостью и полностью газом повышенного давления. На днище якоря установлена штанговая колонна с уплотнениями в днище герметичной оболочки. Этим днищем электронефтекачалка установлена на обсадную трубу. Якорь имеет датчики положений, которыми система частотного питания и управления переключает направления движения штанг. Устройство имеет крайне простую конструкцию, мала ее металлоемкость, повышается надежность работы и из-за однократного преобразования энергии и выполнения балансировки повышенным давлением газа в полостях уменьшается энергопотребление. 2 з.п. ф-лы, 1 ил.
Изобретение относится к технике добычи нефти и предназначено для использования в приводах глубинных скважинных штанговых насосных установок, непосредственно сочленёных с обсадными трубами путем их установки на устье нефтяной скважины.
Известна электронефтекачалка (а.с. СССР №989139 кл. F04В 47/02, «Привод скважинной штанговой насосной установки»), содержащая фундамент с рельсовыми путями, корпус, электродвигатель, жестко соединенный с корпусом, блок управления с датчиками реверса, винтовой преобразователь вращательного движения в поступательное, состоящий из гайки, жестко сочлененной с ротором электродвигателя и ходового винта, механический рекуператор энергии, включающий в себя два вращающихся элемента с размещенными на них гибкими звеньям, концы которых шарнирно соединены с одной стороны с противовесом, а с другой – с траверсой, связанной с колонной насосных штанг.
Достоинством этой электронефтекачалки является наличие механического рекуператора энергии в виде противовеса, компенсирующего вес штанговой колонны с плунжерным насосом, благодаря которому снижается мощность электродвигателя и, как результат, уменьшается энергопотребление привода.
Недостатком этой электронефтекачалки является пониженный ресурс, обусловленный консольностью закрепления винтого преобразователя вращательного движения в поступательное и негерметичностью корпуса привода за счет наличия в нем прорезей для пропуска гибких элементов, соединяющих через шкив противовес и траверсу, связанную с колонной насосных штанг, что предопределяет возможность заноса посредством гибких элементов загрязнений из атмосферы на винт преобразователя вращательного движения в поступательное. Недостатком известной электронефтекачалки является также значительная собственная масса, обусловленная наличием противовеса. Кроме того, эта электронефтекачалка характеризуется недостаточным вентиляционным обдувом электродвигателя вследствие низкой частоты вращения управляемого реверсивного электродвигателя при непосредственном сочленении ротора с винтовым преобразователем вращательного движения в поступательное. Вращение вентилятора, сочлененного с валом электродвигателя, с частотой, значительно меньшей по сравнению с номинальной, обуславливает неэффективность работы встроенного вентилятора. Это обстоятельство предопределяет необходимость использования в этой электронефтекачалке электродвигателя заведомо большей мощности, что неизбежно приводит к возрастанию ее массы и большому энергопотреблению.
Известна так же электронефтекачалка [патент РФ №2191925, кл. 7 F04В 47/02 «Мехатронная нефтекачалка»], являющаяся прототипом предлагаемого изобретения, содержащая цилиндрический корпус, электропривод, двигатель которого сочленен с корпусом, блок управления с датчиками положения, винтовой преобразователь вращательного движения в поступательное, состоящий из ходовой гайки и винта, сочлененного посредством передаточного звена с валом электродвигателя, минимум один пневмоцилиндр, сочлененный с корпусом электронефтекачалки, который снабжен подшипниковым щитом с минимум двумя сквозными отверстиями, винт преобразователя установлен в подшипнике указанного щита, ходовая гайка снабжена минимум одним штоком, расположенным в одном из сквозных отверстий щита и своим концом, сочлененным с элементом передачи осевого усилия, поршневой шток пневмоцилиндра расположен в другом сквозном отверстии подшипникового щита и сочленен с элементом передачи осевого усилия, электродвигатель электропривода электронефтекачалки снабжен защитным кожухом с минимум одним отверстием, пневмоцилиндр снабжен выхлопными патрубком, конец которого расположен в указанном отверстии.
Недостатком этой электронефтекачалки является конструктивная сложенность, большие массогабаритные показатели и, как следствие, большое энергопотребление и низкая надежность.
Задачей изобретения является упрощение конструкции электронефтекачалки, уменьшение ее массогабаритных показателей, уменьшение энергопотребления и увеличение надежности ее работы.
Указанная задача достигается тем, что в электронефтекачалку, содержащую цилиндрический корпус, электромеханический привод с системой питания и управления, датчики положений, в электронефтекачалку введены цилиндрический линейный электропривод, корпус с повышенным давлением негорючего газа, частично заполненный негорючей охлаждающей жидкостью, трубопроводы с обратным клапаном и быстроразъемным соединением, с указателем давления и защитным клапаном, причем электромеханический привод электронефтекачалки выполнен в виде ферромагнитного полого цилиндра-якоря с короткозамкнутой обмоткой по его внешней поверхности и с глухой верхней крышкой, этот цилиндр-якорь помещен в цилиндрический корпус электронефтекачалки с возможностью возвратно-поступательного перемещения, в котором в верхней части расположен статор линейного электродвигателя, выполненный в виде катушек и зубцов по внутренней поверхности этого цилиндрического корпуса с возможностью герметичного возвратно-поступательного перемещения в нем упомянутого цилиндра-якоря, а цилиндрический корпус электронефтекачалки, в свою очередь, помещен в цельнометаллический герметичный кожух, частично заполненный негорючей жидкостью и полностью газом повышенного давления и установленный на обсадную трубу скважины с колонной насосных штанг, которые через уплотнения связаны с нижней крышкой ферромагнитного полого цилиндра-якоря, которая через отверстия гидравлически связана с полой камерой в нижней части цилиндрического корпуса, также, в свою очередь, гидравлически связанного с нижней частью кожуха, который, кроме того, снабжен трубопроводом с быстроразъемным соединением, обратным клапаном и защитным клапаном, низ и верх цилиндрического корпуса электронефтекачалки снабжен ограничителем хода цилиндра-якоря.
Кроме того, устройство может быть выполнено с полым цилиндром-якорем из ферромагнитного и электропроводного материала.
Устройство также может быть выполнено с полым цилиндром-якорем из ферромагнитного материала с катушками возбуждения, а по внешней поверхности образованных полюсов выполнены короткозамкнутые токопроводящие кольца.
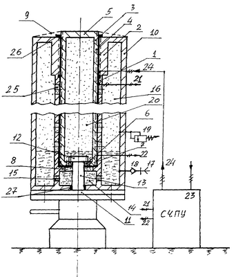
На чертеже приведен продольный разрез предлагаемой электронефтекачалки.
Электронефтекачалка содержит цилиндрический корпус 1 со статором 2 линейного асинхронного двигателя, внутри которого с возможностью возвратно-поступательного перемещения установлен трубчатый цилиндр-якорь 3 с короткозамкнутыми кольцами 4 из токопроводящего материала. Цилиндр-якорь 3 имеет глухую крышку 5 в верхней части и днище 6 с отверстиями 7. Днище 6 лежит на ограничителе хода вниз 8, а крышка имеет ограничитель хода вверх 9. Цилиндрический корпус электронефтекачалки помещен в герметичный кожух 10, который своим днищем уложен и неподвижно закреплен на устье нефтяной скважины 11. На днище цилиндра-якоря 3 установлен фланец 12 колонны насосных штанг 13 герметично, но подвижно установленной в днище герметичного кожуха 10. Под днищем цилиндра-якоря 6, опертом на ограничитель 8, образована полость 14, связанная через отверстия 15 с полой камерой 16 герметичного кожуха 10. В кожухе 10 установлен трубопровод с быстроразъемным соединениям 17 и обратным клапаном 18. Здесь же может быть установлен указатель давления в кожухе (на чертеже не показан). На кожухе также установлен защитный клапан 19. Кожух 10, полость 14 и низ цилиндра-якоря 20 частично заполнены теплопроводящей негорючей жидкостью, а весь оставшийся объем кожуха и цилиндр-якоря заполнен негорючим и теплоотводящим газом повышенного давления. В цилиндрический кожух электронефтекачалки вмонтированы датчики верхнего 21 и нижнего 22 положений цилиндра-якоря. Система частотного питания и управления (СЧПУ) 23 подключена к статору линейного асинхронного двигателя трехфазным кабелем 24. Цилиндрический корпус электронефтекачалки имеет отверстия 25. Статор 2 имеет подшипники-уплотнители 26, а штанга 13 имеет уплотнители 27.
Электронефтекачалка работает следующим образом.
Установленная на устье скважины 11 электронефтекачалка через быстроразъемное соединение 17 и обратный клапан 18, полости 14 и 20 частично заполняются негорючей охлаждающей жидкостью, а затем полностью заполняются негорючим газом повышенного давления. Давление газа выбирается таким образом, чтобы практически полностью уравновесить вес колонны штанг в скважине и столб поднимаемой жидкости (нефти). Включается система частотно-регулируемого питания и управления СЧПУ 23 и она через кабель 24 подает на статор 2 необходимое напряжение с расчетной частотой. Причем подаваемая частота линейного асинхронного двигателя выбирается из соотношения  =V/2 , где V – необходимая скорость подъема плунжера насоса электронефтекачалки (м/с), – полюсное деление статора линейного асинхронного двигателя (м). В воздушном зазоре статора 2 создается бегущее магнитное поле, оно наводит токи в короткозамкнутых кольцах 4 цилиндра-якоря 3, которые, взаимодействуя с бегущим потоком статора, создают необходимое тяговое усилие. Это усилие начинает перемещать цилиндр-якорь 3 в верхнее положение. Нижняя крышка 6 цилиндра-якоря, выйдя из зоны действия датчика положения 21, создает в нем сигнал, который реверсирует систему управления 23, и цилиндр-якорь 3 вместе с колонной насосных штанг 13 тормозится, начинает движение вниз, и, дойдя до датчика положения 22, система управления 23 вновь переводится в состояние для движения якоря в верхнем направлении. Цикл работы электронефтекачалки повторяется. Жидкость и газ повышенного давления в полостях 14, 16, 20 эффективно отводят тепло от якоря 3, его короткозамкнутых колец 4 и обмоток статора 2 к корпусу 1 и к герметичной оболочке 10, которая выполняется с развитой поверхностью. Отверстия 25 служат для лучшего съема тепла с цилиндра-якоря 4. Уплотнители 27 являются одновременно и подшипниками между оболочкой 10 и верхней штангой с фланцем 12, а уплотнители 26 являются и подшипниками между статором 2 и цилиндром-якорем 3. Ограничители 8 и 9, соответственно, ограничивают ход цилиндра-якоря вместе со штангами в нижнее и верхнее положение. Защитный клапан 19 служит для защиты электронефтекачалки в случае ее перегрева и превышения внутреннего давления газа в полостях 14, 16, 20 выше установленного. Скорость перемещения штанг и, соответственно, плунжера электронефтекачалки регулируется изменением частоты на выходе СЧПУ 23, а амплитуда перемещений якоря рассчитывается и регулируется по времени подъема якоря, в верхнее положение, начиная от момента подачи сигнала нижним датчиком положения 22. Крайнее верхнее положение цилиндра-якоря и, соответственно, плунжера определяется сигналом датчика верхнего положения 21.
Предложенная конструкция электронефтекачалки отличается своей простотой из-за полного отсутствия вращающихся элементов, наличия только одного возвратно-поступательно перемещающегося приводного цилиндра-якоря, полного отсутствия механической связи между этим цилиндром-якорем и статором линейного электродвигателя, который одновременно выполняет функции обычно очень сложного механического редуктора с большим передаточным коэффициентом, надежностью в работе и из-за однократного преобразования энергии малым энергопотреблением. Энергопотребление также значительно уменьшается из-за полной балансировки давлением газа в полостях 16, 20 колонны штанг и столба жидкости в насосной колонне труб.
Кроме того, предложенная электронефтекачалка имеет высокие условия для автоматизации, имеет значительно меньшие массогабаритные показатели, облегчаются строительно-монтажные работы.
Выполнение цилиндра-якоря 3 электронефтекачалки из литого электропроводящего и ферромагнитного сплава, например, сталемедного сплава марки СМ-20, СМ-19 значительно облегчает ее изготовление при серийном производстве, а выполнение этого же цилиндра-якоря в виде чередующихся полюсов с короткозамкнутыми кольцами в этих полюсах и с обмотками возбуждения превращает линейную асинхронную машину электронефтекачалки в линейную синхронную, в которой еще больше улучшаются ее энергетические показатели.
Формула изобретения
1. Электронефтекачалка, содержащая цилиндрический корпус, электромеханический привод с системой питания и управления, датчики положений, отличающаяся тем, что в электронефтекачалку введены цилиндрический линейный электропривод, корпус с повышенным давлением негорючего газа, частично заполненный негорючей охлаждающей жидкостью, трубопроводы с обратным клапаном и быстроразъемным соединением, с указателем давления и защитным клапаном, причем электромеханический привод электронефтекачалки выполнен в виде ферромагнитного полого цилиндра-якоря с короткозамкнутой обмоткой по его внешней поверхности и с глухой верхней крышкой, этот цилиндр-якорь помещен в цилиндрический корпус электронефтекачалки с возможностью возвратно-поступательного перемещения, в котором в верхней части расположен статор линейного электродвигателя, выполненный в виде катушек и зубцов по внутренней поверхности этого цилиндрического корпуса с возможностью герметичного возвратно-поступательного перемещения в нем упомянутого выше цилиндра-якоря, а цилиндрический корпус электронефтекачалки, в свою очередь, помещен в цельнометаллический герметичный кожух, частично заполненный негорючей жидкостью и полностью газом повышенного давления и установленный на обсадную трубу скважины с колонной насосных штанг, которые через уплотнения связаны с нижней крышкой ферромагнитного полого цилиндра-якоря, которая через отверстия гидравлически связана с полой камерой в нижней части цилиндрического корпуса, тоже в свою очередь гидравлически связанного с нижней частью кожуха, который, кроме того, снабжен трубопроводом с быстроразъемным соединением, обратным клапаном, и защитным клапаном, низ и верх цилиндрического корпуса электронефтекачалки снабжен ограничителями хода цилиндра-якоря.
2. Электронефтекачалка по п.1, отличающаяся тем, что полый цилиндр-якорь электронефтекачалки выполнен из ферромагнитного и электропроводного материала.
3. Электронефтекачалка по п.1, отличающаяся тем, что полый цилиндр-якорь электронефтекачалки выполнен с катушками возбуждения, а по внешней поверхности образованных его полюсов выполнены короткозамкнутые токопроводящие кольца.
РИСУНКИ
|
|