|
|
(21), (22) Заявка: 2005138631/06, 12.12.2005
(24) Дата начала отсчета срока действия патента:
12.12.2005
(46) Опубликовано: 20.10.2007
(56) Список документов, цитированных в отчете о поиске:
GB 2024313 А, 09.01.1980. RU 2105196 C1, 20.02.1998. SU 1132053 A, 30.12.1984. SU 1267045 A1, 30.10.1986. SU 1377455 A1, 29.02.1988.
Адрес для переписки:
426063, г.Ижевск, ул. Орджоникидзе, 2, ОАО “Ижевский завод нефтяного машиностроения”, патентно-информационное бюро
|
(72) Автор(ы):
Даутов Тагир Михайлович (RU), Огнев Михаил Ефимович (RU), Торхов Игорь Николаевич (RU), Клюев Сергей Иванович (RU)
(73) Патентообладатель(и):
ОАО “Ижевский завод нефтяного машиностроения” (“Ижнефтемаш”) (RU)
|
(54) СТАНОК-КАЧАЛКА
(57) Реферат:
Устройство предназначено для использования в области нефтяного машиностроения, в частности в нефтедобывающем оборудовании, в станках-качалках для эксплуатации скважин, оборудованных штанговыми насосами. Станок-качалка содержит раму, стойку с шарнирной опорой, на которой установлен балансир с головкой с возможностью его продольного перемещения и кривошипно-шатунный механизм с приводом. Шарнирная опора снабжена средством скольжения и механизмом продольного перемещения балансира. Средство скольжения выполнено в виде подпружиненных роликов, упирающихся в опорную плоскость тела балансира, а механизм перемещения балансира выполнен в виде ручного червячно-реечного привода. Шарнирная опора и балансир скреплены винтовым откидным замком. Уменьшается трудоемкость, повышается производительность, обеспечивается безопасность при выполнении работ по освобождению около устьевой зоны перед проведением ремонтных и профилактических работ на скважине, а также упрощается конструкция станка-качалки. 1 з.п.ф-лы, 6 ил.
Изобретение относится к области нефтяного машиностроения, в частности к нефтедобывающему оборудованию, а конкретнее к станкам-качалкам для эксплуатации скважин, оборудованных штанговыми насосами.
Известен станок-качалка (варианты) (патент RU №2105196, кл. F04В 47/02, 1998 г). Станок-качалка согласно первому варианту содержит раму, стойку с опорной площадкой, на которой посредством центрального подшипника смонтирован балансир с головкой и кривошипно-шатунный механизм с приводом. Опорная площадка смонтирована на стойке шарнирно с возможностью поворота. Поворот опорной площадки для освобождения околоустьевой зоны для выполнения подземных работ на скважине осуществляется с помощью ручного винтового привода или кривошипно-шатунного механизма станка-качалки.
Согласно второму варианту станок-качалка содержит раму, установленную на ней стойку, на которой посредством центрального подшипника смонтирован балансир с головкой и кривошипно-шатунный механизм с приводом. Стойка смонтирована на раме шарнирно и снабжена ручным винтовым приводом ее поворота.
К недостатку станка-качалки (первый вариант) следует отнести то, что в случае использования в качестве привода кривошипно-шатунного механизма станка-качалки требуется достаточно высокая временная точность при отключении двигателя и торможении во избежание ударов в крайних положениях при повороте опоры балансира.
Недостатком использования винтового ручного привода (первый и второй варианты) является значительная трудоемкость и длительность выполнения операции подъема и отвода стойки с балансиром от устья скважины.
Наиболее близким по технической сущности (прототипом) является привод глубинного штангового насоса (патент GB №2024313 кл. F04В 47/02, 1980 г).
Привод глубинного штангового насоса содержит шарнирную опору, на которой установлен балансир с головкой, на боковых сторонах опоры балансира имеются направляющие для продольного перемещения балансира. В качестве средств скольжения используются размещенные в опоре четыре ролика с небольшим выступанием над опорной плоскостью балансира. Продольное перемещение балансира осуществляется с помощью гидроцилиндра. В начале движения, балансир накатываясь на выступающие ролики, слегка приподнимается над опорой и далее движется на роликах до упора.
Основным недостатком станка-качалки является использование гидропривода для продольного перемещения балансира, что существенно усложняет конструкцию станка-качалки и требует высокой квалификации операторов по обслуживанию и ремонту. Кратковременность и эпизодичность использования гидропривода в станке-качалке для отката балансира ставит под сомнение целесообразность его применения. Кроме того, следует иметь ввиду неизбежное понижение надежности гидросистемы при эксплуатации станка-качалки в условиях низких температур.
Технической задачей, поставленной в изобретении, является уменьшение трудоемкости, повышение производительности, обеспечение безопасности при выполнении работ по освобождению околоустьевой зоны перед проведением ремонтных и профилактических работ на скважине, а также упрощение конструкции станка-качалки.
Эта задача достигается тем, что в станке-качалке, содержащем раму, стойку с шарнирной опорой, на которой установлен балансир с головкой с возможностью его продольного перемещения по опоре и кривошипно-шатунный механизм с приводом, при этом шарнирная опора снабжена средством скольжения и механизмом продольного перемещения балансира, согласно изобретению, средство скольжения выполнено в виде подпружиненных роликов, упирающихся в опорную плоскость тела балансира, а механизм перемещения балансира выполнен в виде ручного червячно-реечного привода, шарнирная опора и балансир скреплены винтовым откидным замком.
Использование подпружиненных роликов в качестве опор качения балансира при его отводе от устья скважины существенно облегчает и ускоряет выполнение этой операции. Это достигается за счет того, что при откреплении балансира от шарнирной опоры перед выполнением отката ролики автоматически под действием стержневых пружин приподнимают его на небольшую фиксированную высоту над опорной плоскостью шарнирной опоры. Откат балансира на роликах не требует больших усилий. Для этого достаточно применение ручного червячно-реечного привода, приводимого в действие одним оператором, находящимся на площадке обслуживания опоры балансира. Опора балансира двуплечего станка-качалки при его работе подвержена реверсивной нагрузке. В результате чего возможно ослабление крепления балансира в шарнирной опоре. Наличие откидного винтового замка позволяет повысить надежность их взаимного крепления.
Кроме того, при таком исполнении шарнирной опоры балансира отпадает необходимость во взаимной подвижности тела и головки балансира. Они могут быть выполнены как единое целое, так и раздельными (при их больших габаритах.). Это позволит существенно упростить конструкцию балансира и станка-качалки.
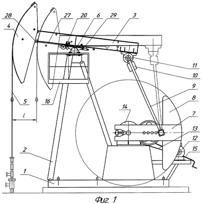
На фиг.1 представлен общий вид двуплечего станка-качалки с контуром балансира в отведенном от устья скважины положении, на фиг.2 – одноплечий станок-качалка с контуром балансира в отведенном от устья скважины положении с отведенным балансиром, на фиг.3 изображена шарнирная опора двуплечего станка-качалки, на фиг.4 – вид Д фиг.3, на фиг.5 – вид Г фиг.4, на фиг.6 – сечение А-А фиг.4.
Станок-качалка содержит раму 1, стойку 2, балансир 3 с головкой 4, канатную подвеску 5, шарнирную опору 6 балансира 3, кривошипно-шатунный механизм, состоящий из кривошипов 7 с контргрузами 8, шатунов 9, траверсы 10 с шарнирной опорой 11, привод, включающий двигатель 12, ременную передачу 13, редуктор 14, тормоз 15, площадку обслуживания 16. Шарнирная опора 6 балансира 3 состоит из опорной плиты 17, прижимов 18 для закрепления балансира 3 на опоре 6 направляющих штифтов 19, ручного привода 20, включающего червячную и реечную передачи 21 и 22 соответственно, подпружиненных опорных роликов 23 с осями 24 и стержневыми пружинами 25, откидного винтового замка 26. На теле балансира неподвижно закреплены зубчатая рейка 27, а также передний и задний упоры 28 и 29 соответственно.
При ремонте скважины освобождение зоны обслуживания осуществляется путем перемещения балансира по опоре. Перемещение балансира осуществляется с помощью ручного червячно-реечного привода.
Отвод балансира 3 от устья скважины выполняется в следующей последовательности. Кривошипы 7 устанавливаются в горизонтальное положение в направлении от скважины, фиксируются тормозом 15 и стопором шкива редуктора (не показан), устьевой шток устанавливается на зажим, канатная подвеска 5 отсоединяется от устьевого штока. Затем размыкается и откидывается вниз винтовой замок 26, ослабляются гайки прижимов 18, При этом балансир 3 под действием стержневых пружин 25 приподнимается над плоскостью опорной плиты 17 и становится на опорные ролики 23. Вращением рукоятки ручного привода 20 балансир 3 откатывается на расстояние L от оси устья скважины до упора 28. Действия выполняются оператором с площадки обслуживания 16. Возврат балансира в переднее до упора 29 положение осуществляется в обратной последовательности.
В одноплечих станках-качалках нагрузка в опоре балансира всегда направлена в одну сторону. В связи с этим дополнительного крепления балансира в шарнирной опоре винтовым откидным замком не требуется.
Таким образом, при использовании предлагаемой конструкции станка-качалки процесс освобождения устья скважины становится безопасным и удобным. Вследствие этого уменьшается трудоемкость и повышается производительность отвода балансира перед выполнением ремонтных и профилактических подземных работ на скважине.
На момент подачи заявки имеется рабочая документация на двуплечий и одноплечий станки-качалки, разработанная согласно заявки.
Формула изобретения
1. Станок-качалка, содержащий раму, стойку с шарнирной опорой, на которой установлен балансир с головкой с возможностью его продольного перемещения и кривошипно-шатунный механизм с приводом, при этом шарнирная опора снабжена средством скольжения и механизмом продольного перемещения балансира, отличающийся тем, что средство скольжения выполнено в виде подпружиненных роликов, упирающихся в опорную плоскость тела балансира, а механизм перемещения балансира выполнен в виде ручного червячно-реечного привода.
2. Станок-качалка по п.1, отличающийся тем, что шарнирная опора и балансир скреплены винтовым откидным замком.
РИСУНКИ
|
|