|
(21), (22) Заявка: 2005141202/06, 29.12.2005
(24) Дата начала отсчета срока действия патента:
29.12.2005
(46) Опубликовано: 20.10.2007
(56) Список документов, цитированных в отчете о поиске:
US 4522026 А, 11.06.1985. FR 2548267 A1, 04.01.1985. PR 2502697 A1, 01.10.1982. US 4423593 A, 03.01.1984. SU 565553 A, 26.06.2005. SU 714032 A, 05.02.1980.
Адрес для переписки:
125362, Москва, ул. Вишневая, 7, ГУП ТМКБ “Союз”
|
(72) Автор(ы):
Бардычев Александр Сергеевич (RU), Лызлов Михаил Глебович (RU), Страшелюк Вячеслав Алексеевич (RU), Чистотин Владимир Петрович (RU)
(73) Патентообладатель(и):
ГОСУДАРСТВЕННОЕ УНИТАРНОЕ ПРЕДПРИЯТИЕ ТУШИНСКОЕ МАШИНОСТРОИТЕЛЬНОЕ КОНСТРУКТОРСКОЕ БЮРО “СОЮЗ” (ГУП ТМКБ “СОЮЗ”) (RU)
|
(54) СПОСОБ ОБЕСПЕЧЕНИЯ НЕПРЕРЫВНОЙ ЭКСПЛУАТАЦИИ ГАЗОТУРБИННОЙ УСТАНОВКИ (ВАРИАНТЫ)
(57) Реферат:
Способ обеспечения непрерывной эксплуатации газотурбинной установки и его вариант заключаются в измерении давлений и температуры газа перед силовой турбиной, сравнивании полученных замеров с предельно допустимой температурой t4пред перед силовой турбиной и регулировании мощности в зависимости от полученных результатов, уменьшая последнюю при превышении предельно допустимого значения температуры. Дополнительно измеряют давление и температуру газа после силовой турбины. В случае невозможности замера температуры газа перед силовой турбиной при отказе термопар, расположенных перед ней, продолжают эксплуатацию газотурбинной установки, а температуру t4i газа перед силовой турбиной определяют по защищаемым настоящим изобретением уравнениям. Изобретение позволяет предотвратить преждевременный останов газотурбинной установки при отказе термопар, измеряющих температуру газа перед силовой турбиной, и обеспечивает поддержание постоянной мощности установки. 2 н.п. ф-лы, 1 ил
Изобретение относится к области газотурбинного машиностроения для наземных энергетических установок.
При эксплуатации газотурбинных установок (ГТУ) необходимым условием является обеспечение заданной мощности установки в течение межремонтного ресурса, составляющего, как правило, несколько тысяч часов. Мощность ГТУ обеспечивается работой газа в силовой турбине (СТ) газотурбинного привода (ГТП) и зависит от температуры газа t4 перед СТ (см. Бикчентай Р., Ванчин А. «Диагностика технического состояния газотурбинных приводов ГПА», журнал «Газотурбинные технологии», №6 (27), с.37, 2003 г.). Температура газа измеряется с помощью термопар, установленных в проточной части ГТП, и не должна превышать предельно допустимого значения (tпред), определенного из условия прочности элементов силовой турбины. При возникновении опасности увеличения температуры газа перед СТ сверх предельного значения (t4пред), например, из-за повышения температуры окружающего воздуха на входе в газогенератор (ГГ) или из-за загрязнения проточной части ГТП, уменьшают мощность ГТУ, понижая температуру газа перед СТ до величины t4зам4пред, т.е. мощность ГТУ регулируется в зависимости от t4.
Так как термопары, установленные в потоке газа перед СТ, работают длительное время, соответствующее межремонтному ресурсу ГТП, в условиях высоких температур и больших скоростей газа, то возможны их отказы и, как следствие, досрочный останов ГТУ с целью недопущения перегрева и разрушения элементов СТ в условиях неконтролируемой температуры газа. Однако досрочный останов ГТУ приводит в этом случае к большим и неоправданным экономическим потерям.
Задачей, на решение которой направлено настоящее изобретение, является предотвращение преждевременного останова ГТУ при отказе термопар, измеряющих температуру газа перед СТ, и обеспечение возможности поддержания заданной мощности ГТУ при недопущении, в то же время, перегрева СТ.
Поставленная задача решается за счет того, что в способе обеспечения непрерывной эксплуатации газотурбинной установки, заключающемся в измерении давления и температуры газа перед силовой турбиной, сравнивании полученных замеров с предельно допустимой температурой t4пред перед силовой турбиной и регулировании мощности в зависимости от полученных результатов, уменьшая последнюю при превышении предельно допустимого значения температуры, согласно изобретению дополнительно измеряют давление и температуру газа после силовой турбины, в случае невозможности замера температуры газа перед силовой турбиной при отказе термопар, расположенных перед ней, продолжают эксплуатацию газотурбинной установки, а температуру t4i газа перед силовой турбиной определяют из следующего уравнения
t4i=t5зам.i+(t4зам.-t5зам.)(P4зам.i– P5зам.i)/(P4зам.-P5зам.),
где t4i – температура газа перед силовой турбиной, определенная для i-того момента времени после отказа термопар;
t4зам. – последнее, замеренное до отказа термопар, значение температуры газа перед силовой турбиной;
t5зам. – последнее, замеренное до отказа термопар, значение температуры газа за силовой турбиной;
t5зам.i – температура газа за силовой турбиной, замеренная в i-тый момент времени после отказа термопар;
Р4зам.i – давление газа перед силовой турбиной, замеренное в i-тый момент времени после отказа термопар;
P4зам. – последнее, замеренное до отказа термопар, значение давления газа перед силовой турбиной;
Р5зам.i – давление газа за силовой турбиной, замеренное в i-тый момент времени после отказа термопар;
Р5зам. – последнее, замеренное до отказа термопар, значение давления газа за силовой турбиной.
Поставленная задача также решается за счет того, что в способе обеспечения непрерывной эксплуатации газотурбинной установки, заключающемся в измерении давления и температуры газа перед силовой турбиной, сравнивании полученных замеров с предельно допустимой температурой t4пред перед силовой турбиной и регулировании мощности в зависимости от полученных результатов, уменьшая последнюю при превышении предельно допустимого значения температуры, согласно изобретению дополнительно измеряют давление и температуру газа после силовой турбины, в случае невозможности замера температуры газа перед силовой турбиной при отказе термопар, расположенных перед ней, продолжают эксплуатацию газотурбинной установки, при этом регулирование мощности в зависимости от температуры рабочего тела перед силовой турбиной осуществляют до отказа термопар, расположенных перед ней, а после отказа термопар регулируют в зависимости от температуры газа после силовой турбины, сравнивая ее с предельным значением температуры рабочего тела после силовой турбины, определенным из следующего уравнения
t5пред.i=t4пред.-(t4зам.-t5зам.)(P4зам.i-P5зам.i)/(P4зам.-P5зам.),
где t5пред.i – предельная температура газа за силовой турбиной, определенная для i-того момента времени после отказа термопар;
t4зам. – последнее, замеренное до отказа термопар, значение температуры газа перед силовой турбиной;
t5зам. – последнее, замеренное до отказа термопар, значение температуры газа за силовой турбиной;
Р4зам.i – давление газа перед силовой турбиной, замеренное в i-тый момент времени после отказа термопар;
Р4зам. – последнее, замеренное до отказа термопар, значение давления газа перед силовой турбиной;
Р5зам.i – давление газа за силовой турбиной, замеренное в i-тый момент времени после отказа термопар;
Р5зам. – последнее, замеренное до отказа термопар, значение давления газа за силовой турбиной.
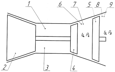
На чертеже изображен ГТП, в котором реализуются описываемые способы. Газотурбинный привод содержит: газогенератор 1, компрессор 2, камеру сгорания 3, турбину 4 привода компрессора 2, а также силовую турбину 5. Перед и после силовой турбины 5 размещены термопары 6, 8 и датчики 7, 9 для измерения давления газа.
При работе ГТУ постоянно измеряется и контролируется температура газа как перед СТ 5 (t4), так и за СТ 5 (t5). Так как эти температуры связаны прямой зависимостью, выражаемой формулой (см. «Теория автоматического управления силовыми установками летательных аппаратов» под ред. Шевякова А.А. М.: Машиностроение, 1976, с.50).
T5*=T4*(1- ст(1- ст *-(к-1)/K)),
где T5* и Т4* – абсолютные значения температур за СТ 5 и перед СТ 5;
ст – коэффициент полезного действия СТ 5;
ст – степень расширения газа в СТ 5;
к – показатель адиабаты,
то можно определить при заданной мощности ГТУ разность температур tст=t4зам-t5зам, замеренных термопарами 6 (t4зам.) и 8 (t5зам.).
При выходе из строя еще до выработки межремонтного ресурса ГТП термопар 6, измеряющих температуру газа перед СТ 5, следует определить разность температур газа перед СТ 5 и за СТ 5 по последним измерениям температуры газа при еще работающих термопарах 6 перед СТ 5 по формуле:

а эксплуатацию ГТУ продолжить.
При дальнейшей эксплуатации ГТУ вплоть до выработки межремонтного ресурса температуру газа перед силовой турбиной 5 следует вычислять для любого i-того значения времени по формуле:

где t5зам.i – температура за СТ 5, измеренная в i-тый момент времени после отказа термопар 6 перед СТ 5;
tст – разность температур газа перед СТ 5 и за СТ 5, вычисленная до отказа термопар 6 перед СТ 5.
Затем сравниваются значения вычисленной температуры газа t4i и предельно допустимой температуры газа t4пред. При t4i4пред эксплуатацию ГТУ следует продолжать при заданной мощности, а при t4i>t4пред следует перейти на меньшую мощность ГТУ, при которой температура газа за СТ 5 в следующий i+1 момент времени t5.i+1 будет меньше замеренной в i-тый момент времени (t5i+15.i) и, следовательно, вычисленная температура газа перед СТ 5 в i+1 момент времени будет меньше предельно допустимого значения -t4i+14пред.
Однако газодинамические параметры газотурбинного привода, в том числе и силовой турбины, в ходе длительной эксплуатации постепенно ухудшаются. Поэтому для поддержания заданной мощности ГТУ, которая определяется работой силовой турбины, зависящей от теплоперепада на ней, необходимо соответственно повышать, при неизменном значении температуры газа за СТ 5, температуру газа перед СТ 5, т.е. разность tст будет постепенно увеличиваться, в результате чего вычисленное значение t4 и фактическое значение t4фi будут отличаться.
Для устранения этого расхождения при измерении температуры t5i вычисляемое значение температуры t4i следует корректировать путем уточнения величины tстi. Для этого используем значения давления газа перед СТ 5 (P4) и за СТ 5 (Р5), которые замеряются датчиками 7 и 9 в ходе эксплуатации и зависят от температуры газа. Чем выше температура газа, тем выше его давление, и наоборот.
В момент времени, для которого, после отказа термопары 6, вычисляется величина tст, по замеренным значениям давлений Р4 и Р5 определяется их разность:

и запоминается.
В последующий контрольный i-тый момент времени (после отказа термопары 6) измеряется давление P4зам.i и P5зам.i и определяется их разность:

Затем производится корректировка значения tст для i-того момента времени по формуле:

С использованием уточненного по формуле (5) значения разности температур газа перед СТ 5 и за СТ 5 для i-того момента времени
вычисляется температура газа перед СТ по формуле:

Затем вычисленное значение t4i сравнивается с предельно допустимым значением t4пред.
Так как регулирование мощности ГТУ в зависимости от температуры газа в газовоздушном тракте ГТП осуществляется автоматически, то при отказе термопар 6 перед СТ 5 алгоритм определения tст, его корректировки в ходе дальнейшей работы ГТУ и вычисления величины t4 может быть введен в систему автоматического управления.
При другом способе регулирования мощности ГТУ в зависимости от температуры газа в газовоздушном тракте, при котором по вычисленному и скорректированному по формуле (5) значению разности температур tстi вычисляется предельно допустимая температура газа за СТ 5:
T5пред.i=t4пред– tстi.
При отказе термопар 6, измеряющих температуру газа t4 перед СТ 5, эксплуатацию ГТУ следует продолжить при условии обеспечения контроля температуры газа t5 за СТ 5, сравнивая ее значения с вычисленным и уточненным для i-того момента времени предельно допустимым значением t5пред.i.
При t5зам.i5пред.i, где t5зам.i – температура газа за СТ 5 в i-тый момент времени, эксплуатацию ГТУ следует продолжать, а при t5зам.i>t5пред.i следует перейти на меньшую мощность ГТУ, при которой замеряемая температура газа за СТ 5 в момент времени i+1 будет меньше вычисленной для момента времени i+1 предельно допустимой, т.е. t5зам.i+15пред.i+1.
Так как температура и скорость потока газа за СТ 5 существенно меньше, чем перед СТ 5, то надежность работы термопар 8 за СТ 5 наоборот существенно выше, и регулирование мощности ГТУ и контроль температуры газа перед СТ 5 по вычисленному значению t4i, которая должна быть меньше предельно допустимой (t4i4пред.), или регулирование мощности ГТУ и контроль температуры газа за СТ 5 t5зам.i, которая должна быть меньше вычисленного предельно допустимого значения t5пред.i., позволят продолжить эксплуатацию ГТУ при отказе термопар 6 перед СТ 5 и не допустить перегрева элементов СТ 5 и их разрушения.
Формула изобретения
1. Способ обеспечения непрерывной эксплуатации газотурбинной установки, заключающийся в измерении давлений и температуры газа перед силовой турбиной, сравнивании полученных замеров с предельно допустимой температурой t4пред перед силовой турбиной и регулировании мощности в зависимости от полученных результатов, уменьшая последнюю при повышении предельно допустимого значения температуры, отличающийся тем, что дополнительно измеряют давление и температуру газа после силовой турбины, в случае невозможности замера температуры газа перед силовой турбиной при отказе термопар, расположенных перед ней, продолжают эксплуатацию газотурбинной установки, а температуру t4i газа перед силовой турбиной определяют из следующего уравнения
t4i=t5зам.i+(t4зам.-t5зам.)(P4зам.i-P5зам.i)/(P4зам.-P5зам.)
где t4i – температура газа перед силовой турбиной, определенная для i-того момента времени после отказа термопар;
t4зам. – последнее, замеренное до отказа термопар значение температуры газа перед силовой турбиной;
t5зам – последнее, замеренное до отказа термопар значение температуры газа за силовой турбиной;
t5зaм.i – температура газа за силовой турбиной, замеренная в i-тый момент времени после отказа термопар;
P4зам.i – давление газа перед силовой турбиной, замеренное в i-тый момент времени после отказа термопар;
P4зам. – последнее, замеренное до отказа термопар значение давления газа перед силовой турбиной;
P5зам.i – давление газа за силовой турбиной, замеренное в i-тый момент времени после отказа термопар;
P5зам. – последнее, замеренное до отказа термопар значение давления газа за силовой турбиной.
2. Способ обеспечения непрерывной эксплуатации газотурбинной установки, заключающийся в измерении давлений и температуры газа перед силовой турбиной, сравнивании полученных замеров с предельно допустимой температурой t4пред перед силовой турбиной и регулировании мощности в зависимости от полученных результатов, уменьшая последнюю при превышении предельно допустимого значения температуры, отличающийся тем, что дополнительно измеряют давление и температуру газа после силовой турбины, в случае невозможности замера температуры газа перед силовой турбиной при отказе термопар, расположенных перед ней, продолжают эксплуатацию газотурбинной установки, при этом регулирование мощности в зависимости от температуры рабочего тела перед силовой турбиной осуществляют до отказа термопар, расположенных перед ней, а после отказа термопар регулируют в зависимости от температуры газа после силовой турбины, сравнивая ее с предельным значением температуры рабочего тела после силовой турбины, определенным из следующего уравнения
t5пред.i=t4пред.-(t4зам.-t5зам.)(P4зам.i-P5зам.i)/(P4зам.-P5зам.),
где t5пред.i – предельная температура газа за силовой турбиной, определенная для i-того момента времени после отказа термопар;
t4зам. – последнее, замеренное до отказа термопар значение температуры газа перед силовой турбиной;
t5зам. – последнее, замеренное до отказа термопар значение температуры газа за силовой турбиной;
Р4зам.i – давление газа перед силовой турбиной, замеренное в i-тый момент времени после отказа термопар;
P4зам. – последнее, замеренное до отказа термопар значение давления газа перед силовой турбиной;
Р5зам.i – давление газа за силовой турбиной, замеренное в i-тый момент времени после отказа термопар;
Р5зам. – последнее, замеренное до отказа термопар значение давления газа за силовой турбиной.
РИСУНКИ
MM4A – Досрочное прекращение действия патента СССР или патента Российской Федерации на изобретение из-за неуплаты в установленный срок пошлины за поддержание патента в силе
Дата прекращения действия патента: 30.12.2009
Извещение опубликовано: 20.10.2010 БИ: 29/2010
|