|
|
(21), (22) Заявка: 2006106421/11, 01.03.2006
(24) Дата начала отсчета срока действия патента:
01.03.2006
(46) Опубликовано: 20.10.2007
(56) Список документов, цитированных в отчете о поиске:
Руководство по организации и проведению переоборудования тракторов для работы на компримированном природном газе. ВРД 39-1.20-019-2000. – М., 2000, с.18-23. RU 2259595 C1, 27.08.2005. RU 2095587 C1, 10.11.1997. RU 2008234 C1, 28.02.1994.
Адрес для переписки:
357000, Ставропольский край, Кочубеевский р-н, с. Кочубеевское, ул. Скрипникова, 98, кв.49, О.П. Наумову
|
(72) Автор(ы):
Наумов Олег Павлович (RU)
(73) Патентообладатель(и):
Наумов Олег Павлович (RU)
|
(54) АВТОМАТИЧЕСКАЯ ГАЗОДИЗЕЛЬНАЯ СИСТЕМА ТРАКТОРА
(57) Реферат:
Изобретение относится к транспортному оборудованию и может быть использовано для сельскохозяйственных тракторов с двигателями, например, ЯМЗ-240Б и ЯМЗ-240БМ с целью организации их работы в газодизельном режиме. Воздушный фильтр с рукавом подачи воздуха соединен со смесителем. К смесителю подсоединен рукав подачи смеси, который соединен с помощью впускной трубы с двигателем. Газобаллонная установка состоит из баллонов, к которым последовательно присоединены трубопроводами расходный вентиль, фильтр газовый, редуктор высокого давления, электромагнитный газовый клапан и редуктор низкого давления. Газовый жиклер установлен в газовыводном канале редуктора низкого давления. Дозатор газа соединен шлангами подачи газа с газовым жиклером и смесителем. Система также снабжена блоком переключения режимов, генератором и электронным блоком электромеханического регулятора. Блок переключения режимов состоит из триггера, преобразователя частоты импульсов в напряжение, порогового детектора, логического устройства, контролирующего устройства и модуля питания. На двигателе установлены датчик температуры, топливный насос высокого давления и генератор с датчиком оборотов. Датчик температуры соединен с триггером, триггер – с логическим устройством, датчик оборотов – с упомянутым преобразователем, преобразователь – с пороговым детектором, а пороговый детектор – с логическим устройством. Последнее связано с электромагнитом механизма ограничителя запальной дозы. Данный ограничитель соединен с топливным насосом. Механизм ограничителя состоит из электромагнита, планки и датчика положения, соединенного с контролирующим устройством. Электронный блок состоит из генератора импульсов, широтно-импульсного модулятора, усилителя и модуля питания. На топливном насосе установлены механический регулятор, рычаг регулятора, механизм ограничителя запальной дозы и датчик положения рычага регулятора, соединенный с широтно-импульсным модулятором. Усилитель и дозатор газа соединены между собой, а наполнительный вентиль соединен с газобаллонной установкой и заправочным устройством. Система характеризуется устойчивой работой на двух видах топлива – дизельном и газодизельном, высокой производительностью, низкими затратами и повышенным качеством работы. 1 ил.
Область техники, к которой относится изобретение.
Изобретение относится к транспортным средствам, в частности к автоматическим газодизельным системам трактора, и может быть использовано для сельскохозяйственных энергонасыщенных тракторов с двигателями, например, ЯМЗ-240Б и ЯМЗ-240БМ с целью организации работы данных тракторов в газодизельном режиме.
Уровень техники
Известен газогенераторный автомобиль, имеющий газогенератор, двигатель внутреннего сгорания, устройство очистки газов (см. Газогенераторный автомобиль – БСЭ, т.10, 1952, с.62-64).
Основными недостатками газогенераторной установки автомобиля являются малый КПД, малая удельная мощность, сложность изготовления и эксплуатации, малый радиус действия автомобиля на одной заправке газогенераторной установки, большие габариты и масса, отнесенные к киловатту мощности двигателя с газогенераторной установкой, использование двигателя с внутренним сгоранием (ДВС), требующего очистки генераторного газа.
Известен газогенераторный трактор, имеющий газогенератор, двигатель внутреннего сгорания, устройство очистки газов, при этом газогенератор подсоединен патрубком к компрессору, поставляющему в него сжатый до 5-10 кг/см2 воздух, и патрубком к цилиндрическому баллону-отстойнику, принимающему от газогенератора вырабатываемый им генераторный газ, двигатель внутреннего сгорания соединен патрубком с баллоном-отстойником генераторного газа и гидрокомпрессором, поставляющим сжатый воздух в 2-3 раза большего давления, чем сжатый воздух, поставляемый компрессором в газогенератор, при этом гидрокомпрессор и двигатель имеют общие камеры высокого и низкого давления воды.
В тракторе газогенератор имеет внутренний корпус и внешний герметичный кожух, между которыми по кольцевому зазору проходит сжатый воздух под колосниковую решетку, под колосниковую решетку проходит от баллона-отстойника трубка с горелкой, в центральной части дна и потолка газогенератора имеются отверстия, в которые ввернуты заглушки, герметизирующие газогенератор.
В тракторе баллон-отстойник имеет два патрубка, идущих от двух газогенераторов и направленных в нижнюю часть баллона-отстойника, имеющую конусную форму, соединенную с верхней его частью, имеющей цилиндрическую форму, при этом от верхней части баллона-отстойника отходит к двигателю патрубок, а нижний конус перекрыт краном и завинчивающейся заглушкой.
В тракторе двигатель внутреннего сгорания имеет блок цилиндров с одной камерой сгорания на все цилиндры этого блока, установленной над блоком цилиндров и соединенной с цилиндрами газоводами, поочередно подключаемыми вращающимся цилиндрическим клапаном, при этом между цилиндрическим клапаном и камерой сгорания установлен клапан, периодически запирающий камеру сгорания в момент заполнения камеры сгорания топливной смесью и воспламенения топливной смеси, камера сгорания имеет клапаны ввода генераторного газа, сжатого воздуха и природного или сжиженного газа, связанные между собой, а также с клапанами выпуска выхлопных газов шестернями, находящимися в зацеплении между собой и с шестерней электродвигателя, цилиндры блока цилиндров имеют плавающие эластичные термоизолирующие поршни, отделяющие воду от выхлопных газов, в нижней части цилиндры имеют самооткрывающиеся клапаны, соединяющие цилиндры с камерами высокого и низкого давления воды, между камерами высокого и низкого давления воды установлена гидротурбина, вал вращения которой входит в коробку передач трактора, камеры высокого и низкого давления воды имеют компенсационные камеры, в которых сжатый воздух отделен от камер высокого и низкого давления с помощью эластичной перегородки, камера высокого давления воды имеет еще управляемую заслонку, перекрывающую поток воды к гидротурбине, камера низкого давления воды имеет отстойную камеру с отверстием, перекрытым завинчивающейся заглушкой, и патрубок с заглушкой, предназначенный для долива в нее воды.
Трактор имеет компрессор первой степени сжатия воздуха, гидрокомпрессор со сдвоенными цилиндрами с общим штоком, на концах которого установлены поршни, проходящим через втулку, соединяющую нижний цилиндр меньшего диаметра с верхним цилиндром большого диаметра, нижний цилиндр имеет управляемые клапаны, соединяющие его верхнюю и нижнюю части относительно его поршня с камерами высокого и низкого давления воды двигателя внутреннего сгорания, верхний цилиндр имеет самооткрывающиеся клапаны, соединяющие его верхнюю и нижнюю части относительно поршня с патрубками, идущими к компрессору первой степени сжатия воздуха и к камере, в которой коаксиально установлена камера сгорания двигателя, на верхнем и нижнем торцах верхнего цилиндра установлены электродатчики положения поршней штока (см. пат. РФ №2095587, кл. F02В 43/08, опубл. 10.11.1997 г.).
Недостатком данного газогенератора является сложность конструкции, невысокий КПД.
Наиболее близкой по технической сущности и достигаемому положительному эффекту и принятой автором за прототип является газодизельная система трактора, содержащая воздушный фильтр с рукавом подачи воздуха, соединенным со смесителем, к последнему подсоединен рукав подачи смеси, который соединен с помощью впускной трубы с двигателем, газобаллонную установку, состоящую из газовых баллонов, укрепленных на задней полураме трактора, при этом к газовым баллонам последовательно присоединены с помощью трубопроводов: расходный вентиль, фильтр газовый, газовый редуктор высокого давления, электромагнитный газовый клапан, газовый редуктор низкого давления, газовый жиклер, шланг подачи газа, соединенный с дозатором газа, шланг подачи газа, соединенный со смесителем, электрическую цепь, соединенную с щитком предохранителей трактора, к которой присоединен включатель с цепью подачи напряжения питания, механизм ограничителя запальной дозы (см. Руководство по организации и проведению переоборудования тракторов для работы на компримированном природном газе. ВРД 39-1.20-019-2000, Москва, 2000, с.18-23).
Недостатком данной газодизельной системы трактора является неустойчивость работы на двух видах топлива – дизельном и газодизельном, невысокая производительность.
Раскрытие изобретения.
Технический результат, который может быть получен с помощью предлагаемого изобретения, сводится к устойчивой работе на двух видах топлива – дизельном и газодизельном, высокой производительности, снижению затрат и повышению качества работы.
Технический результат достигается с помощью автоматической газодизельной системы трактора, содержащей воздушный фильтр с рукавом подачи воздуха, соединенным со смесителем, к последнему подсоединен рукав подачи смеси, который соединен с помощью впускной трубы с двигателем, газобаллонную установку, состоящую из газовых баллонов, укрепленных на задней полураме трактора, при этом к газовым баллонам последовательно присоединены с помощью трубопроводов: расходный вентиль, фильтр газовый, газовый редуктор высокого давления, электромагнитный газовый клапан, газовый редуктор низкого давления, газовый жиклер, шланг подачи газа, соединенный с дозатором газа, шланг подачи газа, соединенный со смесителем, электрическую цепь, соединенную с щитком предохранителей трактора, к которой присоединен включатель с цепью подачи напряжения питания, механизм ограничителя запальной дозы, при этом она снабжена блоком переключения режимов, генератором и электронным блоком, причем блок переключения режимов состоит из модуля питания, триггера, цепи, преобразователя, аналоговой цепи, порового детектора, сигнальной цепи, логического устройства и контролирующего устройства, причем к цепи подачи напряжения питания присоединен модуль питания, который посредством цепи соединен с «массой» трактора, а на двигателе установлены датчик температуры, топливный насос высокого давления и генератор, на последнем установлен датчик оборотов, при этом датчик температуры посредством цепи соединен с триггером, триггер с помощью цепи соединен с логическим устройством, датчик оборотов соединен с «массой» трактора и посредством цепи с преобразователем, который с помощью цепи соединен с пороговым детектором, а пороговый детектор с помощью цепи соединен с логическим устройством, которое с помощью цепи управления соединено с цепями управления и питания, при этом цепь управления соединена с электромагнитом механизма ограничителя запальной дозы, последний соединен с топливным насосом высокого давления, а механизм ограничителя запальной дозы состоит из электромагнита ограничителя, планки и датчика положения, при этом последний с помощью цепи соединен с контролирующим устройством, цепь управления электромагнитным газовым клапаном соединена с электромагнитным газовым клапаном, а к цепи управления присоединен электронный блок, который состоит из модуля питания, генератора импульсов, сигнальных цепей, широтно-импульсного модулятора, усилителя, при этом цепь питания соединяет цепь управления с модулем питания, который с помощью цепи соединен с «массой» трактора, причем на топливном насосе высокого давления установлены механический регулятор, рычаг регулятора, механизм ограничителя запальной зоны, датчик положения рычага регулятора, при этом последний с помощью цепи соединен с широтно-импульсным модулятором, а жгут управления соединяет усилитель с дозатором газа, наполнительный вентиль соединен с газобаллонной установкой и заправочным устройством.
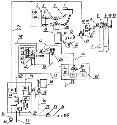
На чертеже дана функциональная схема автоматической газодизельной системы трактора, общий вид.
Осуществление изобретения
Автоматическая газодизельная система трактора состоит из воздушного фильтра 1 с рукавом 2 подачи воздуха, соединенным со смесителем 3, к последнему подсоединен рукав 4 подачи смеси, который соединен с помощью впускной трубы (не показана) с двигателем 5, газобаллонной установки (не пронумерована), состоящей из 18 газовых баллонов 6 с Р=20 МПа, укрепленных на задней полураме трактора (не показана), при этом к газовым баллонам 6 последовательно присоединены: трубопроводы 7, расходный вентиль 8, трубопровод 9, фильтр газовый 10, трубопровод 11, газовый редуктор 12 высокого давления, трубопровод 13, электромагнитный газовый клапан 14, трубопровод 15, газовый редуктор 16 низкого давления, газовый жиклер 17, шланг 18 подачи газа, дозатор 19 газа, шланг 20, а к шлангу 20 присоединен смеситель 3, электрической цепи 21, присоединенной к щитку (не показан) предохранителей трактора (клемма + 12 В), причем к электрической цепи 21 присоединен включатель 22, к которому присоединена цепь 23 подачи напряжения питания, к цепи 23 присоединены электронный блок 24 переключения режимов (БПР), который состоит из модуля 25 питания, триггера 26, цепи 27, преобразователя 28, аналоговой цепи 29, порогового детектора 30, сигнальной цепи 31, логического устройства 32 и контролирующего устройства 33, при этом к цепи 23 подачи напряжения питания присоединен модуль 25 питания, к которому присоединена цепь 34, соединяющая модуль 25 питания с «массой» трактора, а на двигателе 5 установлен датчик 35 температуры, цепь 36 соединяет датчик 35 температуры с триггером 26, цепь 27 соединяет триггер 26 с логическим устройством 32, генератор 37 установлен на двигателе 5, а датчик 38 оборотов установлен на генераторе 37, цепь 39 соединяет датчик 38 оборотов с «массой» трактора, цепь 40 соединяет датчик 38 оборотов с преобразователем 28, а цепь 29 соединяет преобразователь 28 с пороговым детектором 30, цепь 31 соединяет последний с логическим устройством 32, а цепь 41 управления соединяет логическое устройство 32 с цепями 42 управления и 43 питания, цепь 42 управления соединена с электромагнитом 44 механизма 45 ограничителя запальной дозы, последний соединен с топливным насосом 46 высокого давления (ТНВД), при этом в механизме 45 ограничителя установлены: электромагнит 44 ограничителя, планка 47 и датчик 48 положения, цепь 49 соединяет датчик 48 положения с контролирующим устройством 33, цепь 50 соединена с электромагнитным газовым клапаном 14, а к цепи 41 управления присоединен электронный блок 51 электронно-механического регулятора (ЭМР), который состоит: из модуля 52 питания, генератора 53 импульсов, сигнальной цепи 54, широтно-импульсного модулятора 55, сигнальной цепи 56, усилителя 57. Цепь 43 питания соединяет цепь 41 управления с модулем 52 питания, цепь 58 соединяет модуль 52 питания с «массой» трактора. На двигателе 5 установлен топливный насос 46 высокого давления, а на последнем установлены: механический регулятор 59, рычаг 60 регулятора 59, механизм 45 ограничителя, датчик 61 положения рычага 60 регулятора 59, а цепь 62 соединяет датчик 60 положения с широтно-импульсным модулятором 55, жгут 63 управления соединяет усилитель 57 с дозатором 19 газа, наполнительный вентиль 64 соединен с газобаллонной установкой и заправочным устройством 65.
Автоматическая газодизельная система трактора работает следующим образом.
Атмосферный воздух, необходимый для работы двигателя трактора, поступает в воздушный фильтр 1. После очистки в фильтре 1 воздух по рукаву 2 поступает в смеситель 3. Газо-воздушная смесь образуется в смесителе 3 и по рукаву 4 поступает во впускную трубу двигателя 5, например ЯМЗ-240Б.
Газообразное топливо (метан) хранится в 18 газовых баллонах 6, две секции по 9 газовых баллонов 6 в каждой, соединенных между собой трубопроводами 7 (газобаллонная установка показана упрощенно).
При открытом расходном вентиле 8 газ из газобаллонной установки поступает по трубопроводу 9 в газовый фильтр 10. Из фильтра 10 газ поступает по трубопроводу 11 в газовый редуктор 12 высокого давления, где давление газа снижается с 20 МПа до 0,8-1,0 МПа. Подогрев редуктора 12 высокого давления осуществляется охлаждающей жидкостью двигателя 5. Из редуктора 12 высокого давления газ по трубопроводу 13 поступает в электромагнитный газовый клапан 14. При открытом электромагнитном клапане 14 газ по трубопроводу 15 поступает в газовый редуктор 16 низкого давления, где давление газа снижается до 0,1 МПа. В корпусе редуктора 16, в газовыводном канале (не показан) установлен главный газовый жиклер 17, необходимый для ограничения подачи газа при максимальной мощности двигателя 5. Газ из редуктора 16 низкого давления через жиклер 17 и шланг 18 подачи попадает в дозатор 19 газа. Отрегулированное количество газа из дозатора 19 по шлангу 20 попадает в смеситель 3.
Система автоматического переключения режимов работы двигателя: электронно-механическая. В механическую часть системы входит механизм 45 ограничителя запальной дозы, который включает в себя электромагнит 44, планку 47, датчик 48 положения. Электронная часть системы включает в себя: цепь 21, включатель 22, цепь 23, электронный блок 24 (БПР), который включает в себя: модуль 25 питания, триггер 26, цепь 27, преобразователь 28, аналоговую цепь 29, пороговый детектор 30, сигнальную цепь 31, логическое устройство 32, контролирующее устройство 33. В электронную часть системы входят также: цепь 34, датчик 35 температуры охлаждающей жидкости, цепь 36, датчик 38 оборотов и цепи: 39, 40, 41, 42, 49, 50.
При включении газодизельной системы включателем 22 напряжение питания (+12 В) подается из щитка предохранителей трактора (не показан) по цепи 21 через включатель 22, цепи 23 и 34 к электронному блоку 24 БПР, к его модулю 25 питания. Из модуля 25 питания питающие напряжения подводятся к элементам электронного блока 24 БПР: триггеру 26, преобразователю 28, пороговому детектору 30, логическому устройству 32, контролирующему устройству 33.
Далее, если двигатель 5 не запущен и не прогрет, сопротивление датчика 36 превышает 400 Ом (температура двигателя менее 40°С), триггер 26 находится в состоянии (0), напряжение в цепи 27 недостаточно для включения логического устройства 32. На выходе логического устройства 32 (цепь 41) установится напряжение 0, электромагнит 44 механизма 45 не будет воздействовать на планку 47 и рейку ТНВД 46 (не показана), контакты датчика 48 будут «замкнуты», при этом цепь 49 будет иметь соединение (через контакты датчика 48) с «массой» трактора, на выходе контролирующего устройства 33 (цепь 50) установится напряжение 0 и электромагнитный клапан 14 будет закрыт. Система ЭМР будет выключена, так как в цепи 43 напряжение равно 0. При этом двигатель 5 будет работать в дизельном режиме, так как рейка ТНВД 46 будет «освобождена» механизмом 45, а подача газа прекращена клапаном 14. В этом состоянии газодизельная система будет находиться, пока температура охлаждающей жидкости менее 40°С. При этом включение газодизельного режима будет невозможным на любых оборотах двигателя 5. Если температура охлаждающей жидкости двигателя 5 по мере прогрева последнего превысит 40°С, сопротивление датчика 35 будет менее 400 Ом, при этом триггер 26 переключится в состояние «1», установит в цепи 27 напряжение «+12 В», что приведет логическое устройство 32 в состояние ожидания включения от сигнала цепи 31. Если двигатель 5 работает, при вращении генератора 37 в датчике 38 оборотов возникают импульсы, которые по цепям 39 и 40 проходят на вход преобразователя 28. На выходе преобразователя 28 (цепь 29) устанавливается напряжение, пропорциональное частоте импульсов датчика 38 оборотов, т.е. частоте вращения коленчатого вала (к.в.) двигателя 5. Если частота вращения коленчатого вала двигателя 5 менее 1200 оборотов в минуту, напряжение в аналоговой цепи 29 недостаточно для срабатывания порогового детектора 30 и в сигнальной цепи 31 установится напряжение 0, логическое устройство 32 не изменит свое состояние, в цепи 41 управления будет напряжение 0, двигатель 5 будет работать в дизельном режиме. При увеличении частоты вращения коленчатого вала двигателя 5 из-за увеличения нажатия на педаль акселератора трактора или из-за уменьшения нагрузки на двигатель 5 обороты коленчатого вала могут превысить 1200 оборотов в минуту. Тогда увеличится частота следования импульсов датчика 38 оборотов, и на выходе преобразователя 28 (аналоговая цепь 29) увеличится напряжение пропорционально увеличению оборотов к.в. двигателя 5. Напряжение в цепи 29 будет достаточно для срабатывания порогового детектора 30, он сработает и установит в сигнальной цепи 31 напряжение «+12 В», что приведет к срабатыванию логического устройства 32 (т.к. двигатель 5 прогрет и на втором входе логического устройства (цепь 27) напряжение «+12 В». Срабатывание логического устройства 32 установит в цепи 41, 42, 43 напряжение «+12 В», что включит электромагнит 44 и систему ЭМР. Электромагнит 44 приведет в действие механизм 45 ограничителя запальной дозы, а планка 47 данного механизма ограничит ход рейки ТНВД 46. Датчик 48 разомкнет свои контакты, разобщив с «массой» цепь 49, что приведет к срабатыванию контролирующего устройства 33, в цепи 50 установится напряжение «+12 В», что приведет к включению подачи газа клапаном 14 и системы ЭМР. Двигатель 5 при этом начнет работать в газодизельном режиме, т.к. подача диз. топлива уменьшена механизмом 45, а подача газа включена клапаном 14, включена также и система ЭМР. При уменьшении оборотов к.в. двигателя 5 менее 1100 об/мин из-за чрезмерной нагрузки или педалью акселератора автоматически включится дизельный режим, затем после увеличения оборотов к.в. двигателя 5 более 1200 об/мин будет включен газодизельный режим и т.д.
Система электронно-механического регулирования (ЭМР) предназначена для регулирования подачи газа в смеситель 3 в соответствии с режимами работы двигателя 5. Главный принцип работы системы ЭМР – всережимное количественное регулирование подачи газа. Система ЭМР состоит из двух частей: электронной и механической.
Механическая часть – доработанный всережимный механический регулятор 59 топливного насоса высокого давления (ТНВД) 46, рычаг 60 регулятора 59, датчик 61 положения рычага 60 регулятора 59, дозатор 19 газа.
Электронная часть системы ЭМР – цепь 43, цепь 58, сигнальная цепь 54, жгут 63, электронный блок 51 ЭМР, который включает в себя элементы: модуль 52 питания, генератор 53 импульсов, сигнальную цепь 56, широтно-импульсный модулятор 55, сигнальную цепь 62, усилитель 57.
Система ЭМР работает только в газодизельном режиме работы двигателя 5. Включается система напряжением «+12 В» в цепи 41 системы автоматического переключения режимов работы двигателя 5. При включении газодизельного режима в цепи 41 устанавливается напряжение «+12 В», которое по цепи 43 поступает в модуль 52 питания электронного блока 51 ЭМР, цепь 58 соединяет модуль питания 52 с «массой» трактора. Модуль 52 питания стабилизирует напряжение питания элементов: генератора 53 импульсов, широтно-импульсного модулятора 55, усилителя 57 электронного блока 51 (ЭНР).
Так как частота вращения к.в. двигателя 5 в газодизельном режиме превышает 1200 об/мин, при вращении ТНВД 46 механический регулятор 59 управляет рычагом 60, вызывая перемещение штока датчика 61. Датчик 61 изменяет свое сопротивление в зависимости от положения своего штока. Так как датчик 61 подключен цепью 54 к широтно-импульсному модулятору 55, а на второй вход широтно-импульсного модулятора 55 подключен цепью 56 генератор импульсов 53, на выходе широтно-импульсного модулятора 55 формируются импульсы, скважность которых изменяется пропорционально изменению сопротивления датчика 61. Данные импульсы по цепи 62 поступают на вход усилителя 57, где усиливаются по мощности и по жгуту 63 управляют дозатором 19 газа. Дозатор 19 газа под действием сигналов управления, поступающих по жгуту 63, изменяет свое проходное сечение путем открывания на определенную величину заслонки и регулирует количество проходящего через него газа, так как давление газа на входе в дозатор 19 стабилизировано газовым редуктором 16.
Система ЭМР непрерывно и бесступенчато анализирует степень соответствия оборотов к.в. двигателя 5 степени нажатия педали акселератора (не показан). В случае обнаружения несоответствия указанных степеней друг другу вследствие изменения нажатия педали акселератора или изменения оборотов двигателя из-за увеличения механической нагрузки система определяет, какой из факторов преобладает и в зависимости от этого изменяет подачу газа дозатором 19.
Данная конструкция разработана для модификации сельскохозяйственных энергонасыщенных тракторов К-701 с двигателями ЯМЗ-240 Б и ЯМЗ-240 БМ, в газобалонный вариант с целью организации работы данных тракторов в газодизельном режиме, с коэффициентом замены дизельного топлива компримированным природным газом (КПГ) до 80%, и при этом данная конструкция позволяет при необходимости включать дизельный режим работы двигателя, причем газодизельная часть системы не влияет на работу дизельной части, а также сохраняются все тяговые характеристики трактора, мощностные и топливо-экономические показатели работы двигателя.
Предлагаемое изобретение по сравнению с прототипом и другими известными техническими решениями имеет следующие преимущества:
– устойчивость работы на двух видах топлива – дизельном и газообразном;
– высокую производительность;
– снижение затрат и повышение качества и надежности работы.
Формула изобретения
Автоматическая газодизельная система трактора, содержащая воздушный фильтр с рукавом подачи воздуха, соединенный со смесителем, к последнему подсоединен рукав подачи смеси, который соединен с помощью впускной трубы с двигателем, газобаллонную установку, состоящую из укрепленных на задней полураме трактора газовых баллонов, к которым последовательно присоединены с помощью трубопроводов расходный вентиль, фильтр газовый, газовый редуктор высокого давления, электромагнитный газовый клапан и газовый редуктор низкого давления, газовый жиклер, установленный в газовыводном канале газового редуктора низкого давления, и дозатор газа, соединенный шлангами подачи газа с газовым жиклером и смесителем, цепь подачи напряжения питания, соединенную через выключатель со щитком предохранителей трактора, и механизм ограничителя запальной дозы, отличающаяся тем, что она снабжена блоком переключения режимов, генератором и электронным блоком электромеханического регулятора, при этом блок переключения режимов состоит из триггера, преобразователя частоты импульсов в напряжение, порогового детектора, логического устройства, контролирующего устройства и модуля питания, подключенного к цепи подачи напряжения питания и соединенного с “массой” трактора, на двигателе установлены датчик температуры, топливный насос высокого давления и генератор, на последнем установлен датчик оборотов, датчик температуры соединен с триггером, триггер – с логическим устройством, датчик оборотов – с упомянутым преобразователем и с “массой” трактора, преобразователь – с пороговым детектором, а пороговый детектор – с логическим устройством, которое с помощью цепи управления и питания соединено с электромагнитом механизма ограничителя запальной дозы, последний соединен с топливным насосом высокого давления, механизм ограничителя запальной дозы состоит из электромагнита ограничителя, планки и датчика положения, соединенного с контролирующим устройством, к которому подключена цепь управления электромагнитным газовым клапаном, электронный блок электромеханического регулятора состоит из генератора импульсов, широтно-импульсного модулятора, усилителя и модуля питания, подключенного к упомянутой цепи управления и питания и соединенного с “массой” трактора, на топливном насосе высокого давления установлены механический регулятор, рычаг регулятора, механизм ограничителя запальной дозы и датчик положения рычага регулятора, соединенный с широтно-импульсным модулятором, усилитель и дозатор газа соединены между собой посредством жгута управления, а наполнительный вентиль соединен с газобаллонной установкой и заправочным устройством.
РИСУНКИ
|
|