|
| На основании пункта 3 статьи 13 Патентного закона Российской Федерации от 23 сентября 1992 г. № 3517-I патентообладатель обязуется передать исключительное право на изобретение (уступить патент) на условиях, соответствующих установившейся практике, лицу, первому изъявившему такое желание и уведомившему об этом патентообладателя и федеральный орган исполнительной власти по интеллектуальной собственности, – гражданину РФ или российскому юридическому лицу. |
|
(21), (22) Заявка: 2005135601/03, 16.11.2005
(24) Дата начала отсчета срока действия патента:
16.11.2005
(43) Дата публикации заявки: 10.06.2007
(46) Опубликовано: 20.10.2007
(56) Список документов, цитированных в отчете о поиске:
SU 1716148 A1, 28.02.1992. SU 1416706 A1, 15.08.1988. SU 1518531 A1, 30.10.1989. SU 1633134 A1, 07.03.1991. SU 1661434 A1, 07.07.1991. US 4112813 A, 12.09.1978. DE 4332654 A1, 30.03.1995.
Адрес для переписки:
652884, Кемеровская обл., г. Междуреченск, ул. Кузнецкая, 8-80, В.И. Попову
|
(72) Автор(ы):
Попов Виктор Иванович (RU)
(73) Патентообладатель(и):
Попов Виктор Иванович (RU)
|
(54) ПОДАТЛИВАЯ АНКЕРНАЯ КРЕПЬ
(57) Реферат:
Изобретение относится к горнодобывающей отрасли и может быть использовано для крепления горных выработок. Обеспечивает необходимую податливость крепи с заданным сопротивлением. Крепь включает закрепляемый в массиве анкер с наружным резьбовым концом, опорный элемент, деформируемый элемент в виде закрепляемой на анкере насадки с внутренней резьбой и наружными выступами и деформирующий элемент в виде свободно насаженной на насадку проставки с торцевым круговым лезвием. Наружные выступы насадки деформируемого элемента выполнены продольными с несквозными канавками. Они расположены на расстоянии от нижнего конца насадки с образованием сплошного опорного пояса для торцевого кругового лезвия с окружностью по контуру выступов. Днища несквозных канавок являются продолжением верхней цилиндрической части насадки и выполнены в виде направляющих поверхностей для торцевого кругового лезвия. 1 ил.
Изобретение относится к горнодобывающей отрасли и может быть использовано при изготовлении податливых анкеров для крепления горных выработок.
Известна рамно-анкерная крепь (а.с. № 1716148 A1, E21D 11/14, 29.02.1992 г.), включающая податливую раму, жесткие анкеры с резьбой на выступающих в выработку концах, соединенные между собой посредством планки и гаек, при этом крепь снабжена навинченными на выступающие части анкеров цилиндрическими стержнями с кольцевыми выступами на наружной поверхности, которые выполнены в виде приливов, причем цилиндрические стержни в местах соединения с концами анкеров имеют размещенные на внешней поверхности режущие втулки с продольными прорезями и наружной конической резьбой, а гайки навинчены на коническую резьбу втулок.
Недостатком крепи является нестабильная скачкообразная работа узлов податливости арки и цилиндрических стержней с приливами, срезаемыми режущими втулками.
Наиболее близкой к заявленной по технической сущности является комбинированная крепь (а.с. № 1783118 A1, E21D 11/14, 1992 г.), включающая податливую арку и взаимодействующие с ней посредством контактирующих с днищем спецпрофиля арки скоб анкеры, каждый из которых имеет стержень с гайкой и узел податливости регулируемого сопротивления с резцами, при этом узел податливости каждого анкера выполнен в виде гильзы с цилиндрическим каналом, при этом канал со стороны дна гильзы имеет увеличенный диаметр, а сопряжение каналов – форму уступа, причем узел податливости снабжен тягой с гайками и скрепленным с верхним концом тяги конусом, а каждый анкерный стержень выполнен из двух частей, одна из которых жестко скреплена с дном гильзы, а другая выполнена полой и размещена внутри цилиндрического канала, причем полая часть имеет на конце конусное расширение с продольными разрезами, при этом тяга установлена внутри полой части анкерного стержня, а резцы на внешней поверхности его конусного расширения выполнены с возможностью взаимодействия последнего с конусом тяги, а резцов – с уступом, причем скобы выполнены гибкими и имеют на контактирующих с днищем спецпрофиля арки частях свободно насаженные на них обоймы.
Недостатком этой крепи является многодетальность и сложность конструкции ее податливого устройства (анкера), необходимость регулирования сопротивления податливости вручную (“вращая тягу 17”, лист 3).
Целью изобретения является обеспечение работоспособности анкерной крепи с относительно постоянным сопротивлением в податливом режиме при расширении области ее применения.
Технический результат достигается тем, что анкерная податливая крепь включает закрепляемый в массиве анкер с наружным резьбовым концом, опорный элемент, деформируемый элемент в виде закрепляемой на анкере насадки с внутренней резьбой и наружными выступами и деформирующий элемент в виде свободно насаженной на насадку проставки с торцевым круговым лезвием, при этом наружные выступы насадки деформируемого элемента выполнены продольными с несквозными канавками, расположенными на расстоянии от нижнего конца насадки с образованием сплошного опорного пояса для торцевого кругового лезвия с окружностью по контуру выступов, при этом днища несквозных канавок являются продолжением верхней цилиндрической части насадки и выполнены в виде направляющих поверхностей для торцевого кругового лезвия.
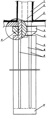
На чертеже показан боковой вид крепи.
Анкерная податливая крепь включает закрепляемый в шпуре 1 анкер 2 с наружным резьбовым концом, опорный элемент 3 в виде шайбы или верхняка, деформируемый элемент 6 в виде закрепляемой на анкере 2 насадки 6 с внутренней резьбой с верхней цилиндрической частью 7 и продольными наружными выступами 8 с несквозными канавками 9 между ними и с нижним опорным поясом 10; деформирующий элемент 4 в виде свободно насаженной на насадку 6 проставки с торцевым круговым лезвием 5.
Монтаж крепи осуществляется следующим образом: в шпуре 1 закрепляется известным способом анкер 2, на его наружный резьбовой конец устанавливается опорный элемент 3 и навинчивается насадка 6 с предварительно насаженным на ее верхнюю цилиндрическую часть 7 деформирующим элементом 4, круговое лезвие которого после закрепления насадки на анкере опирается на выступы 8, а верхняя цилиндрическая часть 7 насадки проходит через отверстие опорного элемента 3 и размещается в шпуре 1.
Работа крепи: давление массива через опорный элемент 3 передается на деформирующий элемент 4, круговое лезвие 5 которого опирается на наружные выступы 8 насадки. По мере деформации (срезания) выступов 8 при критических нагрузках опорный элемент 3 и деформирующий элемент 4 перемещаются вдоль закрепленной на анкере 2 насадки 6, а ее верхняя цилиндрическая часть 7 и деформированная часть без срезанных выступов 8 свободно входят в шпур 1.
Количество выступов 8 и канавок 9 определяется несущей способностью крепи, при этом днища канавок являются продолжением верхней цилиндрической части 7 насадки 6, т.е. днища канавок выполняют роль направляющих поверхностей для лезвия 5 деформирующего элемента 4, обеспечивая соосное с насадкой его смещение без перекосов.
Канавки 9 не сквозные, оканчиваются они на определенном расстоянии от нижнего конца насадки 6, в результате чего сформирован сплошной опорный пояс 10 для лезвия 5 деформирующего элемента 4 с окружностью по контуру выступов 8.
Крепь работает с относительно постоянным сопротивлением, равным усилию срезания выступов 8, в податливом режиме с заданной величиной деформации, определяемой длиной выступов 8 насадки 6. После упора лезвия 5 деформирующего элемента 4 в опорный пояс 10 сопротивление деформации значительно возрастает за счет увеличения деформируемой площади и крепь начинает работать практически в жестком режиме с сопротивлением, равным несущей способности наиболее слабого элемента крепи (замка анкера – стержня анкера – резьбового соединения анкера). Наличие опорного пояса на конце насадки исключает внезапную потерю сопротивления крепи и ее разрушение.
Область применения предлагаемой крепи может быть значительно расширена в сравнении с жесткой анкерной крепью; в частности, крепь может успешно использоваться в выработках, проводимых в пучащих массивах: по мере “срабатывания” насадок (срезания их опорных выступов) и поддира выдавливаемых в выработку вмещающих пород крепь не нужно демонтировать и заменять другой – замене подлежат только деформированные насадки. В подобных случаях, при достаточно заглубленных в массиве анкерах (L 3-5 м), можно сохранять необходимое сечение выработок при неоднократных поддирах пучащих пород с незначительными дополнительными расходами на крепь (замена насадок).
В тяжелых горногеологических условиях, с проявлениями горных ударов и резких осадок кровли, предлагаемая крепь будет работать надежно и тем эффектнее, чем резче проявления горного давления, в результате чего она может быть альтернативной рамным поддерживающим крепям по надежности и стоимости во многих случаях, а также может применяться в комплекте с рамными крепями.
Формула изобретения
Анкерная податливая крепь, включающая закрепляемый в массиве анкер с наружным резьбовым концом, опорный элемент, деформируемый элемент в виде закрепляемой на анкере насадки с внутренней резьбой и наружными выступами и деформирующий элемент в виде свободно насаженной на насадку проставки с торцевым круговым лезвием, отличающаяся тем, что наружные выступы насадки деформируемого элемента выполнены продольными с несквозными канавками, расположенными на расстоянии от нижнего конца насадки с образованием сплошного опорного пояса для торцевого кругового лезвия с окружностью по контуру выступов, при этом днища несквозных канавок являются продолжением верхней цилиндрической части насадки и выполнены в виде направляющих поверхностей для торцевого кругового лезвия.
РИСУНКИ
|
|