|
|
(21), (22) Заявка: 2006120616/03, 13.06.2006
(24) Дата начала отсчета срока действия патента:
13.06.2006
(46) Опубликовано: 20.10.2007
(56) Список документов, цитированных в отчете о поиске:
RU 49109 U1, 10.11.2005. SU 970037 A1, 30.10.1982. SU 1393901 A1, 07.05.1988. SU 1301434 A1, 07.04.1987. SU 1556706 A1, 15.04.1990. RU 46041 U1, 10.06.2005. RU 2193647 C2, 27.11.2002. RU 2242784 C2, 20.12.2004. US 4738313 А, 19.04.1988. US 5209300 А, 11.05.1993. RU 57357 U1, 10.10.2006.
Адрес для переписки:
350051, г.Краснодар, ул. Гаражная, 156, А.Ф. Поезжаеву
|
(72) Автор(ы):
Корженко Михаил Александрович (RU), Лихачев Алексей Васильевич (RU), Юрьев Эдуард Владимирович (RU)
(73) Патентообладатель(и):
Открытое акционерное общество “НПО “Промавтоматика” (RU)
|
(54) УСТРОЙСТВО ДЛЯ КОНТРОЛЯ И РЕГУЛИРОВАНИЯ ПРОЦЕССА ДОБЫЧИ ГАЗА В ГАЗОВЫХ И/ИЛИ ГАЗОКОНДЕНСАТНЫХ СКВАЖИНАХ (ВАРИАНТЫ)
(57) Реферат:
Предлагаемое изобретение относится к устройствам для регулирования потока добываемого газа в скважинах и может быть использовано в нефтегазодобывающей промышленности для регулирования дебита скважин в условиях дефицита электрической энергии на промысле. Техническим результатом изобретения является экономия электроэнергии, потребляемой устройствами при регулировании дебита скважин за счет использования энергии давления метанола или газа. Для этого устройство по одному из вариантов оборудовано системой ввода ингибитора – метанола и содержит контроллер, подключенные к нему источники питания, радиопередающий узел или модем с антенной для обмена информацией с диспетчерским центром, датчик параметров соответствующей газовой и/или газоконденсатной скважины, узел регулирования расхода газа (УРРГ) и узел подачи метанола (УПМ), взаимосвязанные с контроллером. Причем УРРГ содержит управляемый кран с приводом и датчиком положения, а УПМ содержит управляемый кран с приводом и датчик потока метанола. Для каждой скважины в устройство дополнительно введены эжектор, установленный на линии ввода метанола перед УПМ или на газовой линии перед УРРГ, связанный с контроллером электромагнитный распределитель метанола, один из гидравлических входов/выходов которого соединен с приводом управляемого крана УРРГ, а два других соответственно подсоединены к линии ввода метанола и к полости разрежения эжектора. Электромагнитный распределитель метанола конструктивно выполнен в виде герметичного корпуса с тремя отверстиями, внутри которого по осям отверстий установлены подпружиненные стержни, одним концом взаимодействующие с электромагнитом, в магнитной цепи которого установлен постоянный магнит. Другой конец стержня снабжен затвором для перекрытия этих отверстий. Приведен также второй вариант выполнения устройства. 2 н. и 4 з.п. ф-лы, 4 ил.
Предлагаемое изобретение относится к устройствам для регулирования потока добываемого газа в скважинах и может быть использовано в нефтегазодобывающей промышленности для регулирования дебита скважин в условиях дефицита электрической энергии на промысле.
Одной из актуальных задач освоения новых месторождений, а также эффективной эксплуатации уже обустроенных месторождений является контроль и управление работой скважин.
Недостатки оперативного контроля и управления скважинами обусловлены, прежде всего, отсутствием централизованного электроснабжения скважин из-за сложности и дороговизны прокладки линий электропередач.
Кустовой метод сбора газа, когда на единой площадке сосредоточено несколько скважин, работающих на единый газосборный коллектор, позволил существенно снизить удельные затраты на электроснабжение скважин, как, например, на месторождении «Береговое». Вместе с тем повысились и требования к контролю и управлению отдельной скважиной и кустом в целом. Особенно актуальной задачей в настоящее время является обеспечение автоматизированного контроля и управления расходом газа по каждой скважине куста.
Известна система управления каждой скважиной куста (RU № 46041 U1, 7 Е21В 43/12, опубл. 10.06.05 г), содержащая куст скважин с устройством для ввода ингибитора в скважины, ингибиторопровод с блоком подачи ингибитора на куст скважин с УКПГ. Система снабжена переключателем линий ввода ингибитора и на каждой из скважин перед устройством для ввода ингибитора установлено запорное устройство, исполнения «нормально закрыто», а привод устройства соединен с линией ввода ингибитора. Переключатель линий ввода ингибитора содержит герметичный корпус с размещенным в нем распределительным валом с кулачками и соединенным с ним механизмом прерывистого действия, взаимодействующий с этим механизмом подпружиненный шток и установленные в корпусе клапаны, переключающие линии ввода ингибитора поочередно или одновременно по установленному регламенту при взаимодействии с кулачками.
Данная система управления позволяет дистанционно путем изменения давления в ингибиторной линии управлять переключением скважин без использования электрической энергии.
Однако из-за отсутствия возможности регулирования расхода газа по каждой скважине использование этой системы возможно в ограниченных условиях, так как управление скважинами осуществляется путем отключения одной или нескольких скважин куста.
Остановка же скважины, прекращение движения газа, приводит к понижению температуры его в стволе и шлейфе скважины, что, в свою очередь, приводит к отложению гидратов и может привести к ее полному загидрачиванию и выходу из строя.
В условиях северных промыслов (Уренгой, Ямбург) полная остановка скважин недопустима.
Наиболее близким к предлагаемому устройству является «Устройство для контроля и регулирования процесса добычи газа в газовых и/или газоконденсатных скважинах», принятое за прототип (RU № 49109 U1, 7 Е21В 47/00, опубл. 10.11.05 г), содержащее контроллер, источник питания, радиопередающий узел или модем с антенной для обмена информацией с диспетчерским центром, датчик параметров соответствующей газовой и/или газоконденсатной скважины. Источник питания и подключаемые к нему контроллер и элементы радиопередающего узла или модема помещены в корпус, который погружен в грунт полностью или частично. В устройство дополнительно введены узел регулирования расхода газа и узел подачи метанола, причем вышеуказанные узлы взаимосвязаны с контроллером. Устройство снабжено внешним источником питания, который выполнен в виде солнечной батареи, и/или ветрогенератора, и/или термобатареи. Узел регулирования расхода газа содержит управляемый кран с приводом и датчиком положения. Узел подачи метанола содержит управляемый кран с приводом и датчик потока метанола.
Недостатком этого устройства является значительный расход электроэнергии, большая часть которой потребляется приводом управляемого крана в узле регулирования расхода газа из-за малой скорости перемещения запорного органа крана, приводимого в действие электроприводом. Так, при использовании в устройстве наиболее экономичного электропривода марки ЭПР 8/50 Бердского электромеханического завода мощностью 60 ватт при скорости перемещения запорного органа 0,25 мм/сек и ходе в 50 мм кран полностью открывается лишь за 200 секунд, потребив более 3,0 ватт час электроэнергии. По условиям эксплуатации скважин оптимальное время полного открытия управляемого крана на узле регулирования расхода газа не должно превышать более 5 секунд. Для выполнения этого в данном устройстве потребуется увеличить мощность привода в несколько раз, что приведет к дополнительному расходу электроэнергии. Вместе с тем при снижении выработки электроэнергии внешним источником питания в темное время суток и безветренную погоду, для нормального функционирования устройства ее может быть недостаточно.
Задача, на решение которой направлено изобретение, состоит в экономии электроэнергии, потребляемой устройствами при регулировании дебита скважин.
Для достижения названного технического результата первое из предлагаемых устройств для контроля и регулирования процесса добычи газа в газовых и/или газоконденсатных скважинах оборудовано системой ввода ингибитора (метанола) и содержит: контроллер; подключенные к нему источники питания; радиопередающий узел или модем с антенной для обмена информацией с диспетчерским центром; датчик параметров соответствующей газовой и/или газоконденсатной скважины; узел регулирования расхода газа и узел подачи метанола, взаимосвязанные с контроллером, причем узел регулирования расхода газа содержит управляемый кран с приводом и датчиком положения, а узел подачи метанола содержит управляемый кран с приводом и датчик потока метанола.
Новое, что отличает это устройство от прототипа, состоит в том, что в нем для каждой скважины дополнительно введены эжектор, установленный на линии ввода метанола перед узлом подачи метанола или на газовой линии перед узлом регулирования расхода газа, и связанный с контроллером электромагнитный распределитель метанола, один из гидравлических входов/выходов которого соединен с приводом управляемого крана узла регулирования расхода газа, а два других соответственно подсоединены к линии ввода метанола и к полости разрежения эжектора, а сам электромагнитный распределитель метанола конструктивно выполнен в виде герметичного корпуса с тремя отверстиями, внутри которого по осям отверстий установлены подпружиненные стержни, одним концом взаимодействующие с электромагнитом, в магнитной цепи которого установлен постоянный магнит, а другой конец стержня снабжен затвором для перекрытия этих отверстий.
Для достижения того же технического результата второе из предлагаемых устройств для контроля и регулирования процесса добычи газа в газовых и/или газоконденсатных скважинах не оборудовано системой ввода ингибитора (метанола) и содержит: контроллер; подключенные к нему источники питания; радиопередающий узел или модем с антенной для обмена информацией с диспетчерским центром; датчик параметров соответствующей газовой и/или газоконденсатной скважины; узел регулирования расхода газа, связанный с контроллером и содержащий управляемый кран с приводом и датчиком положения.
Новое, что отличает это устройство от прототипа, состоит в том, что в нем для каждой скважины дополнительно введены эжектор, установленный на газовой линии перед узлом регулирования расхода газа, и связанный с контроллером электромагнитный распределитель газа, один из гидравлических входов/выходов которого соединен с приводом управляемого крана узла регулирования расхода газа, а два других соответственно подсоединены к газовой линии и к полости разрежения эжектора, а сам электромагнитный распределитель газа конструктивно выполнен в виде герметичного корпуса с тремя отверстиями, внутри которого по осям отверстий установлены подпружиненные стержни, одним концом взаимодействующие с электромагнитом, в магнитной цепи которого установлен постоянный магнит, а другой конец стержня снабжен затвором для перекрытия этих отверстий, внутренняя полость электромагнитного распределителя газа разделена эластичной мембраной на две герметично изолированные друг от друга полости, причем полость электромагнитного распределителя газа со стороны привода управляемого крана узла регулирования расхода газа заполнена незамерзающей жидкостью.
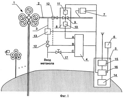
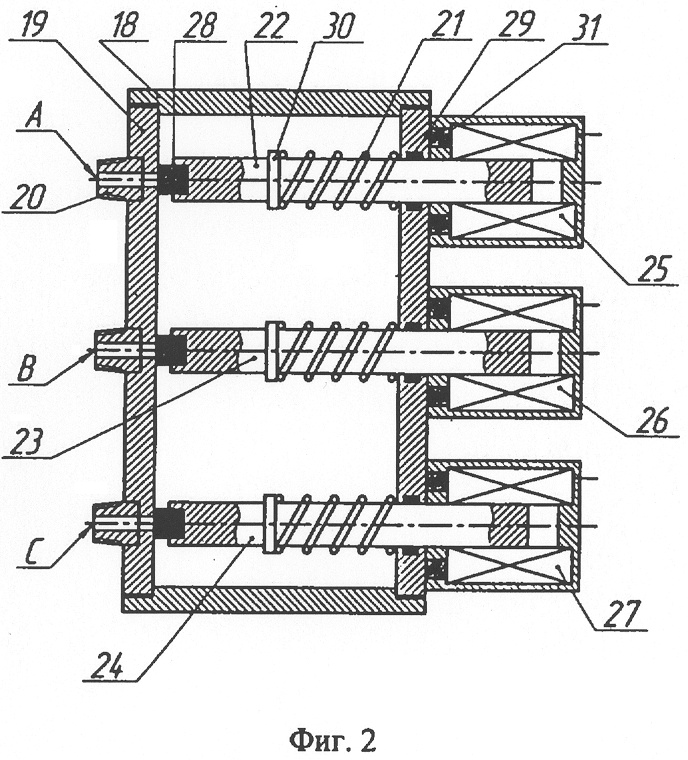
На фиг.1 показана схема устройства по варианту 1; на фиг.2 показан в разрезе электромагнитный распределитель метанола по варианту 1; на фиг.3 показана схема устройства по варианту 2; на фиг.4 показан в разрезе электромагнитный распределитель газа по варианту 2.
Устройство по 1-му варианту (фиг.1) оборудовано системой ввода ингибитора (метанола) и содержит установленную на скважине фонтанную арматуру 1, подключенную к ней газовую линию 2, линию ввода метанола 3, электромагнитный распределитель метанола 4, блок управления 5, внешний источник питания 6, выполненный в виде солнечной батареи и/или ветрогенератора и/или термобатареи. На газовой линии установлены датчик параметров соответствующей газовой и/или газоконденсатной скважины 7, узел регулирования расхода газа 8, содержащий управляемый кран 9 с приводом 10 и датчиком положения 11. На линии ввода метанола установлены эжектор 12 и узел подачи метанола 13. Возможна установка эжектора и на газовой линии (на схеме показано пунктирными линиями). Блок управления представляет собой корпус, погруженный полностью или частично в грунт, содержит взаимосвязанные между собой источник питания 14, радиопередающий узел или модем 15 с антенной для обмена информацией с диспетчерским центром (на схеме не показан), контроллер 16, связанный с внешним источником питания, узлом регулирования расхода газа, датчиком параметров соответствующей газовой и/или газоконденсатной скважины и электромагнитным распределителем метанола, один из гидравлических входов/выходов которого связан с приводом управляемого крана в узле регулирования расхода газа, а два других соответственно подсоединены к линии ввода метанола через кран 17 и к полости разрежения эжектора.
Электромагнитный распределитель метанола (фиг 2) конструктивно выполнен в виде герметичного, закрытого крышками 18 корпуса 19 с тремя выполненными в нем входным/выходным отверстиями А, В и С. Снаружи корпуса по осям этих отверстий вварены три штуцера 20, а внутри – установлены подпружиненные с помощью пружин 21 стержни 22, 23 и 24, одним концом взаимодействующие с соответствующими электромагнитами 25, 26 и 27, а другой конец каждого стержня снабжен жестко связанным с ним затвором 28, перекрывающим соответствующее отверстие в корпусе электромагнитного распределителя метанола. Уплотнительное кольцо 29 обеспечивает герметичность корпуса электромагнитного распределителя метанола при перемещении стержня. Съемное разрезное кольцо 30 служит упором для пружины. В магнитной цепи каждого электромагнита установлен постоянный магнит 31.
Регулирование дебита соответствующей газовой и/или газоконденсатной скважины в этом устройстве осуществляется следующим образом.
Для уменьшения расхода газа кратковременно (1-2 секунды) на электромагниты 25 и 27 подается постоянный ток напряжением 24 вольта, при этом под действием электромагнитных сил стержень 22 втягивается в электромагнит 25 и открывает отверстие А, а стержень 24 втягивается в электромагнит 27 и открывает отверстие С. После снятия напряжения с электромагнитов 25 и 27 стержни 22 и 24 удерживаются магнитным полем постоянных магнитов 31, в результате чего отверстия А и С остаются открытыми и после обесточивания электромагнитов, а через открытый кран 17 и отверстие С метанол поступает во внутреннюю полость электромагнитного распределителя метанола 4 и из нее через отверстие А в привод 10 управляемого крана 9 узла регулирования расхода газа 8, приводя в действие регулирующий орган управляемого крана 9 в сторону уменьшения расхода газа. При достижении требуемого значения расхода газа на электромагниты 25 и 27 кратковременно подается постоянный ток напряжением 3 вольта обратной полярности, при этом их постоянные магниты размагничиваются и под действием пружин 21 стержни 22 и 24 с затворами перекрывают отверстия А и С, прекращая тем самым доступ метанола во внутреннюю полость электромагнитного распределителя метанола 4, одновременно запирая метанол в полости привода 10 управляемого крана 9 узла регулирования расхода газа 8.
Для увеличения расхода газа на электромагнитном распределителе метанола 4 одновременно открываются отверстия А, В и закрывается отверстие С путем подачи на электромагниты 25 и 26 кратковременно постоянного тока напряжением 24 вольта, а на электромагнит 27 постоянного тока напряжением 3 вольта обратной полярности, в результате чего часть метанола из полости привода 10 управляемого крана 9 узла регулирования расхода газа 8 через отверстия А и В электромагнитного распределителя метанола 4 и эжектор 12 стравливается в линию ввода метанола 3 или в газовую линию 2, а под действием возвратной пружины привода 10 регулирующий орган управляемого крана 9 перемещается в сторону увеличения расхода газа. При достижении требуемого значения расхода газа отверстия А и В электромагнитного распределителя метанола 4 закрываются путем кратковременной подачи на электромагниты 25 и 26 постоянного тока напряжением 3 вольта обратной полярности, прекращая тем самым стравливание метанола из внутренней полости электромагнитного распределителя метанола 4 и одновременно запирая метанол в полости привода 10 управляемого крана 9 узла регулирования расхода газа 8.
Устройство по 2-му варианту (фиг.3) не оборудовано системой ввода ингибитора (метанола) и содержит установленную на скважине фонтанную арматуру 1, подключенную к ней газовую линию 2, электромагнитный распределитель газа 4, блок управления 5, внешний источник питания 6, выполненный в виде солнечной батареи и/или ветрогенератора и/или термобатареи. На газовой линии установлены датчик параметров соответствующей газовой и/или газоконденсатной скважины 7, узел регулирования расхода газа 8, содержащий управляемый кран 9 с приводом 10 и датчиком положения 11. На газовой линии установлен эжектор 12. Блок управления представляет собой корпус, погруженный полностью или частично в грунт, содержит взаимосвязанные между собой источник питания 14, радиопередающий узел или модем 15 с антенной для обмена информацией с диспетчерским центром (на схеме не показан), контроллер 16, связанный с внешним источником питания, узлом регулирования расхода газа, датчиком параметров соответствующей газовой и/или газоконденсатной скважины и электромагнитным распределителем газа, один из гидравлических входов/выходов которого связан с приводом управляемого крана в узле регулирования расхода газа, а два других соответственно подсоединены к газовой линии 2 через кран 17 и к полости разрежения эжектора.
Электромагнитный распределитель газа (фиг 4) конструктивно выполнен в виде герметичного, закрытого крышками 18, корпуса 19 с тремя выполненными в нем входным/выходным отверстиями А, В и С. Снаружи корпуса по осям этих отверстий вварены три штуцера 20, а внутри – установлены подпружиненные с помощью пружин 21 стержни 22, 23 и 24, одним концом взаимодействующие с соответствующими электромагнитами 25, 26 и 27, а другой конец каждого стержня снабжен жестко связанным с ним затвором 28, перекрывающим соответствующее отверстие в корпусе электромагнитного распределителя газа. Уплотнительное кольцо 29 обеспечивает герметичность корпуса электромагнитного распределителя газа при перемещении стержня. Съемное разрезное кольцо 30 служит упором для пружины. В магнитной цепи каждого электромагнита установлен постоянный магнит 31. Внутренняя полость электромагнитного распределителя газа разделена эластичной мембраной 32 на две герметично изолированные друг от друга полости Д и Е, причем полость Д электромагнитного распределителя газа со стороны привода управляемого крана узла регулирования расхода газа заполнена незамерзающей жидкостью.
Регулирование дебита соответствующей газовой и/или газоконденсатной скважины в этом устройстве осуществляется следующим образом.
Для уменьшения расхода газа в электромагнитном распределителе газа 4 одновременно открываются отверстия А и С путем кратковременной подачи на электромагниты 25 и 27 постоянного тока напряжением 24 вольта, в результате через открытый кран 17 и отверстие С газ поступает во внутреннюю полость Е электромагнитного распределителя газа 4. Давление в полости Е повышается, воздействует через эластичную мембрану 32 на жидкость в полости Д электромагнитного распределителя газа 4, которая через открытое отверстие А поступает в привод 10 управляемого крана 9 узла регулирования расхода газа 8, приводя в действие регулирующий орган управляемого крана 9 в сторону уменьшения расхода газа. При достижении требуемого значения расхода газа на электромагниты 25 и 27 кратковременно подается постоянный ток напряжением 3 вольта обратной полярности, при этом их постоянные магниты размагничиваются и под действием пружин 21 стержни 22 и 24 с затворами перекрывают отверстия А и С, прекращая тем самым доступ газа во внутреннюю полость Е электромагнитного распределителя газа 4, одновременно запирая жидкость в полости привода 10 управляемого крана 9 узла регулирования расхода газа 8.
Для увеличения расхода газа на электромагнитном распределителе газа 4 одновременно открываются отверстия А, В и закрывается отверстие С путем подачи на электромагниты 25 и 26 кратковременно постоянного тока напряжением 24 вольта, а на электромагнит 27 постоянного тока напряжением 3 вольта обратной полярности, в результате чего часть газа из полости Е электромагнитного распределителя газа 4 через отверстие В и эжектор 12 стравливается в газовую линию 2, давление жидкости в полости Д электромагнитного распределителя газа 4 падает и под действием возвратной пружины привода 10 регулирующий орган управляемого крана 9 перемещается в сторону увеличения расхода газа. При достижении требуемого значения расхода газа отверстия А и В электромагнитного распределителя газа 4 закрываются путем кратковременной подачи на электромагниты 25 и 26 постоянного тока напряжением 3 вольта обратной полярности, прекращая тем самым стравливание газа из внутренней полости Е электромагнитного распределителя газа 4 и одновременно запирая жидкость в полости привода 10 управляемого крана 9 узла регулирования расхода газа 8.
Подбором диаметра отверстия А электромагнитного распределителя метанола или газа 4 обеспечивается необходимая скорость срабатывания привода управляемого крана узла регулирования расхода газа.
Технический результат в устройствах, как по первому, так и по второму вариантам достигается благодаря тому, что в них управление приводом управляемого крана узла регулирования расхода газа осуществляется в основном за счет использования энергии давления метанола или газа с помощью дополнительно введенных элементов, а именно взаимосвязанных между собой эжектора и электромагнитного распределителя метанола или газа. При этом эжектор не потребляет электроэнергию, а электромагнитный распределитель метанола или газа потребляет ее значительно меньше, так как находится под напряжением не более 2-х секунд благодаря тому, что в магнитных цепях его электромагнитов установлены постоянные магниты, которые своим магнитным полем позволяют сохранить заданное положение электромагнитного распределителя метанола или газа и после его обесточивания. Кроме того, в предлагаемых устройствах скорость перемещения регулирующего органа управляемого крана узла регулирования расхода газа может быть изменена без дополнительного расхода электроэнергии путем подбора диаметра отверстий, выполненных в корпусе электромагнитного распределителя метанола или газа.
Формула изобретения
1. Устройство для контроля и регулирования процесса добычи газа в газовых и/или газоконденсатных скважинах, оборудованных системой ввода ингибитора – метанола, содержащее контроллер, подключенные к нему источники питания, радиопередающий узел или модем с антенной для обмена информацией с диспетчерским центром, датчик параметров соответствующей газовой и/или газоконденсатной скважины, узел регулирования расхода газа и узел подачи метанола, взаимосвязанные с контроллером, причем узел расхода газа содержит управляемый кран с приводом и датчиком положения, а узел подачи метанола содержит управляемый кран с приводом и датчик потока метанола, отличающееся тем, что в него дополнительно введены эжектор, установленный на линии ввода метанола перед узлом подачи метанола или на газовой линии перед узлом регулирования расхода газа, связанный с контроллером электромагнитный распределитель метанола, один из гидравлических входов/выходов которого соединен с приводом управляемого крана узла регулирования расхода газа, а два других соответственно подсоединены к линии ввода метанола и к полости разрежения эжектора.
2. Устройство по п.1, отличающееся тем, что электромагнитный распределитель метанола конструктивно выполнен в виде герметичного корпуса с тремя отверстиями, внутри которого по осям отверстий установлены подпружиненные стержни, одним концом взаимодействующие с электромагнитом, а другой конец стержня снабжен затвором для перекрытия этих отверстий.
3. Устройство по п.1, отличающееся тем, что в магнитной цепи каждого электромагнита электромагнитного распределителя метанола установлен постоянный магнит.
4. Устройство для контроля и регулирования процесса добычи газа в газовых и/или газоконденсатных скважинах, не оборудованных системой ввода метанола, содержащее контроллер; подключенные к нему источники питания; радиопередающий узел или модем с антенной для обмена информацией с диспетчерским центром; датчик параметров соответствующей газовой и/или газоконденсатной скважины; узел регулирования расхода газа, связанный с контроллером и содержащий управляемый кран с приводом и датчиком положения, отличающееся тем, что в него дополнительно введены: эжектор, установленный на газовой линии перед узлом регулирования расхода газа, и связанный с контроллером электромагнитный распределитель газа, один из гидравлических входов/выходов которого соединен с приводом управляемого крана узла регулирования расхода газа, а два других соответственно подсоединены к газовой линии и к полости разрежения эжектора.
5. Устройство по п.4, отличающееся тем, что электромагнитный распределитель газа конструктивно выполнен в виде герметичного корпуса с тремя отверстиями, внутри которого по осям отверстий установлены подпружиненные стержни, одним концом взаимодействующие с электромагнитом, а другой конец стержня снабжен затвором для перекрытия этих отверстий, внутренняя полость электромагнитного распределителя газа разделена эластичной мембраной на две, герметично изолированные друг от друга, полости, причем полость со стороны привода управляемого крана узла регулирования расхода газа заполнена незамерзающей жидкостью.
6. Устройство по п.4, отличающееся тем, что в магнитной цепи каждого электромагнита электромагнитного распределителя газа установлен постоянный магнит.
РИСУНКИ
|
|