|
|
(21), (22) Заявка: 2005121182/03, 27.06.2005
(24) Дата начала отсчета срока действия патента:
27.06.2005
(43) Дата публикации заявки: 20.01.2007
(46) Опубликовано: 20.10.2007
(56) Список документов, цитированных в отчете о поиске:
WO 2004/070161 A1, 19.08.2004. DE 3708616 A1, 29.09.1988. DE 3315307 A1, 31.10.1984. SU 1804558 A3, 23.03.1993. SU 231477 A, 28.11.1968. SU 773298 A, 23.10.1980. SU 1002694 A, 07.03.1983. SU 1180539 A, 23.09.1985. US 4010806 A, 08.03.1977. GB 2196883 A, 11.05.1988.
Адрес для переписки:
634049, г.Томск, ул. Первая рабочая, 4, кв.36, Н.И.Андрееву
|
(72) Автор(ы):
Андреев Николай Иванович (RU), Шварцкоп Виктор Федорович (RU)
(73) Патентообладатель(и):
Андреев Николай Иванович (RU), Шварцкоп Виктор Федорович (RU)
|
(54) СТАНОК БУРОВОЙ РУЧНОЙ ПНЕВМАТИЧЕСКИЙ
(57) Реферат:
Изобретение относится к горнодобывающей промышленности и может быть использовано при подземных работах для установки анкерного крепления защитной кровли. Станок содержит силовую пневматическую головку, закрепленную на телескопической пневмостойке, рукоять управления и глушитель шума выхлопа пневмомотора, выполненный из набора развернутых относительно друг друга на 180° одинаковых резиновых пластин, имеющих ряд прорубленных отверстий в виде язычковых клапанов и дистанционных прокладок. Шестерни пневмомотора выполнены пустотелыми, а рукоять управления шарнирно связана с силовой головкой. Обеспечивает высокую производительность, высокий ресурс работы, малошумность и малую массу. Позволяет производить бурение под любыми углами к вертикали. 3 з.п. ф-лы, 8 ил.
Изобретение относится к горнодобывающей промышленности и может быть использовано при подземных работах для установки анкерного крепления защитной кровли.
Целью изобретения является создание бурового ручного пневматического станка с высокими эксплуатационными характеристиками, а именно высокой производительностью, высоким ресурсом работы, малошумностью, малой массой.
Известен станок “Rambor”, содержащий пневмостойку, рукоять управления, шарнирно связанную с силовой головкой, силовую головку с шестеренным пневмомотором и двухступенчатым редуктором.
Заявленный станок буровой ручной пневматический отличается конструкцией основных узлов, что дает улучшение всех основных технических характеристик.
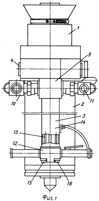
Станок буровой ручной пневматический иллюстрируется фиг.1-8, где на фиг.1 представлен общий вид станка, на фиг.2 – силовая головка, на фиг.3 – шестеренный пневмомотор внешнего зацепления, на фиг.4 – разрез А-А по фиг.3, на фиг.5 – разрез Б-Б по фиг.4, на фиг.6 – вид В на фиг.5, на фиг.7 – трехходовой вентиль, на фиг.8 – разрез С-С по фиг.7.
Станок состоит из пневматической силовой головки 1, привинченной к внешнему цилиндру телескопической пневмостойки 2, и рукояти управления 3, шарнирно связанной с силовой головкой 1 посредством оси 4 пневмораспределителя.
Силовая головка 1 предназначена для создания крутящего момента буровой штанге, закрепленной в шпинделе 5, с определенной угловой скоростью и промывки шпуров водой через канал штанги при бурении. При этом каналы подачи питания воздуха к пневмомотору и водяные каналы выполнены в корпусах силовой головки и блока управления. Силовая головка 1 состоит из шестеренного пневмомотора 6, планетарного редуктора 7, шпиндельного узла 8.
Рукоять управления 3 предназначена для удерживания от вращения станка при бурении и для дистанционного управления станком и состоит из корпуса распределителя 9, встроенных в него присоединительных устройств питания 10 и 11 сжатым воздухом и водой соответственно, а также клапана управления пневмомотором, устройства управления подачей воды, трехходового вентиля управления пневмостойкой 2, трубы соединительной 14 и корпуса ручек управления 12.
Клапан управления пневмомотором, вентили управления пневмостойкой и подачей воды приводятся в действие при помощи тяг 13, помещенных в соединительную трубу 14, от соответствующих ручек управления 15 и 16.
Цель достигается особенностями конструкции пневмомотора, конструкцией глушителя шума выхлопа и примененными конструктивными элементами устройства управления пневмостойкой.
Высокая производительность станка обеспечивается мощным шестеренным пневмомотором внешнего зацепления, у которого шестерни 17 и 18 выполнены пустотелыми, при этом корпус мотора 19 имеет выраженные зоны рабочего хода и выхлопа, а также зоны смазки посредством соответствующих выемок в корпусе.
Зоны уплотнения наружных диаметров шестерен пневмомотора, обеспечивающие рабочие радиальные и торцевые зазоры в пределах 0.015-0.02 мм относительно корпуса, выполнены за счет расточек корпуса под рабочие шестерни, охватывают дуги секторов 1 и 2, равных 2.5-3 шага зубьев шестерен.
Дополнительное уплотнение рабочих зазоров пневмомотора осуществляется распыленным маслом, подаваемым в сжатом воздухе. Для улучшения торцевых уплотнений на днище корпуса и крышках 20 и 21 в зоне выхлопа имеются канавки глубиной 0.25 мм в виде радиальных пазов а и b.
Малошумность выхлопа станка обеспечивается глушителем шума выхлопа, состоящим из набора одинаковых резиновых пластин 22, имеющих ряд прорубленных отверстий в виде язычковых клапанов, и дистанционных прокладок 23, при этом для создания лабиринтного направления потока воздуха пластины устанавливаются развернутыми относительно друг друга на 180°.
Устройство управления пневмостойкой в заявленном станке существенно отличается от ближайшего аналога станка “Rambor”. У станка “Rambor” управление пневмостойкой осуществляется посредством управляющего клапана и клапана быстрого сброса, но такая система обладает существенным недостатком, который заключается в частых отказах срабатывания клапана быстрого сброса при бурении под углами к вертикали. В заявленном станке управление пневмостойкой происходит переключением положения специального трехходового вентиля, состоящего из втулки 24, ротора 25 и крепежных гаек 26 и 27.
Устройство управления пневмостойкой в заявленном станке лишено недостатков аналогов и позволяет производить бурение под любыми углами к вертикали.
Высокий ресурс станка обеспечивается использованием большого модуля шестерен пневмомотора, отсутствием в пневмомоторе кинематических пар, работающих с трением скольжения, планетарной передачей редуктора, которая не нагружает подшипники поперечными силами.
Малая масса станка, что очень важно для ручного станка, достигается использованием пластмассовых корпусов, армированных металлическими тонкостенными корпусами и гильзами, а также применением пустотелых стальных шестерен пневмомотора.
Формула изобретения
1. Станок буровой ручной пневматический, содержащий силовую пневматическую головку, закрепленную на телескопической пневмостойке, рукоять управления и глушитель шума выхлопа пневмомотора, отличающийся тем, что глушитель шума выхлопа пневмомотора выполнен из набора развернутых относительно друг друга на 180° одинаковых резиновых пластин, имеющих ряд прорубленных отверстий в виде язычковых клапанов и дистанционных прокладок, при этом шестерни пневмомотора выполнены пустотелыми, а рукоять управления шарнирно связана с силовой головкой.
2. Станок по п.1, отличающийся тем, что корпус пневмомотора имеет выраженные зоны рабочего хода и выхлопа, а также зоны смазки посредством соответствующих выемок в корпусе.
3. Станок по п.1, отличающийся тем, что корпуса силовой головки выполнены пластмассовыми и армированы металлическими тонкостенными корпусами и гильзами.
4. Станок по п.1, отличающийся тем, что устройство управления пневмостойкой выполнено в виде трехходового вентиля.
РИСУНКИ
|
|