|
(21), (22) Заявка: 2005130598/03, 03.10.2005
(24) Дата начала отсчета срока действия патента:
03.10.2005
(43) Дата публикации заявки: 10.04.2007
(46) Опубликовано: 20.10.2007
(56) Список документов, цитированных в отчете о поиске:
SU 607932 A1, 25.05.1978. SU 100439 A, 28.09.1953. SU 1470910 A, 07.04.1989. RU 2002128310 A, 27.04.2004.
Адрес для переписки:
443001, г.Самара, ул. Молодогвардейская, 194, СГАСУ, патентный отдел
|
(72) Автор(ы):
Ильин Николай Алексеевич (RU)
(73) Патентообладатель(и):
Государственное образовательное учреждение высшего профессионального образования “Самарский государственный архитектурно-строительный университет” (СГАСУ) (RU)
|
(54) АНКЕРНОЕ УСТРОЙСТВО ДЛЯ ЗАКРЕПЛЕНИЯ НАПРЯГАЕМЫХ РАСПОРОК УСИЛЕНИЯ
(57) Реферат:
Изобретение относится к области строительства, а именно к анкерным приспособлениям, и может быть использовано при усилении несущих элементов железобетонных конструкций зданий и сооружений после пожара, взрыва, аварии. Достигаемый технический результат направлен на обеспечение качественной совместной работы элементов анкерного приспособления и усиливаемого железобетонного элемента, вследствие чего повышается несущая способность анкерного устройства на действие сдвигающих сил за счет возрастания в 2-3 раза статического коэффициента трения покоя между его обоймой обжатия и бетоном усиливаемого элемента. Анкерное устройство состоит из упорного элемента для напрягаемых распорок усиления в виде стальной обоймы обжатия, которая выполнена из составных скоб с упорными ребрами на концевых участках, оборудованных стяжными болтами. 22 з.п. ф-лы, 8 ил.
Изобретение относится к анкерным приспособлениям и может быть использовано при усилении несущих элементов железобетонных конструкций, например сжатых элементов ферм покрытий зданий и сооружений после пожара, взрыва, аварии.
Известно анкерное устройство для закрепления напрягаемых распорок усиления, включающее опорный столик из стального уголкового профиля с ребрами жесткости, который приварен на две ветви обоймы усиления железобетонного элемента в верхней ее части, на столике установлен грузовой винт с упорной гайкой [1].
К причинам, препятствующим достижению указанного ниже технического результата при использовании известного анкерного устройства, относится то, что в известном устройстве опорный столик для грузового винта требует установки металлоемкой обоймы в виде продольных стальных спаренных уголков, не обеспечивается совместная работа анкерного устройства и усиливаемого элемента конструкции.
Известно анкерное устройство для закрепления напрягаемых распорок усиления, состоящее из металлического уголкового обрамления, прикрепленного к опорным элементам, охватывающее верхние и нижние примыкающие к усиливаемому элементу конструкции, при этом металлическое обрамление примыкает к уголкам обоймы усиления снаружи [2].
К причинам, препятствующим достижению указанного ниже технического результата при использовании известного устройства, относится то, что металлические обрамления, выступающие в качестве опорных столиков анкерного устройства для напрягаемых распорок (уголков обоймы), имеют ненадежное сцепление с усиливаемым элементом, не обеспечивая их эффективную совместную работу, следовательно, невысока надежность работы элементов известного анкерного устройства.
Наиболее близким техническим решением к изобретению по совокупности признаков является анкерное устройство для закрепления напрягаемых распорок усиления, состоящее из специальных планок-упоров, упорных уголков, упорных листов, упорных планок ветвей распорок, дополнительных планок для увеличения длины сварного шва планок-упоров, крепежных монтажных болтов. Анкерное устройство для закрепления распорок усиления устанавливают следующим образом.
На торцы каждой распорки усиления укрепляют специальные планки-упоры, посредством которых они упираются в упорные уголки, устанавливаемые на элементах конструкций, непосредственно связанных и примыкающих к усиливаемым элементам. Внутренние плоскости полок уголков-упоров заделывают заподлицо с наружными боковыми поверхностями усиливаемого элемента. При этом фиксацию положения упоров производят по ватерпасу в строго горизонтальном положении. Для увеличения жесткости уголков-упоров под полкой, передающей усилия на распорки, прокладывают дополнительные опорные листы толщиною до 15 мм. Непосредственно к уголкам-упорам примыкают упорные планки ветвей распорок. Плотное примыкание упорных листов к внутренней поверхности полок установленных уголков-упоров достигают за счет предварительного прикрепления упорных листов к уголкам распорок на болтах, которые продернуты в овальные дыры (отверстия) в упорных планках. После рихтовки нижние упорные листы приваривают к уголкам распорок. При недостаточной протяженности сварных швов последние удлиняют за счет приварки дополнительных планок толщиной не менее 15 мм – принято за прототип [3].
К причинам, препятствующим достижению указанного ниже технического результата при использовании известного анкерного устройства для закрепления напрягаемых распорок усиления, принятого за прототип, относится то, что известное устройство металлоемко, сложно в изготовлении, трудоемко при монтаже, не эффективно в работе из-за отсутствия надежного сцепления элементов анкерного устройства с бетоном усиливаемого железобетонного элемента и ненадежной их совместной работы, стальные элементы анкерного устройства не имеют огнезащиты.
В известном анкерном устройстве опорные уголки для концов ветвей напрягаемых распорок имеют шарнирное (а не жесткое) опирание, следовательно, в процессе эксплуатации усиленных элементов конструкций здания возможны дополнительные сдвиги опорных уголков.
Сущность изобретения заключается в следующем. Задача, на решение которой направлено заявленное изобретение, состоит в повышении рациональности, качества и надежности работы анкерного устройства для закрепления напрягаемых распорок усиления, в упрощении конструкции и монтажа, в снижении металлоемкости.
Технический результат – упрощение конструкции анкерного устройства и его монтажа, обеспечение качественной совместной работы элементов анкерного устройства и усиливаемого железобетонного элемента, повышение несущей способности анкерного устройства на действие сдвигающих сил за счет увеличения в 2-3 раза статического коэффициента трения покоя между его обоймой обжатия и бетоном усиливаемого элемента конструкции, повышение несущей способности усиливаемого элемента в зоне 2-4-стороннего обжатия обоймой анкерного устройства, экономия металла.
Указанный технический результат при осуществлении изобретения достигается тем, что известное анкерное устройство для закрепления напрягаемых распорок усиления, содержащее упорные элементы для распорок, непосредственно прикрепленные к усиливаемому элементу конструкции стяжными болтами, – опорные части анкерного устройства выполнены в виде стальной обоймы обжатия с упорными столиками для грузовых винтов распорок; обойма обжатия выполнена из составных скоб с упорными ребрами на концевых участках, упорные ребра скоб оборудованы стяжными болтами; внутренняя поверхность скоб подвержена обработке для повышения сил трения покоя; металлические элементы анкерного устройства после введения его в работу покрыты огнезащитным материалом.
Кроме этого особенности анкерного устройства заключаются в том, что
число Г-образных скоб обоймы принято равным четырем при условии 4-стороннего обжатия прямоугольного поперечного сечения усиливаемого элемента.
Число швеллерообразных скоб обоймы принимают равным двум при 2-стороннем обжатии прямоугольного поперечного сечения усиливаемого элемента.
Анкерные упоры (столики) обоймы обжатия для грузового винта напрягаемой распорки приварены на любом расстоянии от торцов обоймы.
В плоскости контакта со скобами обоймы поверхность обжимаемого бетона усиливаемого элемента имеет улучшенную шероховатость путем насечки бетонных зубов и/или углублений для бетонных шпонок.
Для максимального повышения статического коэффициента трения покоя по сочленяющейся поверхности скобы и усиливаемого элемента оптимальное напряжение обжатия бетона Rобж.опт принято равным
Rобж.опт=0,45·Rв,loc,
где Rв,loc – расчетное сопротивление бетона смятию, МПа (кгс/см2).
Для увеличения сопротивления бетона смятию скобой обоймы обжатия во вновь уложенном слое бетона или строительного раствора в качестве косвенного армирования установлены дополнительно арматурные сетки.
Диаметры стяжных болтов для спаренных скоб и их количество приняты по расчету в зависимости от площади смятия усиливаемого элемента и оптимального напряжения обжатия бетона.
Сочленяющиеся скобы обоймы обжатия утоплены “в сок” пластичного цементно-песчаного раствора состава 1:3 с выжиманием.
Толщина скобы принята из условий работы обоймы обжатия как закладной детали на сдвиг и технологических требований по сварке, но не менее 4 мм.
При величине нагрузки усиления на напрягаемые распорки более усилия от сопротивления сдвигу обоймы обжатия, последняя соединена сваркой с существующей рабочей арматурой усиливаемого элемента с помощью “коротышей” или “уток”-отгибов, выполненных из отрезков арматуры класса А 240 (A-I) или круглой стали диаметром 10-40 мм.
Высота сварного шва, соединяющего обойму обжатия с пластинами упорных столиков для грузовых винтов, а также скобы с их упорными ребрами для стяжных болтов принята по расчету на срез и изгиб, но не менее 6 мм.
Обойма 4-стороннего обжатия усиливаемого элемента содержит четыре Г-образных скобы из двух металлических пластин каждая, сваренных между собою в торец и соединенных стяжными болтами.
Обойма 4-стороннего обжатия усиливаемого элемента содержит четыре Г-образных скобы, выполненных из металлической полосы, изогнутой в средней части ее длины и на концевых участках под углом 90°, соединенных между собою стяжными болтами.
Обойма 4-стороннего обжатия усиливаемого элемента содержит четыре Г-образных скобы из сваренных в торец двух отрезков уголкового профиля каждая и соединенных стяжными болтами.
Обойма 2-стороннего обжатия усиливаемого элемента включает в себя две швеллерообразные скобы, выполненные из отрезков швеллера, и соединенных стяжными болтами.
Обойма 2-стороннего обжатия усиливаемого элемента включает в себя две швеллерообразные скобы, выполненные из металлической полосы с изгибами, и соединенных между собою стяжными болтами.
Г-образная скоба обоймы обжатия выполнена из двух металлических пластин, соединенных под углом 90°, на концевых участках которых установлены упорные ребра с отверстиями для стяжных болтов.
Г-образная скоба обоймы обжатия выполнена из металлической полосы, изогнутой в средней части ее длины и на концевых участках под углом 90°, на последних выполнены упорные ребра с отверстиями для стяжных болтов.
Г-образная скоба обоймы обжатия выполнена из двух отрезков уголкового профиля, соединенных торцами одних их полок под углом 90°, другие полки уголков использованы в качестве упорных ребер, оборудованных отверстиями для стяжных болтов.
Швеллерообразная скоба обоймы обжатия выполнена из отрезков швеллера, на концевых участках полок которого установлены упорные ребра с отверстиями для стяжных болтов.
Швеллерообразная скоба обоймы обжатия выполнена из металлической полосы, изогнутой в средней части ее длины и на концевых участках под углом 90°, с образованием упорных ребер с отверстиями для стяжных болтов.
Высота сварного шва, соединяющего элементы скобы, принята по расчету на растяжение, но не менее 6 мм.
Для предупреждения ослабевания натяжных гаек под нагрузкой на стяжные болты поставлены контргайки или упругие шайбы.
После включения преднапряженных распорок в работу на металлические элементы анкерного устройства наносят огнезащитное покрытие, толщина которого принята по теплотехническому расчету, но не менее 50 мм.
На чертежах представлено:
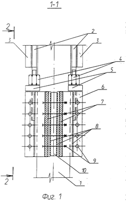
на фиг.1 изображено анкерное устройство для закрепления напрягаемых распорок усиления, вид спереди, сечение 1-1 на фиг.2;
на фиг.2 – то же, вид сбоку, сечение 2-2 на фиг.1;
на фиг.3 – то же, вид сверху, сечение 3-3 на фиг.2;
1 – усиливаемый элемент конструкции; 2 – остов напрягаемой распорки; 3 – уголки ветвей распорок; 4 – грузовые винты с упорными гайками; 5 – упорные столики; 6 – скобы обоймы обжатия; 7 – упорные ребра скобы; 8 – сварные швы; 9 – стяжные болты; 10 – соединительные планки; 11 – концы остовов распорок (коротыши); 12 – зубчатая поверхность бетона усиливаемого элемента конструкции; 13 – ребра жесткости скоб обоймы обжатия; 14 – “утки”-отгибы;
на фиг.4 изображена Г-образная скоба из двух металлических пластин, соединенных под углом 90°;
на фиг.5 изображена Г-образная скоба из металлической полосы, изогнутой в средней ее части и на концевых участках под углом 90°;
на фиг.6 изображена Г-образная скоба из двух отрезков уголкового профиля, соединенных торцами одних их полок под углом 90°;
на фиг.7 изображена швеллерообразная скоба из отрезков швеллера с установленными ребрами на концевых участках полок его;
на фиг.8 изображена швеллерообразная скоба из металлической полосы, которая изогнута под углом 90° в двух местах в средней ее части и на концевых участках, оборудованных отверстиями для стяжных болтов.
Сведения, подтверждающие возможность осуществления изобретения с получением указанного выше технического результата.
Пример конкретного выполнения. Анкерное устройство для закрепления напрягаемых распорок 3 усиления железобетонного элемента (стойки стропильной фермы) содержит обойму обжатия 6, которая содержит Г-образные металлические скобы 8 (4 шт., толщина с=10 мм, марка стали С 285), по два упорных ребра 7 для каждой скобы (размеры ребра в×h×l=25×50×250 мм, сталь С285), стяжные болты 9 (20 шт., болт диаметром резьбы d=16 мм, длиной l=140 мм, l0=40 мм, с крупным шагом резьбы, головка шестигранная, класс прочности 5.8, без покрытия), сварные швы 8 (толщина ш=6 мм), упорные столики 5 (2 шт., толщина пластины п=50 мм), соединительные стальные планки 10 (2 шт., в×h×l=25×50×250 мм), “утки”-отгибы 14 (4 16 А 240 (A-I)).
В комплект стяжного болта 9 входят шайба и гайка (диаметр резьбы d=16 мм, шестигранная, класса точности В, высокая m=20 мм).
Напрягаемая распорка состоит из стального остова 2 (круглого d=20 мм или квадратного сечения а=20 мм), двух уголков 3 грузового винта 4 (диаметр трапецеидальной резьбы d=20 мм, длина L=200 мм, класс прочности 5.8), упорной гайки (класс прочности В, шестигранная, высокая m=24 мм), контргайки и коротыша 11 (d=20 мм).
После введения анкерного устройства и напрягаемых распорок в работу на металлические элементы устройства усиления нанесен защитный слой легкого бетона толщиной 50 мм.
Введение деталей анкерного устройства для закрепления напрягаемых распорок в работу производят следующим образом. Изготовляют в мастерских отдельные детали анкерного устройства и прикрепляют с натягом скобы обоймы обжатия 6. Обжатие поперечного сечения сжатого элемента скобой обоймы 6 осуществляется натяжением скоб обоймы обжатия 6 с помощью стяжных болтов 9.
Включение в работу скоб обоймы обжатия 6 производится одновременным вращением упорных гаек стяжных болтов динамометрическим ключом.
Применение предложенного анкерного устройства для закрепления напрягаемых распорок усиления железобетонного элемента позволяет улучшить качественные показатели: устройство просто в изготовлении и монтаже вследствие рационального использования прокатного металла, минимально число деталей; конструкция устройства снижает расходы металла в 1,5-2 раза; анкерное устройство многоцелевое по назначению, т.к. оно одновременно исправляет поврежденный элемент, а также, обжимая бетон, улучшает анкеровку арматуры усиливаемого железобетонного элемента.
Использование предложенного устройства обеспечивает надежное и быстрое включение в совместную работу распорок усиления и железобетонного элемента несущей конструкции; увеличивает анкерующую способность упоров устройства усиления за счет возрастания сил сцепления и увеличения статического трения металлических скоб обоймы обжатия на поверхности контакта с бетоном усиливаемого элемента; сопротивление сдвигу обоймы обжатия повышается в 4-6 раз.
Предложенное анкерное устройство для закрепления напрягаемых распорок применено в промышленности при усилении элементов решетки стропильной железобетонной фермы пролетом 24 м с параллельными поясами высотой 2,7 м, поврежденной пожаром. Восстановительные работы были проведены без остановки основного производства многопролетного промышленного здания высотой 10 м (г.Самара, 2005 г.).
Источники информации
1. А.с. SU №607932, кл. 2 Е04G 25/02. Способ усиления колонн / В.В.Гусельников. Опубл. 25.05.78. Бюл. №19.
2. А.с. SU №1470910, кл. 4 Е04G 23/02. Способ усиления колонн / А.Д.Федоров. Опубл. 07.04.89. Бюл. №13.
3. Н.М.Онуфриев. Усиление железобетонных конструкций промышленных зданий и сооружений. Л. – М.: Стройиздат, 1965; §22. Усиление колонн посредством преднапряженных распорок усиления, С.241-247; рис.83 д, деталь нижнего узла “Б”, с.243.
Формула изобретения
1. Анкерное устройство для закрепления напрягаемых распорок усиления, содержащее упорные элементы для распорок, непосредственно прикрепленные к усиливаемому элементу конструкции стяжными болтами, отличающееся тем, что опорные части анкерного устройства выполнены в виде стальной обоймы обжатия с упорными столиками для грузовых винтов распорок; обойма обжатия выполнена из составных скоб с упорными ребрами на концевых участках, упорные ребра скоб оборудованы стяжными болтами; внутренняя поверхность скоб подвержена обработке для повышения сил трения покоя.
2. Анкерное устройство по п.1, отличающееся тем, что число Г-образных скоб обоймы принято равным четырем при условии 4-стороннего обжатия прямоугольного поперечного сечения усиливаемого элемента.
3. Анкерное устройство по п.1, отличающееся тем, что число швеллерообразных скоб обоймы принято равным двум при 2-стороннем обжатии прямоугольного поперечного сечения усиливаемого элемента.
4. Анкерное устройство по п.1, отличающееся тем, что анкерные упоры (столики) обоймы обжатия для грузового винта напрягаемой распорки приварены на любом расстоянии от торцов обоймы.
5. Анкерное устройство по п.1, отличающееся тем, что в плоскости контакта со скобами обоймы поверхность обжимаемого бетона усиливаемого элемента имеет улучшенную шероховатость путем насечки бетонных зубов и/или углублений для бетонных шпонок.
6. Анкерное устройство по п.1, отличающееся тем, что для максимального повышения статического коэффициента трения покоя по сочленяющейся поверхности скобы и усиливаемого элемента оптимальное напряжение обжатия бетона Rобж.опт принято равным
Rобж.опт=0,45·Rв,loc,
где Rв,loc – расчетное сопротивление бетона смятию, МПа (кгс/см2).
7. Анкерное устройство по п.1, отличающееся тем, что для увеличения сопротивления бетона смятию скобой обоймы обжатия во вновь уложенном слое бетона или строительного раствора в качестве косвенного армирования установлены дополнительно арматурные сетки.
8. Анкерное устройство по п.1, отличающееся тем, что диаметры стяжных болтов для спаренных скоб и их количество приняты по расчету в зависимости от площади смятия усиливаемого элемента и оптимального напряжения обжатия бетона.
9. Анкерное устройство по п.1, отличающееся тем, что толщина скобы принята из условий работы обоймы обжатия как закладной детали на сдвиг и технологических требований по сварке, но не менее 4 мм.
10. Анкерное устройство по п.1, отличающееся тем, что при величине нагрузки усиления на напрягаемые распорки более усилия от сопротивления сдвигу обоймы обжатия, последняя соединена сваркой с существующей рабочей арматурой усиливаемого элемента с помощью «коротышей» или «уток»-отгибов, выполненных из отрезков арматуры класса А 240 (A-I) или круглой стали диаметром 10-40 мм.
11. Анкерное устройство по п.1, отличающееся тем, что высота сварного шва, соединяющего обойму обжатия с пластинами упорных столиков для грузовых винтов, а также скобы с их упорными ребрами для стяжных болтов принята по расчету на срез и изгиб, но не менее 6 мм.
12. Анкерное устройство по п.1, отличающееся тем, что обойма 4-стороннего обжатия усиливаемого элемента содержит четыре Г-образные скобы из двух металлических пластин каждая, сваренных между собою в торец и соединенных стяжными болтами.
13. Анкерное устройство по п.1, отличающееся тем, что обойма 4-стороннего обжатия усиливаемого элемента содержит четыре Г-образные скобы, выполненные из металлической полосы, изогнутой в средней части ее длины и на концевых участках под углом 90°, соединенные между собою стяжными болтами.
14. Анкерное устройство по п.1, отличающееся тем, что обойма 4-стороннего обжатия усиливаемого элемента содержит четыре Г-образные скобы из сваренных в торец двух отрезков уголкового профиля каждая и соединенных стяжными болтами.
15. Анкерное устройство по п.1, отличающееся тем, что обойма 2-стороннего обжатия усиливаемого элемента включает в себя две швеллерообразные скобы, выполненные из отрезков швеллера и соединенные стяжными болтами.
16. Анкерное устройство по п.1, отличающееся тем, что обойма 2-стороннего обжатия усиливаемого элемента включает в себя две швеллерообразные скобы, выполненные из металлической полосы с изгибами и соединенные между собою стяжными болтами.
17. Анкерное устройство по любому из пп.1 и 12, отличающееся тем, что Г-образная скоба обоймы обжатия выполнена из двух металлических пластин, соединенных под углом 90°, на концевых участках которых установлены упорные ребра с отверстиями для стяжных болтов.
18. Анкерное устройство по любому из пп.1 и 13, отличающееся тем, что Г-образная скоба обоймы обжатия выполнена из металлической полосы, изогнутой в средней части ее длины и на концевых участках под углом 90°, на последних выполнены упорные ребра с отверстиями для стяжных болтов.
19. Анкерное устройство по любому из пп.1 и 13, отличающееся тем, что Г-образная скоба обоймы обжатия выполнена из двух отрезков уголкового профиля, соединенных торцами одних их полок под углом 90°, другие полки уголков использованы в качестве упорных ребер, оборудованных отверстиями для стяжных болтов.
20. Анкерное устройство по любому из пп.1 и 13, отличающееся тем, что швеллерообразная скоба обоймы обжатия выполнена из отрезков швеллера, на концевых участках полок которого установлены упорные ребра с отверстиями для стяжных болтов.
21. Анкерное устройство по любому из пп.1 и 13, отличающееся тем, что швеллерообразная скоба обоймы обжатия выполнена из металлической полосы, изогнутой в средней части ее длины и на концевых участках под углом 90°, с образованием упорных ребер с отверстиями для стяжных болтов.
22. Анкерное устройство по п.1, отличающееся тем, что высота сварного шва, соединяющего элементы скобы, принята по расчету на растяжение, но не менее 6 мм.
23. Анкерное устройство по п.1, отличающееся тем, что для предупреждения ослабевания натяжных гаек под нагрузкой на стяжные болты поставлены контргайки или упругие шайбы.
РИСУНКИ
MM4A – Досрочное прекращение действия патента СССР или патента Российской Федерации на изобретение из-за неуплаты в установленный срок пошлины за поддержание патента в силе
Дата прекращения действия патента: 04.10.2007
Извещение опубликовано: 20.05.2009 БИ: 14/2009
|