|
|
(21), (22) Заявка: 2006107018/03, 06.03.2006
(24) Дата начала отсчета срока действия патента:
06.03.2006
(46) Опубликовано: 20.10.2007
(56) Список документов, цитированных в отчете о поиске:
SU 1576644 A1, 07.07.1990. SU 1693185 A1, 23.11.1991. SU 1712531 A1, 15.02.1992. RU 2023800 C1, 30.11.1994.
Адрес для переписки:
346412, Ростовская обл., г. Новочеркасск, пер. Комсомольский, 25а, кв.1, А.А. Чистякову
|
(72) Автор(ы):
Чистяков Александр Анатольевич (RU), Шкура Виктор Николаевич (RU), Михеев Павел Александрович (RU)
(73) Патентообладатель(и):
Федеральное государственное образовательное учреждение высшего профессионального образования “Новочеркасская государственная мелиоративная академия” ФГОУ ВПО (НГМА) (RU)
|
(54) РЫБОЗАЩИТНОЕ УСТРОЙСТВО ВОДОЗАБОРНОГО СООРУЖЕНИЯ
(57) Реферат:
Изобретение относится к гидротехническому строительству, а именно к рыбозащитным устройствам в составе водозаборных сооружений. Рыбозащитное устройство включает фильтр, расположенный в водотоке и выполненный в виде каркаса, заполненного фильтрующими элементами. Фильтрующие элементы выполнены в виде пластин, размещенных в горизонтальной плоскости друг над другом с образованием зазоров между ними, в которых размещены прокладки. Пластины и прокладки выполнены из упругого пористого материала. Средство для очистки фильтра от мусора выполнено в виде горизонтальной жесткой пластины, расположенной в верхней части фильтра над пластинами, соединенной жесткими тягами с приводом. Жесткая пластина и фильтрующие элементы своими торцевыми частями установлены в направляющих. Жесткая пластина в верхней своей части снабжена перфорированным экраном, выполненным гофрированным и прикрепленным к продольным направляющим рычажно-шарнирного соединения. Концевые части центральных направляющих рычажно-шарнирного соединения расположены в вертикальных направляющих, выполненных с внутренней стороны жестких тяг привода. Пластины фильтрующих элементов размещены внутри каркаса, выполненного из вертикальных стержней, установленных со стороны водотока и водозабора. Изобретение обеспечивает повышение эффективности работы рыбозащитного устройства. 7 з.п. ф-лы, 11 ил.
Изобретение относится к гидротехническому строительству, а именно к рыбозащитным устройствам и сооружениям, устраиваемым в составе водозаборных сооружений.
Известно рыбозащитное устройство [1], включающее фильтр, расположенный в водотоке и выполненный в виде каркаса, заполненного фильтрующими элементами, при этом фильтрующие элементы выполнены в виде шариков, размещенных друг над другом с образованием зазора между собой, направляющие для перемещения фильтра и привод для перемещения фильтра.
Недостатками устройства являются сложность его конструкции и низкая эффективность промывки фильтра.
Известно рыбозащитное устройство [2], включающее фильтр, расположенный в водотоке и выполненный в виде решетчатого каркаса, заполненного фильтрующими элементами, имеющими возможность перемещения внутри каркаса, при этом фильтрующие элементы выполнены пористыми из упругого материала и размещены выше и ниже горизонтальной пластины, соединенной жесткими тягами с приводом перемещения фильтрующих элементов.
Недостатками устройства являются сложность его конструкции и низкая эффективность промывки фильтра.
Наиболее близким по технической сущности и достигаемому результату является рыбозащитное сооружение [3], включающее фильтр, расположенный в водотоке и выполненный в виде каркаса радиаторного типа, заполненного фильтрующими элементами, при этом фильтрующие элементы выполнены в виде пластин, размещенных в горизонтальной плоскости друг над другом с образованием зазора между ними, прокладки, расположенные между пластинами, направляющие, выполненные по торцевым сторонам пластин, и средство для очистки фильтра от мусора.
Недостатками устройства являются сложность его конструкции и низкая эффективность промывки фильтра.
Целью изобретения является повышение эффективности работы.
Сущность изобретения заключается в следующем.
По п.1 формулы изобретения. Выполнение фильтрующих пластин и прокладок из упругого пористого материала позволяет увеличить площадь фильтрации и уменьшить скорость фильтрации.
Выполнение средства для очистки фильтра от мусора в виде горизонтальной жесткой пластины, расположенной в верхней части фильтра над пластинами, соединенной жесткими тягами с приводом, позволяет посредством привода сжимать фильтрующие пластины, при этом за счет инфильтрации очищать их от мусора и наносов.
Установка жесткой пластины и фильтрующие элементы своими торцевыми частями в боковых направляющих позволяют эффективно перемещать их по вертикали (вверх или вниз), без перекосов и в горизонтальном положении.
Выполнение жесткой пластины в верхней своей части, снабженной перфорированным экраном, выполненным гофрированным и прикрепленным к продольным направляющим рычажно-шарнирного соединения, позволяет в процессе промывки фильтра формировать в водоприемном окне фильтрующий экран. При перемещении жесткой пластины вниз гофрированный экран, до этого момента находившийся в сложенном состоянии, постепенно раскрывается и перекрывает живое сечение водоприемного окна, обеспечивая защиту молоди рыбы от попадания в водозабор.
Размещение концевых частей центральных направляющих рычажно-шарнирного соединения в пазах вертикальных направляющих, выполненных с внутренней стороны жестких тяг привода, позволяет эффективно складывать/раскладывать перфорированные пластины гофрированного экрана.
Размещение пористых пластин внутри каркаса, выполненного из вертикальных стержней, установленных со стороны водотока и водозабора, позволяет обеспечить устойчивое положение фильтра и его составных элементов.
По п.2 формулы изобретения. Возможен вариант, когда отверстия перфорации гофрированного перфорированного экрана выполнены круглой формы, что является вариантом их исполнения.
По п.3 формулы изобретения. Возможен вариант, когда отверстия перфорации гофрированного перфорированного экрана выполнены прямоугольной формы, что также является вариантом их исполнения.
По п.4 формулы изобретения. Возможен вариант, когда отверстия перфорации гофрированного перфорированного экрана выполнены в шахматном порядке, что улучшает равномерность скорости фильтрации.
По пп.5 и 6 формулы изобретения. Возможен вариант, когда отверстия перфорации большей стороной расположены параллельно или перпендикулярно фильтрующей плоскости, что является модификациями гофрированного перфорированного экрана.
По п.7 формулы изобретения. Возможен вариант, когда прокладки, расположенные между пластинами, выполнены V-образной формы в плане, при этом соседние прокладки формируют фильтрующие каналы и не образуют между собой зазора в свету, что позволяет фильтровать в зазорах между пластинами, выполненными из упругого пористого материала. При этом для молоди рыбы формируется сплошной экран без просветов.
По п.8 формулы изобретения. Возможен вариант, когда прокладки, расположенные между пластинами, выполнены подковообразной формы в плане, при этом соседние прокладки формируют фильтрующие каналы и не образуют между собой зазора в свету, что позволяет фильтровать в зазорах между пластинами, выполненными из упругого пористого материала. При этом для молоди рыбы формируется сплошной экран без просветов.
Решение поставленной задачи достигается путем создания новой конструкции рыбозащитного устройства водозаборного сооружения. Графический материал, иллюстрирующий предлагаемое изобретение, представлен на следующих фигурах:
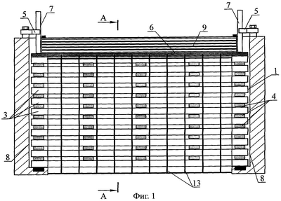
фиг.1 – фильтр, вид со стороны подводящего канала;
фиг.2 – то же, план;
фиг.3 – фильтр, вид со стороны подводящего канала, операция его очистки от мусора и наносов;
фиг.4 – разрез А-А на фиг.1;
фиг.5 – разрез Б-Б на фиг.3;
фиг.6 – фрагмент пластины гофрированного перфорированного экрана, узел соединения с направляющей;
фиг.7 – то же, отверстия перфорации выполнены в шахматном порядке;
фиг.8 – фрагмент пластины гофрированного перфорированного экрана, узел соединения с направляющей, отверстия перфорации выполнены прямоугольными;
фиг.9 – то же, отверстия перфорации большей стороной расположены параллельно фильтрующей плоскости;
фиг.10 – прокладки, расположенные между пластинами, выполнены V-образной формы в плане;
фиг.11 – прокладки, расположенные между пластинами, выполнены подковообразной формы в плане.
Рыбозащитное устройство водозаборного сооружения включает фильтр 1, расположенный в водотоке 2 и выполненный в виде каркаса радиаторного типа, заполненного фильтрующими элементами 3, при этом фильтрующие элементы 3 выполнены в виде пластин, размещенных в горизонтальной плоскости друг над другом с образованием зазора между ними, прокладки 4, расположенные между пластинами, направляющие 5, выполненные по торцевым сторонам пластин, и средство для очистки фильтра 1 от мусора.
Пластины и прокладки 4 выполнены из упругого пористого материала, а средство для очистки фильтра от мусора выполнено в виде горизонтальной жесткой пластины 6, расположенной в верхней части фильтра 1 над пластинами, соединенной жесткими тягами 7 с приводом (не показано), при этом жесткая пластина 6 и фильтрующие элементы 3 своими торцевыми частями установлены в направляющих 8, причем жесткая пластина 6 в верхней своей части снабжена перфорированным экраном 9, выполненным гофрированным и прикрепленным к продольным направляющим 10 рычажно-шарнирного соединения 11, при этом концевые части центральных направляющих 10 рычажно-шарнирного соединения расположены в вертикальных направляющих 12, выполненных с внутренней стороны жестких тяг 7 привода, а пластины фильтрующих элементов 3 размещены внутри каркаса, выполненного из вертикальных стержней 13, установленных со стороны водотока 2 и водозабора 14.
Помимо того, отверстия перфорации 14 гофрированного перфорированного экрана 9 могут быть выполнены круглой формы.
Вместе с тем, отверстия перфорации 15 гофрированного перфорированного экрана 9 могут быть выполнены прямоугольной формы.
Кроме того, отверстия перфорации 15 гофрированного перфорированного экрана 9 могут быть выполнены в шахматном порядке.
Помимо того, отверстия перфорации 15 большей стороной могут быть расположены параллельно фильтрующей плоскости.
Вместе с тем, отверстия перфорации 15 большей стороной могут быть расположены перпендикулярно фильтрующей плоскости.
Помимо того, прокладки 4, расположенные между пластинами, могут быть выполнены V-образной формы в плане, при этом соседние прокладки 4 формируют фильтрующие каналы 16 и не образуют между собой зазора в свету.
Вместе с тем, прокладки 4, расположенные между пластинами, могут быть выполнены подковообразной формы в плане, при этом соседние прокладки 4 формируют фильтрующие каналы 16 и не образуют между собой зазора в свету.
Рыбозащитное устройство водозаборного сооружения работает следующим образом.
Расход воды, поступающий по водотоку 2, фильтруется через фильтр 1, очищается от плавающего мусора, молоди рыбы и поступает в водозабор 14. По мере работы фильтра 1 его рабочая поверхность и фильтрующие элементы 3 засоряются плавающим мусором, листьями, водорослями и влекомыми наносами. При этом сквозность фильтра 1 уменьшается, увеличивается напор на его рабочей поверхности и, соответственно, увеличиваются средние значения скорости фильтрации, что негативно сказывается на эффективности защиты молоди рыбы и снижает надежность работы конструкции. Для промывки фильтра 1 включается в работу привод (не показан), который воздействует на жесткие тяги 7 и приводит в движение жесткую пластину 6. По мере перемещения жесткой пластины 6 вниз она сжимает пластины фильтрующих элементов 3 и прокладки 4 (фиг.5). Поскольку пластины фильтрующих элементов 3 и прокладки 4 выполнены из упругого пористого материала, их объем уменьшается, а за счет инфильтрации мусор и наносы вымываются в окружающее фильтр 1 водное пространство, при этом сам фильтр 1 и его фильтрующие элементы 3 самоочищаются. Одновременно с этим процессом выше плоскости жесткой пластины 6 формируется временный фильтр, состоящий из гофрированного перфорированного экрана 9, через отверстия перфорации 15 которого расход воды поступает в водозабор 14.
По окончании промывки фильтра 1 жесткие тяги 7 поднимают жесткую пластину 6 в исходное положение (фиг.4). При этом гофрированный перфорированный экран 9 складывается, чему способствуют рычажно-шарнирные соединения 11 и продольные направляющие 10, имеющие возможность перемещения в вертикальных направляющих 12, выполненных во внутренних боковых сторонах жестких тяг 7.
Возможен вариант, когда отверстия перфорации 15 гофрированного перфорированного экрана 9 выполнены круглой формы (фиг.6, 7), что является вариантом их исполнения.
Возможен вариант, когда отверстия перфорации 15 гофрированного перфорированного экрана 9 выполнены прямоугольной формы (фиг.8, 9), что также является вариантом их исполнения.
Возможен вариант, когда отверстия перфорации 15 гофрированного перфорированного экрана 9 выполнены в шахматном порядке (фиг.7), что улучшает равномерность скорости фильтрации.
Возможен вариант, когда отверстия перфорации 15 большей стороной расположены параллельно (фиг.9) или перпендикулярно (фиг.8) фильтрующей плоскости, что является модификациями гофрированного перфорированного экрана 9.
Возможен вариант, когда прокладки 4, расположенные между пластинами фильтрующих элементов 3, выполнены V-образной формы в плане (фиг.10), при этом соседние прокладки 4 формируют фильтрующие каналы 16 и не образуют между собой зазора в свету, что позволяет фильтровать в зазорах между пластинами, выполненными из упругого пористого материала. При этом для молоди рыбы формируется сплошной экран без просветов.
Возможен вариант, когда прокладки 4, расположенные между пластинами фильтрующих элементов 3, выполнены подковообразной формы в плане (фиг.11), при этом соседние прокладки 4 формируют фильтрующие каналы 16 и не образуют между собой зазора в свету, что позволяет фильтровать в зазорах между пластинами, выполненными из упругого пористого материала. При этом для молоди рыбы формируется сплошной экран без просветов.
Предлагаемая конструкция рыбозащитного устройства водозаборного сооружения позволяет управлять очисткой фильтра с одновременным забором удельных фильтрационных расходов, отбираемых в водозабор.
Источники информации
1. А.с. СССР (SU) №1712531. “Рыбозащитное устройство”. Опубл. Б.И. №6, 1992.02.15. Автор: Шкура В.Н., Михеев П.А., Гулянский А.Ш., Аникин B.C., Азоян В.З.
2. А.с. СССР (SU) №1693185. “Рыбозащитное устройство на водозаборе”. Опубл. Б.И. №43, 1991.23.11. Авторы: Черкасов В.А., Чистяков А.А., Фоменко В.А., Парулава И.И., Шкура В.Н.
3. А.с. СССР (SU) №1576644. “Рыбозащитное устройство”. Опубл. Б.И. №25, 1990.07.07. Авторы: Юдин В.К., Стуране Р.Я.
Формула изобретения
1. Рыбозащитное устройство водозаборного сооружения, включающее фильтр, расположенный в водотоке и выполненный в виде каркаса радиаторного типа, заполненного фильтрующими элементами, при этом фильтрующие элементы выполнены в виде пластин, размещенных в горизонтальной плоскости друг над другом с образованием зазора между ними, прокладки, расположенные между пластинами, направляющие, выполненные по торцевым сторонам пластин, и средство для очистки фильтра от мусора, отличающееся тем, что пластины и прокладки выполнены из упругого пористого материала, а средство для очистки фильтра от мусора выполнено в виде горизонтальной жесткой пластины, расположенной в верхней части фильтра над пластинами, соединенной жесткими тягами с приводом, при этом жесткая пластина и фильтрующие элементы своими торцевыми частями установлены в направляющих, причем жесткая пластина в верхней своей части снабжена перфорированным экраном, выполненным гофрированным и прикрепленным к продольным направляющим рычажно-шарнирного соединения, при этом концевые части центральных направляющих рычажно-шарнирного соединения расположены в вертикальных направляющих, выполненных с внутренней стороны жестких тяг привода, а пластины фильтрующих элементов размещены внутри каркаса, выполненного из вертикальных стержней, установленных со стороны водотока и водозабора.
2. Устройство по п.1, отличающееся тем, что отверстия перфорации гофрированного перфорированного экрана выполнены круглой формы.
3. Устройство по п.1, отличающееся тем, что отверстия перфорации гофрированного перфорированного экрана выполнены прямоугольной формы.
4. Устройство по любому из пп.1-3, отличающееся тем, что отверстия перфорации гофрированного перфорированного экрана выполнены в шахматном порядке.
5. Устройство по п.3, отличающееся тем, что отверстия перфорации большей стороной расположены параллельно фильтрующей плоскости.
6. Устройство по п.3, отличающееся тем, что отверстия перфорации большей стороной расположены перпендикулярно фильтрующей плоскости.
7. Устройство по любому из пп.1-3, отличающееся тем, что прокладки, расположенные между пластинами, выполнены V-образной формы в плане, при этом соседние прокладки формируют фильтрующие каналы и не образуют между собой зазора в свету.
8. Устройство по любому из пп.1-3, отличающееся тем, что прокладки, расположенные между пластинами, выполнены подковообразной формы в плане, при этом соседние прокладки формируют фильтрующие каналы и не образуют между собой зазора в свету.
РИСУНКИ
MM4A – Досрочное прекращение действия патента СССР или патента Российской Федерации на изобретение из-за неуплаты в установленный срок пошлины за поддержание патента в силе
Дата прекращения действия патента: 07.03.2008
Извещение опубликовано: 20.02.2010 БИ: 05/2010
|
|