|
|
(21), (22) Заявка: 2005103231/03, 30.04.2003
(24) Дата начала отсчета срока действия патента:
30.04.2003
(30) Конвенционный приоритет:
09.07.2002 (пп.1, 3-17, 19) DE 10230784.9 18.07.2002 (пп.2, 18) DE 10232489.1
(43) Дата публикации заявки: 27.10.2005
(46) Опубликовано: 20.10.2007
(56) Список документов, цитированных в отчете о поиске:
WO 0104422 А, 18.01.2001. RU 19656 U1, 20.09.2001. US 5505598 A, 09.04.1996. US 4704045 A, 03.11.1987. RU 2064994 C1, 10.08.1996. SU 1395727 A1, 15.05.1988.
(85) Дата перевода заявки PCT на национальную фазу:
09.02.2005
(86) Заявка PCT:
EP 03/04517 (30.04.2003)
(87) Публикация PCT:
WO 2004/005623 (15.01.2004)
Адрес для переписки:
129010, Москва, ул. Б.Спасская, 25, стр.3, ООО “Юридическая фирма Городисский и Партнеры”, пат.пов. Г.Б. Егоровой, рег.№ 513
|
(72) Автор(ы):
ХОЛЛЬ Бернд (DE), ЛЕЙ Херберт (DE), ХЕН Гюнтер (DE)
(73) Патентообладатель(и):
ВИРТГЕН ГМБХ (DE)
|
(54) САМОХОДНАЯ ДОРОЖНО-ФРЕЗЕРНАЯ МАШИНА
(57) Реферат:
Изобретение касается самоходной дорожно-фрезерной машины, включающей в себя раму машины, внутри которой фрезерный барабан установлен с возможностью поворота между боковыми пластинами, которые перпендикулярны оси фрезерного барабана. Этот фрезерный барабан, который имеет основание барабана и фрезерный цилиндр, может приводиться в движение через приводное устройство, которое расположено на внешней стороне боковой пластины с внешней стороны и через редуктор. Боковая пластина, которая выполняется для заменяемых альтернативно устанавливаемых фрезерных цилиндров различной фрезерной ширины и которая расположена напротив боковой пластины с входной стороны, может легко сниматься и определять свободную сторону машины, к которой примыкает один торец фрезерного барабана почти плоско. Чтобы дать возможность фрезеровать поверхности близко к кромке, редуктор устанавливается на приводной входной стороне, причем редуктор включает в себя выходной элемент, который установлен на внутренней стороне приводной боковой пластины с входной стороны, при этом поверхность оболочки формирует посадочную поверхность для элементов фрезерного цилиндра, которые могут скользить на ней со свободной стороны. Предпочтительно, основание барабана присоединено к редуктору посредством свободного торца выходного элемента, не мешая элементам фрезерного цилиндра скользить по поверхности. 18 з.п. ф-лы, 5 ил.
Изобретение касается самоходной дорожно-фрезерной машины в соответствии с ограничительной частью пункта 1.
Благодаря различным расположениям мест строительства и дорожных работ, часто необходимо приспосабливать фрезерный инструмент дорожно-фрезерной машины к особым задачам. Если, например, нужно достигнуть конкретной шероховатости поверхности, требуется фрезерный барабан с заданным расстоянием между фрезерными инструментами или другим инструментальным оборудованием. В другом варианте применения должны быть закончены только участки проезжей части дороги требуемой ширины, так что требуется фрезерный барабан с особой рабочей шириной.
Обычно, в таких ситуациях использовалась специальная фрезерная машина или приспосабливалась машина с фрезерным цилиндром, приспособленным для решения задачи. В настоящее время, тем не менее, замена фрезерных цилиндров сопряжена с трудностями и требует специального оборудования соответственно для установки и снятия фрезерного цилиндра.
Из предыдущего уровня техники, известно, как приспособить фрезерный инструмент к различным требованиям.
В US 4704045 описан фрезерный агрегат, ширина которого может варьироваться путем использования различных сегментов барабана. В этом решении сегменты барабана соединены друг с другом через штекерное соединение. Хотя, в определенном отношении этот тип представляет систему быстрой замены фрезерного барабана, он имеет следующие недостатки.
Это решение неэффективно в том отношении, что на привод фрезерного барабана гидростатически воздействует расположение гидравлических двигателей по обеим сторонам от фрезерного барабана. Более того, соединением между сегментами является простое штекерное соединение, что допускает только недостаточное центрирование фрезерного цилиндра. Поскольку приводное устройство расположено на обеих сторонах, невозможно осуществлять фрезерование около кромок. Более того, требуются корпусы барабана различной ширины, конструкция которых очень сложная.
В US 4720207 описаны фрезерные цилиндрические сегменты, установленные на основании барабана. В этой концепции, боковой кольцеобразный сегмент сначала прикрепляется на одну сторону. Затем на него навинчиваются фрезерные цилиндрические сегменты, при этом винтовые соединения располагаются внутри сегментов. Огромные усилия свинчивания и тот факт, что глубина фрезерования ограничена постоянным диаметром основания, когда планетарная передача выполнена заодно с основанием, являются недостатком такого технического решения.
В US 5505598 описано другое решение, где, прежде всего, глубина фрезерования не ограничена. Редуктор фрезерного барабана размещен на стороне, противоположной к приводному шкиву, и приводится в действие приводным валом, проходящим по оси фрезерного барабана.
Это передаточное устройство с редуктором, внешний диаметр которого только немного меньше, чем внешний диаметр фрезерного цилиндра требуется для плоского фрезерования. От сечения фрезерного барабана, в которое встроен редуктор, выступает осевой штырь, на котором могут быть установлены дальнейшие сегменты с фрезерными инструментами.
Это решение нецелесообразно тем, что фрезерный барабан должен быть полностью снят для выполнения различных фрезерных операций, таких как стандартное или тонкое фрезерование. В варианте применения с максимальной рабочей шириной, т.е. когда все сегменты установлены, отдельные сегменты имеют различные диаметры режущего круга, так что поверхность дороги, которая фрезеруется с их помощью, фрезеруется ступенчато в поперечном направлении.
Три вышеупомянутых решения также имеют в качестве недостатка то, что фрезерные барабаны, разбитые на сегменты, являются объектом для различного износа, так как не все фрезерные цилиндрические сегменты всегда используются.
Из определенного родовыми признаками WO 01/04422 известна дорожно-фрезерная машина с рамой машины, на которой установлен с возможностью вращения фрезерный барабан, включающий в себя основание барабана, приводимое в движение приводным устройством фрезерного барабана через редуктор, и альтернативно применимые соосные фрезерные цилиндры, выполненные с возможностью скольжения на основании барабана с одной стороны, установленные с возможностью замены и несущие на своей внешней поверхности оболочки режущие инструменты.
В известной самоходной дорожно-фрезерной машине редуктор установлен на входной стороне, если фрезерные цилиндры превышают общую рабочую ширину. Основание барабана соединено с радиально выступающим фланцем корпуса редуктора, при этом требуется винтовое соединение с труднодоступной входной стороны. Известное решение с расположением редуктора на входной стороне не может быть целесообразно применимо для фрезерных цилиндров малой ширины фрезерования, так как глубина фрезерования ограничена по следующим причинам.
Фрезерные цилиндры должны быть почти гладкими со свободной стороной для осуществления фрезерования около кромок. Редуктор, расположенный на входной стороне, ограничивает реализуемую глубину фрезерования.
В случае, если фрезерные цилиндры не превышают общей рабочей ширины, редуктор расположен на свободной стороне машины, т.е. на стороне, где возможно фрезерование около кромки.
Недостатком в этом случае является то, что требуется приводной вал, проходящий от входной стороны к редуктору на свободной стороне, который должен устанавливаться и обеспечиваться дополнительным защитным цилиндром в качестве защиты против разрушения. Редуктор образует неподвижную опору, который из-за расположения на свободной стороне неизбежно требует, чтобы подвижная опора была расположена на входной стороне. Это нецелесообразно вследствие того, что поворачивающаяся боковая пластина для быстрой смены фрезерных цилиндров расположена на свободной стороне, которая менее подходит для восприятия высоких сил реакции неподвижной опоры в осевом направлении. В этом варианте решения движущаяся опора дальше расположена на труднодоступной входной стороне, на которой, например, должна устанавливаться защита от кручения для движущейся опоры. Другой недостаток состоит в том, что длинный приводной вал действует как торсионная пружинная система, при помощи чего не возможен жесткий привод фрезерного цилиндра и снижаются максимально возможные силы резания.
Для закрепления фрезерных цилиндров на основании барабана, абсолютно необходимы разрезные кольца, которые должны быть установлены в труднодоступном для сборщика положении. Установка разрезных колец может потребовать повторной смены поворотного положения основания барабана, например на 180°, в соответствии с чем риск аварии увеличивается.
Задачей изобретения является выполнение самоходной дорожно-фрезерной машины, в которой замена фрезерных цилиндров различной ширины фрезерования упрощается и время, требуемое для этого, и трудоемкость уменьшаются.
Преимуществом изобретения является то, что редуктор устанавливается на входной стороне, так что редуктор включает в себя установленный на внутренней стороне входной боковой пластины выходной элемент, поверхность оболочки которого формирует посадочную поверхность для фрезерных цилиндрических элементов, которые могут на нем скользить со свободной стороны, т.е. концы фрезерных цилиндров с входной стороны или радиальные опорные средства для фрезерных цилиндров или/и цилиндрические защитные средства для выходного элемента, так что основание барабана присоединено к редуктору на свободном торце выходного элемента, не мешая элементам фрезерного цилиндра скользить.
Согласно изобретению, редуктор расположен на входной стороне, при этом редуктор включает предпочтительно циркулярно-цилиндрический корпус, формирующий выходной элемент редуктора, основание барабана, присоединенное к редуктору на торце корпуса. Таким образом, возможно, чтобы фрезерные цилиндры различной ширины фрезерования вплоть до максимальной ширины фрезерования скользили на основании барабана и/или корпуса всегда со свободной стороны, причем установка возможна исключительно со свободной стороны. Корпус имеет форму поперечного сечения, позволяющую фрезерному цилиндру или опорному средству для фрезерного цилиндра и/или защитному средству для корпуса скользить со свободной стороны, при этом внутренний контур опорного средства или защитного средства соответствует форме поперечного сечения корпуса. В этом отношении корпус формирует посадочное место для концов фрезерного цилиндра, опорного и/или защитного средств, приспособленных для скольжения со свободной стороны. Для этого основание барабана имеет максимальный внешний диаметр, который не больше чем внешний диаметр корпуса. Не требуется разрезных колец для закрепления фрезерных цилиндров, тех колец, согласно предыдущему уровню техники, которые должны быть установлены в труднодоступном положении. Присоединение основания барабана на торце корпуса преимущественно увеличивает реализуемую глубину фрезерования. Сплошные опорные кольца согласно изобретению могут легко скользить на корпусе редуктора со свободной стороны и здесь они могут быть закреплены на любом месте способом, удобным для сборщика.
Это значительно упрощает усилия установки и уменьшает время, требуемое для этого. Более того, риски аварии минимизируются, поскольку установочные операции не должны выполняться на труднодоступной входной стороне и поворот фрезерного цилиндра не требуется.
Циркулярно-цилиндрический корпус редуктора, чья форма поперечного сечения соответствует опорному средству для фрезерного цилиндра, способен переносить цилиндрическое или кольцеобразное неразделенное опорное средство для фрезерного цилиндра и/или защитное средство для корпуса по всей его осевой длине. Конечно, посадочная поверхность для опорного и/или защитного средства может также проходить только по части осевой длины преимущественно циркулярно-цилиндрического корпуса.
В частности обеспечивается то, что радиальные опорные средства формируют движущуюся опору для фрезерного цилиндра на преимущественно циркулярно-цилиндрическом корпусе. Трубообразные или кольцеобразные радиальные опорные средства непосредственно окружают преимущественно циркулярно-цилиндрический корпус. При осуществлении этого фрезерные цилиндры преимущественно центрируются автоматически так, что опасность ошибки балансировки минимизируется. Подвижная опора может или быть сформированной между фрезерным цилиндром и радиальным опорным средством, например, радиальным опорным кольцом, или, если радиальное опорное кольцо установлено на фрезерном цилиндре, может быть выполнена между радиальным опорным кольцом и посадочной поверхностью на оболочке корпуса. В этом случае, радиальное опорное кольцо и защитный цилиндр, возможно установленный на радиальном опорном кольце могут скользить по посадочной поверхности, а именно поверхности оболочки корпуса редуктора.
На торце корпуса может располагаться центрирующее средство для основания барабана. Центрирующее средство состоит, например, из центрирующего выступа или установленного на внутренней поверхности оболочки цилиндрического основания барабана или преимущественно приспособлено к внутреннему диаметру соединительного фланца основания барабана.
В предпочтительном варианте выполнения, обеспечивается то, что свободный конец основания барабана односторонне закрепленного на легко съемной боковой пластине напротив боковой пластины с входной стороны. В этом случае опора основания, выполненная на свободной стороне, является движущейся опорой, в то время как неподвижная опора формируется редуктором на входной стороне. Преимущество состоит в том, что неподвижная опора, воспринимающая осевые силы, расположена на жесткозакрепленной входной стороне, где боковая пластина может воспринимать более высокие силы реакции, частично более высокие осевые силы реакции.
При радиальном опорном средстве для фрезерного цилиндра может быть установлен защитный цилиндр, покрывающий редуктор, для защиты корпуса от разрушения.
При усовершенствовании изобретения обеспечивается то, что редуктор включает в себя, по меньшей мере, одну ступень понижения в части редуктора с входной стороны на месте соединения с приводным средством и, по меньшей мере, одну следующую ступень на внутренней стороне фрезерного цилиндра в части редуктора со стороны фрезерного барабана.
Деление редуктора на часть редуктора с входной стороны на месте соединения приводного средства и следующую часть редуктора, расположенную внутри фрезерного барабана, дает возможность уменьшить диаметр элемента цилиндрического корпуса, в соответствии с чем гораздо большая глубина фрезерования может достигаться с фрезерными цилиндрами более короткой конструктивной длины.
Преимуществом является то, что, по меньшей мере, одна ступень редуктора с входной стороны расположена так, чтобы быть смещенной по оси по отношению к, по меньшей мере, одной ступени понижения со стороны фрезерного барабана.
Части редуктора расположены по обеим сторонам от боковой пластины с входной стороны. Две части редуктора соединены друг с другом через вал-шестерню, проходящий через боковую пластину.
Легкосъемная боковая пластина, выполненная на свободной стороне, может быть выполнена с возможностью вращения для смены фрезерных цилиндров.
Предпочтительно циркулярно-цилиндрический корпус имеет внешний диаметр максимально 400 мм, предпочтительно максимально 350 мм.
В предпочтительном варианте выполнения обеспечивается то, что основание барабана включает в себя первый торцевой кольцеобразный фланец, выполненный с возможностью присоединения по оси к торцу корпуса со свободной стороны, также как второй кольцеобразный фланец, радиально установленный на основании барабана с возможностью вращения вместе с ним и с возможностью соединения по оси с кольцеобразным фланцем, выступающим радиально внутрь от фрезерного цилиндра. Крутящий момент, выходящий из корпуса редуктора как выходной элемент, переносится на фрезерный цилиндр посредством кольцеобразного фланца основания барабана и радиального кольцеобразного фланца фрезерного цилиндра.
Ниже детально описаны варианты выполнения со ссылками на чертежи.
На чертежах изображено:
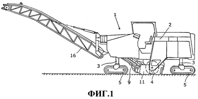
на фиг.1 – самоходная дорожно-фрезерная машина, и
на фиг.2-5 – варианты выполнения изобретения с фрезерными цилиндрами различной ширины фрезерования.
На фиг.1 изображена дорожно-фрезерная машина 1, в которой может использоваться система быстрой смены фрезерного цилиндра, описанная ниже. Обычно, дорожно-фрезерные машины состоят из рамы 2 машины, на которой установлен двигатель внутреннего сгорания и приводная установка. Самоходная дорожно-фрезерная машина включает в себя регулируемые по высоте подъемные колонны 3, присоединенные к раме 2 машины, на которых установлены несущие колеса или гусеницы (цепная ходовая передача) 5.
Фрезерный барабан 4 расположен под рамой 2 машины в цилиндрическом кожухе 11, ограниченном по бокам боковыми пластинами 12, 13. Известным по существу способом материал, снятый фрезерным барабаном 4, сбрасывается на первую ленту транспортера 9 и перемещается на вторую регулируемую по высоте и поворачиваемую ленту транспортера 16.
Фрезерный барабан 4 установлен с возможностью вращения между боковыми пластинами 12, 13 цилиндрического кожуха 11, которые расположены перпендикулярно оси фрезерного барабана, и приводится в действие через приводное устройство 6, установленное на боковой пластине 12 с входной стороны, и редуктор 8.
Фрезерный барабан 4 состоит из основания 14 барабана, присоединенного к корпусу 26 редуктора 8, расположенного на боковой стороне 12 с входной стороны и встроенного фрезерного цилиндра 10, установленного с возможностью замены на основании 14 барабана. Основание 14 барабана расположено на оси рядом с частью 8b редуктора. Основание 14 барабана передает крутящий момент редуктора 8 соответственно используемому фрезерному цилиндру 10. В качестве альтернативы пригодные к эксплуатации фрезерные цилиндры 10 различной ширины фрезерования и различная инструментальная оснастка доступны для различных дорожно-обрабатывающих операций и приспособлены к быстрой смене.
На фиг.2 показан первый вариант выполнения, где приводное устройство 6, от которого на фиг.2 показан только шкив 35, расположено на боковой пластине 12 с входной стороны. Двигатель внутреннего сгорания приводит в движение этот шкив 35 через, например, присоединенный клиновой ремень. На месте соединения 18 шкив 35 непосредственно соединен с первой понижающей ступенью редуктора 8 в части 8a редуктора с входной стороны. Другая понижающая ступень соединена с первой понижающей ступенью через вал-шестерню 28. Вторая ступень редуктора расположена на предпочтительном циркулярно-цилиндрическом корпусе 26, который расположен на стороне фрезерного барабана на боковой пластине 12 с входной стороны. Корпус 26 составляет выходной элемент редуктора 8.
По торцу 23 циркулярно-цилиндрического корпуса 26 основание 14 барабана устанавливается соосно с корпусом 26 посредством кольцеобразного фланца 15, выполненного на торце основания барабана, свободный конец основания 14 барабана, установленный на подвижной опоре боковой пластины 13, противоположной боковой пластине 12 с входной стороны. Боковая пластина 13 расположена на свободной стороне дорожно-фрезерной машины, которая характеризуется тем, что эта сторона, где возможно фрезерование около кромки. На свободной стороне расстояние от торцевой стороны кромки фрезерного цилиндра 4 до внешней стенки дорожно-фрезерной машины 1, например, боковой пластины 13 выполняется как можно меньшим.
Максимально кольцеобразный фланец 15 основания 14 барабана имеет тот же внешний диаметр, что и цилиндрический корпус 26, внутренний диаметр кольцеобразного фланца 15, посаженного на цилиндрический центрирующий выступ 27 корпуса 26 так, что обеспечивается точно соосное ориентированное положение основания 14 барабана по отношению к редуктору 8. На расстоянии от кольцеобразного фланца 15, также как на расстоянии от боковой пластины 13, второй кольцеобразный фланец 17 выполняется на основании 14 барабана и служит как соединительный элемент для фрезерного цилиндра 10. Для этого кольцеобразный фланец 19 или другой соединительный элемент выступает радиально внутрь с внутренней стороны фрезерных цилиндров 10 и соединяется с кольцеобразным фланцем 17. Кольцеобразный фланец 17 передает крутящий момент от основания 14 барабана к фрезерному цилиндру 10.
Фрезерный цилиндр 10 оснащен фрезерными инструментами 22, например, граница 24 рабочей зоны инструмента которых показана пунктирной линией на чертежах. Максимальная глубина фрезерования FT показана другой пунктирной линией под боковыми пластинами 12, 13.
Предпочтительно, легкосъемная боковая пластина 12, вращающаяся, но, как альтернатива, она также может быть перемещаемой по оси.
Фрезерный цилиндр, показанный на фиг.2, имеет ширину фрезерования, например, 750 мм. Свободный конец фрезерного цилиндра 10, обращенный на входную сторону, поддерживается на опорном кольце 29, которое насаживается на корпус 26 и закрепляется там. От этого радиального опорного кольца 29 выступает защитный цилиндр 30, установленный на опорное кольцо 29, который соосно окружает циркулярно-цилиндрический корпус 26 и защищает корпус 26 редуктора 8 от разрушения. Между радиальным опорным кольцом 29 и фрезерным цилиндром формируется движущаяся опора/подшипник, причем фрезерный цилиндр 10 способен скользить на опорном кольце 29.
Альтернативно, радиальное опорное кольцо 29 и защитный цилиндр 30 может устанавливаться на фрезерном цилиндре 10, причем общая конструкция опорного кольца 29 и защитного цилиндра 30 способна садится на корпус 26 и скользить посредством движущейся опоры по посадочному месту поверхности 25 оболочки корпуса 26, проходящего параллельно валу-шестерне 28.
В варианте выполнения фиг.2-5, основание 14 барабана предварительно собрано с корпусом 26 редуктора 8 и кольцеобразным фланцем 19. Если требуется замена фрезерного цилиндра 10, из-за другой задачи в процессе фрезерования, эта замена может быть выполнена быстро сначала снятием или поворотом боковой пластины 13. Затем винтовые соединения между фрезерным цилиндром и кольцеобразным фланцем 19 должны быть удалены, после этого весь фрезерный цилиндр может быть снят со свободной стороны. Впоследствии, радиальное опорное кольцо 29 вместе с защитным цилиндром 30, установленным там же снимается со своей посадочной поверхности на корпусе 26. Они могут остаться на корпусе, если фрезерный цилиндр заменяется только по причине износа и снова насаживается эквивалентный или другой фрезерный цилиндр той же ширины фрезерования, например, для тонкого фрезерования.
В варианте выполнения, изображенном на фиг.2 и 3, сборка выполняется в обратном порядке. Соответственно, опорное кольцо 29 с защитным цилиндром 30, установленным там же, сначала насаживается на посадочную поверхность на поверхности 25 оболочки корпуса 26 и закрепляется там. Впоследствии, фрезерный цилиндр 10 может быть надет на основание 14 барабана и радиальное опорное кольцо 29.
Затем фрезерный цилиндр 10 соединяется путем винтового соединения с кольцеобразным фланцем 19, где можно расположить другой кольцеобразный фланец 33 как торцевую закрывающую пластину на конце фрезерного цилиндра 10, обращенном к свободной стороне для предотвращения попадания грязи внутрь фрезерного цилиндра 10 с торца фрезерного цилиндра 10.
Опорное кольцо 29 может также быть выполнено за одно целое с фрезерным цилиндром 10, причем фрезерный цилиндр 10 вместе с опорным кольцом 29, насаживается на основание 14 барабана. В принципе, кольцеобразный фланец 19 может также быть выполнен за одно целое с фрезерным цилиндром 10.
Вариант выполнения, изображенный фиг.3, во многом соответствует варианту выполнения фиг.2, при этом фрезерный цилиндр 10 имеет максимальную ширину фрезерования между боковыми пластинами 12, 13. Радиальный опорный фланец 29 закрепляется на конце корпуса 26 с входной стороны. Защитный цилиндр 30, установленный на кольцеобразном фланце 29, укорачивается и заканчивается около конца корпуса 26 с торцевой стороны, который обращен на входную сторону.
В вариантах выполнения, изображенных на фиг.2 и 3, может в качестве альтернативы обеспечиваться то, что кольцеобразный фланец 29 вместе с защитным цилиндром 30 устанавливается на фрезерном цилиндре 10 и насаживается на поверхность 25 оболочки корпуса 26 вместе с вышеназванным фрезерным цилиндром.
В варианте выполнения, изображенном на фиг.4, фрезерный цилиндр 10 даже короче, чем в варианте выполнения, изображенном на фиг.2 так, что вторая радиальная опора фрезерного цилиндра 10 может быть опущена. В этом случае защитный цилиндр 30 устанавливается на кольцеобразный фланец 19 фрезерного цилиндра 10. В процессе сборки фрезерный цилиндр 10 насаживается на посадочную поверхность на поверхности 25 оболочки корпуса 26 вместе с защитным цилиндром 30. В вариантах выполнения, изображенных на фиг.2-5, как редуктор, так и основание 14 барабана могут остаться незамененными, когда ширина фрезерования меняется, тогда как фрезерные цилиндры могут устанавливаться или сниматься по оси со свободной стороны. Доступа с входной стороны не требуется.
Вариант выполнения, изображенный на фиг.5, показывает фрезерный цилиндр с короткой шириной фрезерования, который соединен винтовым соединением только с основанием 14 барабана через кольцеобразный фланец 19.
В частности преимуществом является то, что только фрезерный цилиндр 10 должен заменяться в соответствующих вариантах выполнения, изображенных на фиг.2-5. Редуктор 8 и основание барабана остаются незамененными относительно приводного устройства, так что не требуется регулировки трансмиссии привода. Своей посадочной поверхностью на основании 14 барабана и/или на цилиндрическом корпусе 26 фрезерный цилиндр 10 автоматически центрируется, посредством чего в частности избегаются ошибки балансировки. Легкоперемещаемые соединительные элементы фрезерного цилиндра 10 защищаются от загрязнения и разрушения.
Формула изобретения
1. Самоходная дорожно-фрезерная машина, содержащая раму (2) машины, внутри которой установлен с возможностью поворота фрезерный барабан (4) между боковыми пластинами (12, 13), которые перпендикулярны оси фрезерного барабана (4), фрезерный барабан (4), который имеет основание барабана (14) и фрезерный цилиндр (10), выполненный с возможностью приведения в действие через приводное устройство (6), установленное на внешней стороне боковой пластины (12) с внешней стороны и через редуктор (8), и боковую пластину (13), расположенную напротив боковой пластины (12) с входной стороны, легко съемную для заменяемых альтернативно установленных фрезерных цилиндров (10) различной фрезерной ширины и определяющую свободную сторону машины (1), к которой примыкает один торец фрезерного барабана (4) по существу плоско для фрезерования поверхности близко к кромке, отличающаяся тем, что редуктор (8) установлен на приводной входной стороне, при этом редуктор (8) содержит приводной выходной элемент, установленный на внутренней стороне приводной боковой пластины (12) с входной стороны, чья поверхность (25) оболочки формирует посадочную поверхность для элементов фрезерного цилиндра, скользящие на ней со свободной стороны, причем основание (14) барабана присоединено к редуктору (8) на свободном переднем торце (23) приводного выходного элемента, не мешая элементам фрезерного цилиндра скользить по поверхности.
2. Самоходная дорожно-фрезерная машина по п.1, отличающаяся тем, что элементы фрезерного цилиндра состоят из концов фрезерного цилиндра (10), ориентированных на приводную входную сторону или их радиальных опорных средств для фрезерного цилиндра (10) и/или цилиндрических защитных средств для выходного элемента.
3. Самоходная дорожно-фрезерная машина по п.2, отличающаяся тем, что фрезерные цилиндры (10) и/или радиальные опорные средства для фрезерных цилиндров (10) и/или цилиндрические защитные средства выполнены за одно целое.
4. Самоходная дорожно-фрезерная машина по одному из пп.1-3, отличающаяся тем, что выходной элемент имеет циркулярно цилиндрическую форму поперечного сечения.
5. Самоходная дорожно-фрезерная машина по п.1, отличающаяся тем, что приводной выходной элемент состоит из корпуса (26) редуктора (8).
6. Самоходная дорожно-фрезерная машина по п.1, отличающаяся тем, что основание (14) барабана имеет максимальный внешний диаметр, который не больше, чем внешний диаметр выходного элемента (26).
7. Самоходная дорожно-фрезерная машина по п.1, отличающаяся тем, что выходной элемент выполнен с возможностью переноса цилиндрического и кольцеобразного радиального опорного и/или защитного средства на, по меньшей мере, части общей осевой длины.
8. Самоходная дорожно-фрезерная машина по п.2, отличающаяся тем, что радиальное опорное средство формирует движущуюся опору для фрезерного цилиндра (10) на выходном элементе (26).
9. Самоходная дорожно-фрезерная машина по п.5, отличающаяся тем, что центрирующее средство (27) для основания (14) барабана расположено на торцевой стороне корпуса (26).
10. Самоходная дорожно-фрезерная машина по п.1, отличающаяся тем, что свободный конец основания (14) барабана установлен на легко съемной боковой пластине (13) на стороне, противоположной боковой стороне (12) с входной стороны.
11. Самоходная дорожно-фрезерная машина по п.2, отличающаяся тем, что защитный цилиндр (30), покрывающий выходной элемент, присоединен к радиальному опорному средству (29) для фрезерного цилиндра (10) в качестве защитного средства.
12. Самоходная дорожно-фрезерная машина по п.5, отличающаяся тем, что корпус (26), служащий выходным элементом, имеет внешний диаметр 400 мм максимально, предпочтительно 350 мм максимально.
13. Самоходная дорожно-фрезерная машина по п.1, отличающаяся тем, что основание (14) барабана содержит первый торцевой кольцеобразный фланец (15), выполненный с возможностью присоединения по оси к торцу корпуса (26) выходного элемента со свободной стороны, так же как и второй кольцеобразный фланец (17), расположенный радиально на основании (14) барабана для совместного вращения, который выполнен с возможностью присоединения по оси с опорным средством (19), выступающим радиально внутрь от фрезерного цилиндра (10).
14. Самоходная дорожно-фрезерная машина по п.2, отличающаяся тем, что радиальное опорное кольцо (29) расположено как опорное средство для фрезерного цилиндра (10) на торце фрезерного цилиндра (10) и соосно насажено, плотно прилегая, на корпус (26) выходного элемента.
15. Самоходная дорожно-фрезерная машина по п.5, отличающаяся тем, что редуктор (8) содержит, по меньшей мере, одну ступень понижения в части (8а) редуктора с входной стороны в месте (18) присоединения к приводному средству (6) и, по меньшей мере, одну следующую ступень понижения в части (8b) редуктора со стороны фрезерного барабана, окруженную корпусом (26).
16. Самоходная дорожно-фрезерная машина по п.15, отличающаяся тем, что, по меньшей мере, одна понижающая передача (22) с входной стороны расположена так, чтобы быть смещенной по оси по отношению к, по меньшей мере, одной ступени (24) понижения со стороны фрезерного барабана.
17. Самоходная дорожно-фрезерная машина по п.15, отличающаяся тем, что, по меньшей мере, одна ступень (22) понижения с входной стороны расположена на стороне боковой пластины (12) с входной стороны рамы (2) машины, которая противоположна фрезерному барабану (4).
18. Самоходная дорожно-фрезерная машина по п.15, отличающаяся тем, что, по меньшей мере, одна ступень (22) понижения с входной стороны соединена с, по меньшей мере, одной следующей ступенью (24) понижения через вал-шестерню (28).
19. Самоходная дорожно-фрезерная машина по п.1, отличающаяся тем, что легкосъемная боковая пластина (13) является поворачиваемой для замены фрезерных цилиндров (10).
РИСУНКИ
|
|