|
|
(21), (22) Заявка: 2006100228/11, 10.01.2006
(24) Дата начала отсчета срока действия патента:
10.01.2006
(46) Опубликовано: 20.10.2007
(56) Список документов, цитированных в отчете о поиске:
SU 187534 А1, 15.11.1966. DE 19650477 С1, 30.04.1998. SU 1346038 A3, 15.10.1987. US 3752251 А, 14.08.1973. US 6050126 А, 18.04.2000. SU 126024 А1, 01.01.1960.
Адрес для переписки:
243365, Брянская обл., Выгоничский р-н, с. Кокино, ФГОУ ВПО БГСХА
|
(72) Автор(ы):
Христофоров Евгений Николаевич (RU), Сакович Наталья Евгеньевна (RU), Самусенко Владимир Иванович (RU), Гальянов Иван Васильевич (RU)
(73) Патентообладатель(и):
ФГОУ ВПО “Брянская государственная сельскохозяйственная академия” (RU)
|
(54) ДАТЧИК АНТИБЛОКИРОВОЧНОЙ СИСТЕМЫ АВТОМОБИЛЯ
(57) Реферат:
Изобретение относится к области машиностроения, а именно к антиблокировочным системам автомобилей. Датчик содержит корпус, фасонный валик с шестерней, коромысло с двумя винтами и таррировочную пружину. На поверхность фасонного валика надета фасонная втулка, при этом в паз фасонного валика вставлен толкатель-лопатка. Толкатель-лопатка выполнен с возможностью взаимодействия своей сферической поверхностью с коромыслом, содержащим два винта – нажимной винт, взаимодействующий с контактом выключателя, и упорный винт, предохраняющий выключатель от разрушения. Фасонная втулка выполнена с возможностью взаимодействия с маховиком, который удерживается на фасонной втулке за счет трения, создаваемого башмаками с таррировочными пружинами. В маховике выполнены три отверстия под углом 120°, в которые вставлены вышеупомянутые башмаки с таррировочными пружинами, а отверстия закрыты заглушками. Достигается повышение надежности включения системы антиблокировочной защиты автомобиля при юзе. 3 ил.
Изобретение относится к области машиностроения, в частности, к автомобилям с колесным торможением, с системой антиблокировочной защиты колес.
Известен инерционно-генераторный двухсигнальный датчик управления электромагнитным краном колес самолета, который конструктивно выполнен из двух систем: электрической – в которую входят, постоянный кольцевой магнит смонтированный на маховике, электромагнитные катушки, электрические реле, электромагнитный клапан, и механической – состоящей из фрикциона, валика с шестерней, толкателя, рычага с винтами и выключателя [1].
Наличие двух систем усложняет конструкцию, и снижает ее надежность.
Техническим результатом является повышение надежности включения системы антиблокировочной защиты колес автомобиля при юзе.
Указанный технический результат достигается тем, что предлагается исключить электрическую систему, а для механической вместо фрикциона и толкателя, установить фасонную втулку со скосами и толкатель – лопатку. Вместо постоянного кольцевого магнита смонтированного на маховике, применить маховик с тремя отверстиями, в которые установить башмаки с таррировочными пружинами. Башмаки с пружинами необходимы для удержания маховика на фасонной втулке при вращении, за счет трения создаваемого башмаками с таррировочными пружинами и фасонной втулкой. Отверстия выполнены в теле маховика под углом 120°. Упомянутые отверстия в маховике, с помощью резьбовых соединений, закрыты заглушками, вращая которые, можно изменять усилие таррировочных пружин, влияя тем самым на порог срабатывания датчика. Что соответствует критерию «новизна».
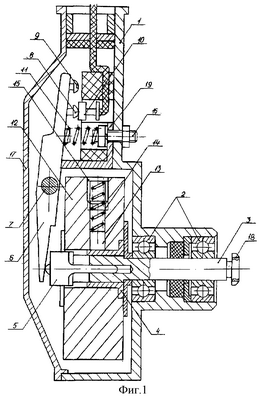
На фиг. 1, 2, 3 изображен предлагаемый датчик.
Датчик антиблокировочной системы состоит из корпуса 1, в котором запрессованы шарикоподшипники 2, служащие опорой фасонного валика 3, связанного с колесом автомобиля, шестерней 18. На поверхность фасонного валика надета фасонная втулка 4. В имеющийся в фасонном валике паз вставлен толкатель-лопатка 5, который своей сферической поверхностью опирается на коромысло 6, установленного на оси 7, закрепленной на кронштейне 19. В коромысло 6 ввернуты два винта 8 и 9. Винт 8 нажимной, он взаимодействует с контактом выключателя 10. Винт 9 является упорным, предохраняющим выключатель от разрушения. Пружина 11 служит для регулировки величины углового ускорения на включение порогового значения устройства. В маховике 12 имеются три отверстия, выполненными под углом 120°, в которые вставлены башмаки 13 с таррировочными пружинами 14. В отверстия ввернуты заглушками 15. Винт 16 служит опорой для таррировочной пружины 11, позволяющей регулировать усилия между коромыслом и сферической поверхностью толкателя-лопатки. Датчик закрыт крышкой 17.
Датчик работает следующим образом. При вращении колеса автомобиля через шестерню приводится во вращение фасонный валик 3, с фасонной втулкой 4, толкателем – лопаткой 5, маховиком 12, который удерживается на фасонной втулке за счет трения, создаваемого башмаками 13 с таррировочными пружинами 14, усилия которых можно регулировать с помощью заглушек 15. Коромысло 6 при этом не нажимает кнопку контакта выключателя 10, колесо растормаживается, не допуская блокировки. При дальнейшем торможении колеса, когда его угловая скорость падает, а угловое замедление достигнет заданного порогового значения, что соответствует началу юза колеса, маховик 12 начинает обгонять фасонный валик 3, увлекая за собой фасонную втулку 4. При повороте фасонной втулки 4 относительно фасонного валика 3 толкатель-лопатка 4, скользит по скосам фасонной втулки в сторону крышки 17, нажимая при этом на коромысло 6. Второе плечо коромысла через винт 8 включает контакт выключателя 10, который подает сигналы на растормаживание колеса. Колесо растормаживается. Возникает угловое ускорение колеса. Колесо набирает угловую скорость, и возникший инерционный момент маховика 12, обратного знака, совместно с пружиной 11 возвращает детали датчика в исходное положение. Датчик снова готов к работе (фиг.1, 2, 3).
Источники информации
1. Авторское свидетельство № 187534, МПК В60Т 8/12, 1966.
Формула изобретения
Датчик антиблокировочной системы автомобиля, содержащий корпус, фасонный валик с шестерней, коромысло с двумя винтами и тарировочную пружину, отличающийся тем, что на поверхность фасонного валика надета фасонная втулка, при этом в паз фасонного валика вставлен толкатель-лопатка, выполненный с возможностью взаимодействия своей сферической поверхностью с коромыслом, содержащим два винта – нажимной винт, взаимодействующий с контактом выключателя, и упорный винт, предохраняющий выключатель от разрушения, при этом фасонная втулка выполнена с возможностью взаимодействия с маховиком, который удерживается на фасонной втулке за счет трения, создаваемого башмаками с тарировочными пружинами, в упомянутом маховике выполнены три отверстия под углом 120°, в которые вставлены вышеупомянутые башмаки с тарировочными пружинами, а отверстия закрыты заглушками.
РИСУНКИ
MM4A – Досрочное прекращение действия патента СССР или патента Российской Федерации на изобретение из-за неуплаты в установленный срок пошлины за поддержание патента в силе
Дата прекращения действия патента: 11.01.2008
Извещение опубликовано: 20.08.2009 БИ: 23/2009
|
|