|
| На основании пункта 3 статьи 13 Патентного закона Российской Федерации от 23 сентября 1992 г. № 3517-I патентообладатель обязуется передать исключительное право на изобретение (уступить патент) на условиях, соответствующих установившейся практике, лицу, первому изъявившему такое желание и уведомившему об этом патентообладателя и федеральный орган исполнительной власти по интеллектуальной собственности, – гражданину РФ или российскому юридическому лицу. |
|
(21), (22) Заявка: 2006104538/11, 13.02.2006
(24) Дата начала отсчета срока действия патента:
13.02.2006
(46) Опубликовано: 20.10.2007
(56) Список документов, цитированных в отчете о поиске:
RU 2172418 С, 20.08.2001. DE 1237162 C, 22.03.1967. FR 2393159, 29.12.1978. US 5280702, 25.01.1994.
Адрес для переписки:
443112, г.Самара, ул. Крайняя, 18-17, Н.Б. Болотину
|
(72) Автор(ы):
Болотин Николай Борисович (RU)
(73) Патентообладатель(и):
Болотин Николай Борисович (RU)
|
(54) СИЛОВАЯ УСТАНОВКА ЛОКОМОТИВА НА БАЗЕ ДВУХВАЛЬНОГО ГАЗОТУРБИННОГО ДВИГАТЕЛЯ
(57) Реферат:
Изобретение относится к железнодорожному транспорту, а именно к силовой установке локомотива. Установка локомотива на базе двухвального газотурбинного двигателя содержит двухвальный газотурбинный двигатель с компрессорами первого и второго каскадов и две ступени турбины, соединенный газовым трактом со свободной турбиной. Система содержит обводной газоход высокого давления с клапаном, соединяющий выход из первой ступени турбины с выходом из свободной турбины, и обводной газоход низкого давления, соединяющий выход из второй ступени турбины с выходом из свободной турбины. Двухвальный газотурбинный двигатель оборудован стартером и имеет датчик оборотов одного из валов газотурбинных двигателей, соединенные электрическими связями с системой управления силовой установки. Свободная турбина имеет регулируемый сопловой аппарат с приводом соплового аппарата свободной турбины, соединенным электрической связью с системой управления. Двухвальный газотурбинный двигатель и/или свободная турбина оборудованы системой охлаждения, совмещенной с системами регулирования радиальных зазоров. Системы охлаждения двухвальных газотурбинных двигателей и свободной турбины соединены последовательно. Система охлаждения газотурбинного двигателя содержит систему охлаждения масла. Технический результат заключается в улучшении запуска силовой установки и ее экономичности. 5 з.п. ф-лы, 2 ил.
Изобретение относится к железнодорожному транспорту.
Известна силовая установка по патенту РФ на изобретению №2137617, эта установка имеет жидкостную систему охлаждения и вентилятор для создания потока охлаждающего воздуха.
Известна силовая установка по патенту РФ №2172418, которая содержит газотурбинный двигатель, газовый тракт, соединяющий этот газотурбинный двигатель с силовой турбиной и обводной канал, который соединяет газовый тракт между турбинами и перед свободной турбиной.
Недостаток этой силовой установки – плохие характеристики его запуска, конкретно большое время запуска. Это связано с тем, что газодинамическое сопротивление свободной турбины имеет значительную величину и мощности стартера недостаточно для одновременной рескрутки нескольких газотурбинных двигателей и свободной турбины, с которой отбирается мощность на трансмиссиию.
Задача создания изобретения – улучшение запуска силовой установки локомотива и повышение ее экономичности.
Решение указанной задачи достигнуто за счет того, что силовая установка локомотива на базе двухвального газотурбинного двигателя, содержащая двухвальный газотурбинный двигатель с компрессорами первого и второго каскадов и две ступени турбины, соединенный газовым трактом со свободной турбиной, отличающаяся тем, что система содержит обводной газоход высокого давления с клапаном, соединяющий выход из первой ступени турбины с выходом из свободной турбины, и обводной газоход низкого давления, соединяющий выход из второй ступени турбины с выходом из свободной турбины. Двухвальный газотурбинный двигатель оборудован стартером и имеет датчик оборотов одного из валов газотурбинных двигателей, соединенные электрическими связями с системой управления силовой установки. Свободная турбина имеет регулируемый сопловой аппарат с приводом соплового аппарата свободной турбины, соединенным электрической связью с системой управления. Двухвальный газотурбинный двигатель и/или свободная турбина оборудованы системой охлаждения, совмещенной с системами регулирования радиальных зазоров. Системы охлаждения двухвального газотурбинного двигателя и свободной турбины соединены последовательно. Система охлаждения газотурбинного двигателя содержат систему охлаждения масла.
Предложенное техническое решение обладает новизной, изобретательским уровнем и промышленной применимостью, что подтверждается проведенными патентными исследованиями. Для реализации изобретения достаточно применения известных узлов и деталей, ранее разработанных и реализованных в конструкции газотурбинных двигателей и в машиностроении.
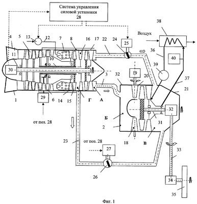
Сущность изобретения поясняется на фиг.1 и 2, где
– на фиг.1 приведена схема силовой установки локомотива,
– на фиг.2 приведена схема охлаждения корпуса и масла и регулирования радиальных зазоров в компрессоре 5.
Предложенное техническое решение (фиг.1) содержит двухвальный газотурбинный двигатель ГТД 1 и свободную турбину 2, соединенные между собой газодинамическим трактом 3, который соединяет полость на выходе ГТД 1 «А» и полость на входе в свободную турбину «Б».
Газотурбинный двигатель 1 содержит входное устройство 4, первый каскад компрессора 5, второй каскад компрессора 6, камеру сгорания 7, первую ступень турбины 8, вторую ступень турбины 9, внутренний вал 10 и внешний вал 11, систему топливоподачи 12 с топливным насосом 13.
Первая ступень турбины 8 содержит сопловой аппарат первой ступени турбины 14, рабочее колесо первой ступени турбины 15. Вторая ступень турбины 9 содержит сопловой аппарат второй ступени турбины 16 и рабочее колесо второй ступени турбины 17.
Свободная турбина 2 содержит регулируемый сопловой аппарат свободной турбины 18 с приводом 19, рабочее колесо свободной турбины 20 и реактивное сопло 21. На входе в свободную турбину 2 выполнена полость «Б», а на выходе из свободной турбины – полость «В». Газовый тракт 3 соединяет выход из газотурбинного двигателя 1, т.е полость «А», со входом в свободную турбину 2, конкретно с полостью «Б» на входе в свободную турбину 2.
Система содержит два перепускных газовода 22 и 23. Перепускной газовод низкого давления 22 соединяет выход из второй ступени турбины, полость «А», с выходом из свободной турбины 2, т.е. с полостью «В». Перепускной газовод высокого давления 23 соединяет выход из первой ступени турбины, полость «Г», с выходом их свободной турбины 2, полость «В». В перепускном газоводе низкого давления 22 установлен клапан 24 с приводом 25. В линии перепускного газовода высокого давления 23 установлен клапан 26 с приводом 27. Приводы 25 и 27 соединены электрическими связями с системой управления силовой установки 28. Газотурбинный двигатель 1 оборудован стартером 29 и датчиком оборотов ГТД 30. Датчик оборотов 30 соединен электрическими связями с системой управления силовой установки 28. Мощность с силовой установки снимается на вал 31 и далее на реверсивное устройство 32, промежуточный вал 33, редуктор 34 и на привод локомотива 35. Привод 35 может быть выполнен электрическим, например в виде генератора и электродвигателей, подключенных к нему силовыми кабелями, валы которых кинематически соединены с приводными колесными парами локомотива.
Силовая установка локомотива оборудована системой воздушного охлаждения, которая в свою очередь состоит из систем охлаждения корпуса газотурбинного двигателя 1 и системы охлаждения масла.
Система охлаждения масла (Фиг.1 и 2) содержит магистраль подвода масла 36, магистраль отвода масла 37 с теплообменником 38 и маслонасосом 39. На выходе из системы охлаждения масла установлен датчик температуры масла 40, который соединен электрическими связями с системой управления силовой установки 28.
Система охлаждения корпуса газотурбинного двигателя 41 (фиг.2) содержит наружный кожух 42, установленный концентрично ему, с образование зазора для прохода охлаждающего воздуха. Система содержит линию подачи воздуха 43 с регулятором расхода 44, имеющим привод 45. Линия подачи воздуха 43 подключена входом к полости «Д», расположенной между первым и вторым каскадами компрессора, соответственно поз.5 и 6.
Система охлаждения корпуса ГТД также уменьшает радиальные зазоры в компрессоре, турбине, позволяет их регулировать регулятором расхода 44 и повышает КПД силовой установки, в результате чего снижается расход топлива.
При запуске силовой установки электрический сигнал подается с системы управления 28 на стартер 29 и топливный насос 13. Стартер 29 раскручивает ротор, т.е внешний вал 2 с компрессором второго каскада 6 и первой ступенью турбины 8. В исходном положении клапаны 24 и 26 открыты и максимальное количество продуктов сгорания перепускается мимо свободной турбины 2. Мощность стартера 29 тратится на раскрутку только одного ротора ГТД 1. Когда осуществится запуск газотурбинного двигателя ГТД 1, его обороты достанут рабочих, что контролируют датчики оборотов 30, система управления 28 подает сигнал на приводы 25 и 27 и клапаны 24 и 26 закрываются. Раскручивается ротор на основе внутреннего вала 10, содержащий первый каскад компрессора 5 и вторую ступень турбины 9. Весь расход выхлопных газов из полостей «А» поступает в полость «Б» перед свободной турбиной и далее на сопловой аппарат свободной турбины 18, и рабочее колесо 20 свободной турбины раскручивается. В результате этого ГТД 1 запускается значительно быстрее, т.к. мощность стартера 29 не затрачивается на раскрутку внешнего ротора на основе вала 11 и на раскрутку ротора свободной турбины 2.
Датчики температуры 45 контролируют температуру воды на выходе из систем охлаждения и передают эти данные в систему управления 28. При превышении температуры охлаждающей воды, например, более 95°С система управления подает сигнал на приводы 43 для открытия регуляторов 42 и 51. При температуре ниже 80°С подается сигнал на прикрытие регуляторов 42 и 51. Это позволяет поддерживать минимальный радиальный зазор между рабочими лопатками и статорами компрессоров, турбин и свободной турбины. КПД силовой установки вследствие этого возрастет на 2…4%, а расход топлива соответственно уменьшится.
При этом локомотив имеет возможность при движении использовать мощность одного, двух или нескольких ГТД 1 и 2, в зависимости от потребности и комплектации локомотива двумя или более ГТД и от того, сколько ГТД одновременно задействовал машинист локомотива.
Регулирование радиального зазора осуществляется за счет охлаждения корпусов компрессора, турбины и свободной турбины 2, при этом диаметр статора D2 уменьшается и зазор тоже уменьшается (это видно на примере регулирования радиального зазора в компрессоре, фиг.2).
Аналогично осуществляется регулирование радиальных зазоров в турбине и в свободной турбине 2. Контроль процесса охлаждения основных узлов ГТД и свободной турбины осуществляется датчиками температуры 45, а управление – регуляторами 42 и 51, имеющими приводы 43 и 52.
Применение изобретения позволило облегчить (ускорить) запуск силовой установки локомотива, повысило надежность силовой установки и улучшило его экономичность.
Формула изобретения
1. Силовая установка локомотива на базе двухвального газотурбинного двигателя, содержащая двухвальный газотурбинный двигатель с компрессорами первого и второго каскадов и две ступени турбины, соединенный газовым трактом со свободной турбиной, отличающаяся тем, что система содержит обводной газоход высокого давления с клапаном, соединяющий выход из первой ступени турбины с выходом из свободной турбины, и обводной газоход низкого давления, соединяющий выход из второй ступени турбины с выходом из свободной турбины.
2. Силовая установка локомотива по п.1, отличающаяся тем, что двухвальный газотурбинный двигатель оборудован стартером и имеет датчик оборотов одного из валов газотурбинных двигателей, соединенный электрическими связями с системой управления силовой установки.
3. Силовая установка локомотива по п.1 или 2, отличающаяся тем, что свободная турбина имеет регулируемый сопловой аппарат с приводом соплового аппарата свободной турбины, соединенным электрической связью с системой управления.
4. Силовая установка локомотива по п.1 или 2, отличающаяся тем, что двухвальный газотурбинный двигатель и/или свободная турбина оборудованы системой охлаждения, совмещенной с системами регулирования радиальных зазоров.
5. Силовая установка локомотива по п.4, отличающаяся тем, что системы охлаждения двухвального газотурбинного двигателя и свободной турбины соединены последовательно.
6. Силовая установка локомотива по п.5, отличающаяся тем, что система охлаждения газотурбинного двигателя содержит систему охлаждения масла.
РИСУНКИ
|
|