|
|
(21), (22) Заявка: 2006110787/15, 03.04.2006
(24) Дата начала отсчета срока действия патента:
03.04.2006
(46) Опубликовано: 20.10.2007
(56) Список документов, цитированных в отчете о поиске:
SU 208552 А, 12.03.1968. SU 1583364 A1, 07.08.1990. RU 2130431 C1, 20.05.1999. US 4279747 A, 21.07.1981. WO 0026145 A1, 11.05.2000.
Адрес для переписки:
680035, г.Хабаровск, ул. Тихоокеанская, 136, Тихоокеанский государственный университет, отдел интеллектуальной собственности
|
(72) Автор(ы):
Логунцов Виталий Федорович (RU), Логунцов Сергей Витальевич (RU)
(73) Патентообладатель(и):
Государственное образовательное учреждение высшего профессионального образования “Тихоокеанский государственный университет” (RU)
|
(54) ВЕРТИКАЛЬНЫЙ ОТСТОЙНИК С ВИХРЕВОЙ КАМЕРОЙ ХЛОПЬЕОБРАЗОВАНИЯ
(57) Реферат:
Изобретение относится к устройству, предназначенному для физико-химической очистки природных и сточных вод от оседающих и плавающих примесей с применением химических реагентов. Отстойник содержит цилиндрический и конический корпус, вихревую камеру хлопьеобразования, эжектирующую насадку с соплом, сборный лоток плавающих веществ, лоток осветленной воды и трубопровод вывода осадка. Вихревая камера хлопьеобразования имеет форму конуса с расположением направляющей окружности книзу. Эжектирующая насадка установлена над вихревой камерой. Технический результат состоит в интенсификации процессов очистки природных и сточных вод от плавающих и оседающих примесей с применением химических реагентов и повышение эффективности очистки. 3 ил.
Изобретение относится к конструкциям для очистки природных и сточных вод и может быть использовано для осветления воды от оседающих и плавающих примесей с использованием химических реагентов.
Известно устройство для очистки сточных вод, содержащее цилиндроконический корпус, перегородку в цилиндрической части корпуса, лоток подачи исходных сточных вод, зубчатый водослив, чашу для удаления плавающих веществ с трубопроводом удаления плавающих веществ, трубопровод удаления осадка под гидростатическим давлением, сборный лоток осветленной сточной жидкости с трубопроводом осветленных сточных вод (SU 208552 А, кл. В01D 21/02, от 12.03.1968 г.).
Недостатком известного устройства является отсутствие возможности уплотнения плавающих веществ, отсутствие устройств для интенсификации удаления уплотненных плавающих веществ и отсутствие взвешенного слоя осадка.
Технической задачей, на решение которой направлено предлагаемое изобретение, является повышение интенсификации очистки природных и сточных вод.
Указанная задача решается тем, что в вертикальном отстойнике с вихревой камерой хлопьеобразования, содержащем цилиндрический и конический корпус, подводящий лоток, эжектирующую насадку с соплом, вихревую камеру хлопьеобразования, сборный лоток плавающих веществ с зубчатым водосливом и трубопроводом удаления плавающих веществ, трубопровод удаления осадка, лоток осветленной воды с трубопроводом удаления осветленной воды, вихревая камера хлопьеобразования имеет форму конуса с расположением направляющей окружности книзу, эжектирующая насадка установлена над вихревой камерой хлопьеобразования, а между стенками цилиндрического корпуса и вихревой камеры хлопьеобразования находится взвешенный слой осадка.
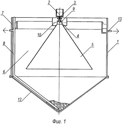
Сущность предлагаемого изобретения поясняется чертежами, где на фиг.1 и фиг.2 приведена конструкция вертикального отстойника с вихревой камерой хлопьеобразования, на фиг.3 – конструкция устройства для интенсификации удаления уплотненных плавающих веществ.
Позиции на чертежах обозначают:
1 – цилиндрический корпус
2 – подводящий лоток
3 – сопло
4 – эжектирующая насадка
5 – вихревая камера хлопьеобразования
6 – слой взвешенного осадка
7 – лоток осветленной воды
8 – трубопровод удаления осадка
9 – зубчатый водослив
10 – сборный лоток плавающих веществ
11 – трубопровод удаления плавающих веществ
12 – конический корпус
13 – трубопровод удаления осветленной воды
Вертикальный отстойник с вихревой камерой хлопьеобразования состоит из цилиндрического корпуса 1 с коническим корпусом 2, вихревой камеры хлопьеобразования 5, имеющей форму конуса с расположением к низу направляющей окружности, эжектирующей насадки 4 с соплом 3, подводящего лотка 2 и лотка осветленной воды 7, сборного лотка плавающих веществ 10 с зубчатым водосливом 9.
Пример работы вертикального отстойника с вихревой камерой хлопьеобразования.
Загрязненная жидкость с раствором химических реагентов по подающему лотку 2 транспортируется на сопло 3 эжектирующей насадки 4 (фиг.3), где в результате истечения жидкости происходит подсос из атмосферы воздуха, вследствие чего образуется водовоздушная смесь, плотность которой меньше плотности уплотненных плавающих веществ. При движении пузырьков воздуха в толще слоя уплотненных плавающих веществ происходит вытеснение его некоторого объема, и далее избыток уплотненных плавающих веществ через зубчатый водослив 9 поступает в сборный лоток плавающих веществ 10, откуда по трубопроводу удаления плавающих веществ 11 транспортируются за пределы вертикального отстойника. Далее очищаемая жидкость с раствором реагентов поступает в вихревую камеру хлопьеобразования 5, где перемешивание воды происходит при ее движении сверху вниз вследствие уменьшения скорости движения при увеличении площади живого сечения по высоте, благодаря чему происходит образование агрегативных частиц в виде хлопьев, которые частично осаждаются и поступают в конический корпус 12, откуда периодически удаляются за пределы вертикального отстойника по трубопроводу удаления осадка 8 под гидростатическим давлением. Другая часть агрегативных частиц в виде хлопьев, имеющая меньшую гидравлическую крупность, проходит плоскость направляющей окружности вихревой камеры хлопьеобразования 5, где в результате изменения направления потока происходит наиболее интенсивное разделение твердой и жидкой фаз. Далее очищаемая жидкость снизу вверх поступает в слой взвешенного осадка 6, ограниченный поверхностями цилиндрического корпуса 1 и вихревой камеры хлопьеобразования 5, где площадь живого сечения является величиной переменной и, как следствие, будет переменной скорость восходящего потока. Так как гидравлическая крупность коагулированных взвешенных веществ есть величина переменная, то по высоте слоя взвешенного осадка 6 будут образовываться слои взвешенных веществ с определенной гидравлической крупностью, причем максимальная критическая гидравлическая крупность коагулированных частиц будет наблюдаться в нижней части слоя взвешенного осадка 6, а частицы с минимальной критической гидравлической крупностью будут концентрироваться в верней части слоя взвешенного осадка 6. В результате многообразного рода взаимодействий (броуновского движения, сил Ван-дер-Ваальса, ионных связей и т.д.) при поступлении воды в слой взвешенного осадка 6 будет происходить адгезия частиц коагулированной взвеси, их укрупнение и, как результат, увеличение гидравлической крупности. При достижении максимальной критической гидравлической крупности коагулированных частиц в слое взвешенного осадка 6 они будут осаждаться и далее поступать в конический корпус 12 вертикального отстойника, откуда периодически удаляться под гидростатическим давлением по трубопроводу удаления осадка 8 за пределы. Частицы с гидравлической крупностью, меньшей минимальной критической гидравлической крупности, будут выноситься из слоя взвешенного осадка 6 вместе с осветленной водой, далее поступать в лоток осветленной воды 7 и затем по трубопроводу удаления осветленной воды 13 будут удаляться за пределы вертикального отстойника. Плавающие вещества, поступающие с очищаемой жидкостью и имеющие плотность, меньшую плотности очищаемой жидкости, вследствие столкновения частиц будут укрупняться и уплотняться за счет наличия конической части вихревой камеры хлопьеобразования 5, в результате чего будут всплывать и собираться в верхней части вихревой камеры хлопьеобразования 5.
Формула изобретения
Вертикальный отстойник с вихревой камерой хлопьеобразования, содержащий цилиндрический и конический корпус, подводящий лоток, эжектирующую насадку с соплом, вихревую камеру хлопьеобразования, сборный лоток плавающих веществ с зубчатым водосливом и трубопроводом удаления плавающих веществ, трубопровод удаления осадка, лоток осветленной воды с трубопроводом удаления осветленной воды, отличающийся тем, что вихревая камера хлопьеобразования имеет форму конуса с расположением направляющей окружности книзу, эжектирующая насадка установлена над вихревой камерой хлопьеобразования, а между стенками цилиндрического корпуса и вихревой камеры хлопьеобразования расположен взвешенный слой осадка.
РИСУНКИ
MM4A – Досрочное прекращение действия патента СССР или патента Российской Федерации на изобретение из-за неуплаты в установленный срок пошлины за поддержание патента в силе
Дата прекращения действия патента: 04.04.2008
Извещение опубликовано: 27.05.2010 БИ: 15/2010
|
|