|
|
(21), (22) Заявка: 2006113496/14, 20.04.2006
(24) Дата начала отсчета срока действия патента:
20.04.2006
(46) Опубликовано: 20.10.2007
(56) Список документов, цитированных в отчете о поиске:
УРМАХЕР Л.С. и др. Офтальмологические приборы. – М.: Медицина, 1988. RU 2253352 С2, 10.06.2005. US 2003072007 A, 17.04.2003. Радченко Е.Ю. и др. Лазерная спекл-интерферометрия и возможность определения ретинальной остроты зрения при катаракте. – Биомедицинские технологии и радиоэлектроника, №1, 2002, с.19-27. Graney M.J. et al. A clinical index for
Адрес для переписки:
410012, г.Саратов, ул. Московская, 155, СГУ, ПЛО, Н.В. Романовой
|
(72) Автор(ы):
Акчурин Гариф Газизович (RU)
(73) Патентообладатель(и):
Государственное образовательное учреждение высшего профессионального образования “Саратовский государственный университет имени Н.Г. Чернышевского” (RU)
|
(54) УСТРОЙСТВО ДЛЯ ИЗМЕРЕНИЯ РЕТИНАЛЬНОЙ ОСТРОТЫ ЗРЕНИЯ
(57) Реферат:
Изобретения относятся к области биомедицинских диагностических технологий, в частности к созданию оптического трехволнового лазерного ретинометра, позволяющего определять макулярную и периферическую остроту зрения человека. Данное устройство содержит расположенные на оптической оси лазер, генерирующий в красной области спектра, телескоп, поляризационный фильтр, интерферометр Жамена с регулируемым оптическим клином в одном из плеч, поворотную призму Лове, объектив и поворотное зеркало, снабженное ручным манипулятором. При этом оно содержит два дополнительных лазера с длинами волн излучения в диапазоне =400-470 нм и =500-540 нм соответственно, генератор пилообразного напряжения, соединенный с двумя пьезодвигателями, которые соединены с “глухими” зеркалами резонаторов дополнительных лазеров, широкополосный светодиод видимого диапазона, выполненный с возможностью пространственного перемещения по дуге, с радиусом, равным расстоянию наилучшего зрения. Устройство выполнено с возможностью микрометрического изменения фокальной плоскости выходных зондирующих лазерных пучков относительно хрусталика зондируемого глаза, при этом пучки всех лазеров расположены соосно. Применение данного устройства позволит расширить функциональные возможности определения ретинальной остроты зрения при любом типе катаракты (помутнении хрусталика), а также при патологии цветного зрения и определении периферической остроты зрения. 3 з.п. ф-лы, 6 ил.
(56) (продолжение):
CLASS=”b560m”predicting visual acuity after cataract surgery. Am J Ophthalmol. 1988 May 15; 105(5):460-5. (Реферат в PubMed, №3369514).
Изобретение относится к области биомедицинских диагностических технологий, в частности к созданию оптического трехволнового лазерного ретинометра, позволяющего определять макулярную и периферическую остроту зрения человека, оценивать пространственные поля зрения, повреждающиеся при различных глазных патологиях, в частности при глаукоме или макулярной дистрофии. Использование трехволнового лазерного ретинометра позволяет определять остроту зрения при наличии патологии цветного зрения, а также использование когерентных свойств зондирующего лазерного излучения позволяет определять остроту зрения при любом типе катаракты, когда все известные офтальмологические методы диагностики остроты зрения не функционируют, а необходимо производить предоперационную диагностику состояния сетчатки.
Известно устройство определения макулярной остроты зрения человека с использованием оптотипов (кольца Ландольта, черно-белые международные и национальные таблицы, например, Снеллена, Сивцева и др.). В основу определения остроты зрения положен метод, включающий измерение минимального углового разрешения с помощью стандартных оптотипов (Шамшинова А.М., Волков В.В. Функциональные методы исследования в офтальмологии. М.: Медицина, 1999, 45 с.), которые подсвечиваются некогерентным источником света с фиксированным уровнем мощности, и пациент наблюдает оптотипы на фиксированном расстоянии (5 метров в России и 6 метров в Европе и США) с помощью оптической системы глаза, при этом для нормального глаза фокальная плоскость глаза находится в фоторецепторном слое, представляющем слой колбочек. Стандартный диапазон измерения остроты зрения с помощью оптотипов составляет величину от 2 до 0.1, при этом нормальная острота зрения соответствует 1. Среднестатистическое максимальное угловое разрешение, равное одной угловой минуте, соответствует остроте зрения, равной единице, что обусловлено функциональной и морфологической организацией матрицы фоторецепторных клеток сетчатки (колбочек). В фовеальной области сетчатки (центральной области макулы – порядка одного градуса), соответствующей максимальному угловому разрешению, колбочки со средним поперечным размером 1 мкм и расстоянием между монохромными клетками порядка 4 мкм взаимно-однозначно связаны с нейронными ганглиозными клетками (Хьюбел Д.Н. Глаз, мозг, видение. Пер. с англ. М.: Мир, 1990. 234 с.), генерирующими нервные импульсы и несущими информацию в зрительную область коры головного мозга о пространственном изменении интенсивности света при переотражении таблицы оптотипов в фовеальную область сетчатки глаза.
С другой стороны, угловое разрешение определяется дифракционными эффектами при распространении света, при этом минимальный размер фокального пятна Dmin в фовеальной области сетчатки, который формируется с помощью адаптивной оптической системы глаза (перестраиваемая форма кривизны поверхности хрусталика) при зондировании плоской монохроматической волной ( ), определяется соотношением Dmin=1.22 /NA (NA – числовая апертура глаза) (Фейнман Р., Лейтон Р., Сэндс М. Фейнмановские лекции по физике, т.4. Пер. с англ. М.: Мир, 1977, 215 с.). Таким образом, дифракционные эффекты в оптической системе глаза (минимальный размер зрачка, длина волны света видимого диапазона, числовая апертура глаза) формируют минимальный размер фокального пятна на сетчатке.
В случае возникновения катаракты (помутнения хрусталика) минимальный размер светового пучка на сетчатке увеличивается приблизительно в (а/rc) раз, а интенсивность света падает в (rc/а)2 (где rс – радиус поперечной пространственной корреляции случайного рассеивающего оптического поля на внутренней поверхности хрусталика, который в зависимости от степени и вида катаракты может быть много меньше радиуса зрачка а). Для мутного хрусталика радиус фокального пятна в области перетяжки может быть оценен из соотношения

где f – заднее фокусное расстояние оптической системы глаза (Ахманов С.А., Дьяков Ю.Е., Чиркин А.С. Введение в статистическую радиофизику и оптику. М.: Наука, 1981. 300 с.)
Как показали проведенные нами эксперименты, характерный радиус поперечной пространственной корреляции для старческой катаракты порядка 10-20 микрон и соответственно радиус фокального пятна порядка 720-360 микрон становится сравним с размерами фовеальной области сетчатки. Таким образом, вследствие дифракции низкокогерентного света на оптических неоднородностях катарактального хрусталика, метод определения остроты зрения по таблицам оптотипов может применяться для оценки зрительных функций макулярной области сетчатки только при ранней стадии катаракты.
Однако при наличии даже ранней стадии катаракты сравнение визоконтрастного метода при использовании пространственно-некогерентного источника, создаваемого излучением дисплея, и интерференционных полос, создаваемых с помощью лазерного излучения, показало расхождение результатов на порядки, хотя для прозрачного хрусталика измерения остроты зрения были эквивалентны.
Известно устройство для оценки периферической пространственной способности сетчатки глаза человека на основе метода периметрии (Шамшинова А.М., Волков В.В. Функциональные методы исследования в офтальмологии. М.: Медицина, 1999, 89 с.). Устройство представляет собой равномерно освещенную (10 кд/м2) полусферу или поверхность дуги радиусом 30 сантиметров, на которых по случайному закону возникают вспышки светодиодов. При пространственно фиксированном взгляде пациента на тестовый световой источник (светодиод) в центре полусферы по случайному закону возникают световые вспышки на всей поверхности полусферы, и на основе световых ощущений пациента, в автоматизированном периметре строятся поля зрения.
Данное устройство позволяет определить характер распределения светочувствительных клеток по площади сетчатки, а также оценить уровень их поражения. Однако данное устройство позволяет определить лишь поля зрения, но не пространственную остроту периферического зрения.
Известны лазерные устройства определения ретинальной остроты зрения (РОЗ) (Урмахер Л.С., Айзенштат Л.И. Офтальмологические приборы. М: Медицина, 1988. 250 с.; Kanski J.J. Clinical Ophthalmology. Butterwopth. 1995. 450 p.; Приезжев А.В., Тучин В.В., Шубочкин Л.П. Лазерная диагностика в биологии и медицине. М.: Наука, 1989. 240 с).
Наиболее близким к предлагаемому является лазерное устройство определения ретинальной остроты зрения для оценки функционального состояния центральной области сетчатки и зрительного анализатора прозрачных оптических сред глаза (Урмахер Л.С., Айзенштат Л.И. Офтальмологические приборы. М.: Медицина, 1988. 31 с.). Лазерный ретинометр АРОЛ-1, описанный в данной работе, разработан в НПО “Тантал” (Саратов). Прибор позволяет плавно менять ширину интерференционных полос, что обеспечивает широкий диапазон измерения РОЗ в пределах 0.01-1.2.
Устройство для определения ретинальной остроты зрения содержит расположенные на оптической оси He-Ne лазер с длиной волны излучения =633 нм (ЛГ-66), телескоп, поляризационный фильтр, интерферометр Жамена с регулируемым оптическим клином в одном из плеч, объектив, поворотную призму Дове и поворотное зеркало с ручным манипулятором. Способ основан на создании в сетчатке глаза человека интерференционных полос с регулируемым пространственным периодом, возникающих при зондировании лазерным излучением в красной области спектра и формируемых с помощью интерферометра, при этом определяется минимальный пространственный период интерференционных полос, еще различимых сетчаткой глаза человека.
Если два лазерных пучка, сформированных интерферометром, сфокусировать в узловой плоскости глаза, то на сетчатке в области их перекрытия наблюдается интерференционная картина, которая воспринимается как периодическое чередование темных и светлых полос с периодическим профилем интенсивности. Пространственная частота такой интерференционной решетки варьируется изменением расстояния между когерентными лазерными пучками, и таким образом определяется порог угловой разрешающей способности сетчатки. Влияние рефракции глаза в значительной мере исключается, если оба когерентных пучка фокусируются в узловой плоскости глаза (проведенные нами тестовые измерения ретинальной остроты зрения (РОЗ) при наличии контактных линз с оптической силой даже в 28-30 диоптрий и при их отсутствии показали одинаковые результаты). Расстояние между двумя соседними максимумами или минимумами в периодической интерференционной решетке на сетчатке определяется соотношением

где h – среднее расстояние от узловой плоскости глаза до сетчатки с учетом рефракции стекловидного тела; – длина волны лазерного излучения; s – расстояние между центрами двух зондирующих лазерных пучков в узловой плоскости глаза.
При оценке степени соответствия плотности интерференционных полос на градус поля зрения и определенной остроты зрения по таблице оптотипов учитывается, что угловое разрешение глаза в одну угловую минуту считается нормальной остротой зрения, равной единице.
Однако данный прибор не предназначен для определения остроты зрения при катаракте (помутнении хрусталика), патологии цветного зрения и периферической остроты зрения.
Задачей изобретения является расширение функциональных возможностей определения ретинальной остроты зрения при любом типе катаракты (помутнении хрусталика), а также при патологии цветного зрения и определении периферической остроты зрения, что позволяет производить раннюю диагностику таких патологий сетчатки, как глаукома и дистрофическая ретинопатия, являющихся основными причинами слепоты.
Поставленная задача решается тем, что устройство для определения ретинальной остроты зрения, содержащее расположенные на оптической оси лазер, генерирующий в красной области спектра, телескоп, поляризационный фильтр, интерферометр Жамена с регулируемым оптическим клином в одном из плеч, поворотную призму Дове, объектив и поворотное зеркало, снабженное ручным манипулятором, согласно решению содержит два дополнительных лазера с длинами волн излучения в диапазоне =400-470 нм и 500-540 нм соответственно, генератор пилообразного напряжения, соединенный с двумя пьезодвигателями, на которых закреплены “глухие” зеркала резонаторов дополнительных лазеров, широкополосный светодиод видимого диапазона (белого цвета), выполненный с возможностью пространственного перемещения по дуге, с радиусом, равным расстоянию наилучшего зрения, устройство выполнено с возможностью изменения фокусного расстояния лазерных пучков, вышедших из интерферометра, при этом пучки всех лазеров расположены соосно.
Для изменения фокальной плоскости зондирующих глаз лазерных пучков корпус устройства может быть закреплен на микрометрическом сканере или в качестве объектива выбран трансфокатор.
В качестве дополнительных лазеров выбраны твердотельные микролазеры на алюмоиттриевом гранате с неодимом с диодной накачкой и внутрирезонаторным генератором второй гармоники, а в качестве лазера в красной области спектра выбран инжекционный полупроводниковый одночастотный лазер с модуляцией тока инжекции, генерирующий в диапазоне 630-670 нм.
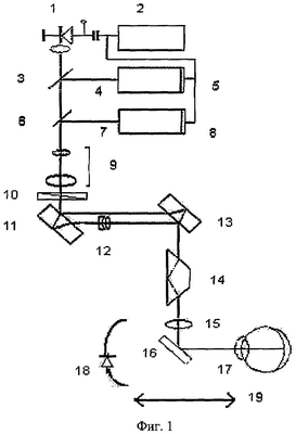
Изобретение поясняется чертежами, на фиг.1. – блок-схема устройства трехволнового лазерного ретинометра; на фиг.2. и фиг.3 представлены экспериментальные интерференционные полосы с различным пространственным периодом, формируемые на сетчатке и детектируемые с помощью цифровой видеокамеры, соответствующие остроте зрения 0.1 и 0.3 соответственно; на фиг.4 – результаты измерения пространственной остроты зрения для “красных” колбочек в области макулы и периферического зрения для нормального глаза, т.е. зависимость ретинальной остроты зрения от угла направления взгляда (5 градусов соответствует пространственному смещению на сетчатке приблизительно 1,5 миллиметров), на фиг.5. и фиг.6 – результаты экспериментальных измерений подавления спекл-структуры, возникающей в объемной рассеивающей среде, при модуляции частоты излучения инжекционного полупроводникового лазера. При этом на фиг.5 частота лазера не модулирована, а на фиг.6 – модулирована с периодом 0,1 миллисекунда.
Позициями на чертежах обозначены:
1 – одночастотный полупроводниковый инжекционный лазер с длиной волны излучения =650 нм (красный) с модуляцией тока инжекции;
2 – генератор пилообразного напряжения;
3 – полупрозрачное плоское зеркало;
4 – твердотельный YAG:Nd микролазер с диодной накачкой и генератором второй гармоники с длиной волны излучения =532 нм (зеленый);
5 – пьезодвигатель “глухого” зеркала резонатора лазера (4);
6 – полупрозрачное плоское зеркало;
7 – твердотельный YAG:Nd микролазер с диодной накачкой и генератором второй гармоники с длиной волны излучения =473 нм (синий);
8 – пьезодвигатель “глухого” зеркала резонатора лазера (7);
9 – телескоп;
10 – поляризационный фильтр;
11, 13 – интерферометр Жамена, состоящий из двух плоскопаралельных стеклянных пластин;
12 – оптический клин на основе плосковогнутой и плосковыпуклой линз;
14 – поворотная призма Дове;
15 – объектив;
16 – поворотное зеркало, снабженное ручным манипулятором;
17 – исследуемый глаз;
18 – широкополосный светодиод видимого диапазона, с возможностью перемещения по дуге, с радиусом, равным расстоянию наилучшего зрения (25-30 см);
19 – микрометрический однокоординатный сканер с укрепленным на нем корпусом ретинометра.
Устройство для определения фотохромной пространственной разрешающей способности сетчатки глаза человека (фиг.1) содержит одночастотный полупроводниковый инжекционный лазер с длиной волны излучения =630-650 нм (красный) (1), ток инжекции которого модулируется с помощью генератора пилообразного напряжения (2), электрический сигнал с которого поступает на вход полупроводникового инжекционного лазерного диода (1) и на вход пьезодвигателей (5) и (8), соединенных с “глухими” зеркалами резонатора двух твердотельных микролазеров с диодной накачкой (4) – YAG:Nd микролазер с длиной волны излучения =532 нм (зеленый) и (5) YAG:Nd микролазер с длиной волны излучения =473 нм (синий); выходной зондирующий лазерный пучок каждого из лазеров юстируется соосно с помощью полупрозрачных зеркал (3) и (6), расширяется телескопом (9), при этом зондирующая мощность лазерных пучков регулируется поляризационным фильтром (10) и вводится в интерферометр Жамена, состоящий из двух плоскопаралельных пластин (11) и (13), в одном из плеч интерферометра находится регулируемый оптический клин, состоящий из двух плосковогнутой и плосковыпуклой линз (12), одна из которых перемещается относительно другой с помощью отградуированного в единицах остроты зрения микрометрического винта, пространственное положение лазерных пучков, прошедших интерферометр, может вращаться вокруг оси с помощью поворотной призмы Дове (14), а объектив (15) и поворотное зеркало (16) с ручным манипулятором позволяет сканировать лазерные пучки по поверхности роговицы зондируемого глаза (17), при этом на сетчатке глаза образуются интерференционные полосы красного, зеленого и синего цвета с изменяемой пространственной частотой, а перестраиваемый по дуге широкополосный светодиод видимого диапазона (18), на который фиксируется взгляд пациента, используется для определения разрешающей способности периферического зрения. Пространственная перестройка с помощью однокоординатного микрометрического сканера (19) с укрепленным ретинометром позволяет перемещать фокальную плоскость лазерных пучков внутри катарактального хрусталика до получения максимальных средних размеров спеклов на сетчатке, что необходимо для определения остроты зрения при катаракте.
Устройство для определения фотохромной пространственной разрешающей способности сетчатки глаза человека работает следующим образом. Излучение одночастотного полупроводникового инжекционного лазера с длиной волны излучения =650 нм (красный), ток инжекции которого модулируется с помощью генератора пилообразного напряжения (2), с периодом, меньшим быстродействия глаза человека после расширения телескопом (9), с регулируемым уровнем зондирующей лазерной мощностью с помощью поляризационного фильтра (10), вводится в интерферометр Жамена (11, 13), формирующий два пространственно-когерентных пучка, угол между которыми регулируется оптическим клином (12), расположенном в одном из плеч интерферометра, далее лазерные пучки, пройдя поворотную призму Дове (14), используемую для изменения ориентации интерференционных полос, с помощью объектива (15) и поворотного зеркала (16) фокусируются на хрусталик, при этом в макулярной области сетчатки глаза человека (17) формируются интерференционные полосы, пространственный период которых изменяется с помощью оптического клина (12), и определяется минимально различимый период для красных колбочек. При последовательном включении зеленого (4) и синего (7) лазеров, частота излучения которых модулируется с помощью модуляции длины резонатора при подаче пилообразного напряжения с генератора (2), поступает также на вход пьезодвигателей (5) и (8), определяется пространственное разрешение зеленых и синих колбочек. При наличии у пациента катаракты любого типа и степени зрелости на сетчатке возникает определенная спекл-структура (распределение пространственно-когерентных лазерных пятнышек, средний размер которых зависит от положения фокуса внутри катарактального хрусталика). Пространственная перестройка с помощью микрометрического сканера (19) с укрепленным ретинометром позволяет перемещать фокальную плоскость лазерных пучков внутри катарактального хрусталика до получения максимальных средних размеров спеклов на сетчатке, внутри которых пациент наблюдает интерференционные полосы. Для однозначной идентификации интерференционных полос необходимо, чтобы по крайней мере две полосы помещалась в одном спекле. Как показали проведенные нами эксперименты на более чем 250 катарактальных больных, у которых определялась ретинальная острота зрения до экстракции (удаления) хрусталика и сравнивалась после операции по установлению искусственного хрусталика, было определено, что таким способом можно измерить остроту зрения при любом типе катаракты, если острота зрения у пациента не хуже, чем 0.2. При этом коэффициент корреляции предоперационной диагностики остроты зрения при наличии катаракты и послеоперационной после экстракции хрусталика и установления прозрачного искусственного в среднем достигал 0.8, а для определенных видов катаракт – более 0.9. Эти результаты основаны на исследовании особенностей когерентного рассеяния лазерных пучков в объемных средах, приводящих к эффекту насыщения минимального размера спеклов с ростом кратности рассеяния в рассеивающих средах и, вследствие теоремы Ван-Циттерта-Цернике (Ахманов С.А., Дьяков Ю.Е., Чиркин А.С. Введение в статистическую радиофизику и оптику. М.: Наука, 1981. 640 с.), приводящей к конечному размеру радиуса поперечной корреляции или среднего поперечного размера спеклов, которые существенно зависят распределения средней интенсивности рассеянных пучков на задней стенке катарактального хрусталика. Однако у 30% пожилых пациентов одновременно с развитием катаракты обычно происходит и поражение фоторецепторных или ганглиозных клеток сетчатки, и соответственно острота зрения может быть менее 0.2. Для диагностики состояния сетчатки в таком случае предлагается технология, основанная на обнаруженном автором эффекте динамики спеклов, возникающей в объемных рассеивающих средах при зондировании лазерным излучением с перестройкой частоты (Г.Г.Акчурин, А.Г.Акчурин. Когерентная поперечная динамика спеклов при зондировании стационарных объемных рассеивающих сред лазером с девиацией частоты. Оптика и спектроскопия, 2005, Т.99, №1, С.121-126). Если девиация частоты излучения лазера больше, чем обратная величина средних фазовых задержек в катарактальном хрусталике, то наблюдается поперечное перемешивание спеклов. Если период изменения спеклов меньше быстродействия глаза человека (в среднем 0.02 секунды), то должно наблюдаться пространственное усреднение спеклов и повышение контрастности наблюдаемых интерференционных полос. Эффект усреднения пространственных спеклов показан на фиг.6. Модуляция частоты излучения в полупроводниковом лазере осуществляется за счет модуляции тока инжекции, а в двух твердотельных лазерах (4) и (7) за счет модуляции частоты при изменении длины резонатора лазера в пределах длины волны (порядка микрона) с помощью пьезодвигателей (5) и (8) с укрепленными на них “глухими” зеркалами соответствующих резонаторов.
Для диагностики пространственного распределения красных, зеленых и синих колбочек сетчатки глаза человека используются соответствующие лазеры с определенными длинами волн. Вследствие частичного перекрытия кривых спектральной чувствительности соответствующих колбочек глаза человека (Шамшинова А.М., Волков В.В. Функциональные методы исследования в офтальмологии. М.: Медицина, 1999. 415 с.; Ч.Пэдхем, Дж.Сондерс. Восприятие света и цвета. М.: Мир. 1978), выбирают такие длины волн лазеров, чтобы идентифицировать селективно красные, зеленые и синие колбочки. Максимум поглощения красных колбочек соответствует длине волны 590 нм, поэтому длина волны лазера выбирается на длинноволновом склоне их спектральной характеристики поглощения, равной =630-650 нм, чтобы идентифицировать пространственное разрешение только красных фоторецепторных колбочек. Максимум поглощения синих колбочек соответствует длине волны 450-470 им, однако излучение лазера с длиной волны 473 нм будет поглощаться только синими колбочками. Длина волны лазера с =532 нм соответствует максимуму поглощения зеленых колбочек, при этом чувствительность красных колбочек на этой длине волны на порядок меньше.
На фиг.2, фиг.3 представлен типичный вид интерференционных полос для двух значений пространственного периода, соответствующих остроте зрения 0.1 и 0.3. Такие интерференционные полосы формируются на сетчатке глаза и наблюдаются пациентом. Экспериментально матрица видеокамеры помещалась на расстоянии, соответствующем положению сетчатки относительно хрусталика с учетом рефракции стекловидного тела.
Проведенные тестовые измерения остроты зрения в пределах всей макулярной области, соответствующей порядка 10 угловых градусов, представлены на фиг.4. Традиционно измеряется острота зрения в пределах 1 градуса в так называемой фовеальной области сетчатки, где в нашем случае она достигает единицы. Измерения показывают, что уже при смещении на 2° острота не превышает 0.2, а при дальнейшем смещении становится менее 0.1.
Формула изобретения
1. Устройство для определения ретинальной остроты зрения, содержащее расположенные на оптической оси лазер, генерирующий в красной области спектра, телескоп, поляризационный фильтр, интерферометр Жамена с регулируемым оптическим клином в одном из плеч, поворотную призму Дове, объектив и поворотное зеркало, снабженное ручным манипулятором, отличающееся тем, что оно содержит два дополнительных лазера с длинами волн излучения в диапазоне =400-470 нм и =500-540 нм соответственно, генератор пилообразного напряжения, соединенный с двумя пьезодвигателями, которые соединены с “глухими” зеркалами резонаторов дополнительных лазеров, широкополосный светодиод видимого диапазона, выполненный с возможностью пространственного перемещения по дуге, с радиусом, равным расстоянию наилучшего зрения, устройство выполнено с возможностью микрометрического изменения фокальной плоскости выходных зондирующих лазерных пучков относительно хрусталика зондируемого глаза, при этом пучки всех лазеров расположены соосно.
2. Устройство по п.1, отличающееся тем, что в качестве дополнительных лазеров выбраны твердотельные микролазеры на алюмоиттриевом гранате с неодимом с диодной накачкой и внутрирезонаторным генератором второй гармоники с длиной волны =532 нм и =473 нм, а в качестве лазера в красной области спектра выбран инжекционный полупроводниковый одночастотный лазер с модуляцией тока инжекции, генерирующий в диапазоне 630-650 нм.
3. Устройство по п.1, отличающееся тем, что корпус устройства закреплен на микрометрическом сканере.
4. Устройство по п.1, отличающееся тем, что в качестве объектива выбран трансфокатор.
РИСУНКИ
|
|