|
|
(21), (22) Заявка: 2005121689/09, 12.07.2005
(24) Дата начала отсчета срока действия патента:
12.07.2005
(43) Дата публикации заявки: 20.01.2007
(46) Опубликовано: 10.10.2007
(56) Список документов, цитированных в отчете о поиске:
RU 41221 U1, 10.10.2004. ВЫСОЦКИЙ Б.В. и др. Компоновка и конструкции микроэлектронной аппаратуры. – М.: Радио и связь, 1982, с.118. SU 1699023 A1, 15.12.1991. RU 2081521 C1, 10.06.1997. DE 4130615 А, 25.03.1995. FR 2566221 А, 20.12.1985.
Адрес для переписки:
107497, Москва, Щелковское ш., 77, ОАО ЦНИИ ЦИКЛОН
|
(72) Автор(ы):
Тарасов Виктор Васильевич (RU), Здобников Александр Евгеньевич (RU), Груздев Владимир Васильевич (RU), Сухорученко Александр Николаевич (RU), Соснин Федор Стефанович (RU), Трофимов Виктор Витальевич (RU), Фенин Владимир Николаевич (RU), Попов Геннадий Анатольевич (RU)
(73) Патентообладатель(и):
ОТКРЫТОЕ АКЦИОНЕРНОЕ ОБЩЕСТВО ЦЕНТРАЛЬНЫЙ НАУЧНО-ИССЛЕДОВАТЕЛЬСКИЙ ИНСТИТУТ “ЦИКЛОН” (RU)
|
(54) ТЕПЛОВИЗИОННЫЙ ПРЕОБРАЗОВАТЕЛЬ
(57) Реферат:
Изобретение относится к области тепловидения, а именно к области преобразования инфракрасного излучения наблюдаемого объекта в видеоизображение, и может быть использовано для ночного видения в военной технике, в системах охраны, в полиции, а также в других областях деятельности человека. Техническим результатом является снижение времени и трудозатрат на ремонт тепловизионного преобразователя, а также улучшение теплоотвода от плат блока электронной обработки сигналов, повышение их вибропрочности, снижение затрат на изготовление теплоотвода. Тепловизионный преобразователь включает блок приемника ИК-излучения и блок электронной обработки сигнала, который содержит пластины с закрепленными на них платами электронной обработки сигнала и корпус, выполненный вдоль его продольной оси в виде отдельных механически соединенных друг с другом секций. Каждая из пластин установлена внутри одной из секций корпуса, а платы электронной обработки сигнала электрически соединены друг с другом с помощью быстроразъемных соединений. В каждой из секций корпуса установлено звено отвода тепла от плат электронной обработки сигнала, выполненное из эластичного теплопроводящего изоляционного материала в виде прокладки, заполняющей весь свободный объем между внутренними стенками секции корпуса. Эластичным теплопроводящим изоляционным материалом является двухкомпонентный теплопроводящий изоляционный заливочный компаунд, а секции корпуса в плоскости, перпендикулярной его продольной оси, могут иметь как круглое, так и квадратное сечение. 3 з.п. ф-лы, 1 ил.
Изобретение относится к области тепловидения, а именно к области преобразования инфракрасного излучения наблюдаемого объекта в видеоизображение, и может быть использовано для ночного видения в военной технике, в системах охраны, в полиции, а также в других областях деятельности человека.
Известен тепловизор, включающий оптическую систему, ИК-матрицу, процессор сигналов, электрически соединенный с ИК-матрицей. Тепловизор имеет модулированную структуру, которая включает корпус камеры с ИК-матрицей и блок электронной обработки сигналов, экранирующее устройство, соединенное с корпусом камеры, и оптическую систему, закрепленную на экранирующем устройстве с возможностью демонтажа [1].
Недостатком известного устройства является невозможность быстрого восстановления работоспособности тепловизора при выходе из строя одного из компонентов блока электронной обработки сигналов вследствие необходимости и сложности демонтажа, ремонта и монтажа всего тепловизора.
Наиболее близким по технической сущности к заявляемому техническому решению и выбранным за прототип является тепловизионный преобразователь, включающий многоэлементный фотоприемник, электронный блок обработки сигнала и блок воспроизведения видимого изображения, при этом многоэлементный фотоприемник, электронный блок обработки сигнала и блок воспроизведения видимого изображения выполнены в виде единого модуля, а именно заключены в один общий для них корпус [2].
Недостатком прототипа также является невозможность быстрого восстановления работоспособности тепловизионного преобразователя при выходе из строя одного из компонентов блока электронной обработки сигналов вследствие необходимости и сложности демонтажа, ремонта и монтажа находящегося в общем корпусе всего блока электронной обработки сигналов.
Техническим результатом изобретения является снижение времени и трудозатрат на ремонт тепловизионного преобразователя, а также улучшение теплоотвода от плат блока электронной обработки сигналов, повышение их вибропрочности, снижение затрат на изготовление теплоотвода.
Технический результат достигается тем, что тепловизионный преобразователь включает блок приемника ИК-излучения и блок электронной обработки сигнала.
Согласно изобретению блок электронной обработки сигнала включает пластины с закрепленными на них платами электронной обработки сигнала и корпус, выполненный вдоль его продольной оси в виде отдельных механически соединенных друг с другом секций. При этом каждая из пластин установлена внутри одной из секций корпуса, а платы электронной обработки сигнала электрически соединены друг с другом с помощью быстроразъемных соединений.
В каждой из секций корпуса может быть установлено звено отвода тепла от плат электронной обработки сигнала, выполненное из эластичного теплопроводящего изоляционного материала.
Звено отвода тепла от плат блока электронной обработки сигнала может быть выполнено в виде прокладки, заполняющей весь свободный объем между внутренними стенками секции корпуса, пластиной, установленной внутри секции корпуса с закрепленными на ней платами электронной обработки сигнала и задней стенкой соседней пластины. При этом эластичным теплопроводящим изоляционным материалом является двухкомпонентный теплопроводящий изоляционный заливочный компаунд [3].
Секции корпуса в плоскости, перпендикулярной его продольной оси, могут иметь как круглое, так и квадратное сечение.
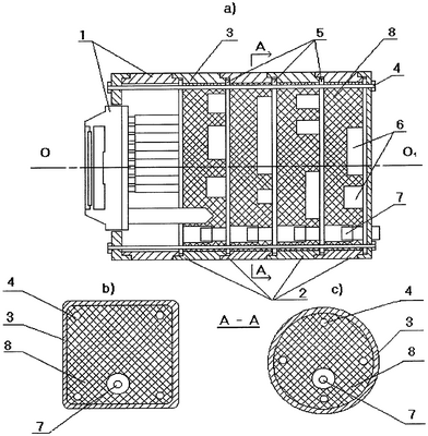
Изобретение иллюстрируется чертежом, где
а – тепловизионный преобразователь, в разрезе,
b – сечение А-А с квадратными секциями корпуса (в уменьшенном масштабе),
с – сечение А-А с круглыми секциями корпуса (в уменьшенном масштабе).
Тепловизионный преобразователь включает блок приемника ИК-излучения 1 и блок электронной обработки сигнала 2. Блок электронной обработки сигнала 2 содержит корпус, выполненный вдоль его продольной оси О-О1 в виде отдельных секций 3. Секции 3 механически соединены друг с другом с помощью стержней 4. Секции 3 могут быть механически соединены друг с другом любым другим способом. Блок электронной обработки сигнала 2 содержит пластины 5 с закрепленными на них платами 6 электронной обработки сигнала. Каждая из пластин 5 установлена внутри одной из секций 3 корпуса блока электронной обработки сигнала 2. Платы 6 электронной обработки сигнала электрически соединены друг с другом с помощью быстроразъемных соединений 7.
Отвод тепла от плат 6 блока электронной обработки сигнала 2 осуществляется с помощью прокладок 8. Прокладки 8 заполняют весь свободный объем между внутренними стенками секций 3 корпуса, а также установленными внутри секций 3 корпуса пластинами 5 с закрепленными на ней платами 6 электронной обработки сигнала и задними стенками соседних пластин 5. Прокладки 8 выполнены из эластичного теплопроводящего изоляционного материала, которым, например, является двухкомпонентный теплопроводящий изоляционный заливочный компаунд фирмы «НОМАКОН». Секции 3 корпуса в плоскости, перпендикулярной его продольной оси, могут иметь как квадратное (см. чертеж, b), так и круглое (см. чертеж, с) сечение.
Для использования тепловизионного преобразователя по назначению к фронтальной стороне блока приемника ИК-излучения 1 крепят оптический блок, а к электрическим выводам блока электронной обработки сигнала 2 подключают блок воспроизведения видимого изображения (не показаны).
Изобретение осуществляется следующим образом. При сборке тепловизионного преобразователя в каждую из секций 3 устанавливают соответствующую ей пластину 5 с платами 6 электронной обработки сигнала. На пластину 5 укладывают предварительно изготовленную в соответствии с рельефом плат 6 электронной обработки сигнала данной пластины 5 прокладку 8 из двухкомпонентного теплопроводящего изоляционного заливочного компаунда. После укладки прокладок 8 на каждую из пластин 5 секции 3 в определенном порядке сочленяются между собой с обеспечением электрического контакта в быстроразъемных соединениях 7. Далее секции 3 блока электронной обработки сигнала 2 и блок приемника ИК-излучения 1 стягиваются между собой с использованием стержней 4, обеспечивая необходимую жесткость всей конструкции. При этом прокладки 8, выполненные из эластичного теплопроводящего изоляционного материала, которым является двухкомпонентный теплопроводящий изоляционный заливочный компаунд, мягко фиксируют платы 6 электронной обработки сигнала, повышая их вибропрочность.
Для изготовления прокладки 8 в соответствии с рельефом конкретной платы 6 электронной обработки сигнала пластину 5 с данной платой 6 устанавливают в форму с размерами, соответствующими размерам секции 3, и заливают двухкомпонентным компаундом, причем одним из компонентов является керамико-полимерная композиция (100% массовых частей), а другим – катализатор (2,5% массовых частей). Полимеризация происходит на воздухе при комнатной температуре. Время «жизни» смеси 25-35 минут. Полная полимеризация длится 24 часа. Для уменьшения адгезии компаунда со стенками формы и с электронными компонентами печатных плат стенки формы и печатные платы предварительно обрабатывают аэрозолями на основе фторопласта. Данная технология изготовления теплоотводящих элементов значительно снижает затраты на их изготовление. Использование двухкомпонентного теплопроводящего изоляционного заливочного компаунда значительно улучшает условия теплоотвода от плат блока электронной обработки сигналов, поддерживая теплопроводность на уровне 1-2 Вт/(м×К).
Тепловизионный преобразователь работает следующим образом.
Инфракрасное излучение от наблюдаемого объекта попадает на микроболометрическую матрицу блока приемника ИК-излучения 1. Микроболометрическая матрица блока приемника ИК-излучения 1 преобразует ИК-изображение объекта в систему электрических сигналов микроболометров, которые в платах 6 электронной обработки сигнала преобразуются в стандартный видеосигнал. Видеосигнал с выхода блока электронной обработки сигнала 2 поступает на видеомонитор (не показан), преобразуясь на его экране в видеоизображение. Выделяемое в платах 6 электронной обработки сигнала в процессе работы тепло через прокладки 8 отводится на секции 3 корпуса тепловизионного преобразователя.
Таким образом, из вышеизложенного подтверждается возможность достижения заявленного в изобретении технического результата, а именно снижение времени и трудозатрат на ремонт, а также повышение вибропрочности тепловизионного преобразователя, улучшение теплоотвода от плат блока электронной обработки сигналов и снижение затрат на изготовление теплоотвода.
Источники информации
1. Патент США №6707044, кл. G01J 5/02.
2. Патент РФ на полезную модель №41221, кл. Н04N 5/33.
3. Проспект фирмы «NOMAKON» «Эластичные теплопроводящие изоляционные материалы», ТУ РБ 100009933. 004-2001.
Формула изобретения
1. Тепловизионный преобразователь, включающий блок приемника ИК-излучения и блок электронной обработки сигнала, который включает платы электронной обработки сигнала, отличающийся тем, что блок электронной обработки сигнала включает пластины и корпус, выполненный вдоль его продольной оси в виде отдельных механически соединенных друг с другом секций, каждая из пластин установлена внутри одной из секций корпуса, а платы электронной обработки сигнала закреплены на пластинах и электрически соединены друг с другом с помощью быстроразъемных соединений, при этом в каждой из секций корпуса установлено звено отвода тепла от плат электронной обработки сигнала, выполненное из эластичного теплопроводящего изоляционного материала в виде прокладки, заполняющей между платами весь свободный внутренний объем секции корпуса.
2. Тепловизионный преобразователь по п.1, отличающийся тем, что эластичным теплопроводящим изоляционным материалом является двухкомпонентный теплопроводящий изоляционный заливочный компаунд.
3. Тепловизионный преобразователь по п.1, отличающийся тем, что секции корпуса в плоскости перпендикулярной его продольной оси имеют круглое сечение.
4. Тепловизионный преобразователь по п.1, отличающийся тем, что секции корпуса в плоскости перпендикулярной его продольной оси имеют квадратное сечение.
РИСУНКИ
|
|