|
|
(21), (22) Заявка: 2004122390/09, 17.12.2002
(24) Дата начала отсчета срока действия патента:
17.12.2002
(30) Конвенционный приоритет:
21.12.2001 FR 01/16766
(43) Дата публикации заявки: 20.01.2006
(46) Опубликовано: 10.10.2007
(56) Список документов, цитированных в отчете о поиске:
US 4963880 А, 16.10.1990. SU 1580476 A1, 23.07.1990. SU 1243052 A1, 07.07.1986. ЕР 0798681 A1, 01.10.1997. ЕР 0320410 А1, 14.06.1989. US 5410280 А, 25.04.1995.
(85) Дата перевода заявки PCT на национальную фазу:
21.07.2004
(86) Заявка PCT:
FR 02/04400 (17.12.2002)
(87) Публикация PCT:
WO 03/055005 (03.07.2003)
Адрес для переписки:
103735, Москва, ул. Ильинка, 5/2, ООО “Союзпатент”, пат.пов. С.Б.Фелицыной, рег. № 303
|
(72) Автор(ы):
ШМИДТ Франсуа (FR), ХЕИДЕН Дэниел (FR)
(73) Патентообладатель(и):
ЭКЗАКТ С.А. ДЕ СВ (MX)
|
(54) УСТРОЙСТВО ДЛЯ ВОЗБУЖДЕНИЯ ПЕРЕДАЮЩИХ АНТЕНН ЭЛЕКТРОМАГНИТНЫХ СИСТЕМ ОБНАРУЖЕНИЯ
(57) Реферат:
Изобретение относится к электромагнитным системам обнаружения, выполненным с возможностью обнаружения украденных объектов. Устройство содержит по меньшей мере одну передающую антенну и по меньшей мере одну приемную антенну, при этом каждая передающая антенна питается от усилителя мощности. Передающая антенна не настроена по частоте. Усилитель мощности работает в режиме включения и выключения и содержит соединение типа «Н-моста» или «полу-Н-моста» или «четверть-Н-моста», при этом элемент передающей антенны соединен непосредственно с этим усилителем мощности. Имеется по меньшей мере один электронный питающий контур, выход которого соединен с усилителем. Техническим результатом является обеспечение возможности быстрого изменения частоты, амплитуды или фазы электромагнитного поля, излучаемого антенной, что повышает надежность и чувствительность обнаружения. 10 з.п. ф-лы, 5 ил.
Данное изобретение относится в целом к электромагнитным системам обнаружения, таким как системы обнаружения объектов, например украденных объектов. В частности, данное изобретение относится к устройству для возбуждения передающих антенн в таких электромагнитных системах обнаружения.
Системы обнаружения, в которых используются особые характеристики определенных магнитных материалов, применяются в различных областях для информирования пользователя о присутствии таких материалов в конкретном пространственном объеме для каждого типа системы.
Предпочтительными областями использования таких систем являются, например, защита от воровства в магазинах и в товарных складах, аутентификация носителей информации, обнаружение хирургических предметов, забытых внутри тела пациентов после операции, и любые другие области, в которых необходимо измерять небольшие изменения внутри интенсивного электромагнитного поля.
В известных в настоящее время электромагнитных системах обнаружения используются следующие принципы работы:
– первая антенна или обычно комплект, состоящий из нескольких элементарных антенн, питается от электронного мощного усилителя, который вызывает циркуляцию переменного тока в антенне. Этот ток создает переменное магнитное поле в пространственном объеме, характерном для формы антенны, и с интенсивностью, пропорциональной величине тока. Эта антенна называется передающей антенной;
– вторая антенна, называемая приемной антенной, или обычно комплект из нескольких элементарных антенн, является местом наведения тока, зависящего от формы этой антенны и изменений электромагнитного потока, проходящего через антенну;
– система компенсации, симметрирования и фильтрации, соответствующая различным системам, делает возможным обеспечение чувствительности приемной антенны и связанных с ней усилительных схем к присутствию элементов конкретных магнитных материалов, когда эти элементы возбуждаются передаваемым полем. Используется большое множество таких маркеров, включающих различные типы магнитных материалов;
– вычислительный блок, обычно электронный, управляет током передачи, формирует сигналы приема и оценивает вероятность присутствия или отсутствия таких маркеров; он обеспечивает также связь между системами и внешними устройствами.
Все современные электромагнитные системы обнаружения используют, в частности, настраиваемый передаточный контур, т.е. передающая антенна соединена с емкостными, индуктивными и резистивными компонентами, которые создают повышенное напряжение для характеристической частоты или частот каждой системы. Настраиваемые передаточные контуры используются для увеличения тока в передающих антеннах без использования какого-либо мощного усилителя слишком большого размера.
С другой стороны, как в любом настраиваемом контуре, имеющем большой коэффициент превышения напряжения, требуется относительно длительное время для изменения амплитуды или фазы переменного тока, циркулирующего в антеннах. Кроме того, если необходимо изменить частоту, то необходимо принимать меры для изменения настройки настраиваемого контура, что является дорогостоящим, поскольку приходится иметь дело с мощным контуром, в котором циркулируют большие токи и в котором используются дорогие и объемные компоненты; эта функция является абсолютно обязательной во многих системах, поскольку должна обеспечиваться возможность настройки нескольких устройств точно на одну и ту же частоту, так что они не создают помехи друг другу при размещении в одном и том же пространстве. Изменение фазы тока обеспечивает, в свою очередь, возможность изменения предпочтительных направлений излучаемых электромагнитных полей и обнаружения за счет этого маркеров, направление максимальной чувствительности которых изменяется.
Данное изобретение направлено на устранение всех этих недостатков и поэтому его целью является значительное упрощение передающей части электромагнитных систем обнаружения рассматриваемого типа, что обеспечивает большую экономию средств при одновременном обеспечении возможности очень простого осуществления и без дорогих вспомогательных устройств, функции которых являются желательными, таких как возможность мгновенного управления частотами, амплитудами и фазами токов, циркулирующих в нескольких антенных элементах, за счет непосредственного возбуждения передающей антенны без настраивающих элементов между усилителем мощности и антенной.
В соответствии с этим предметом изобретения является по существу устройство для возбуждения передающих антенн электромагнитных систем обнаружения в системе обнаружения с непрерывным излучением, содержащей по меньшей мере одну передающую антенну и по меньшей мере одну приемную антенну, при этом каждая передающая антенна питается от электронного усилителя мощности и каждая приемная антенна соединена с контуром компенсации, при этом устройство состоит в принципе и в комбинации из:
по меньшей мере одного собственно элемента передающей антенны, не настроенного по частоте;
– по меньшей мере одного упрощенного усилителя мощности, работающего в режиме включения и выключения, типа «Н-моста» или «полумоста» или «четвертьмоста», при этом каждый элемент передающей антенны соединен непосредственно с этим усилителем мощности, и
– по меньшей мере одного электронного питающего контура, выход которого соединен с усилителем мощности.
Таким образом, идея, на которой основывается данное изобретение, состоит в соединении передающей антенны непосредственно с ее усилителем мощности без согласовательных компонентов, таких как трансформаторы, индуктивности или конденсаторы, при этом усилитель предпочтительно является усилителем так называемого типа «Н-моста», однако возможно также использование топологии так называемого «полумоста» или «четвертьмоста», как будет описано ниже. Во всех случаях усилитель является усилителем, работающим в режиме включения и выключения с непосредственным управлением сигналами цифрового типа, то есть имеющим уровень «ноль» и уровень «единица».
Прямое соединение между передающей антенной и усилителем обеспечивает возможность очень быстрого изменения частоты электромагнитного поля, излучаемого антенной, а также быстрого изменения фазы электромагнитного поля, излучаемого антенной.
Поскольку передающая антенна и усилитель питаются электронным питающим контуром типа «корректора коэффициента мощности», можно также быстро изменять амплитуду электромагнитного поля, излучаемого антенной, посредством изменения электрического напряжения, подаваемого в усилитель мощности таким питающим контуром.
В данном случае эти функции являются полностью эффективными, поскольку антенна не настраивается, и они обеспечивают значительное улучшение надежности и чувствительности обнаружения.
В предпочтительном варианте выполнения изобретения каждый передающий усилитель является усилителем типа «Н-моста» с четырьмя плечами, каждый из которых содержит активный переключательный элемент и пассивный восстанавливающий элемент, установленные параллельно, при этом четыре плеча соединены с линиями подачи мощности, а их переключательные элементы соединены с помощью ступеней управления с электронной ступенью для формирования сигналов управления.
В другом предпочтительном варианте выполнения изобретения каждый передающий усилитель является усилителем типа «полу-Н-моста» с четырьмя плечами, два из которых содержат активный переключательный элемент и пассивный восстанавливающий элемент, установленные параллельно, в то время как два другие плеча выполнены по меньшей мере с одним конденсатором и/или по меньшей мере с одной линией подачи мощности, при этом переключательные элементы первых двух плеч соединены с помощью по меньшей мере одной ступени управления с электронной ступенью для формирования сигналов управления.
В третьем варианте выполнения изобретения каждый передающий усилитель является усилителем типа «четверть-Н-моста» с четырьмя плечами, только одно из которых содержит активный переключательный элемент и пассивный восстанавливающий элемент, установленные параллельно, в то время как другие плечи выполнены по меньшей мере с одним конденсатором и/или по меньшей мере с одной линией подачи мощности, при этом переключательный элемент первого плеча соединен с помощью каскада управления с электронным каскадом для формирования сигналов управления. Однако в этом последнем варианте выполнения характеристики усилителя ухудшаются, поскольку единственный активный элемент может возбуждать ток в передающей антенне лишь в одном направлении.
Следует также отметить, что конденсаторы, используемые в пассивных плечах Н-моста, в вариантах выполнения с «полумостом» или «четвертьмостом» выполняют роль точек возврата тока передающей антенны с согласованными электрическими напряжениями; эти конденсаторы обычно имеют емкость большой величины и они не используются в данном случае для настройки контура, который они образуют вместе с индуктивностью соответствующего антенного элемента.
Согласно другому аспекту данного изобретения каждый усилитель мощности выполнен с возможностью циркуляции в элементе передающей антенны, непосредственно соединенном с этим усилителем, тока по существу «треугольной» формы, при этом напряжение в том же элементе передающей антенны имеет форму «прямоугольного» сигнала. В соответствии с этим сами передающие усилители предпочтительно возбуждаются «прямоугольными» входными сигналами максимальной амплитуды, что обеспечивает экстремальное упрощение их конструкции и делает возможным сокращение числа компонентов и уменьшение рассеяния тепла, а также площади поверхности рассеивателей тепла, используемых для удаления производимого тепла.
В результате изменений «прямоугольного» сигнала для возбуждения усилителей ток, циркулирующий в каждом элементе передающей антенны, и, следовательно, электромагнитное поле, излучаемое этим антенным элементом, являются модулированными по частоте, и/или модулированными по фазе, и/или модулированными по амплитуде в соответствии с желаемым законом изменения, например синусоидальным, треугольным, прямоугольным или случайным. Следует отметить, что увеличение передаточной частоты обеспечивает возможность уменьшения амплитуды излучаемого электромагнитного поля, когда не желательно или не возможно уменьшать электрическое напряжение, подаваемое к усилителю линией подачи мощности.
Согласно другому аспекту данного изобретения каждый компенсационный контур, принимающий сигнал, приходящий из элемента приемной антенны, содержит согласовательный и усилительный контур, конденсаторы, индуктивности и переключатели, которые выполнены с возможностью ослабления переходных сигналов элемента приемной антенны, в частности, во время изменения направления напряжения на обратное, когда переключается усилитель, а также во время изменения направления тока на обратное в антенне для компенсации действия прохождения тока в усилителе, которое происходит попеременно в активном переключательном элементе или элементах и в пассивном восстанавливающем элементе или элементах. Компоненты, используемые для выполнения функции компенсации, могут также выполнять функции симметрирования между несколькими элементами приемной антенны для ослабления сигналов, создаваемых в приемной антенне за счет близости передающей антенны и магнитных материалов. Решение с контуром компенсации, расположенным в пути приема, является более эффективным и менее дорогим, чем согласующие шлейфы, выполненные в передающем усилителе, например, посредством увеличения числа активных переключательных элементов или посредством использования линий подачи комплементарного смещения для активных переключательных элементов и пассивных восстанавливающих элементов.
Для лучшего понимания изобретения ниже приводится подробное описание в качестве примера некоторых вариантов выполнения этого устройства для возбуждения передающих антенн электромагнитной системы обнаружения со ссылками на прилагаемые чертежи, на которых изображено:
фиг.1 – общая схема антенн обнаружения с соответствующими электронными контурами;
фиг.2 – первый вариант выполнения изобретения с усилителем типа «Н-моста», соединенным с элементом передающей антенны;
фиг.3 – второй вариант выполнения изобретения с усилителем типа «полумоста», соединенным с элементом передающей антенны;
фиг.4 – график примеров формы тока и напряжения в элементе передающей антенны;
фиг.5 – вариант выполнения контура компенсации в более подробном виде.
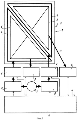
На фиг.1 показана типичная антенна системы для электромагнитного обнаружения украденных объектов, при этом антенна, обозначенная в целом позицией 2, содержит механический узел 3, на который опираются витки передающей и приемной антенн. Передающая антенна в данном случае содержит два элемента 4 передающей антенны, в то время как приемная антенна содержит два элемента 5 приемной антенны. Два элемента 4 передающей антенны так же, как два элемента 5 приемной антенны, образуют два симметричных плеча, например, треугольной формы, которые компенсируют друг друга.
Для каждого из двух элементов 4 передающей антенны предусмотрен усилитель, т.е. в показанном примере выполнения два усилителя 6. Выход каждого усилителя 6 соединен электрически с соответствующим элементом 4 передающей антенны.
Система имеет общий источник 7 питания от сети переменного тока или от любого другого источника электрической энергии, таких как гальванические элементы, аккумуляторы или солнечные батареи. Общий источник 7 обслуживает два частных источника 8 питания, соединенных соответственно с двумя передающими усилителями 6. Выход каждого частного источника 8 соединен с соответствующим передающим усилителем 6.
С каждым элементом 5 приемной антенны соединен контур 9 компенсации.
Система дополнительно содержит электронный процессорный блок 10, который выполняет следующие функции (в соединении с другими компонентами):
– блок 10 направляет сигналы управления в усилители 6. После усиления эти сигналы задают форму во времени сигналов, передаваемых элементами 4 передающей антенны;
– блок 10 направляет сигналы возбуждения в источники 8 питания для управления их выходным напряжением, которое питает усилители 6, и задает амплитуду токов, циркулирующих в элементах 4 передающей антенны, и тем самым интенсивность электромагнитных полей, излучаемых этими антенными элементами 4;
– блок 10 возбуждает контуры 9 компенсации, соединенные с элементами 5 приемной антенны, и принимает компенсированные сигналы, приходящие из этих контуров 9, обрабатывает эти сигналы с целью обеспечения формулировки решения о присутствии «маркеров» в поле антенны 2;
– наконец, блок 10 имеет (как обозначено стрелками в правой части фиг.1) интерфейсы для передачи или приема информации из периферийных систем.
На фиг.2 показана блок-схема усилителя 6, соединенного с элементом 4 передающей антенны, при этом усилитель 6 является усилителем типа «Н-моста».
Каждый из четырех плеч такого «Н-моста» содержит активный переключательный элемент 11 и пассивный восстанавливающий элемент 12, установленные параллельно, при этом стрелками обозначены направления прохождения тока в этих элементах 11 и 12. Активный переключательный элемент 11 является, например, биполярным или полевым транзистором, тиристором или транзистором IGBT. Пассивным восстанавливающим элементом 12 может быть, например, диод.
Источники 13 обеспечивают активные переключательные элементы 11 необходимым питанием с подходящим напряжением. Эти источники 13 также поглощают токи, направляемые пассивными восстанавливающими элементами 12.
Электронные ступени 14 управления обеспечивают управление активными переключательными элементами 11, при этом каждая ступень 14 соединена с парой переключательных элементов 11. Управляющая ступень 14 включает переключательный элемент 11 соответствующей пары при одновременной изоляции другого переключательного элемента 11, при этом она выполняет это попеременно для одного элемента 11 (такого, как верхний элемент) и другого элемента 11 (такого, как нижний элемент). Эта управляющая ступень 14 может быть выполнена с помощью дискретных электронных компонентов или с помощью специальных интегральных схем.
Наконец, усилитель 6 типа «Н-моста» содержит электронный каскад 15 для формирования сигналов управления. Каскад 15 принимает сигналы, исходящие из блока 10 обработки (смотри фиг.1), и приспосабливает их для использования в управляющих ступенях 14.
Усилитель 6 типа «Н-моста», выполненный указанным выше образом, соединен непосредственно с соответствующим элементом 4 передающей антенны.
На фиг.3, на которой элементы, соответствующие элементам на фиг.2, обозначены теми же позициями, показан другой вариант выполнения усилителя 6, соединенного с элементом 4 передающей антенны. В данном случае усилитель является усилителем типа «полумоста», снова соединенным непосредственно с элементом 4 передающей антенны. Два плеча описанного выше Н-моста, показанного на фиг.2, заменены в данном случае одним или более конденсаторами 16, используемыми отдельно или в соединении с одним или более комплементарными источниками, такими как обозначены позицией 17.
При работе антенны 2 в зависимости от режима работы полного «Н-моста» или «полумоста», составляющих передающий усилитель 6, ток I в элементе 4 передающей антенны имеет зависящую от времени t форму, показанную в нижней части фигуры 4. Ток I имеет в данном случае по существу «прямоугольную» форму. Что касается напряжения V в том же элементе 4 передающей антенны, то это напряжение имеет форму «меандрового» сигнала, как показано в верхней части фиг.4, что предполагает, что передающий указатель 6 возбуждается на своем входе аналогичным «прямоугольным» сигналом. Как показано на фиг.4, этот «меандровый» сигнал может быть модулированным по частоте.
Следует также отметить, что вариант полного «Н-моста» (смотри фиг.2) передающего усилителя 6 хорошо подходит для устройства, питаемого сетью переменного тока с напряжением 110 В, в то время как вариант «полумоста» является предпочтительным в случае сети переменного тока с напряжением 220 В (смотри фиг.3); а именно «полумост» обеспечивает для элемента 4 передающей антенны переменное напряжение, величина которого равна половине величины напряжения, обеспечиваемой полным «Н-мостом».
Наконец, на фиг.5 показан контур 9 компенсации, соединенный с элементом 5 приемной антенны. Контур 9 компенсации содержит согласующий полные сопротивления и усилительный контур 18, конденсаторы 19, 20 и 21, индуктивности 22, 23, 24 и 25 и переключатели 26 и 27, при этом последними управляет электронный процессорный блок 10 (смотри фиг.1) синхронно с напряжениями V и токами I (смотри фиг.4) элементов 4 передающей антенны. Контур 9 компенсации, выполненный таким образом, обеспечивает формирование принимаемых сигналов R, в частности, для уменьшения эффекта искажения в целом «треугольной» формы тока I небольшой ступенькой напряжения в моменты времени, в которые направление этого тока изменяется на обратное, при этом «Н-мост» переходит из режима работы с возбуждением от переключательных элементов 11 в режим работы с возбуждением от восстанавливающих элементов 12 (смотри фиг.2 и 3). Таким образом, контур 9 компенсации обеспечивает фильтрацию, которая убирает переходные процессы, возникающие в принимаемом сигнале, в основном во время изменения направления на обратное тока I. Контур 9 компенсации также вмешивается во время изменений на обратное направление изменения тока I, т.е. при переходах через максимумы или минимумы «треугольников» (смотри фиг.4). Наконец, контур 9 компенсации выполняет симметрирование для компенсации остаточных несимметричностей в принимаемом сигнале R между положительными и отрицательными полуволнами; при этом эти несимметричности обусловлены допусками выполнения системы, а также внешними причинами, например несимметричностью электромагнитного полного сопротивления физического окружения антенны 2.
Описанную выше систему электромагнитного обнаружения можно применять не только для обнаружения украденных объектов, но также для обнаружения других объектов и в целом для любого обнаружения, основанного на небольших изменениях внутри интенсивного электромагнитного поля.
Частным случаем применения изобретения является обнаружение присутствия материала, подвергаемого более или менее шумной вибрации под воздействием электромагнитного поля, излучаемого системой, что справедливо, например, для магнитострикционных материалов. В этом случае увеличение частоты передачи используется для перевода этой частоты в неслышимый диапазон, т.е. обычно свыше 20 кГц, для ограничения возможных акустических помех. Присутствие материалов, склонных к такой вибрации, можно обнаруживать автоматически, например, с помощью микрофона, чувствительного к акустическому шуму, создаваемому рассматриваемым материалом; в случае обнаружения система автоматически переходит в режим передачи на высокой частоте. В остальном система может быть такой же, как для обнаружения маркеров для обнаружения украденных предметов, за исключением того, что в электронном процессорном блоке используется специальное программное обеспечение для этой дополнительной функции.
Объем правовой охраны заявленного изобретения, охарактеризованного прилагаемой формулой изобретения, достигается за счет:
– использования в качестве варианта выполнения передающего усилителя так называемого «четверть моста», в котором используется лишь один активный переключательный элемент и один пассивный восстанавливающий элемент в одном плече, при этом все другие плечи моста выполняются из конденсаторов и линий подачи;
– модификации элементов электронных контуров;
– модификации формы, положения или числа элементов передающей антенны и элементов приемной антенны;
– возбуждения устройства в соответствии с любым желаемым режимом, в частности, посредством изменения частоты или фазы или амплитуды электромагнитного поля, излучаемого антенными элементами, в соответствии с любыми законами изменения посредством модификации или адаптации треугольной формы тока, который проходит через элемент или элементы передающей антенны;
– в случае системы, содержащей два или более элементов передающей антенны, соединенных каждый непосредственно с усилителем возбуждения каждого передающего усилителя сигналом, отличающимся от других сигналов, так что узел способен создавать особую пространственную конфигурацию излучаемого электромагнитного поля и быстро изменять эту пространственную конфигурацию.
Формула изобретения
1. Устройство для возбуждения передающих антенн электромагнитных систем обнаружения в системе обнаружения с непрерывным излучением, содержащее по меньшей мере одну передающую антенну и по меньшей мере одну приемную антенну, при этом каждая передающая антенна питается от электронного усилителя мощности, и каждая приемная антенна соединена с контуром компенсации, отличающееся тем, что оно состоит в комбинации из по меньшей мере одного собственно элемента (4) передающей антенны, не настроенного по частоте, по меньшей мере одного упрощенного усилителя (6) мощности, работающего в режиме включения и выключения, который является усилителем с «Н-мостом» или с «полу-Н-мостом» или с «четверть-Н-мостом», при этом каждый элемент (4) передающей антенны соединен непосредственно с этим усилителем (6) мощности, и по меньшей мере одного электронного питающего контура (8), выход которого соединен с усилителем (6) мощности.
2. Устройство по п.1, отличающееся тем, что каждый передающий усилитель (6) является усилителем с «Н-мостом» с четырьмя плечами, каждый из которых содержит активный переключательный элемент (11) и пассивный восстанавливающий элемент (12), установленные параллельно, при этом четыре плеча соединены с линиями (13) подачи мощности, а их переключательные элементы (11) также соединены с помощью каскадов (14) управления с электронным каскадом (15) для формирования сигналов управления.
3. Устройство по п.1, отличающееся тем, что каждый передающий усилитель (6) является усилителем с «полу-Н-мостом» с четырьмя плечами, два из которых содержат активный переключательный элемент (11) и пассивный восстанавливающий элемент (12), установленные параллельно, в то время как два других плеча выполнены по меньшей мере с одним конденсатором (16) и/или по меньшей мере с одной линией (13, 17) подачи мощности, при этом переключательные элементы (11) первых двух плеч соединены с помощью по меньшей мере одного каскада (14) управления с электронным каскадом (15) для формирования сигналов управления.
4. Устройство по п.1, отличающееся тем, что каждый передающий усилитель (6) является усилителем с «четверть-Н-мостом» с четырьмя плечами, только одно из которых содержит активный переключательный элемент (11) и пассивный восстанавливающий элемент (12), установленные параллельно, в то время как другие плечи выполнены по меньшей мере с одним конденсатором и/или по меньшей мере с одной линией подачи мощности, при этом переключательный элемент (11) первого плеча соединен с помощью каскада управления с электронным каскадом для формирования сигналов управления.
5. Устройство по любому из пп.1-4, отличающееся тем, что каждый усилитель (6) мощности выполнен с возможностью обеспечения циркуляции в элементе (4) передающей антенны, непосредственно соединенным с этим усилителем (6), тока (I) по существу «треугольной» формы, при этом напряжение (V) в том же элементе (4) передающей антенны имеет форму «прямоугольного» сигнала.
6. Устройство по любому из пп.1-4, отличающееся тем, что ток (I), циркулирующий в каждом элементе (4) передающей антенны, и тем самым электромагнитное поле, излучаемое этим антенным элементом (4), является модулированным по частоте, и/или модулированным по фазе, и/или модулированным по амплитуде.
7. Устройство по п.5, отличающееся тем, что ток (I), циркулирующий в каждом элементе (4) передающей антенны, и тем самым электромагнитное поле, излучаемое этим антенным элементом (4), является модулированным по частоте, и/или модулированным по фазе, и/или модулированным по амплитуде.
8. Устройство по любому из пп.1-4, отличающееся тем, что каждый компенсационный контур (9), принимающий сигнал, приходящий из элемента (5) приемной антенны, содержит согласовательный и усилительный контур (18), конденсаторы (19, 20, 21), индуктивности (22, 23, 24, 25) и переключатели (26, 27), которые выполнены с возможностью ослабления переходных сигналов, создаваемых в элементе (5) приемной антенны.
9. Устройство по п.5, отличающееся тем, что каждый компенсационный контур (9), принимающий сигнал, приходящий из элемента (5) приемной антенны, содержит согласовательный и усилительный контур (18), конденсаторы (19, 20, 21), индуктивности (22, 23, 24, 25) и переключатели (26, 27), которые выполнены с возможностью ослабления переходных сигналов, создаваемых в элементе (5) приемной антенны.
10. Устройство п.6, отличающееся тем, что каждый компенсационный контур (9), принимающий сигнал, приходящий из элемента (5) приемной антенны, содержит согласовательный и усилительный контур (18), конденсаторы (19, 20, 21), индуктивности (22, 23, 24, 25) и переключатели (26, 27), которые выполнены с возможностью ослабления переходных сигналов, создаваемых в элементе (5) приемной антенны.
11. Устройство п.7, отличающееся тем, что каждый компенсационный контур (9), принимающий сигнал, приходящий из элемента (5) приемной антенны, содержит согласовательный и усилительный контур (18), конденсаторы (19, 20, 21), индуктивности (22, 23, 24, 25) и переключатели (26, 27), которые выполнены с возможностью ослабления переходных сигналов, создаваемых в элементе (5) приемной антенны.
РИСУНКИ
MM4A – Досрочное прекращение действия патента СССР или патента Российской Федерации на изобретение из-за неуплаты в установленный срок пошлины за поддержание патента в силе
Дата прекращения действия патента: 18.12.2009
Извещение опубликовано: 10.11.2010 БИ: 31/2010
|
|