|
|
(21), (22) Заявка: 2005139621/09, 19.12.2005
(24) Дата начала отсчета срока действия патента:
19.12.2005
(46) Опубликовано: 10.10.2007
(56) Список документов, цитированных в отчете о поиске:
US 3766561, 16.10.1973. RU 2263377 C1, 27.10.2005. US 3984837, 05.10.1976. FR 2144822, 16.02.1973. US 4388623, 14.06.1983.
Адрес для переписки:
603950, г.Нижний Новгород, ул. Шапошникова, 5, Федеральное государственное предприятие “Нижегородский научно-исследовательский институт радиотехники”
|
(72) Автор(ы):
Ананьев Виталий Петрович (RU), Поплаухин Константин Дмитриевич (RU), Махрова Наталия Николаевна (RU), Челноков Александр Борисович (RU)
(73) Патентообладатель(и):
Федеральное государственное унитарное предприятие “Нижегородский научно-исследовательский институт радиотехники” (RU)
|
(54) КОНСТРУКЦИЯ УДЛИНЕННОЙ РАДИОЛОКАЦИОННОЙ АНТЕННОЙ РЕШЕТКИ ДЛЯ ЛЕТАТЕЛЬНОГО АППАРАТА
(57) Реферат:
Изобретение относится к антенной технике и может быть использовано при конструировании радиолокационного антенного оборудования для летательных аппаратов, преимущественно вертолетов. Технический результат заключается в обеспечении надежного функционирования удлиненной радиолокационной антенной решетки (АР) в расширенном интервале величин мощности (в том числе в результате увеличения частоты излучения) за счет интенсификации охлаждения антенных модулей (AM) в условиях конструктивной реализации АР с оптимальным сочетанием прочностных свойств и веса АР, а также максимального использования внешнего воздушного потока во время полета летательного аппарата для отвода внутреннего тепла при одновременном улучшении ремонтоспособности АР. Сущность изобретения состоит в том, что в конструкции удлиненной радиолокационной АР для летательного аппарата, например вертолета, представляющей собой совокупность печатных AM, установленных в корпусе АР с образованием рабочими плечами модульных вибраторов узкой плоской рабочей поверхности АР, и снабженной смонтированным на корпусе АР узлом ее подвески с возможностью развертывания АР из горизонтального транспортного положения в вертикальное рабочее положение и вращения АР в ее рабочем положении с помощью размещенных в летательном аппарате приводов, корпус АР выполнен герметичным и совмещенным с обтекателем AM, роль которого выполняет передняя защитная электромагнитно-прозрачная стенка корпуса АР, AM установлены на внутренней несущей перегородке корпуса АР и расположены между этой перегородкой и указанной передней стенкой-обтекателем в условиях принудительного подвода с помощью расположенных внутри корпуса АР средств вентиляции к AM воздушного потока из задней части полости корпуса АР между его задней стенкой и указанной несущей перегородкой через входные отверстия полого продольного каркасного элемента, выполненного заодно с несущей перегородкой, расположенного параллельно линии распределения AM вдоль полотна АР и снабженного со стороны их размещения выходными распределительными вентиляционными отверстиями для подачи воздушного потока на AM и в зону межмодульных зазоров, в которой размещены радиаторы охлаждения AM, образующие каналы пропуска воздуха через циркуляционные окна внутренней несущей перегородки в заднюю часть полости корпуса АР, а сам корпус АР выполнен составным из нескольких, в частности трех, скрепленных между собой продольных частей, причем средства вентиляции имеют мощность, обеспечивающую приходящийся на единицу выделяемой AM тепловой мощности суммарный поток, не превышающий 1,32 (л/с)·Вт-1. 3 з.п. ф-лы, 3 ил., 1 табл.
Изобретение относится к антенной технике и может быть использовано при конструировании радиолокационного антенного оборудования для летательных аппаратов, преимущественно вертолетов.
Конструкция современных радиолокационных антенных решеток основана на использовании печатной технологии. Печатные антенны компактны, имеют малый вес и большую прочность (см. статью Татаринцева Б.А. Особенности построения системы автоматизированного проектирования печатных антенн. – Судостроительная промышленность, сер. ОТ, 1989, в.21, с.29). Однако в таких антеннах омические (тепловые) потери велики для узких линий, т.е. для линий с большим волновым сопротивлением, и пропорциональны величине квадратного корня из частоты излучения (см. реферат Резникова Г.Б. Исследование микрополосковых антенных решеток со схемой питания, в журнале Радиотехника СВЧ. ВИНИТИ, 1990, №11, с.16 по материалам зарубежной статьи “A study of microstrip array antennas with the feed network” Levine E., Malamud G., Shtrikman Sh., Treves D. “IEEE Trans On Antennas and Propag.”, 1989, 37, №4, 426-434).
Поэтому при проектировании радиолокационных антенных решеток (АР) с высокочастотным диапазоном излучения средней мощности для летательного аппарата актуальной является задача обеспечения допустимых температурных условий функционирования антенных модулей при соблюдении необходимых прочностных и весогабаритных требований, предъявляемых к подвесной АР.
Известно полупроводниковое модульное микроволновое передающе-приемное устройство, выполненное из большого числа герметичных передающе-приемных модулей, каждый из которых содержит антенну, и снабженное каналами для охлаждающей жидкости, образованными между каждыми двумя соседними рядами модулей с помощью стенок модульных блоков, стопорных пластин и задней опорной конструкции (см. патент США №3549949, Н05К 7/20, 1970). Такое устройство представляет собой систему плотно скомпонованных активных модулей АР с усложненным жидкостным охлаждением с помощью коллектора и имеет ограниченное применение для активной фазированной АР с повышенным тепловыделением из-за значительного увеличения ее веса.
Более простыми являются известные приспособления для отвода тепла от электронной аппаратуры, выполненные в виде радиаторов с ребрами воздушного охлаждения, расположенными со стороны источника тепловыделения и с внешней стороны радиатора (см. заявку ФРГ № OS 3223624, Н05К 7/20, H01L 23/44, 23/36, F28F 3/02, 1984); в виде полых радиаторных пластин из полупроводника, устанавливаемых между теплоизлучающими модулями для уменьшения конвекционного теплообмена между ними (см. заявку Японии №58-35392, Н05К 7/20, 1983); а также в виде специальной конструкции воздушного охлаждения, сочетающей распределенные вдоль и поперек длинных рядов блоков с электронной аппаратурой тепловые радиаторы и теплопроводные полки и перегородки (см. патент США №4454566, Н05К 7/20, 1984). Общий недостаток указанных приспособлений – увеличение в результате их применения в многоэлементных антеннах веса АР. Этот недостаток снижен в известной системе охлаждения двух вертикальных рядов электронных блоков, снабженной двумя выпускными отверстиями для формирования потока охлажденного воздуха вдоль них с внешним обдувом, тем не менее обуславливающей нежелательное повышение вентиляционной мощности, обеспечивающей обратный проход вдоль рядов потока использованного воздуха с внутренним межрядным воздушным возвратом с помощью перегородки с вентилем (см. заявку Японии №59-15519, Н05К 7/20, F24F 5/00, 1984).
В известных антенных устройствах для летательных аппаратов предусмотрено охлаждение антенны через стенку обтекаемого прочного корпуса за счет конвекционного теплообмена (см., например, патент США №3984837, Н01Q 1/28, 1976), ограничивающее область применения такой конструкции для реализации фазированной или активной фазированной АР в расширенных интервале мощности и диапазоне частот излучения.
В качестве прототипа заявляемого изобретения выбрано радиолокационное антенное устройство для самолета, состоящее из двух удлиненных АР, установленных внутри лонжерона, имеющего эллиптическое поперечное сечение и хорошие аэродинамические характеристики и установленного, в свою очередь, на отведенной назад от самолета стойке, представляющей собой узел подвески лонжерона с возможностью его вращения в плоскости сканирования (см. патент США №3766561, H01Q 1/28, 1973). В нем предусмотрено конвекционное охлаждение АР через корпус лонжерона, что также ограничивает область применения устройства-прототипа при увеличении мощности и частоты излучения.
Технический результат предлагаемого изобретения – обеспечение надежного функционирования удлиненной АР в расширенном интервале величин мощности (в том числе в результате увеличения частоты излучения) за счет интенсификации охлаждения антенных модулей в условиях конструктивной реализации АР с оптимальным сочетанием прочностных свойств и веса АР, а также максимального использования внешнего воздушного потока во время полета летательного аппарата для отвода внутреннего тепла при одновременном улучшении ремонтоспособности АР.
Указанный технический результат достигается тем, что в конструкции удлиненной радиолокационной АР для летательного аппарата, заключенной в обтекаемый корпус, установленный на летательном аппарате с возможностью вращения корпуса в рабочем положении в плоскости сканирования, печатные антенные модули установлены в корпусе АР с образованием рабочими плечами модульных вибраторов узкой плоской рабочей поверхности АР, корпус АР выполнен герметичным и совмещенным с обтекателем антенных модулей, роль которого выполняет передняя защитная электромагнитно-прозрачная стенка корпуса АР, антенные модули установлены на внутренней несущей перегородке корпуса АР и расположены между этой перегородкой и указанной передней стенкой-обтекателем в условиях принудительного подвода с помощью расположенных внутри корпуса АР средств вентиляции к антенным модулям воздушного потока из задней части полости корпуса АР между его задней стенкой и указанной несущей перегородкой через входные отверстия полого продольного каркасного элемента, выполненного заодно с несущей перегородкой, расположенного параллельно линии распределения вдоль полотна АР антенных модулей и снабженного со стороны их размещения выходными распределительными вентиляционными отверстиями для подачи воздушного потока на модули и в зону межмодульных зазоров, в которой размещены радиаторы охлаждения антенных модулей, образующие каналы пропуска воздуха через циркуляционные окна внутренней несущей перегородки в заднюю часть полости корпуса АР, а сам корпус АР выполнен составным из нескольких, в частности трех, скрепленных между собой продольных частей, причем средства вентиляции имеют мощность, обеспечивающую приходящийся на единицу выделяемой антенными модулями тепловой мощности суммарный поток, не превышающий 1,32 (л/с)·Вт-1.
Для повышения эффективности охлаждения антенных модулей в конструкции АР при ее делении на передающий и приемный ряды антенных модулей, средствами вентиляции снабжены передающие антенные модули, а приемные антенные модули установлены в условиях их охлаждения за счет внешнего теплообмена через стенки корпуса АР.
Для оптимизации воздушного охлаждения антенных модулей и функционально связанных с работой АР электроприборов, например вторичных источников питания для обеспечения работы блоков управления фазовращателями в антенных модулях внутри герметичного корпуса АР, выходные распределительные вентиляционные отверстия полого продольного каркасного элемента, сориентированные на антенные модули с повышенным тепловыделением, имеют увеличенный диаметр, верхняя и нижняя стенки корпуса АР выполнены заодно с имеющими наружные радиаторы охлаждения стенками размещенных в задней части полости корпуса АР функционально связанных с работой АР электроприборов, например вторичных источников питания для обеспечения работы блоков управления фазовращателями в антенных модулях фазированной АР, причем указанные электроприборы отдалены от задней стенки корпуса для эффективного осуществления этой стенкой функции внешнего радиатора охлаждения антенных модулей.
Для обеспечения эксплуатационной надежности в условиях неравномерных аэродинамических и вибрационных нагрузок и вращения АР во время полета в конструкции удлиненной АР предусмотрены меры по усилению ее прочностных свойств, заключающиеся в выполнении поперечных плоских каркасных перегородок, распределенных вдоль длины корпуса АР.
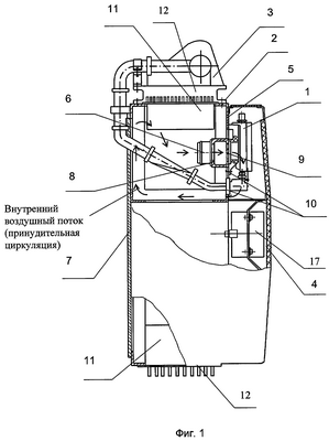
На фиг.1 схематически показан вид сбоку предлагаемой удлиненной АР для летательного аппарата; на фиг.2 – вид сверху этой же АР; на фиг.3 – графические кривые зависимости суммарного потока, создаваемого вентиляторами внутри корпуса АР и приходящегося на единицу выделяемой антенными модулями тепловой мощности, от основных внешних и внутренних факторов двухуровневой воздушной теплообменной динамики в заявляемой конструкции удлиненной АР во время полета летательного аппарата.
Конструкция удлиненной радиолокационной АР для летательного аппарата представляет собой совокупность печатных антенных модулей 1 (см. фиг.1), установленных в корпусе 2 фазированной АР с образованием рабочими плечами модульных вибраторов узкой плоской рабочей поверхности АР, и снабжена смонтированным на корпусе 2 АР узлом 3 ее подвески с возможностью развертывания из горизонтального транспортного в вертикальное рабочее положения и вращения АР в ее рабочем положении с помощью размещенных в летательном аппарате приводов (на фиг.1 и 2 приводы не показаны).
Корпус 2 АР выполнен герметичным и совмещенным с обтекателем антенных модулей 1, роль которого выполняет передняя защитная электромагнитно-прозрачная стенка 4. Материалом для стенки-обтекателя 4 может служить пенополиуретан ППУ-310К1 (или стеклопластик различных марок при высоких скоростях полета летательного аппарата).
Антенные модули 1 установлены на внутренней несущей перегородке 5 корпуса 2 АР, содержат компактно скомпонованные в них, кроме приемоизлучающих элементов, фазовращатели с блоками управления (на фиг.1 и 2 не показаны) и расположены между перегородкой 5 и стенкой-обтекателем 4 в условиях принудительного подвода с помощью вентиляторов 6 воздушного потока из задней части полости корпуса 2 АР между его задней стенкой 7 и перегородкой 5 через полый замкнутый продольный каркасный элемент 8 несущей перегородки 5.
Каркасный элемент 8 расположен параллельно линии распределения вдоль полотна АР антенных модулей 1 и имеет (кроме сопряженных с вентиляторами 6 своих входных отверстий) со стороны размещения модулей 1 – выходные распределительные вентиляционные отверстия 9 диаметром, увеличивающимся в направлении модулей 1 с большим тепловыделением.
В перегородке 5 выполнены циркуляционные окна 10 для возврата воздушного потока из передней части полости корпуса 2 с расположенными в ней антенными модулями 1 в зону задней стенки 7, являющейся внешним радиатором охлаждения – теплообменником между наружным воздушным потоком и нагретым модулями воздушным потоком АР. При этом в верхней и нижней стенках корпуса 2 АР установлены электроприборы 11, функционально связанные с работой АР, например источники питания для обеспечения работы блоков управления фазовращателями, скомпонованными в антенных модулях 1, причем верхняя и нижняя стенки корпуса 2 АР выполнены заодно со стенками указанных приборов, имеющими наружные радиаторы охлаждения 12.
Корпус 2 АР выполнен составным из трех скрепленных между собой продольных частей 13, 14 и 15 (см. фиг.2) с распределенными по длине корпуса 2 АР поперечными плоскими каркасными перегородками 16.
В изложенном примере выполнения конструкции удлиненной АР, состоящей из верхнего передающего ряда антенных модулей 1 и нижнего приемного ряда антенных модулей (на фиг.1 приемные антенные модули не показаны, они расположены под электроприбором 17, входящим в состав оборудования АР в секции корпуса 2, промежуточной между указанными рядами антенных модулей), передающие антенные модули 1 снабжены вентиляторами 6, а менее нагреваемые приемные антенные модули установлены без вентиляторов.
При электронном сканировании вращающейся фазированной АР высокочастотный сигнал по волноводному тракту поступает с передающей системы, размещенной на борту летательного аппарата, через фазовращатели, управляемые соответствующими блоками, на антенные элементы в модулях 1.
При этом принудительный подвод воздушного потока внутри герметичного корпуса 2 АР с помощью вентиляторов 6 к нагретым антенным модулям 1 в передней части полости корпуса 2 АР из менее нагретой задней части полости корпуса 2 через полый продольный каркасный элемент 8 позволяет обеспечить рабочий температурный режим функционирования АР при одновременном повышении прочности корпуса 2 АР за счет совмещения элементом 8 вентиляционной и несущей функций.
В результате заявляемая конструкция удлиненной радиолокационной АР для летательного аппарата обеспечивает надежный режим функционирования за счет интенсификации воздушного охлаждения антенных модулей 1 и вторичных источников питания 11 внутри герметичного корпуса 2 АР и усиления прочностных свойств корпуса 2 АР. Повышение прочности корпуса 2 обеспечивается посредством введения в конструкцию АР продольного полого (с прямоугольным поперечным сечением) каркасного элемента 8 и поперечных плоских каркасных перегородок 16 в составных продольных частях 13-15 корпуса 2. При этом улучшается ремонтоспособность АР как следствие использования продольного каркасного элемента 8, позволившего реализовать сборность конструкции АР с повышенными прочностными свойствами.
Изложенные отличительные особенности конструкции удлиненной АР реализованы при условии отвода вентиляционными устройствами от антенных модулей выделяемой ими тепловой мощности в сочетании с обеспечением охлаждения в задней части корпуса АР возвращаемого воздушного потока (замкнутая циркуляция воздушного потока внутри корпуса АР) за счет естественного обдува внешним воздушным потоком во время полета летательного аппарата.
Как показала расчетная оценка указанной двухуровневой воздушной теплообменной динамики на основе стендово-экспериментальных параметров теплообменного процесса, приближенных к эксплуатационным условиям функционирования АР, суммарный внутренний воздушный поток, создаваемый вентиляторами внутри корпуса АР и приходящийся на единицу выделяемой антенными модулями тепловой мощности – W в различных конструкционно-эксплуатационных условиях (площадь поверхности радиатора антенного модуля, приходящаяся на единицу выделяемой модулями тепловой мощности – S, скорость полета летательного аппарата – V, а также разность температур между внешним воздушным потоком и предельной температурой электронных элементов антенного модуля в зоне размещения радиаторов – T) при ужесточении перечисленных условий (см. качественные графические кривые W на фиг.3), выходит по величине на практически недостижимое (в конструкторской реализации) резкое увеличение, что позволяет ограничить мощность вентиляторов внутри корпуса АР величиной, определяемой граничной (максимальной) величиной W, соответствующей предельным величинам Т=10°С и V=250 км/ч, приведенным в следующей таблице:

где Р0 – максимальная тепловая мощность, выделяемая антенными модулями и приходящаяся на единицу объема, не требующего принудительного отвода тепла вентиляционными устройствами;
P1 – максимальная тепловая мощность, выделяемая антенными модулями и приходящаяся на единицу объема без нарушения теплового режима АР при принудительном отводе тепла вентиляционными устройствами.
Как следует из таблицы, такой величиной W является 1,32 (л/с)·Вт-1, что соответствует условию максимизации мощности внутренней вентиляции, эффективной в интервале эксплуатационных параметров АР, и характеризуется неочевидностью количественного наращивания W, т.к. данная величина свидетельствует о дополнительном резерве увеличения излучаемой мощности АР, заключающемся в такой возможности в результате задействования скоростного фактора функционирования АР.
При выделяемой тепловой мощности меньше Р0 в АР внутренний принудительный отвод тепла не требуется. При выделяемой тепловой мощности больше P1 отвод тепла внутренним принудительным подводом воздушного потока не эффективен.
Формула изобретения
1. Конструкция удлиненной радиолокационной антенной решетки (АР) для летательного аппарата, например вертолета, представляющая собой совокупность печатных антенных модулей (AM), установленных в корпусе АР с образованием рабочими плечами модульных вибраторов узкой плоской рабочей поверхности АР, и снабженная смонтированным на корпусе АР узлом ее подвески с возможностью развертывания АР из горизонтального транспортного положения в вертикальное рабочее положение и вращения АР в ее рабочем положении с помощью размещенных в летательном аппарате приводов, отличающаяся тем, что корпус АР выполнен герметичным и совмещенным с обтекателем AM, роль которого выполняет передняя защитная электромагнитно-прозрачная стенка корпуса АР, AM установлены на внутренней несущей перегородке корпуса АР и расположены между этой перегородкой и указанной передней стенкой-обтекателем в условиях принудительного подвода с помощью расположенных внутри корпуса АР средств вентиляции к AM воздушного потока из задней части полости корпуса АР между его задней стенкой и указанной несущей перегородкой через входные отверстия полого продольного каркасного элемента, выполненного заодно с несущей перегородкой, расположенного параллельно линии распределения AM вдоль полотна АР и снабженного со стороны их размещения выходными распределительными вентиляционными отверстиями для подачи воздушного потока на AM и в зону межмодульных зазоров, в которой размещены радиаторы охлаждения AM, образующие каналы пропуска воздуха через циркуляционные окна внутренней несущей прегородки в заднюю часть полости корпуса АР, а сам корпус АР выполнен составным из нескольких, в частности трех, скрепленных между собой продольных частей, причем средства вентиляции имеют мощность, обеспечивающую приходящийся на единицу выделяемой AM тепловой мощности суммарный поток, не превышающий 1,32 (л/с)·Вт-1
2. Конструкция АР по п.1, отличающаяся тем, что при делении АР на передающий и приемный ряды AM, средствами вентиляции снабжены передающие AM, а приемные AM установлены в условиях их охлаждения за счет внешнего теплообмена через стенки корпуса АР.
3. Конструкция АР по п.1, отличающаяся тем, что выходные распределительные вентиляционные отверстия полого продольного каркасного элемента, сориентированные на AM с повышенным тепловыделением, имеют увеличенный диаметр, а верхняя и нижняя стенки корпуса АР выполнены заодно с имеющими наружные радиаторы охлаждения стенками размещенных в задней части полости корпуса АР функционально связанных с работой АР электроприборов, например вторичных источников питания для обеспечения работы блоков управления фазовращателями в AM фазированной АР, причем указанные электроприборы отдалены от задней стенки корпуса для эффективного осуществления этой стенкой функции внешнего радиатора охлаждения антенных модулей.
4. Конструкция АР по п.1, отличающаяся тем, что в корпусе АР выполнены распределенные вдоль его длины поперечные плоские каркасные перегородки.
РИСУНКИ
PD4A – Изменение наименования обладателя патента СССР или патента Российской Федерации на изобретение
(73) Новое наименование патентообладателя:
Открытое акционерное общество «Федеральный научно-производственный центр «Нижегородский научно-исследовательский институт радиотехники» (RU)
Адрес для переписки:
603950, г. Нижний Новгород, ул. Шапошникова, д. 5, ОАО «ФНПЦ «ННИИРТ»
Извещение опубликовано: 10.09.2009 БИ: 25/2009
|
|