|
|
(21), (22) Заявка: 2005138660/09, 12.12.2005
(24) Дата начала отсчета срока действия патента:
12.12.2005
(46) Опубликовано: 10.10.2007
(56) Список документов, цитированных в отчете о поиске:
SU 1548817 A1, 07.03.1990. RU 2185010 C1, 10.07.2002. US 4272739 А, 09.06.1981. US 5039961 А, 13.08.1991.
Адрес для переписки:
420111, г.Казань, ул. К. Маркса, 10, КГТУ им. А.Н. Туполева, отдел интеллектуальной собственности
|
(72) Автор(ы):
Кузнецов Дмитрий Игоревич (RU), Крючатов Владимир Иванович (RU)
(73) Патентообладатель(и):
Казанский Государственный технический университет им. А.Н. Туполева (RU)
|
(54) МИКРОПОЛОСКОВЫЙ АТТЕНЮАТОР
(57) Реферат:
Изобретение относится к радиотехнике, а более конкретно к технике сверхвысоких частот (СВЧ), и может быть использовано в радиолокации, радиосвязи и измерительной технике. Техническим результатом является увеличение рассеиваемой мощности, повышение удобства и безопасности регулировки устройства, возможность подстройки согласования устройства. Микрополосковый аттенюатор содержит плату в виде пластины из диэлектрического материала с электропроводным экраном, входной и выходной микрополосковыми линиями из электропроводного материала, поглощающий слой из резистивного материала с подключенными параллельно элементами из электропроводного материала. Поглощающий слой гальванически включен между входной и выходной микрополосковыми линиями. Аттенюатор содержит дополнительный электропроводный экран. Над платой в виде пластины размещены с зазором друг над другом N, где N – натуральный ряд чисел, дополнительных пластин из диэлектрического материала с коэффициентом теплопроводности больше, чем коэффициент теплопроводности материала платы. Между N дополнительными пластинами размещены N-1 дополнительных поглощающих слоев из резистивного материала с подключенными параллельно дополнительными элементами из электропроводного материала. Все поглощающие слои с подключенными параллельно элементами расположены в зазорах между пластинами, причем расположенные в зазорах элементы выполнены прерывистыми и примыкающими к боковым кромкам поглощающих слоев из резистивного материала. Элементы выполнены из электропроводного материала с температурой плавления ниже, чем температуры плавления резистивного материала и электропроводного материала микрополосковых линий. Дополнительный электропроводный экран выполнен нанесенным на верхнюю поверхность N-й дополнительной пластины из диэлектрического материала и имеет толщину и теплоемкость более толщины и теплоемкости N-й дополнительной пластины из диэлектрического материала. Электропроводный экран и плата могут быть выполнены с отверстием под поглощающим слоем, содержащим регулировочный вкладыш из электропроводного материала, у которого фазовые превращения наступают при температуре ниже температур плавления резистивного материала и электропроводного материала микрополосковых линий. Толщина зазоров между пластинами может уменьшаться в направлении от входной к выходной микрополосковой линии. Толщина зазоров между всеми пластинами и толщина всех пластин может уменьшаться в направлении от платы к N-й пластине, а ширина пластин – увеличиваться в направлении от платы к N-й пластине. Элементы могут быть выполнены прерывистыми в виде примыкающих к боковым кромкам поглощающих слоев из резистивного материала шлейфов, величина прерываний может увеличиваться по направлению от входной к выходной микрополосковой линии. Ширина поглощающих слоев из резистивного материала может быть различна, и их боковые кромки могут быть не расположены друг над другом. 5 з.п. ф-лы, 4 ил.
Изобретение относится к радиотехнике, а более конкретно к технике сверхвысоких частот (СВЧ), и может быть использовано в радиолокации, радиосвязи и измерительной технике.
Известен аттенюатор, содержащий диэлектрическую плату в виде пластины, на нижней стороне которой расположен электропроводный экран, а на верхней стороне – входная и выходная микрополосковые линии, поглощающий резистивный слой, а также подключенный к ним толстый проводниковый слой со сквозным отверстием напротив резистивного слоя, в котором перемещается регулировочный вкладыш из электропроводного материала, при этом вкладыш в режиме короткозамыкания примыкает непосредственно к резистивном слою (А.с. №650134, МПК Н01Р 1/22, Б.И. №8, 1979).
Недостатками указанного устройства являются: во-первых, малая рассеиваемая мощность, т.к. мала площадь поверхности резистивного материала; во-вторых, малая рассеиваемая мощность в импульсном режиме, т.к. отсутствуют аккумуляторы тепла; в-третьих, неудобная и небезопасная регулировка устройства, т.к. регулировочный вкладыш соприкасается непосредственно с раскаленным и находящимся под напряжением резистивным слоем.
Известен взятый в качестве прототипа микрополосковый аттенюатор, содержащий плату в виде пластины из диэлектрического материала, на нижней стороне которой расположен электропроводный экран, а на верхней стороне – входная и выходная микрополосковые линии из электропроводного материала, поглощающий слой из резистивного материала с подключенными параллельно элементами из электропроводного материала, поглощающий слой гальванически включен между входной и выходной микрополосковыми линиями, а также содержащий дополнительный электропроводный экран, при этом дополнительный электропроводный экран наносится непосредственно на резистивный слой и является регулятором резистивных потерь (А.с. №1548817, МПК Н01Р 1/22, Б.И. №9, 1990).
Недостатками указанного устройства являются: во-первых, малая рассеиваемая мощность, т.к. мала площадь поверхности резистивного материала; во-вторых, малая рассеиваемая мощность в импульсном режиме, т.к. отсутствуют аккумуляторы тепла; в-третьих, неудобная и небезопасная регулировка устройства, т.к. дополнительный электропроводный экран, выполняющий роль регулятора, соприкасается непосредственно с раскаленным и находящимся под напряжением резистивным слоем; в-четвертых, невозможность подстройки согласования устройства, т.к. дополнительный электропроводный экран регулирует лишь величину резистивных потерь.
Решаемой технической задачей изобретения является, во-первых, увеличение рассеиваемой мощности; во-вторых, увеличение рассеиваемой мощности в импульсном режиме; в-третьих, повышение удобства и безопасности регулировки устройства; в-четвертых, возможность подстройки согласования устройства.
Решаемая техническая задача в микрополосковом аттенюаторе, содержащем плату в виде пластины из диэлектрического материала, на нижней стороне которой расположен электропроводный экран, а на верхней стороне – входная и выходная микрополосковые линии из электропроводного материала, поглощающий слой из резистивного материала с подключенными параллельно элементами из электропроводного материала, причем поглощающий слой гальванически включен между входной и выходной микрополосковыми линиями, а также содержащем дополнительный электропроводный экран, достигается тем, что над платой в виде пластины размещены с зазором друг над другом N, где N – натуральный ряд чисел, дополнительных пластин из диэлектрического материала с коэффициентом теплопроводности больше, чем коэффициент теплопроводности материала платы, а также между N дополнительными пластинами – N-1 дополнительных поглощающих слоев из резистивного материала с подключенными параллельно дополнительными элементами из электропроводного материала, гальванически включенных между входной и выходной микрополосковыми линиями, причем все поглощающие слои с подключенными параллельно элементами расположены в зазорах между пластинами, причем расположенные в зазорах элементы выполнены прерывистыми и примыкающими к боковым кромкам поглощающих слоев, элементы выполнены из электропроводного материала с температурой плавления ниже, чем температуры плавления резистивного материала и электропроводного материала микрополосковых линий, причем дополнительный электропроводный экран выполнен нанесенным на верхнюю поверхность N-й дополнительной пластины из диэлектрического материала и имеет толщину и теплоемкость более толщины и теплоемкости N-й дополнительной пластины из диэлектрического материала. Электропроводный экран и плата могут быть выполнены с отверстием под поглощающим слоем, содержащим регулировочный вкладыш из электропроводного материала, у которого фазовые превращения наступают при температуре ниже температур плавления резистивного материала и электропроводного материала микрополосковых линий. Толщина зазоров между пластинами может быть выполнена уменьшающейся в направлении от входной к выходной микрополосковой линии. Толщина зазоров между всеми пластинами и толщина всех пластин могут быть выполнены уменьшающимися в направлении от платы к N-й пластине, а ширина пластин может быть выполнена увеличивающейся в направлении от платы к N-й пластине. Элементы могут быть выполнены прерывистыми в виде примыкающих к боковым кромкам поглощающих слоев шлейфов, величина прерываний может быть выполнена увеличивающейся по направлению от входной к выходной микрополосковой линии. Ширина поглощающих слоев может быть выполнена различной и их боковые кромки могут быть выполнены не расположенными друг над другом.
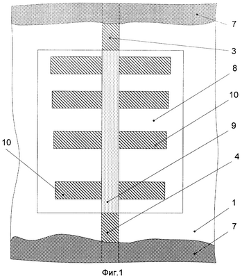
На приведенных чертежах (фиг.1-4) изображены примеры конкретной реализации предложенного устройства (на фиг.1, 3 – виды с условно частично удаленной верхней пластиной и дополнительным электропроводным экраном; на фиг.2, 4 – виды устройства в разрезе (вид со стороны входной микрополосковой линии)).
Пример конкретной реализации предложенного устройства (см. фиг.1, 2) содержит плату в виде пластины 1 из диэлектрического материала, на нижней стороне которой расположен электропроводный экран 2, а на верхней стороне – входная 3 и выходная 4 микрополосковые линии из электропроводного материала, поглощающий слой 5 из резистивного материала (например, поглощающего энергию СВЧ электромагнитных колебаний) с подключенными параллельно элементами 6 из электропроводного материала, причем поглощающий слой 5 гальванически включен между входной 3 и выходной 4 микрополосковыми линиями, а также содержит дополнительный электропроводный экран 7, причем над платой в виде пластины 1 размещены с зазором друг над другом N, где N – натуральный ряд чисел, дополнительных пластин 8 из диэлектрического материала с коэффициентом теплопроводности больше, чем коэффициент теплопроводности материала платы 1 (например, две пластины (N=2), при этом N ограничено таким образом, чтобы высота всех пластин не превысила ширину устройства), а также между N дополнительными пластинами – N-1 дополнительных поглощающих слоев 9 из резистивного материала (например, один слой (N-1=1)) с подключенными параллельно дополнительными элементами 10 из электропроводного материала, гальванически включенных между входной 3 и выходной 4 микрополосковыми линиями, причем все поглощающие слои 5, 9 с подключенными параллельно элементами 6, 10 расположены в зазорах между пластинами 1, 8, причем расположенные в зазорах элементы 6, 10 выполнены прерывистыми (например, величина прерываний меньше 1/4 длины волны) и примыкающими к боковым кромкам поглощающих слоев 5, 9, элементы 6, 10 выполнены из электропроводного материала с температурой плавления ниже, чем температуры плавления резистивного материала и электропроводного материала микрополосковых линий, причем дополнительный электропроводный экран 7 выполнен нанесенным на верхнюю поверхность N-й дополнительной пластины из диэлектрического материала (например, второй пластины) и имеет толщину и теплоемкость более толщины и теплоемкости N-й дополнительной пластины из диэлектрического материала. Электропроводный экран 2 и плата 1 выполнены с отверстием под поглощающим слоем 5 (например, с отверстием, выполненным сквозным для экрана 2 и несквозным для платы 1), содержащим регулировочный вкладыш 11 из электропроводного материала, у которого фазовые превращения наступают при температуре ниже температур плавления резистивного материала и электропроводного материала микрополосковых линий 3, 4. Толщина зазоров между пластинами 1, 8 выполнена уменьшающейся в направлении от входной 3 к выходной 4 микрополосковой линии. Толщина зазоров между всеми пластинами 1, 8 и толщина всех пластин 1, 8 выполнены уменьшающимися в направлении от платы 1 к N-й пластине, а ширина пластин выполнена увеличивающейся в направлении от платы к N-й пластине (например, N=2). Элементы 6, 10 выполнены прерывистыми в виде примыкающих к боковым кромкам поглощающих слоев 5, 9 шлейфов (например, шлейфов четвертьволновой длины), величина прерываний выполнена увеличивающейся по направлению от входной 3 к выходной 4 микрополосковой линии. Ширина поглощающих слоев 5, 9 выполнена различной и их боковые кромки выполнены не расположенными друг над другом (например, ширина поглощающих слоев 5, 9 выполнена возрастающей по направлению от платы к N-й пластине (например, N=2)).
Другой пример конкретной реализации предложенного устройства (см. фиг.3, 4) содержит плату в виде пластины 1 из диэлектрического материала, на нижней стороне которой расположен электропроводный экран 2, а на верхней стороне – входная 3 и выходная 4 микрополосковые линии из электропроводного материала, поглощающий слой 5 из резистивного материала (например, поглощающего энергию СВЧ электромагнитных колебаний) с подключенными параллельно элементами 6 из электропроводного материала, причем поглощающий слой 5 гальванически включен между входной 3 и выходной 4 микрополосковыми линиями, а также содержит дополнительный электропроводный экран 7, причем над платой в виде пластины 1 размещены с зазором друг над другом N, где N – натуральный ряд чисел, дополнительных пластин 8 из диэлектрического материала с коэффициентом теплопроводности больше, чем коэффициент теплопроводности материала платы 1 (например, две пластины (N=2), при этом N ограничено таким образом, чтобы высота всех пластин не превысила ширину устройства), а также между N дополнительными пластинами – N-1 дополнительных поглощающих слоев 9 из резистивного материала (например, один слой (N-1=1)) с подключенными параллельно дополнительными элементами 10 из электропроводного материала, гальванически включенных между входной 3 и выходной 4 микрополосковыми линиями, причем все поглощающие слои 5, 9 с подключенными параллельно элементами 6, 10 расположены в зазорах между пластинами 1, 8, причем расположенные в зазорах элементы 6, 10 выполнены прерывистыми (например, каждый элемент выполнен в виде прерывистой полосы, величина прерываний и ширина полосы менее ширины микрополосковой линии 3 и уменьшаются в направлении от концов (микрополосковых линий 3, 4) к середине устройства) и примыкающими к боковым кромкам поглощающих слоев 5, 9, элементы 6, 10 выполнены из электропроводного материала с температурой плавления ниже, чем температуры плавления резистивного материала и электропроводного материала микрополосковых линий, причем дополнительный электропроводный экран 7 выполнен нанесенным на верхнюю поверхность N-й дополнительной пластины из диэлектрического материала (например, второй пластины) и имеет толщину и теплоемкость более толщины и теплоемкости N-й дополнительной пластины из диэлектрического материала.
При работе устройства поступившая на входную микрополосковую линию 3 СВЧ мощность (например, в виде мощного одиночного короткого импульса) поглощается, преобразуясь в тепло, не только на площади резистивного материала нижнего поглощающего слоя 5, но на дополнительной площади N-1 дополнительных поглощающих слоев 9 из резистивного материала. При этом тепло в момент прохождения короткого импульса (во избежании прожога резистивного слоя в местах максимальной напряженности электрического поля и максимального тепловыделения (в частности, у боковых кромок поглощающих слоев 5, 9)) сначала аккумулируется в аккумуляторах тепла – элементах из электропроводного материала 6 и дополнительных элементах 10, дополнительных пластинах 8, вкладыше 11, а затем отводится и рассеивается с помощью платы 1, пластин 8, элементов 6 и дополнительных элементов 10, экрана 2 и дополнительного экрана 7. Теплоемкость аккумуляторов тепла повышена за счет того, что тепло затрачивается не только на нагрев, но и на фазовые превращения (например, при частичном расплавлении примыкающих к боковым кромкам поглощающих слоев элементов 6 и дополнительных элементов 10, материала вкладыша 11, что позволяет сохранить работоспособность устройства в случае поступления очень мощного СВЧ импульса). Изменение ширин и толщин пластин 1, 8, величин зазоров и, соответственно, толщин поглощающих слоев 5, 9 и элементов 6, 10 в вертикальном направлении (например, уменьшение толщин снизу вверх) дает возможность оптимизировать теплоотвод в сторону наиболее выгодного теплового стока (например, наверх). Изменение размеров зазоров, пластин 1, 8, элементов 6, 10 (в частности, их прерывистости) в горизонтальном направлении дает возможность оптимизировать теплоотвод в сторону наиболее выгодного теплового стока (например, в сторону, удаленную от наиболее нагруженного в тепловом отношении входа устройства). Поскольку ширина поглощающих слоев 5, 9 выполнена различной и их боковые кромки выполнены не расположенными друг над другом, то зоны наибольшего тепловыделения не расположены друг над другом, что позволило увеличить рассеиваемую мощность.
По сравнению с прототипом в предложенном устройстве увеличена рассеиваемая мощность, поскольку площадь поверхности резистивного материала увеличена в N раз, кроме того, резистивный материал соприкасается с более теплопроводной поверхностью.
По сравнению с прототипом в предложенном устройстве увеличена рассеиваемая мощность в импульсном режиме, поскольку площадь поверхности резистивного материала увеличена в N раз, резистивный материал соприкасается с более теплопроводной поверхностью, а также введены аккумуляторы тепла, в частности боковые кромки резистивного материала, где наибольшая напряженность электрического поля и выделяемая мощность, соприкасаются с элементами из электропроводного материала, кроме того, в плате под поглощающим слоем – регулировочный вкладыш из теплопроводного материала, на верхней поверхности верхней дополнительной пластины из диэлектрического материала – дополнительный электропроводный экран, толщина и теплоемкость которого более толщины и теплоемкости N-й дополнительной пластины из диэлектрического материала; поскольку температура плавления аккумуляторов тепла ниже, чем у материала резистивных слоев и микрополосковых линий, то при подаче одиночного мощного СВЧ импульса выделяемое тепло не прожигает резистивный слой, поскольку затрачивается не только на нагрев, но и на фазовый переход (например, из твердого в жидкое состояние).
По сравнению с прототипом в предложенном устройстве повышены удобство и безопасность регулировки устройства, поскольку регулировочный вкладыш не соприкасается непосредственно с раскаленным и находящимся под напряжением резистивным слоем.
По сравнению с прототипом в предложенном устройстве возможна подстройка согласования устройства, в частности, с помощью подбора толщины и диэлектрической проницаемости верхней пластины, габаритов и диэлектрической проницаемости вкладыша, а также с помощью расплавления отдельных частей прерывистых элементов и изменения как их формы, так и величины прерываний между ними (вплоть до смыкания некоторых прерываний). При этом подстройка с помощью расплавления осуществлялась как с помощью инструмента (например, паяльника; преимущественно для верхних элементов (например, сделанных в виде четвертьволновых шлейфов (регулируется частота резонанса шлейфа) при снятой в процессе регулировки верхней пластины)), так и непосредственно при подаче мощного одиночного СВЧ импульса (в местах наибольшей напряженности электрического поля у боковых кромок слоев резистивного материала и, соответственно, наибольшего выделения тепла – участки прерывистых элементов расплавлялись и смыкались, после чего сопротивление резко падало, выделение тепла на данном участке прекращалось и, таким образом, не только устранялась опасность прожигания резистивного слоя, но и менялись электрические параметры устройства в сторону улучшения согласования).
К достоинствам предложенного устройства следует отнести то, что выполнение частей прерывистых элементов в виде шлейфов повышает возможности подстройки за счет того, что шлейфы имеют разную длину, форму (например, выполнение шлейфов с отличающимися на 5% длинами расширяет рабочую полосу согласованного устройства на 5%), при этом возможность изменения формы шлейфа по сравнению с формой традиционного микрополоскового шлейфа (например, выполнение шлейфов редуцированными, секторными, треугольными и др.) также расширяет возможности подстройки).
К достоинствам предложенного устройства следует отнести то, что регулировочный вкладыш позволил регулировать не только согласование устройства и величину потерь (например, уменьшая коэффициент стоячей волны (КСВ) и увеличивая потери в децибелах (дБ), например, с помощью подбора габаритов, положения и материала вкладыша (например, с помощью выбора материала с большим погонным затуханием СВЧ волн)), но и температурный режим (например, позволил уменьшить температуру при работе устройства, например, с помощью подбора материала вкладыша (например, с помощью выбора материала с более низкой температурой фазового перехода, более высокой теплоемкостью и удельной теплотой плавления)).
Кроме того, к достоинствам предложенного устройства следует отнести то, что устройство обладает свойством термостабильности при повышении подаваемой СВЧ мощности, поскольку тепло затрачивается на фазовые превращения и температура не превышает температуры фазового перехода (например, температуры перехода из твердого в жидкое состояние или из жидкого в газообразное (в этом случае электропроводный экран и плата выполнены с отверстием под поглощающим слоем, содержащим регулировочный вкладыш, верхняя часть которого выполнена из материала, испытывающего фазовые превращения при температуре ниже температуры плавления резистивного материала и электропроводного материала микрополосковых линий, а нижняя часть выполнена с выемкой, выполняющей функции предохранительного клапана)).
Также к достоинствам предложенного устройства следует отнести то, что практически исключена возможность испарения (в том числе путем перехода напрямую из твердого в газообразное состояние при подаче мощного СВЧ импульса) резистивного материала за счет помещения его в зазор.
Формула изобретения
1. Микрополосковый аттенюатор, содержащая плату в виде пластины из диэлектрического материала, на нижней стороне которой расположен электропроводный экран, а на верхней стороне – входная и выходная микрополосковые линии из электропроводного материала, поглощающий слой из резистивного материала с подключенными параллельно элементами из электропроводного материала, причем поглощающий слой гальванически включен между входной и выходной микрополосковыми линиями, а также содержит дополнительный электропроводный экран, отличающийся тем, что над платой в виде пластины размещено с зазором друг над другом N, где N – натуральный ряд чисел, дополнительных пластин из диэлектрического материала с коэффициентом теплопроводности больше, чем коэффициент теплопроводности материала платы, а также между N дополнительными пластинами, N-1 дополнительных поглощающих слоев из резистивного материала с подключенными параллельно дополнительными элементами из электропроводного материала, гальванически включенных между входной и выходной микрополосковыми линиями, причем все поглощающие слои с подключенными параллельно элементами расположены в зазорах между пластинами, причем расположенные в зазорах элементы выполнены прерывистыми и примыкающими к боковым кромкам поглощающих слоев, элементы выполнены из электропроводного материала с температурой плавления ниже, чем температуры плавления резистивного материала и электропроводного материала микрополосковых линий, причем дополнительный электропроводный экран выполнен нанесенным на верхнюю поверхность N-й дополнительной пластины из диэлектрического материала и имеет толщину и теплоемкость более толщины и теплоемкости N-й дополнительной пластины из диэлектрического материала.
2. Микрополосковый аттенюатор по п.1, отличающийся тем, что электропроводный экран и плата выполнены с отверстием под поглощающим слоем, содержащим регулировочный вкладыш из электропроводного материала, у которого фазовые превращения наступают при температуре ниже температур плавления резистивного материала и электропроводного материала микрополосковых линий.
3. Микрополосковый аттенюатор по п.1, отличающийся тем, что толщина зазоров между пластинами выполнена уменьшающейся в направлении от входной к выходной микрополосковой линии.
4. Микрополосковый аттенюатор по п.1, отличающийся тем, что толщина зазоров между всеми пластинами и толщина всех пластин выполнены уменьшающимися в направлении от платы к N-й пластине, а ширина пластин выполнена увеличивающейся в направлении от платы к N-й пластине.
5. Микрополосковый аттенюатор по п.1, отличающийся тем, что элементы выполнены прерывистыми в виде примыкающих к боковым кромкам поглощающих слоев шлейфов, величина прерываний выполнена увеличивающейся по направлению от входной к выходной микрополосковой линии.
6. Микрополосковый аттенюатор по п.1, отличающийся тем, что ширина поглощающих слоев выполнена различной и их боковые кромки выполнены не расположенными друг над другом.
РИСУНКИ
MM4A – Досрочное прекращение действия патента СССР или патента Российской Федерации на изобретение из-за неуплаты в установленный срок пошлины за поддержание патента в силе
Дата прекращения действия патента: 13.12.2007
Извещение опубликовано: 27.07.2009 БИ: 21/2009
|
|