|
|
(21), (22) Заявка: 2004138596/28, 23.05.2003
(24) Дата начала отсчета срока действия патента:
23.05.2003
(30) Конвенционный приоритет:
29.05.2002 JP 2002-156453
(43) Дата публикации заявки: 27.05.2005
(46) Опубликовано: 10.10.2007
(56) Список документов, цитированных в отчете о поиске:
JP 2000113458 А, 21.04.2000. US 5457674 А, 10.10.1995. JP 2001250235 А, 14.09.2001. STANDARD ECMA-272. 2nd Edition, 07.1999.
(85) Дата перевода заявки PCT на национальную фазу:
29.12.2004
(86) Заявка PCT:
JP 03/06456 (23.05.2003)
(87) Публикация PCT:
WO 03/100775 (04.12.2003)
Адрес для переписки:
129010, Москва, ул. Б.Спасская, 25, стр.3, ООО “Юридическая фирма Городисский и Партнеры”, пат.пов. Ю.Д.Кузнецову, рег.№ 595
|
(72) Автор(ы):
ТАНИГУТИ Содзи (JP), МУРАМАЦУ Эйдзи (JP)
(73) Патентообладатель(и):
ПАЙОНИР КОРПОРЕЙШН (JP)
|
(54) НОСИТЕЛЬ ЗАПИСИ ИНФОРМАЦИИ, УСТРОЙСТВО ЗАПИСИ ИНФОРМАЦИИ И СПОСОБ ЗАПИСИ ИНФОРМАЦИИ
(57) Реферат:
Носитель записи информации содержит информацию о версии. Эта информация показывает, какой версии спецификации записи соответствует носитель записи информации. Кроме того, носитель содержит стандартное условие записи информации для записи информации при стандартной скорости и условие высокоскоростной записи информации для записи информации при большей скорости. Устройство записи информации сравнивает информацию о версии на носителе записи с информацией о версии со стороны записывающего устройства для того, чтобы принять решение о том, разрешена ли запись информации. Когда принято решение о том, что запись информации не разрешена согласно информации о версии, адаптивная информация о версии далее сравнивается с информацией о версии со стороны устройства записи информации для того чтобы принять решение о том, разрешена ли запись информации. 5 н. и 4 з.п. ф-лы, 6 ил.
ОБЛАСТЬ ТЕХНИКИ, К КОТОРОЙ ОТНОСИТСЯ ИЗОБРЕТЕНИЕ
Настоящее изобретение относится к дополнительно записываемым и перезаписываемым носителям записи, таким как DVD-R (DVD-записываемый) и DVD-RW (DVD-перезаписываемый), так же, как и устройство записи информации и способ записи информации для записи информации на такой носитель записи.
УРОВЕНЬ ТЕХНИКИ
DVD-R И DVD-RW известны как носители записи информации, на которые информация может быть дополнительно записана или может быть перезаписана много раз. На таком носителе записи информации записывается информация о скорости записи и об условии записи, применимом для носителя записи информации. В частности, информация об изделии, указывающая версию стандарта записи, определяющего способ записи, применимый для диска, записывается на зону контрольных данных на вводной области DVD-R или DVD-RW. Информация о версии изделия показывает, для какой версии стандарта записи DVD предназначен диск.
Между тем, дисковод (устройство записи информации) для записи информации на DVD-R или DVD-RW имеет информацию о версии дисковода, показывающую версию, согласно которой дисковод может записывать информацию. Когда определенный диск установлен, дисковод получает вышеупомянутую информацию о версии изделия с вводной области диска, и сравнивает информацию о версии изделия с информацией о версии дисковода. Когда информация о версии дисковода равна или более высокого порядка, чем информация о версии изделия с диска, диск применим для записи информации дисководом. Наоборот, когда информация о версии дисковода более низкого порядка, чем информация о версии изделия с диска, дисковод не применим для записи информации на этот диск, и дисковод выталкивает диск.
В последние годы работа дисководов усовершенствована, и существует потребность в дисках, которые могут выдержать высокую скорость записи, такую как в четыре раза или в восемь раз большую скорость записи. Тем не менее, в ситуации когда диски, которые могут выдержать в четыре раза или в восемь раз большую скорость, перемешаны на рынке, может возникнуть проблема с тем, что дисковод ошибочно выталкивает записываемый диск, потому что версии изделия не совпадают.
Например, предполагается, что 2.0x – это версия изделия для диска со скоростью, большей в четыре раза, а 3.0x – это версия изделия для диска со скоростью, большей в восемь раз. Обычно, для того чтобы обеспечить совместимость с более низкими версиями, диск со скоростью, большей в восемь раз, производится таким образом, чтобы быть способным записывать информацию в режиме скорости, большей в четыре раза. Поэтому на диске со скоростью записи, в восемь раз большей, может быть выполнена не только запись со скоростью, большей в восемь раз, при помощи дисковода со скоростью, большей в восемь раз, но также может быть выполнена запись со скоростью, в четыре раза большей, при помощи дисковода со скоростью в четыре раза большей.
Тем не менее, согласно стандартам записи, так как один диск имеет одну версию изделия, только информация о версии изделия 3.0x записывается на диск со скоростью записи, большей в восемь раз, как указано выше. Поэтому, в случае, когда пытаются осуществить запись со скоростью, в четыре раза большей, на диске со скоростью записи, в восемь раз большей, при помощи дисковода со скоростью записи, в четыре раза большей, дисковод считывает информацию о версии изделия (то есть версии 3.0x) диска со скоростью записи в восемь раз большей и сравнивает ее с информацией о версии (то есть версии 2.0x) дисковода. В результате, хотя дисковод может записывать информацию на этот диск в режиме скорости записи в четыре раза большей, дисковод считает диск неприменимым и выталкивает его.
Таким образом, при способе распознавания записываемого диска с использованием только информации о версии изделия, когда информация записывается на диск более высокой версии при помощи дисковода с более низкой версией, чем у диска, диск автоматически выталкивается, хотя запись может быть в действительности выполнена.
РАСКРЫТИЕ ИЗОБРЕТЕНИЯ
Настоящее изобретение выполнено с целью решения вышеуказанной проблемы. Задача настоящего изобретения заключается в том, чтобы обеспечить носитель записи информации и устройство записи информации, которые делают возможным принятие правильного решения о совместимости между диском и дисководом, и это гарантирует запись в сочетании, в котором возможна фактическая запись.
Согласно одному из аспектов настоящего изобретения обеспечивается носитель записи информации, причем носитель записи информации включает в себя: информацию о версии, показывающую версию стандарта записи; стандартное условие записи информации для записи информации при стандартной скорости записи; условие записи информации при высокой скорости для записи информации при одной или нескольких более высоких скоростях записи, больших, чем стандартная скорость записи; и информацию о совместимости версии, показывающую версию стандарта записи, для которой применимо условие записи информации при высокой скорости.
В вышеуказанном носителе записи информации информация о версии показывает версию стандарта записи, для которой применим носитель записи информации. Кроме того, записаны стандартное условие записи информации для записи информации при стандартной скорости записи и условие записи информации при высокой скорости для записи информации при скорости записи большей, чем стандартная скорость записи. Условие записи информации включает, например, информацию о стратегии записи для движения источника лазерного излучения, для того чтобы записать информацию. Во время записи информации устройство записи информации сравнивает информацию о версии на носителе записи информации с информацией о версии устройства записи информации, для того чтобы принять решение о том, может ли информация быть записана или нет. Когда принято решение, основанное на информации о версии, о том, что информация не может быть записана, далее информация о совместимости версии сравнивается с информацией о версии устройства записи информации, для того чтобы принять решение о том, может ли информация быть записана или нет. Поэтому, даже когда принято решение, основанное только на информации о версии, о том, что запись не может быть выполнена, если принято решение, основанное на информации о совместимости версии, отдельно соответствующей условиям записи при высокой скорости, о том, что запись может быть выполнена, информация может быть записана. Таким образом, может быть правильно принято решение о том, может ли запись быть выполнена на носителе записи информации или нет.
Информация о версии и информация о совместимости версии могут иметь одинаковое число битов, и могут быть определены в соответствии с одним и тем же правилом размещения битов. В этом случае способ сравнения с информацией о версии устройства записи информации может быть упрощен.
Информация о версии может быть записана на вводную область носителя записи информации, а условие записи информации и информация о совместимости версии могут быть записаны на носитель записи информации как информация в виде предварительно сформированных ямок.
Согласно другому объекту настоящего изобретения обеспечивается устройство записи информации для записи информации на носитель записи информации, причем носитель записи информации включает в себя информацию о версии, показывающую версию стандарта записи; стандартное условие записи информации для записи информации при стандартной скорости записи; условие записи информации при высокой скорости для записи информации при одной или нескольких более высоких скоростях записи, больших, чем стандартная скорость записи; и информацию о совместимости версии, показывающую версию стандарта записи, для которой применимо условие записи информации при высокой скорости, указанное устройство записи информации включает в себя: первый оценочный элемент для сравнения информации о версии, записанной на носителе записи информации с информацией о версии устройства записи информации, для того чтобы принять решение о том, может ли устройство записи информации записывать информацию на носитель записи информации или нет; второй оценочный элемент для сравнения информации о совместимости версии носителя записи информации с информацией о версии устройства записи информации, для того чтобы принять решение о том, может ли устройство записи информации записывать информацию на носитель записи информации или нет, когда первый оценочный элемент принял решение о том, что устройство записи информации не может записывать информацию; и записывающий элемент для записи информации на носитель записи информации, когда один из первого и второго оценочных элементов принял решение о том, что устройство записи информации может записывать информацию.
Согласно вышеуказанному устройству записи информации записывается информация о версии, показывающая к какой версии стандарта записи применим носитель записи информации. Кроме того, записывается стандартное условие записи информации для записи информации при стандартной скорости записи и условие записи информации при высокой скорости записи для записи информации при одной или нескольких более высоких скоростях записи, больших, чем стандартная скорость записи. Устройство записи информации сравнивает информацию о версии на носителе записи информации с информацией о версии устройства записи информации, для того чтобы принять решение о том, может ли информация быть записана или нет. Когда принято решение, основанное на информации о версии, о том, что информация не может быть записана, далее информация о совместимости версии сравнивается с информацией о версии устройства записи информации, для того чтобы принять решение о том, может ли информация быть записана или нет. Поэтому, даже когда принято решение, основанное только на информации о версии, о том, что запись не может быть выполнена, если принято решение, основанное на информации о совместимости версии, отдельно соответствующей условиям записи при высокой скорости, о том, что запись может быть выполнена, информация может быть записана. Таким образом, может быть правильно принято решение о том, может ли запись быть выполнена на носителе записи информации или нет.
Устройство записи информации может дополнительно включать в себя выталкивающий элемент для выталкивания носителя записи информации из устройства записи информации, когда и первый и второй оценочный элементы принимают решение о том, что устройство записи информации не может записывать информацию. Таким образом, носитель записи информации, при принятом в результате решении о том, что запись на него невозможна, автоматически выталкивается из устройства записи информации, и запись не выполняется.
Записывающий элемент может получать условие записи информации, соответствующее информации о версии устройства записи информации, с носителя записи информации и может записывать информацию, основываясь на условии записи информации. В силу этого информация записывается согласно подходящему условию записи информации, предварительно записанному на носитель записи информации.
Согласно другому аспекту настоящего изобретения обеспечивается устройство записи информации для записи информации на носитель записи информации, причем носитель записи информации включает в себя информацию о версии, показывающую версию стандарта записи; стандартное условие записи информации для записи информации при стандартной скорости записи; условие записи информации при высокой скорости для записи информации при или нескольких более высоких скоростях записи, больших, чем стандартная скорость записи; и информацию о совместимости версии, показывающую версию стандарта записи, для которой применимо условие записи информации при высокой скорости, указанное устройство записи информации включает в себя: оценочный элемент для сравнения информации о совместимости версии, записанной на носителе записи информации с информацией о версии устройства записи информации, для того чтобы принять решение о том, может ли устройство записи информации записывать информацию на носитель записи информации или нет; и записывающий элемент для записи информации на носитель записи информации, когда оценочный элемент принял решение о том, что устройство записи информации может записывать информацию.
В соответствии с вышеуказанным устройством записи информации информация о совместимости версии сравнивается с информацией о версии устройства записи информации, не ссылаясь на информацию о версии, для того чтобы могло быть принято решение о том, может ли информация быть записана или нет. Таким образом, способ принятия решения может быть упрощен.
Согласно еще одному аспекту настоящего изобретения обеспечивается способ записи информации для записи информации на носитель записи информации, причем носитель записи информации включает в себя информацию о версии, показывающую версию стандарта записи; стандартное условие записи информации для записи информации при стандартной скорости записи; условие записи информации при высокой скорости для записи информации при одной или нескольких более высоких скоростях записи, больших, чем стандартная скорость записи; и информацию о совместимости версии, показывающую версию стандарта записи, для которой применимо условие записи информации при высокой скорости, указанный способ записи информации включает в себя следующие этапы: первый оценочный этап для сравнения информации о версии, записанной на носителе записи информации, с информацией о версии устройства записи информации, для того чтобы принять решение о том, может ли устройство записи информации записывать информацию на носитель записи информации или нет; второй оценочный этап для сравнения информации о совместимости версии носителя записи информации с информацией о версии устройства записи информации, для того чтобы принять решение о том, может ли устройство записи информации записывать информацию на носитель записи информации или нет, когда первый оценочный этап принял решение о том, что устройство записи информации не может записывать информацию; и этап записи для записи информации на носитель записи информации, когда на одном из первого и второго оценочных этапов принято решение о том, что устройство записи информации может записывать информацию.
В соответствии с вышеуказанным способом, так же, как для устройства записи информации, информация о версии, записанная на носителе записи информации, сравнивается с информацией о версии устройства записи информации, для того чтобы было принято решение о том, может ли информация быть записана или нет. Когда принято решение, основанное на информации о версии, о том, что информация не может быть записана, далее информация о совместимости версии сравнивается с информацией о версии устройства записи информации, для того чтобы принять решение о том, может ли информация быть записана или нет. Поэтому, даже когда принято решение, основанное только на информации о версии, о том, что запись не может быть выполнена, если принято решение, основанное на информации о совместимости версии, отдельно соответствующей условиям записи при высокой скорости, о том, что запись может быть выполнена, информация может быть записана. Таким образом, может быть правильно принято решение о том, может ли запись быть выполнена на носителе записи информации или нет.
Согласно еще одному аспекту настоящего изобретения обеспечивается компьютерный программный продукт для контроля записи информации, выполняемой компьютером в устройстве записи информации, которое записывает информацию на носитель записи информации, причем носитель записи информации включает в себя информацию о версии, показывающую версию стандарта записи; стандартное условие записи информации для записи информации при стандартной скорости записи; условие записи информации при высокой скорости для записи информации при одной или нескольких более высоких скоростях записи, больших, чем стандартная скорость записи; и информацию о совместимости версии, показывающую версию стандарта записи, для которой применимо условие записи информации при высокой скорости, причем компьютерный программный продукт управляет компьютером, чтобы он функционировал как: первый оценочный элемент для сравнения информации о версии, записанной на носителе записи информации с информацией о версии устройства записи информации, для того чтобы принять решение о том, может ли устройство записи информации записывать информацию на носитель записи информации или нет; второй оценочный элемент для сравнения информации о совместимости версии носителя записи информации с информацией о версии устройства записи информации, для того чтобы принять решение о том, может ли устройство записи информации записывать информацию на носитель записи информации или нет, когда первый оценочный элемент принял решение о том, что устройство записи информации не может записывать информацию; и записывающий элемент для записи информации на носитель записи информации, когда один из первого и второго оценочных элементов принял решение о том, что устройство записи информации может записывать информацию.
Согласно еще одному аспекту настоящего изобретения обеспечивается компьютерная программная запоминающая среда для хранения компьютерной программы для управления записью информации, выполняемой компьютером в устройстве записи информации, которое записывает информацию на носитель записи информации, причем носитель записи информации включает информацию о версии, показывающую версию стандарта записи; стандартное условие записи информации для записи информации при стандартной скорости записи; условие записи информации при высокой скорости для записи информации при одной или нескольких более высоких скоростях записи, больших, чем стандартная скорость записи; и информацию о совместимости версии, показывающую версию стандарта записи, для которой применимо условие записи информации при высокой скорости, причем программа управляет компьютером, чтобы он функционировал как: первый оценочный элемент для сравнения информации о версии, записанной на носителе записи информации с информацией о версии устройства записи информации, для того чтобы принять решение о том, может ли устройство записи информации записывать информацию на носитель записи информации или нет; второй оценочный элемент для сравнения информации о совместимости версии носителя записи информации с информацией о версии устройства записи информации, для того чтобы принять решение о том, может ли устройство записи информации записывать информацию на носитель записи информации или нет, когда первый оценочный элемент принял решение о том, что устройство записи информации не может записывать информацию; и записывающий элемент для записи информации на носитель записи информации, когда один из первого и второго оценочных элементов принял решение о том, что устройство записи информации может записывать информацию.
В соответствии с компьютерным программным продуктом и запоминающей средой, когда выполняется программа, управляющая записью информации, так же, как для устройства записи информации, информация о версии, записанная на носитель записи информации, сравнивается с информацией о версии устройства записи информации, для принятия решения о том, может ли информация быть записана или нет. Когда принято решение, основанное на информации о версии, о том, что информация не может быть записана, далее информация о совместимости версии сравнивается с информацией о версии устройства записи информации, для принятия решения о том, может ли информация быть записана или нет. Поэтому, даже когда принято решение, основанное только на информации о версии, о том, что запись не может быть выполнена, если принято решение, основанное на информации о совместимости версии, отдельно соответствующей условиям записи при высокой скорости, о том, что запись может быть выполнена, информация может быть записана. Таким образом, может быть правильно принято решение о том, может ли запись быть выполнена на носителе записи информации или нет.
КРАТКОЕ ОПИСАНИЕ ЧЕРТЕЖЕЙ
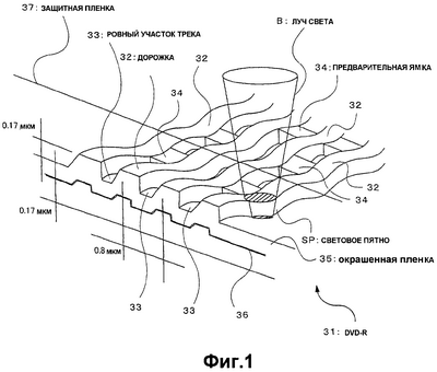
Фиг.1 – это схема, показывающая структуру поверхности диска DVD-R, к которому применяется настоящее изобретение;
фиг.2 – это схема, показывающая способ формирования предварительных ямок DVD-R;
фиг.3 – это схема, показывающая позицию записи информации о версии изделия и пример размещения битов;
фиг.4 – это схема, показывающая пример записи и пример размещения битов информации о совместимости версии;
фиг.5 – это блок-схема, показывающая конфигурацию устройства записи информации; и
фиг.6 – это блок-схема, показывающая способ записи информации согласно настоящему изобретению.
ОСУЩЕСТВЛЕНИЕ ИЗОБРЕТЕНИЯ
Предпочтительное воплощение настоящего изобретения описано ниже со ссылкой на прилагаемые чертежи.
[DVD-R]
Сначала будет описан со ссылкой на фиг.1 и 2 DVD-R, служащий носителем записи, для которого применяется настоящее изобретение.
Во-первых, структура DVD-R будет описана со ссылкой на фиг.1. Для того чтобы объяснить структуру, на фиг.1 показана схема, наблюдаемую с обратной стороны поверхности диска. На фиг.1 DVD-R 31 это тип подкрашенного DVD-R, который имеет окрашенную пленку 35, которая служит слоем для записи данных и на который данные могут быть записаны только один раз. DVD-R 31 снабжается дорожками 32, служащими треками для записи данных, и ровными участками трека 33, служащими направляющими треками для направления светового луча B, такого как лазерный луч, служащий воспроизводящим светом или записывающим светом, на дорожки 32. DVD-R дополнительно снабжается защитной пленкой 37 для защиты дорожек 32 и ровных участков трека 33 и пленкой 36 с золотым вакуумным напылением для отражения светового луча B, когда воспроизводятся записанные данные. Предварительные ямки 34, соответствующие информации в виде предварительно сформированных ямок, формируют на ровных участках трека 33. Предварительные ямки 34 формируют до поставки DVD-R 31.
Помимо этого на DVD-R 31 дорожки 32 колеблются с частотой, соответствующей частоте вращения диска. Колеблющиеся дорожки 32 также формируют до поставки DVD-R 31 так же, как и предварительные ямки 34.
Когда записываемая информация (такая информация, как графическая информация, которая должна быть записана, отличающаяся от информации в виде предварительно сформированных ямок, и аналогично в дальнейшем) записывается на DVD-R 31, устройство записи данных, описанное ниже, извлекает частоту колебания дорожек 32, для того чтобы контролировать вращение DVD-R 31 с предопределенной частотой вращения. Далее, устройство записи данных обнаруживает предварительные ямки 34, чтобы получить информацию в виде предварительно сформированных ямок, и устанавливает оптимальную мощность или что-либо подобное лазерного луча B, служащего записывающим светом, основываясь на информации в виде предварительно сформированных ямок. Далее, устройство записи данных получает информацию об адресе или что-либо подобное, показывающую позицию на DVD-R 31, на которой записываемая информация должна быть записана, и записывает записываемую информацию на соответствующую позицию записи, основываясь на информации об адресе.
Во время записи записываемой информации излучается световой луч B так, что его центр совпадает с центром дорожки 32. Записываемая информация записывается при помощи образования ямок записываемой информации на дорожках 32, соответствующих данным записываемой информации. В это время, как показано на фиг.1, размер пятна света SP устанавливается таким, что световое пятно SP покрывает не только дорожку 32, но и частично ровные участки трека 33.
Информация в виде предварительно сформированных ямок обнаруживается из предварительных ямок 34 двухтактным способом, используя частично отраженный свет светового пятна SP, образуемого на ровном участке трека 33. Двухтактный способ использует фотодетекторы, разделенные линией деления, параллельной направлению касательной к дорожке 32, а именно направлению вращения DVD-R 31 (в дальнейшем именуемый «радиальный двухтактный способ»). Также сигнал колебания извлекается из дорожки 32 для достижения тактового сигнала записи, описанного позже, который синхронизируется с вращением диска.
Далее будет дано описание формата записи информации в виде предварительно сформированных ямок, записанной заранее на DVD-R 31, со ссылкой на фиг.2. На фиг.2 в верхней части показан формат записи данных записываемой информации, и колебания в нижней части показывают положение колебания дорожки 32, на которую записываются данные записываемой информации (то есть вид дорожки 32 сверху). Стрелки, направленные кверху, между записываемой информацией и положением колебания дорожки 32 схематически показывают позиции, где образовываются предварительные ямки. На фиг.2, положение колебания дорожки 32 показано с большей амплитудой, чем действительная амплитуда, для упрощения понимания. Необходимо заметить, что данные записываемой информации записываются на центр линии дорожки 32.
Как показано на фиг.2, записываемая информация, которая должна быть записана на DVD-R 31, предварительно делится на синхронизированные фреймы, которые являются единицами информации. Один записываемый сектор образовывается 26 синхронизированными фреймами, и один ECC (Error Correcting Code – Корректирующий ошибки код) блок образуется 16 записываемыми секторами. Замечено, что один синхронизированный фрейм имеет длину, которая в 1488 раз (1488T) длиннее, чем единичная длина (в дальнейшем именуемая T), соответствующая интервалу ямки, определенного форматом записи во время записи записываемой информации. Участок, имеющий длину 14T в начале одного синхронизированного фрейма, используется как синхронизирующая информация SY для синхронизации каждого синхронизированного фрейма.
Между тем, информация в виде предварительно сформированных ямок, которая должна быть записана на DVD-R 31, записывается на синхронизированный фрейм. В случае, когда информация в виде предварительно сформированных ямок записывается на DVD-R 31 как предварительные ямки 34, одна предварительная ямка 34, показывающая синхронизирующий сигнал в информации в виде предварительно сформированных ямок, неизбежно образовывается на ровном участке трека 33, смежным с областью, на которой записывается синхронизирующая информация SY в каждом синхронизированном фрейме записываемой информации. В это время одна или две предварительная(ые) ямка(и) 34, которая(ые) должна(ы) быть записана(ы), показывающая(ие) содержание информации в виде предварительно сформированных ямок, образовывается(ются) на ровном участке трека 33, смежного с первой половиной участка синхронизированного фрейма, отличающегося от участка с синхронизирующей информацией SY. Замечено, что предварительные ямки 34 не образовываются случайно на первой половине участка синхронизированного фрейма, отличающегося от участка с синхронизирующей информацией SY, в зависимости от содержания информации в виде предварительно сформированных ямок, которая должна быть записана.
В это время в одном записываемом секторе предварительные ямки 34 образовываются только в синхронизированных фреймах с четным номером (в дальнейшем именуемые «четные фреймы»), и записывается информация в виде предварительно сформированных ямок. А именно на фиг.2 в случае, когда предварительные ямки 34 образовываются в четных фреймах (как указано стрелками, направленными кверху, сплошной линией), ни одной предварительной ямки 34 не образовывается в нечетных фреймах, смежных с четными фреймами. Связь между существованием/несуществованием предварительных ямок 34 (с ссылкой на предварительные ямки B0, B1 и B2 из начала синхронизируемого фрейма) в одном четном фрейме и в следующем нечетном фрейме устанавливается в соответствии с тем, находится ли четный фрейм в начале записываемого сектора или нет, и в соответствии с содержанием информации, которая должна быть записана на один четный фрейм и на следующий нечетный фрейм.
Более конкретно, в случае, когда предварительная ямка образовывается в четном фрейме, все предварительные ямки 34 (то есть предварительные ямки B0, B1 и B2) образовываются в синхронизированном фрейме в начале записываемого сектора. В синхронизированных фреймах, отличных от синхронизированных фреймов в начале записываемого сектора, образовываются только предварительные ямки B0 и B2, когда информация в виде предварительно сформированных ямок, которая должна быть записана на синхронизированных фреймах, является «1», а предварительные ямки B0 и B1 образовываются, когда информация о предварительных ямках, которая должна быть записана, является «0». Кроме того, в случае, когда предварительные ямки формируются в нечетных фреймах, предварительные ямки B0 и B1 формируются в синхронизированном фрейме в начале записываемого сектора, и случай вышеописанных четных фреймов применяется к синхронизированным фреймам, отличных от синхронизированных фреймов в начале записываемого сектора.
Образовываются ли предварительные ямки 34 в четных фреймах или в нечетных фреймах определяется в зависимости от позиции предварительной ямки 34, первоначально образованной на смежной ровной части трека 33. А именно предварительные ямки 34 стандартно образовываются в четных фреймах. Тем не менее предварительные ямки 34 образовываются в нечетных фреймах, если предварительные ямки 34, образованные в четных фреймах, граничат с предварительными ямками 34, первоначально образованных в смежном ровном участке трека 33 в радиальном направлении диска DVD-R 31. При образовании предварительных ямок 34 таким способом, предварительные ямки 34 не существуют на смежных ровных участках треков 33 на позициях, смежных друг с другом, таким образом, уменьшая влияние перекрестных помех во время обнаружения предварительных ямок 34.
Тем временем дорожки 32 колеблются в целом синхронизированном фрейме с постоянной частотой колебания f0 в 140 кГц (частота, при которой 8 волн сигнала колебания могут быть включены в один синхронизированный фрейм). Устройство записи данных, описанное позже, извлекает постоянную частоту колебания f0, для того чтобы обнаружить сигнал для контроля вращения двигателя шпинделя, и генерирует тактовый сигнал записи.
Для того чтобы сохранить постоянным фазовое соотношение между предварительной ямкой 34 и сигналом колебания, предварительная ямка B0 формируется в предопределенной позиции, удаленной от стартовой позиции синхронизированного фрейма (например, позиции, удаленной на 7T), а предварительные ямки B1 и B2 образовываются так, чтобы быть отделенными от предварительной ямки B0 на 186T (1488/8). Способ образования предварительных ямок детально раскрыт в выложенной патентной заявке патента Японии No.10-154332.
[Часть информации о версии]
Далее будет описана информация о версии изделия. Как замечено выше, информация о версии изделия показывает версию стандарта записи, для которой применим DVD-R диск. Фиг.3 показывает позицию записи информации о версии изделия для DVD-R диска. Как показано на фиг.3, DVD-R диск 31 включает в себя вводную область 52, область данных и выводную область 53, и вводная область 52 включает зону 54 контрольных данных. Начало зоны 54 контрольных данных снабжается типом носителя и областью 55 версии изделия, на которую записываются информация 56 о типе носителя и информация 57 о версии изделия. Замечено, что информация о версии изделия также записывается на область (ID1) для записи адреса ECC блока или чего-либо подобного в информации в виде предварительно сформированных ямок, показанной на фиг.4
Информация 56 о типе носителя показывает тип стандарта записи (носителя), в котором описан стандарт DVD. Конкретно, как показано на фиг.3, информация 56 о типе носителя показывает, что диск является одним из только читаемых DVD, DVD-RAM, DVD-R и DVD-RW для четырех битов данных. В таком воплощении, когда используется DVD-R диск, «1101b» записывается как информация о типе носителя.
Таким образом, информация 57 о версии изделия показывает версию стандарта записи (то есть версию изделия), для которой применим диск. Конкретно, как показано на фиг.3, информация 57 о версии изделия показывает, используя четыре бита данных, какой из версий изделия из версий от 0.9x до 3.0x соответствует диск. В таком воплощении, когда диск имеет информацию изделия 3.0x, информация о версии изделия записывается как «1000b».
Поэтому устройство записи информации (например, дисковод) для записи данных записываемой информации на DVD-R ссылается на информацию 57 о версии изделия, чтобы получить версию изделия DVD-R, и затем сравнивает полученную версию изделия с информацией о версии изделия для устройства записи информации. Детали этой операции будут описаны позже.
[Совместимость информации о версии]
Далее будет дано описание информации о совместимости версии, которая является одной из характеристических частей настоящего изобретения. Информация о совместимости версии описывает версию, к которой применим диск в объединении со стратегией записи. Позиции записи информации о совместимости версии показаны на фиг.4. Как показано на фиг.4, информация о совместимости версии включается в информацию в виде предварительно сформированных ямок, записанную на диск в форме предварительных ямок, и описывается в информации в виде предварительно сформированных ямок, задаваемой предварительными ямками в вводной области. В таком воплощении информация о совместимости версии записывается в области для определения стратегии записи с двойной скоростью записи (от ID6 до ID7), в области для определения стратегии записи при скорости записи, в четыре раза большей (от ID8 до ID10), и в области для определения стратегии записи при скорости записи, в восемь раз большей (от ID11 до ID13), в информации в виде предварительно сформированных ямок. Также, как показано на фиг.4, информация о совместимости версии показывает одну из многих версий стандарта записи при помощи четырех битов данных.
Как отмечено выше, информация о версии изделия показывает версию стандарта записи DVD, для которой применим диск, и только одна версия определена для одного диска. Например, версия изделия диска, применимого для скорости записи, в восемь раз большей, является версия 3.0x, а версия изделия диска, применимого для скорости записи, в четыре раз большей, является версия 2.0x. На этом основании, даже если дисковод, применимый для скорости записи, в четыре раза большей, может в действительности записывать информацию на диск, который применим для скорости записи, в восемь раз большей, для скорости, в четыре раза большей, версией изделия диска является только версия 3.0x, которая является версией изделия диска, применимого для скорости записи, в восемь раз большей.
Наоборот, информация о совместимости версии показывает все версии стандартов записи при которых информация может быть в действительности записана на диск. А именно, в случае когда информация может быть записана при скорости записи, в четыре раза большей, на диск, который применим к скорости записи, в восемь раз большей, с помощью устройства записи информации, применимого к скорости записи информации, в четыре раза большей, информация о совместимости версии включает информацию о версии, соответствующую скорости записи, в четыре раза большей.
Фиг.4 показывает пример диска, применимого к скорости записи, в восемь раз большей, и информацией о версии изделия этого диска является версия 3.0x (см. Фиг.3). Тем не менее, как показано на фиг.4, информация о совместимости версии включает информацию о версии для всех стратегий записи, таких как стратегия записи при двойной (в два раза большей) скорости записи, стратегия записи при скорости записи, в четыре раза большей, и стратегия записи при скорости записи, в восемь раз большей. Поэтому для такого диска, применимого к скорости записи, в восемь раз большей, информация о совместимости версии показывает, что стратегия записи при скорости записи, в восемь раз большей, описанная в областях от ID11 до ID13, применима для версии 3.0x, стратегия записи при скорости записи, в четыре раза большей, описанная в областях от ID8 до ID10, применима для версии 2.0x и стратегия записи при двойной скорости записи, описанная в областях от ID6 до ID7, применима для версии 2.0x. А именно информация может быть записана на диск при любой из скоростей записи от двойной до скорости записи, в восемь раз большей, используя стратегию записи, соответствующую скоростям записи.
В таком воплощении правило размещения битов информации совместимости версии идентично правилу размещения битов информации о версии изделия, показанной на Фиг.3. Это предпочтительно тем, что способ сравнения информации о версии может быть упрощен, но это не является обязательным. А именно правило размещения битов информации о совместимости версии может отличаться от правила размещения битов информации о версии изделия.
[Устройство записи и воспроизведения информации]
Далее будет описано воплощение устройства записи и воспроизведения информации настоящего изобретения со ссылкой на фиг.5. В следующем воплощении предварительные ямки 34, включающие информацию об адресах или что-либо подобное на DVD-R 31 и колеблющиеся дорожки 32 предварительно образовываются на DVD-R 31. Когда записывается записываемая информация, устройство записи и воспроизведения информации S контролирует вращение DVD-R 31, основываясь на частоте колебания дорожек 32, и обнаруживает предварительные ямки 34, для того чтобы получить адрес информации на DVD-R 31. Таким образом, устройство записи и воспроизведения информации S обнаруживает позиции записи на DVD-R 31 и записывает записываемую информацию. Далее, устройство записи и воспроизведения информации S обнаруживает предварительные ямки 34, для того чтобы получить информацию о совместимости версии из информации 34 в виде предварительно сформированных ямок, показанных на фиг.4, и получить информацию 7 о версии изделия из зоны управляющих данных в вводной области, показанной на фиг.3.
Как показано на фиг.5, устройство записи и воспроизведения информации S включает датчик 1, двигатель 2 шпинделя, драйвер 3 шпинделя, возбуждающую лазер схему 4, схему 5 контроля питания, кодирующее устройство 6, интерфейс 7, усилитель воспроизведения 8, декодер 9, процессор (CPU) 10, генератор системных часов 11 для генерирования сигнала системных часов для контроля вращения, BPF (Band Pass Filter – Фильтр Полосы Пропускания) 12, детектор 13 сигнала предварительных ямок, декодер 14 сигнала предварительных ямок, экстрактор 15 сигнала колебания, фазовый компаратор 16, фазовый компаратор 17 для генерирования сигнала контроля вращения, схему PLL (Phase Locked Loop – Контур Фазовой Автоподстройки) 18, фазовращатель 19. Схема PLL 18 включает фазовый компаратор 181, LPF (Low Pass Filter – Фильтр Нижних Частот) 182, VCO (Voltage Controlled Oscillator – Осциллятор с Регулируемым Напряжением) 183, и делитель 184.
Устройство записи и воспроизведения информации S получает информацию, которая должна быть записана, из внешней главной вычислительной машины (не показана) через интерфейс 7, и записываемая информация, записываемая на DVD-R 31, выводится через интерфейс 7.
Ниже описана операция в целом. Датчик 1 включает в себя лазерный диод, разветвитель поляризованного луча, линзу объектива и фотодетектор, которые не показаны. Во время операции записи датчик 1 испускает луч света B, имеющий мощность излучения, которая подается из возбуждающей лазер схемы 4 и меняется в соответствии с сигналом возбуждаемого лазера, основываясь на записываемой информации, на DVD-R 31 для того чтобы записать записываемую информацию. Во время операции воспроизведения датчик 1 испускает луч света B, имеющий постоянную мощность излучения (то есть мощность считывания), и получает отраженный свет при помощи фотодетектора.
Дополнительно датчик 1 получает отраженный свет луча света B, испускаемого на поверхность записи информации с поверхности записи информации через фотодетектор, и преобразует отраженный свет в электрический сигнал. Затем датчик 1 выполняет операцию обработки данных, основанную на радиальной двухтактной системе, электрического сигнала, например, для того чтобы генерировать обнаруживающий сигнал STD, несущий сигнал предварительных ямок для предварительных ямок 34, сигнал колебаний для дорожки 32 и информацию записи, и выводит обнаруживающий сигнал STD на усилитель воспроизведения 8.
Усилитель воспроизведения 8 усиливает обнаруживающий сигнал STD, несущий сигнал предварительных ямок для предварительных ямок 34 и сигнал колебаний для дорожки 32, выводимых с датчика 1, и выводит сигнал информации в виде предварительно сформированных ямок SPP, включающий сигнал предварительных ямок для предварительных ямок 34 и сигнал колебаний дорожки 32, на фильтр 12 полосы пропускания. Во время операции воспроизведения усилитель воспроизведения 8 выводит RF сигнал Sp, соответствующий записываемой информации, уже записанной на декодер 9.
Тем временем фильтр 12 полосы пропускания удаляет компоненты шума, включенные в сигнал SPP информации в виде предварительно сформированных ямок, подаваемый из усилителя воспроизведения 8, и выводит составной сигнал SPC, на который накладывается сигнал о предварительных ямках на предопределенные позиции сигнала колебания (например, на позиции максимальной амплитуды), на детектор 13 сигнала ямок разметки и экстрактор 15 сигнала колебания.
Детектор 13 сигнала предварительных ямок включает компаратор (не показан), который сравнивает составной сигнал SPC с предопределенным контрольным уровнем Vrp обнаружения предварительных ямок, который больше, чем уровень максимума амплитуды сигнала колебания. В течение периода, когда уровень амплитуды составного сигнала SPC больше, чем контрольный уровень Vrp обнаружения предварительных ямок, а именно в течение периода, когда предварительные ямки существуют, детектор 13 сигнала предварительных ямок выводит сигнал SPD обнаружения предварительных ямок, который является импульсным сигналом, на декодер 14 сигнала предварительных ямок и на фазовый компаратор 16.
Декодер 14 сигнала предварительных ямок декодирует информацию в виде предварительно сформированных ямок, включающую адресную информацию на DVD-R 31, из подаваемого сигнала SPD об обнаружении ямок разметки, чтобы вывести декодированную информацию на CPU 10. Декодер 14 сигнала предварительных ямок извлекает информацию о версии изделия, информацию о совместимости версии и тому подобное, что включено в информацию в виде предварительно сформированных ямок.
Экстрактор 15 сигнала колебания, служащий устройством, извлекающим сигнал колебаний, имеет компаратор (не показан), который сравнивает составной сигнал SPC с предопределенным уровнем, например, с промежуточным уровнем Vr0 PP (размаха напряжения) сигнала колебания. Экстрактор 15 сигнала колебания выводит импульсный сигнал, который находится на уровне H (высоком) в течение периода, на котором уровень амплитуды составного сигнала SPC больше, чем контрольный уровень Vp0, на фазовые компараторы 16 и 17 и на контур фазовой автоподстройки 18, так же, как и извлеченный сигнал SWB колебания.
Контур фазовой автоподстройки 18 включает фазовый компаратор 181, фильтр нижних частот 182, осциллятор с регулируемым напряжением 183 и делитель 184, и выводит тактовый сигнал SCK, который синхронизирован с фазой извлеченного сигнала SWB колебания, на фазовращатель 19.
Фазовый компаратор 16 сравнивает фазы сигнала SPD обнаружения предварительных ямок и извлеченного сигнала SWB колебания в соответствии с операцией, описанной позже, и выводит регулирующий фазу сигнал SCNT, который показывает сдвиг фазы от предопределенного фазового отношения, которое обычно имеют сигнал SPD обнаружения предварительных ямок и извлеченный сигнал SWB колебания, на фазовращатель 19.
Фазовращатель 19 настраивает фазу тактового сигнала SCK, подаваемого с контура фазовой автоподстройки 18, основываясь на регулирующем фазу сигнале SCNT, и выводит ее на кодирующее устройство 6 и на схему контроля питания 5 как тактовый сигнал записи SCR.
Фазовый компаратор 17 сравнивает фазу извлеченного сигнала SWB колебания с фазой сигнала SREF системных часов, который переносит опорную компоненту частоты скорости вращения DVD-R 31 и подается из генератора системных часов 11, и подает сигнал разности фаз на двигатель 2 шпинделя через драйвер 3 шпинделя как сигнал управления вращением. Таким образом, выполняется сервошпиндель, и DVD-R 31 вращается при помощи двигателя 2 шпинделя при предопределенной скорости.
Интерфейс 7 выполняет операцию соединения с компьютером для захватываемой записываемой информации SRR, подаваемой с главной вычислительной машины (не показана), на устройство записи и воспроизведения информации S под контролем процессора 10, и выводит записываемую информацию SRR на кодирующее устройство 6 через процессор 10.
Кодирующее устройство 6 выполняет ECC процесс, 8/16 модулирующий процесс и процесс скремблирования, используя тактовый сигнал записи SCR, подаваемый с фазовращателя 19 как синхронизирующий сигнал, для того чтобы генерировать модулированный сигнал SRE, и выводит его на схему 5 контроля питания.
Схема 5 контроля питания преобразует волновую форму модулированного сигнала SRE, основанную на тактовом сигнале записи SCR, выводимом с фазовращателя 19 (так называемый процесс стратегии записи), для того чтобы сохранить целесообразной форму записываемых предварительных ямок, формируемых на диске, и выводит ее на возбуждающую лазер схему 4 как сигнал SD записи. Замечено, что процессор 10 контролирует волновую форму модулированного сигнала SRE, основываясь на информации о стратегии записи (см. фиг.4) в информации о предварительных ямках, генерируемой декодером 14 сигнала предварительных ямок.
Возбуждающая лазер схема 4 выводит сигнал возбуждения лазера для действительно возбуждающего лазер диода (не показан) в датчике 1, для того чтобы излучить луч света B, имеющий мощность излучения согласно подаваемому сигналу SD записи.
Процессор 10 сохраняет, во внутренней памяти, информацию о версии со стороны устройства, показывающую стандарт записи во время, когда устройство записи и воспроизведения информации S записывает записываемую информацию. Во время операции записи процессор 10 контролирует целостную информацию записывающего и воспроизводящего устройства, для того чтобы получить адрес информации из информации о предварительных ямках, подаваемой с декодера 14 сигнала ямок разметки, и записать записываемую информацию на позицию на DVD-R 31, соответствующую адресу информации. Далее, во время операции воспроизведения, процессор 10 контролирует целостную информацию записывающего и воспроизводящего устройства S, для того чтобы получить записываемую информацию, записываемую на DVD-R 31 из декодированного сигнала SDM, и вывести ее на внешнюю главную вычислительную машину.
[Способ записи информации]
Следующим ниже будет описан способ записи информации, выполняемый устройством записи и воспроизведения информации, со ссылкой на блок-схему фиг.6. Способ записи информации, описанный ниже, выполняется таким образом, что процессор 10 устройства записи и воспроизведения информации S, показанный на фиг.5, выполняет предопределенную программу способа записи информации, которая приготовлена заблаговременно. В это время процессор 10 получает информацию о версии изделия, показанную на фиг.3 или фиг.4, с зоны управляющих данных в вводной области на диске или информацию в виде предварительно сформированных ямок, как описано ниже, и также получает информацию о совместимости версии, показанную на фиг.4, и информацию о стратегии записи из информации в виде предварительно сформированных ямок.
Сначала, когда процессор 10 обнаруживает, что диск вставлен в устройство записи информации (этап S1), процессор 10 получает с диска информацию о версии изделия (этап S2).
Затем процессор 10 сравнивает информацию о версии устройства, которая сохранена в памяти процессора 10, и показывает стандарт записи, который использует устройство записи информации для записи информации, с информацией о версии изделия диска, полученной на этапе S2 (этап S3). Когда они совпадают друг с другом, обнаруживается, что диск применим для записи информации устройством записи информации. Таким образом, процесс идет до этапа S6, и процессор 10 управляет устройством записи информации для записи информации, используя стратегию записи, соответствующую скорости записи, показанной информацией о версии изделия.
Наоборот, когда информация о версии устройства и информация о версии диска не совпадают друг с другом, процессор 10 получает информацию о совместимости версии с диска (этап S4), и сравнивает их с информацией о версии устройства. Когда информация о версии устройства совпадает с любой из информации о совместимости версии, полученных на этапе S4, процессор 10 получает стратегию записи при скорости записи, соответствующей совпадающей версии из информации в виде предварительно сформированных ямок, показанных на фиг.4, и записывает информацию на диск (этап S6).
Когда информация о версии, которая совпадает с информацией о версии устройства, не существует в информациях о совместимости версии, процессор 10 выталкивает диск (этап S7) и заканчивает процесс.
В способе записи информации сначала необходимо принять решение о том, совпадает ли версия устройства с версией изделия диска или нет, и когда они не совпадают друг с другом, далее принять решение, основанное на информации о совместимости версии, может ли информация быть записана на диск при другой скорости записи или нет. Когда информация о совместимости версии, соответствующая информации о версии устройства, записана на диск, информация записывается, при использовании стратегии записи, применимой к скорости записи.
[Модифицированный пример]
В способе записи информации, описанном со ссылкой на фиг.6, сначала принимается решение, основанное на информации о версии изделия о том, может ли информация быть записана или нет, и когда принято решение о том, что запись невозможна, далее принимается решение том, может ли быть информация записана, основанное на информации о совместимости версии. В качестве альтернативы, устройство записи информации может быть сконфигурировано таким образом, что решение, основанное на информации о версии изделия опускается и решение о том, записываема ли информация или нет, принимается только основываясь на информации о совместимости версии. Далее, информация о версии изделия получается с диска на этапе S2, и после этого информация о совместимости версии получается с диска на этапе S4 только тогда, когда информация о версии изделия диска не идентична версии устройства на этапе S3. Тем не менее, информация о версии изделия и информация о совместимости версии могут быть получены одновременно на этапе S2.
Пока вышеописанное воплощение описывается на примере DVD устройства для монопольного использования, таком как рекордер DVD-R/RW, устройство записи информации или устройство записи и воспроизведения информации настоящего изобретения может быть реализовано при помощи DVD дисковода, присоединенного, например, к персональному компьютеру. В этом случае те же функции, что и у вышеописанного DVD устройства монопольного использования, такого как DVD-R/RW рекордер, могут быть реализованы компьютером, который выполняет программу контроля записи информации для выполнения процесса записи информации. Пользователь может получить такую программу контроля записи информации в виде носителя информации, такого как CD-ROM или DVD-ROM или путем обмена данных через устройство связи, такое как сеть.
Воплощение, описанное выше, ориентировано на случай, когда настоящее изобретение применяется к DVD-R, но настоящее изобретение может быть подобным образом применено к другому носителю записи, такому как CD-R, CD-RW, DVD-RW и так далее.
Как описано выше, согласно настоящему изобретению, не только информация о версии изделия, но и также информация о совместимости версии принимаются во внимание, для того чтобы определить может ли быть записана информация или нет. Так как информация о совместимости версии показывает скорость записи и информацию о версии, с которой информация может быть записана на диск, может быть принято точное решение о том, может ли быть записана информация на диск при помощи устройства записи информации или нет.
ПРОМЫШЛЕННАЯ ПРИМЕНИМОСТЬ
Настоящее изобретение применяется для записи информации на носитель записи информации, такой как DVD-R (DVD-записываемый) и тому подобное. Способ записи информации, согласно настоящему изобретению, может быть использован для различных вычислительных устройств, таких как DVD-рекордер и персональный компьютер.
Формула изобретения
1. Носитель записи информации, содержащий информацию о версии, показывающую версию стандарта записи, стандартное условие записи информации для записи информации при стандартной скорости записи, условие записи информации при высокой скорости для записи информации при одной или нескольких более высоких скоростях записи, больших, чем стандартная скорость записи, и информацию о совместимости версии, показывающую версию стандарта записи, к которой применимы условия записи информации при высокой скорости.
2. Носитель записи информации по п.1, где информация о версии и информация о совместимости версии имеют одинаковое число битов и определены в соответствии с одним и тем же правилом размещения битов.
3. Носитель записи информации по п.1, где информация о версии записывается на вводную область носителя записи информации, и условие записи информации и информация о совместимости версии записываются как информация в виде предварительно сформированных ямок на носитель записи информации.
4. Устройство записи информации для записи информации на носитель записи информации, содержащий информацию о версии, показывающую версию стандарта записи, стандартное условие записи информации для записи информации при стандартной скорости записи, условие записи информации при высокой скорости для записи информации при одной или нескольких более высоких скоростях записи, больших, чем стандартная скорость записи, и информацию о совместимости версии, показывающую версию стандарта записи, к которой применимы условия записи информации при высокой скорости, указанное устройство записи информации содержит первый оценочный элемент для сравнения информации о версии, записанной на носитель записи информации с информацией о версии устройства записи информации для принятия решения о том, может ли устройство записи информации записывать информацию на носитель записи информации или нет, второй оценочный элемент для сравнения информации о совместимости версии носителя записи информации с информацией о версии устройства записи информации для принятия решения о том, может ли устройство записи информации записывать информацию на носитель записи информации или нет, когда первый оценочный элемент принял решение о том, что устройство записи информации не может записывать информацию, и
записывающий элемент записи для записи информации на носитель записи информации, когда один из первого и второго оценочных элементов принял решение о том, что устройство записи информации может записывать информацию.
5. Устройство записи информации по п.4, дополнительно содержащее выталкивающий элемент для выталкивания носителя записи информации из устройства записи информации, когда и первый и второй оценочные элементы принимают решение о том, что устройство записи информации не может записывать информацию.
6. Устройство записи информации по п.4, где записывающий элемент получает условие записи информации, соответствующее информации о версии устройства записи информации, с носителя записи информации и записывает информацию, основываясь на условии записи информации.
7. Устройство записи информации для записи информации на носитель записи информации, содержащий стандартное условие записи информации для записи информации при стандартной скорости записи, условие записи информации при высокой скорости для записи информации при одной или нескольких более высоких скоростях записи, больших, чем стандартная скорость записи, информацию о совместимости версии, показывающую версию стандарта записи, к которой применимо условие записи информации при высокой скорости, указанное устройство записи информации содержит оценочный элемент для сравнения информации о совместимости версии носителя записи информации с информацией о версии устройства записи информации для принятия решения о том, может ли устройство записи информации записывать информацию на носитель записи информации или нет, и устройство записи для записи информации на носитель записи информации, когда оценочный элемент принял решение о том, что устройство записи информации может записывать информацию.
8. Способ записи информации для записи информации на носитель записи информации, содержащий информацию о версии, показывающую версию стандарта записи, стандартное условие записи информации для записи информации при стандартной скорости записи, условие записи информации при высокой скорости для записи информации при одной или нескольких более высоких скоростях записи, больших, чем стандартная скорость записи, и информацию о совместимости версии, показывающую версию стандарта записи, к которой применимо условие записи информации при высокой скорости, указанный способ записи информации содержит следующие этапы: первый оценочный этап для сравнения информации о версии, записанной на носителе записи информации с информацией о версии устройства записи информации для принятия решения о том, может ли устройство записи информации записывать информацию на носитель записи информации или нет, второй оценочный этап для сравнения информации о совместимости версии носителя записи информации с информацией о версии устройства записи информации для принятия решения о том, может ли устройство записи информации записывать информацию на носитель записи информации или нет, когда первый оценочный элемент принял решение о том, что устройство записи информации не может записывать информацию, и этап записи для записи информации на носитель записи информации, когда на одном из первого и второго оценочных элементов принято решение о том, что устройство записи информации может записывать информацию.
9. Среда хранения компьютерной программы для хранения компьютерной программы для управления записью информации, выполняемой компьютером в устройстве записи информации, которое записывает информацию на носитель записи информации, содержащий информацию о версии, показывающую версию стандарта записи, стандартное условие записи информации для записи информации при стандартной скорости записи, условие записи информации при высокой скорости для записи информации при одной или нескольких более высоких скоростях записи, больших, чем стандартная скорость записи, и информацию о совместимости версии, показывающую версию стандарта записи, к которой применимо условие записи информации при высокой скорости, указанная программа управляет компьютером, чтобы он функционировал как первый оценочный элемент для сравнения информации о версии, записанной на носителе записи информации с информацией о версии устройства записи информации для принятия решения о том, может ли устройство записи информации записывать информацию на носитель записи информации или нет, второй оценочный элемент для сравнения информации о совместимости версии носителя записи информации с информацией о версии устройства записи информации для принятия решения о том, может ли устройство записи информации записывать информацию на носитель записи информации или нет, когда первый оценочный элемент принял решение о том, что устройство записи информации не может записывать информацию, и записывающий элемент для записи информации на носитель записи информации, когда один из первого и второго оценочных элементов принял решение о том, что устройство записи информации может записывать информацию.
РИСУНКИ
|
|