|
|
(21), (22) Заявка: 2005131186/09, 09.03.2004
(24) Дата начала отсчета срока действия патента:
09.03.2004
(30) Конвенционный приоритет:
10.03.2003 US 60/453,397
(43) Дата публикации заявки: 20.03.2006
(46) Опубликовано: 10.10.2007
(56) Список документов, цитированных в отчете о поиске:
RU 2188455C1, 27.02.2002. JP 10235869, 08.09.1998. US 6290070 А, 18.09.2001. US 4928230 А, 22.05.1990. US 4168533 А, 18.09.1979.
(85) Дата перевода заявки PCT на национальную фазу:
10.10.2005
(86) Заявка PCT:
US 2004/007212 (09.03.2004)
(87) Публикация PCT:
WO 2004/081885 (23.09.2004)
Адрес для переписки:
129010, Москва, ул. Б.Спасская, 25, стр.3, ООО “Юридическая фирма Городисский и Партнеры”, пат.пов. С.А.Дорофееву
|
(72) Автор(ы):
ЭНРАЙТ Джеффри М. (US), ТЕРИО Франклин М. (US), ДАНЛЭП Р. Мэттью (US), БЕСКИТТ Уилльям Д. (US), ХАНИ Шон (US), ФИТЦПАТРИК Колин (US), ЛАСКОВСКИ Эдвард Л. (US), РАЙАН Майк (US), ЛАВЕЛЛЬ Билл (US), ШУЛЬТЦ Дэвид (US), ФОРС Мэттью (US), ИСТМЕН Джеффри (US)
(73) Патентообладатель(и):
ДАЙБОЛД, ИНКОРПОРЕЙТЕД (US)
|
(54) СИСТЕМА И СПОСОБ ПРИЕМА ДЕПОЗИТОВ В БАНКОМАТЕ, ВЫДАЮЩЕМ НАЛИЧНЫЕ
(57) Реферат:
Изобретение относится к банкоматам. Техническим результатом является банкомат, обеспечивающий запись информации о свойствах депонируемых объектов, в том числе измерении и записи их толщины. Банкомат содержит механизм для приема депонируемых объектов. Депонируемые объекты можно вводить в банкомат в конвертах, которые сначала направляются пользователю из области хранения конвертов в банкомате посредством транспортирующего устройства и выдаются пользователю через отверстие. Устройство хранения и выдачи конвертов обеспечивает выдачу пользователю только одного конверта. Затем пользователь может поместить депозитные объекты в выданный конверт. Депонируемые объекты проходят через отверстие и помещаются в содержащий депозиты контейнер. Депонируемые объекты можно пометить маркировками, соответствующими транзакции или свойствам депонируемых объектов, когда конверт первоначально выдается пользователю для вложения в него депонируемого объекта. 10 н. и 191 з.п. ф-лы, 70 ил.
Область техники
Изобретение относится к банкоматам. В частности, один из примеров настоящего изобретения относится к системам и соответствующим способам для приема объектов, депонируемых в банкомат, выдающий наличные, и также для предоставления пользователям банкомата таких объектов, как пустые депозитные конверты, которые могут быть полезны для проведения транзакций.
Уровень техники
Банкоматы известны в предыдущем уровне техники. Обычным типом банкомата является банкомат, выполняющий банковские операции (АТМ). АТМ применяют для выполнения банковских операций на принципах самообслуживания. АТМ могут выдавать наличные пользователям с их счета. Некоторые АТМ могут принимать депозиты. Другие АТМ могут выполнять такие функции, как выдача талонов, напечатание билетов, выдача расписок о принятии депозита, обналичивание чеков, напечатание платежных поручений и выполнение других типов транзакций. В целях данного описания любая машина, выполняющая транзакции, предусматривающие перевод ценностей, считается банкоматом.
Для банкоматов, принимающих депозиты, нередко требуется, чтобы пользователи ввели депонируемый объект в автомат, в котором объект обрабатывается и/или хранится для последующего его изъятия уполномоченными лицами. Иногда депонируемый объект может быть конвертом или иным контейнером, вмещающим содержимое депозита. Это содержимое может включать в себя такие ценные бумаги и документы, как наличные, чеки, платежные поручения, дарственные, купоны, монеты или другие типы документов. Если депонируемые объекты помещаются таким образом, то пользователь иногда должен вводить при помощи устройств ввода в банкомат данные, указывающие стоимость данного объекта. Обычно это общая стоимость наличных, чеков или другого содержания в депонируемом объекте. Банкомат может запоминать информацию об указанной стоимости и/или может напечатать информацию о стоимости на депонируемом объекте вместе с номером транзакции, номером счета или иную информацию, которая позволит проследить данный депозит обратно к пользователю и/или к транзакции.
Для того, чтобы удостовериться в указанной стоимости депозита, владелец (оператор) банкомата часто должен потом забирать депонируемые объекты из области хранения в банкомате. Оператор открывает депонируемые объекты и определяет, являются ли содержание и фактическая стоимость депозита соответствующими указанной стоимости. В большинстве случаев фактическая стоимость депозита соответствует указываемой стоимости, и тогда счет данного пользователя кредитуется соответственно. В других случаях обнаруживается расхождение между фактической стоимостью и указываемой стоимостью. В таких случаях пользователь может быть уведомлен о размере кредита, который он получит за данный депозит, вместо указанной стоимости, представленной для банкомата.
Иногда, когда депонируемые объекты берут из банкомата, они могут повредиться. Это повреждение может быть в виде разорванного или иным образом открытого конверта. В некоторых случаях объект или его испорченная форма могут и не иметь какого-либо содержимого. В некоторых случаях содержимое может быть рассыпано в области хранения банкомата. В других случаях содержимое может быть и не обнаружено вовсе.
Депонируемые объекты иногда берут из банкомата в контейнере, содержащем депозиты, исполнение которого обеспечивает указание недозволенной попытки его вскрытия, и доставляют в удаленное местоположение для проверки. В других ситуациях депонируемые объекты можно поместить в пакет или в другой контейнер на месте данного банкомата. Эти объекты можно взять в удаленное местоположение для проверки содержимого депонируемых объектов.
В некоторых обстоятельствах в удаленном местоположении содержимое поврежденного или открытого депонируемого объекта возможно и не будет обнаружено. Это может случиться, если пользователь намеренно вложил пустой или поврежденный конверт в банкомат. Альтернативно может возникнуть вопрос, не взято ли содержимое депозита из банкомата лицами, отвечающими за изъятие депозитов из него. Наконец, может возникнуть вопрос об утере или присвоении депонируемого объекта лицами, отвечающими за проверку суммы депозита. В некоторых обстоятельствах, поскольку ответственность за отсутствие содержания невозможно установить, оператор АТМ может кредитовать пользователя на указанную стоимость депозита, даже если содержимое депозита никогда не будет найдено. В некоторых обстоятельствах пользователь мог совершить обман, намеренно попытавшись внести в качестве депозита поврежденный депонируемый объект.
Депонируемые объекты могут получить повреждение по причине нескольких факторов. В результате того, что депозитом будут такие различные депонируемые объекты, как конверты, содержащие сложенные банкноты, или листы или монеты, то эти объекты могут иметь неправильную форму. Конверты с этими объектами могут порваться ввиду своего неровного контура. Разрыв этих имеющих неправильную форму конвертов может также внести сомнения в отношении содержимого депозитных конвертов.
Еще один возможный вопрос в отношении депозитов заключается в том, что пользователь банкомата, желающий осуществить депонирование, может не иметь конверта. Хотя запасы конвертов могут быть предоставлены, но эти открытые запасы могут быть испорчены и/или могут закончиться. Эти открытые запасы конвертов могут стать причиной загрязнения неиспользованными конвертами области возле банкомата, портя вид места, где он находится.
Могут возникнуть и другие вопросы, связанные с невозможностью маркировать соответствующие маркировки на депозитных конвертах. Хотя для маркировки этих конвертов используются разные печатающие устройства, в них нередко возникают неисправности, что приводит к неразборчивой печати сведений на конвертах.
Также часто возникают трудности при выдаче депозитных конвертов. Иногда они обусловлены желанием выдавать конверты с отслаиваемой или раскладываемой клеящей полоской для удержания клапанов конверта в закрепленном состоянии. Использование этой отслаиваемой или иной клеящей полоски может устранять необходимость того, чтобы пользователь облизывал конверт или иным образом предоставлял влагу для его запечатывания. Использование таких конвертов может быть желательным для обеспечения санитарных условий более высокого уровня. Но наличие этих клеящих средств может создавать трудности при транспортировании и выдаче пустых конвертов пользователям банкомата.
Депонируемые объекты нередко имеют значительную стоимость. По этой причине преступники могут попытаться применить обманные средства для получения депонируемых объектов. Например, они могут попытаться разместить в приемном отверстии предметы для захвата депонируемых объектов, которые они могли бы изъять. Альтернативно, преступники могут попытаться применить некоторые устройства, чтобы вытащить депонируемые объекты, уже помещенные в область хранения в банкомате.
Прием депозитов в банкомат сопряжен и с другими затруднениями. Некоторые депозитарии могут быть трудно ремонтируемыми или трудно заменяемыми. Помимо этого, контейнеры для помещения депонируемых объектов могут подвергнуться неправильному обращению или незаконному вскрытию.
Прочие характеристики имеющихся сегодня депозитариев и систем банкоматов могут выиграть от их усовершенствования.
Сущность изобретения
Задача представленного варианта осуществления настоящего изобретения заключается в предоставлении банкомата.
Другая задача представленного варианта осуществления настоящего изобретения заключается в предоставлении банкомата, который записывает информацию о свойствах депонируемых объектов.
Еще одна задача представленного варианта осуществления настоящего изобретения заключается в предоставлении банкомата, который измеряет и записывает толщину депонируемого объекта.
Еще одна задача представленного варианта осуществления настоящего изобретения заключается в предоставлении банкомата, который записывает информацию о свойствах депонируемых объектов в целях последующего сравнения и проверки.
Еще одна задача представленного варианта осуществления настоящего изобретения заключается в предоставлении способа проверки депозитов в банкомате.
Еще одна задача представленного варианта осуществления настоящего изобретения заключается в предоставлении способа записи свойств объектов, депонированных в банкомат.
Еще одна задача представленного варианта осуществления настоящего изобретения заключается в предоставлении способа определения толщины объекта, депонированного в банкомат.
Еще одна задача представленного варианта осуществления настоящего изобретения заключается в предоставлении способа для определения ответственности за пропавшее содержание объектов, депонированных в банкомат.
Еще одна задача представленного варианта осуществления настоящего изобретения заключается в предоставлении хранилища, используемого совместно с банкоматом.
Еще одна задача представленного варианта осуществления настоящего изобретения заключается в предоставлении хранилища, которое предоставляет пользователю конверт, когда тот желает осуществить депонирование.
Еще одна задача представленного варианта осуществления настоящего изобретения заключается в предоставлении хранилища для банкомата, которое надежным образом будет манипулировать конвертами, контуры которых являются неравномерными.
Еще одна задача представленного варианта осуществления настоящего изобретения заключается в предоставлении хранилища для банкомата, обеспечивающего повышенный уровень защищенности.
Еще одна задача представленного варианта осуществления настоящего изобретения заключается в предоставлении хранилища для использования совместно с банкоматом, которое обеспечивает повышенную надежность напечатания маркировок на депонируемых конвертах или на других объектах.
Прочие задачи представленных вариантов осуществлений настоящего изобретения следуют из приводимых ниже наилучших вариантов осуществления изобретения и из прилагаемой формулы изобретения.
Некоторые из перечисляемых выше задач изобретения реализуются в представленном варианте осуществления банкомата, который принимает такие депонируемые объекты, как конверты. Согласно примерному варианту осуществлению пользователь вводит данные с помощью одного или нескольких устройств ввода банкомата, идентифицирующие пользователя и/или его счет(а). Данные, вводимые упомянутыми устройствами банкомата, могут также содержать указываемую величину данного депонируемого объекта.
Согласно примерному варианту осуществления изобретения депонируемый объект принимается банкоматом, и определяется его толщина и/или другие свойства в одном или нескольких местах на депонируемом объекте. Сведения о толщине и/или других свойствах записываются. В некоторых вариантах осуществления сведения о толщине или другие определенные параметры могут записываться печатными или иными средствами непосредственно на депонируемом объекте. Альтернативно, в некоторых вариантах осуществления сведения, записанные на депонируемом объекте, можно соотнести с толщиной и/или другими сведениями, записанными в запоминающем устройстве, посредством компьютера.
Согласно примерному варианту осуществления депонируемый объект хранится с другими депонируемыми объектами в области хранения в банкомате. Затем депонируемый объект вынимается из банкомата уполномоченным лицом, открывается или проверяется иным образом. Данные о толщине и/или других параметрах каждого депонируемого объекта могут быть проверены для определения его содержания на момент депонирования. Например, сведения о толщине, записанные для открытого или поврежденного на момент проверки конверта, будут указывать, содержал ли данный конверт материалы во время депонирования. Это можно сделать, например, путем сравнения измеренной толщины поврежденного конверта со сведениями о записанной толщине. Аналогично, сведения о толщине и/или других параметрах, записанные относительно конверта, который не поврежден, но открыт в момент проверки, укажут, содержал ли конверт какие-либо объекты во время депонирования. Аналогично, конверты, поврежденные или открытые в момент проверки, можно проверить путем сравнения с хранящимися данными, чтобы определить, были ли удалены объекты после депонирования в банкомат. В зависимости от конкретной системы или типа депонируемых объектов методы проверки могут быть разными.
Согласно другим представленным вариантам осуществления изобретения представлен депонирующий механизм, который имеет хранилище депонируемых конвертов или других подходящих депонируемых контейнеров внутри банкомата. Когда пользователь желает осуществить депонирование, банкомат отделяет один депонируемый конверт запаса и выдает его пользователю. После этого пользователь может вложить объекты для депонирования в конверт и ввести его в банкомат через то же отверстие, из которого был выдан конверт.
Согласно примерному варианту осуществления изобретения предусмотрено транспортирующее устройство, которое доставляет пустые конверты и также транспортирует заполненные нормальные или имеющие неправильную форму конверты, содержащие депонируемый материал, к месту хранения. Также в некоторых представленных вариантах осуществления представлены средства защиты, чтобы свести к минимуму риск недозволенного доступа со стороны преступников к депонируемым объектам через транспортирующее устройство. Помимо этого, в некоторых представленных вариантах осуществления приняты меры по обеспечению более надежной печати маркировок на депонируемых конвертах за счет того, что лишняя краска или другие материалы отводятся от депонируемых объектов и/или за счет обеспечения соответствующего обслуживания устройства, которое печатает маркировку на депонируемых конвертах.
Должно быть понятно, что устройства, системы и способы, описываемые здесь, приводятся в качестве примера, что излагаемые здесь принципы можно применить для других систем и/или что могут использоваться дополнительные признаки и функции.
Краткое описание чертежей
Фиг.1 – схематический вид банкомата в оперативном соединении с сетью транзакций АТМ.
Фиг.2 – схематический вид транспортирующего устройства для депонируемых объектов, и компонентов для измерения свойств депонируемых объектов и для записи маркировки на объекте.
Фиг.3 – приводимый в качестве примера вариант осуществления депонируемого объекта, на котором нанесена маркировка, соответствующая толщине и определенной транзакции.
Фиг.4 – график, представляющий отношение толщины депонируемого объекта к расстоянию или времени при прохождении объекта мимо датчика, примерного варианта осуществления.
Фиг.5 – схематический вид сверху, представляющий детектируемые средства примерного депонируемого объекта, содержащего такие документы, как чеки.
Фиг.6 – схематический вид депонируемого объекта, на котором нанесена машиночитаемая маркировка, характеризующая свойства данного объекта; и считывающего устройства, которое считывает машиночитаемую маркировку и получает информацию о свойствах депонируемого объекта из запоминающего устройства.
Фиг.7 – изометрический вид примерного депонируемого объекта, имеющего повреждение, и который содержит записанные на нем сведения о толщине, которые говорят о том, что данный объект был пустым при его введении в банкомат.
Фиг.8 – схематический вид сбоку альтернативного депонирующего механизма, который выдает пустые конверты для депонирования пользователю банкомата.
Фиг.9 – изометрический вид узла выдачи конвертов в депонирующем механизме, показываемом на фиг.8.
Фиг.10 – альтернативный изометрический вид механизма выдачи конвертов.
Фиг.11 – вид справа механизма выдачи конвертов.
Фиг.12 – вид с конца механизма выдачи конвертов.
Фиг.13 – вид справа механизма выдачи конвертов, в положении для выдачи конвертов.
Фиг.14 – вид с конца механизма выдачи конвертов, в положении выдачи конвертов.
Фиг.15 – вид справа механизма выдачи конвертов и транспортирующего устройства, показываемого с конвертом, который перемещен из запаса конвертов, перемещаемым в транспортирующем устройстве к пользователю.
Фиг.16 – вид справа механизма выдачи конвертов, который действует для минимизации риска того, что лишние конверты будут выходить из запаса вместе с первым отбираемым конвертом.
Фиг.17 – схематический вид узла основания, используемого вместе с примерным механизмом выдачи конвертов.
Фиг.18 – изометрический вид, дополнительно показывающий узел основания и запас конвертов и рычаги исполнительного механизма обслуживания печатающей головки, используемый в примерном варианте механизма выдачи конвертов.
Фиг.19 – схематический вид искривленной части транспортирующего устройства конвертов, используемого в примерном варианте осуществления депонирующего механизма.
Фиг.20 – схематический вид части транспортирующего устройства конвертов, показываемой на фиг.19, с конвертом в нем, и схематическое представление усилий, действующих на этот конверт.
Фиг.21 – вид сверху транспортирующего устройства, показываемого на фиг.20, вдоль транспортирующей ленты с роликами, используемыми вместе с ней.
Фиг.22 – изометрический вид компонентов вблизи наружного конца транспортирующего устройства конвертов, включая ленты и ролики вблизи него.
Фиг.23 – вид справа наружной части транспортирующего устройства, включая заслонку в открытом положении, позволяющем выдачу объектов с транспортирующего устройства или размещение их на нем.
Фиг.24 – схематический вид перемещения роликов вблизи наружного конца транспортирующего устройства, которое может происходить при приеме депонируемого объекта правильной формы.
Фиг.25 – вид сверху наружного конца транспортирующего устройства с заслонкой в открытом положении.
Фиг.26 – схематический вид наружного конца транспортирующего устройства, показывающий прием конверта с неправильной формой, содержащего монеты.
Фиг.27 – вид наружного конца транспортирующего устройства; принимающий конверт неправильной формы с депозитом, который содержит листы, и показывающий смещение вала ролика, соответствующее этому приему, аналогично фиг.24.
Фиг.28 – изометрический вид роликов и опорного вала, которые можно использовать с примерным вариантом депонирующей конверты системы.
Фиг.29 – поперечное сечение роликов, показываемых на фиг.28.
Фиг.30 – схематический вид установки показываемых на фиг.28 роликов на валу.
Фиг.31 – изометрический вид альтернативных роликов, устанавливаемых аналогично роликам на фиг.28-30.
Фиг.32 – изометрический вид альтернативной конструкции выходного конца для системы транспортирования конвертов, включая элементы, обеспечивающие прием объектов с неправильным контуром на транспортирующее устройство.
Фиг.33 – вид сбоку конструкций, показываемых на фиг.32.
Фиг.34 – альтернативная конструкция наружного конца транспортирующего устройства, содержащая поперечно расположенные направляющие для конвертов, содействующие перемещению наружу конвертов, которые могут быть не выровнены на транспортирующем устройстве.
Фиг.35 – еще один изометрический вид наружного конца транспортирующего устройства, показываемого на фиг.34, включая направляющие для конвертов.
Фиг.36 – вид с конца, показывающий действие упомянутых направляющих с неровно размещенными конвертами.
Фиг.37 – схематический вид сверху наружного конца транспортирующего устройства с конвертом, который неровно размещен по отношению к нему.
Фиг.38 – вид сверху транспортирующего устройства с направляющими, показывающий неровно расположенный на нем конверт, перемещаемый далее в транспортирующем устройстве.
Фиг.39 – вид сверху наружного конца транспортирующего устройства с неровно расположенным в нем конвертом; здесь транспортирующее устройство не имеет направляющих, показываемых на фиг.34.
Фиг.40 – вид сверху транспортирующего устройства конвертов, показываемого на фиг.39, с конвертом, перемещаемым далее в транспортирующем устройстве.
Фиг.41 – вид с конца транспортирующего устройства, показываемого на фиг.39, показывающий состояние, которое может возникнуть при отбраковке неровно расположенного конверта, или при выдаче неровно расположенного конверта, если не используются направляющие, показываемые на фиг.34.
Фиг.42 – изометрический вид конструкции опорного основания для наружного конца транспортирующего устройства.
Фиг.43 – изометрический вид снизу, показывающий узел компонентов основания, используемых в наружном конце транспортирующего устройства.
Фиг.44 – вид сбоку, показывающий собранные элементы, составляющие основание наружного конца транспортирующего устройства.
Фиг.45 – изометрический вид, показывающий наружный конец транспортирующего устройства, содержащий расположенную сверху оправу и подвижные детали заслонки.
Фиг.46 – изометрический вид, схематически показывающий компоненты, связанные с перемещением заслонки, которая избирательно блокирует доступ к транспортирующему устройству.
Фиг.47 – вид сбоку заслонки транспортирующего устройства в полностью открытом положении.
Фиг.48 – вид сбоку, аналогичный фиг.47, показывающий заслонку в частично открытом положении.
Фиг.49 – вид сбоку, аналогичный фиг.47, показывающий заслонку транспортирующего устройства в открытом положении.
Фиг.50 – вид, аналогичный фиг.47, с заслонкой в полностью закрытом положении, в котором она взаимодействует с примыкающими конструкциями, чтобы свести к минимуму риск несанкционированного доступа к транспортирующему устройству.
Фиг.51 – вид сбоку, показывающий примерное выполнение части транспортирующего устройства, содержащей струйное печатающее устройство, и также собирающее краску устройство или емкость для удаления лишней краски из печатающего устройства.
Фиг.52 – изометрический вид, показывающий собирающее краску устройство согласно фиг.51; дверца доступа к нему показана в открытом положении.
Фиг.53 – изометрический вид, аналогичный фиг.52, но собирающее краску устройство показано с дверцей доступа к нему в закрытом положении; схематически показана ее съемная поворотная установка.
Фиг.54 – вид сбоку механизма для обслуживания сопел струйного картриджа примерного варианта осуществления за счет вытирания.
Фиг.55 – вид сбоку, показывающий струйный картридж примерного варианта осуществления, вместе с подвижным вытирающим элементом с протирающей частью для такого вытирающего действия.
Фиг.56 – изометрический вид, схематически показывающий вытирающий элемент на печатающей головке.
Фиг.57 – еще один изометрический вид, показывающий вытирающий элемент и печатающую головку.
Фиг.58 – подетальный вид съемного содержащего депонируемые объекты контейнера и механизма подвижной дверцы, используемого в примерном варианте осуществления.
Фиг.59 – увеличенный изометрический вид верхней части контейнера и соответствующего механизма подвижной дверцы.
Фиг.60 – изометрический разрез, показывающий конструкцию механизма подвижной дверцы, используемого в примерном варианте осуществления.
Фиг.61 – изометрический вид содержащего депонируемые объекты контейнера и механизма подвижной дверцы примерного варианта осуществления, включая элементы, обеспечивающие возможность замены подвижной дверцы.
Фиг.62 – изометрический вид сверху, показывающий блокирующий механизм, используемый для блокирования подвижной дверцы содержащего депонируемые объекты контейнера согласно примерному варианту осуществления.
Фиг.63 – изометрический вид сбоку, показывающий примерную установку содержащего депонируемые объекты контейнера и показывающий блокировку, используемую в примерных вариантах осуществления, для предотвращения доступа к депонирующему механизму, когда контейнер находится в рабочем положении.
Фиг.64 – еще один изометрический вид, показывающий примерный блокирующий механизм с содержащим депонируемые объекты контейнером в рабочем положении.
Фиг.65 – еще один изометрический вид, показывающий блокирующий механизм, позволяющий перемещение депонирующего механизма, когда контейнер перемещен из рабочего положения.
Фиг.66 – вид справа, аналогичный фиг.65, показывающий, что контейнер удален, и блокировку, позволяющую перемещение принимающего депонируемые объекты устройства.
Фиг.67 – вид сверху, аналогичный фиг.62, но с примерным блокирующим механизмом в положении, позволяющем открытие дверцы содержащего депонируемые объекты контейнера.
Фиг.68 – вид справа, показывающий примерные датчики, обеспечивающие повышенный уровень защищенности от незаконного вскрытия депонирующего механизма и недозволенного доступа к нему.
Фиг.69 – изометрический подетальный вид, показывающий взаимодействие примерного наружного конца депонирующего механизма с удаленной лицевой частью, установленной с возможностью перемещения по отношению к лицевой стороне банкомата.
Фиг.70 – изометрический вид спереди, показывающий оправу наружного конца депонирующего механизма, взаимодействующую с подвижной лицевой частью банкомата.
Предпочтительные варианты осуществления изобретения
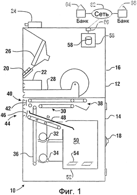
На чертежах и, в частности, на фиг.1 схематически показан первый вариант осуществления банкомата, обозначенного в целом позицией 10. Первый примерный вариант осуществления банкомата является банкоматом, который осуществляет такие банковские операции, как выдача наличных и депонирование объектов. Нужно отметить, что принципы настоящего изобретения можно применить и к другим типам банкомата, выполняющим другие или дополнительные функции.
Банкомат 10 содержит корпус 12. Корпус 12 в варианте осуществления включает в себя хранилищную часть 14 и верхнюю часть 16 (верхний корпус). И хранилищная часть, и верхний корпус, который может в данном описании называться также шкафом, доступны для уполномоченных лиц через соответствующие дверцы доступа, управление которыми осуществляется с помощью запирающих механизмов. Схематически показано, что хранилищная часть имеет дверцу с сейфовым кодовым замком 18 для обеспечения доступа к нему только уполномоченных лиц. Верхняя часть имеет открываемый ключом замок (отдельно не показан) в оперативном соединении с дверцей, подвижной относительно корпуса и позволяющей доступ уполномоченных лиц внутрь верхней части. Разумеется, в других вариантах осуществления можно использовать и другие механизмы управления доступа и запирающие механизмы.
Банкомат 10 также содержит устройства ввода. Устройства ввода в банкомате имеют клавиатуру 20, с помощью которой пользователь может вручную вводить данные. Еще одно устройство ввода в варианте осуществления представляет собой устройство 22 считывания карточек. В некоторых вариантах осуществления устройство считывания карточек может быть выполнено с возможностью считывания карточек с магнитной полоской и/или интеллектуальных карточек (смарт-карт), имеющих программируемое запоминающее устройство. Разумеется, в других вариантах осуществления можно использовать и такие устройства считывания карточек, которые считывают бесконтактные карточки, или другие устройства.
В показанном варианте осуществления также имеется устройство 24 записи изображения. В некоторых вариантах осуществления устройство записи изображения может содержать, например, камеру, которая записывает одно или несколько изображений персон, работающих с данным банкоматом. В других вариантах осуществления устройство записи изображения может содержать биометрический считыватель, например сканер радужной оболочки, устройство ввода данных для системы опознания лица человека или другое аналогичное устройство, которое служит устройством ввода для идентификации пользователя. Разумеется, упоминаемые здесь устройства ввода являются только примерами, и в других вариантах осуществления можно использовать другие устройства ввода, например устройства считывания отпечатков пальцев, сканеры сетчатки, системы опознания голоса, сенсорные экраны, системы речевого ввода и другие типы устройств, которые принимают входные данные для установления личности пользователя и/или его счета, либо которые могут давать команды для банкомата или от него.
Представленный банкомат 10 также имеет устройства вывода. Эти устройства вывода имеют дисплей 26. Дисплей 26 может выдавать команды пользователю, касающиеся эксплуатации банкомата, и также предоставлять пользователю соответствующую информацию. Банкомат также содержит печатающее устройство 28, также служащее устройством вывода. Печатающее устройство 28 в некоторых вариантах осуществления может содержать устройство для печати квитанций, выдаваемых пользователю для документирования транзакций, выполняемых банкоматом. В других вариантах осуществления могут использоваться и другие типы печатающих устройств. Например, устройства, которые печатают билеты, временные расписки о принятии депозита, платежные поручения, чеки, купоны или другие документы.
Нужно отметить, что эти устройства вывода упоминаются в качестве примера и что в других вариантах осуществления могут быть использованы другие типы устройств вывода. Например, другие варианты осуществления могут предусматривать речевые инструктирующие системы, интерфейсы связи для осуществления сообщения с такими беспроводными устройствами, как персональные устройства цифрового доступа или сотовые телефоны, электрические соединители для связи с наушниками или аналогичными устройствами, или с другими устройствами для обеспечения пользователя выходными данными.
В представленном банкомате 10 пользователи могут получать наличные и также осуществлять депонирование в банкомат. Представленный банкомат содержит механизм 30 выдачи наличных. Механизм выдачи наличных содержит механизм 32 и 34 захвата банкнот, который захватывает банкноты из одного или нескольких хранилищ банкнот в банкомате. Например, патент США №4664369, содержание которого включено в данный документ в качестве ссылки, раскрывает примеры механизмов захвата банкнот, которые можно использовать в некоторых вариантах осуществления настоящего изобретения. Разумеется, в других вариантах осуществления можно использовать и другие типы механизмов захвата банкнот.
Механизм 30 выдачи наличных также содержит транспортирующее устройство 36 для банкнот, которое перемещает банкноты в штабелирующий и выдающий механизм 38. Например, патент США №5342165, содержание которого включено в данный документ в качестве ссылки, раскрывает тип механизма штабелирования и выдачи банкнот, который можно использовать в некоторых вариантах осуществления настоящего изобретения. Механизм выдачи наличных доставляет банкноты пользователю через отверстие 40 выдачи наличных. Схематически показано, что соответствующая заслонка, или другой блокирующий механизм, 42 расположена вблизи отверстия для наличных и предотвращает доступ неуполномоченных лиц к механизму выдачи наличных. Представленная заслонка 42 перемещается электродвигателями, соленоидами или другими соответствующими управляющими движением механизмами, которые в данном документе также могут называться приводами, обеспечивает должную выдачу наличных пользователю банкомата из штабелирующего и выдающего механизма и блокирует доступ в другое время.
Представленный вариант осуществления банкомата 10 также содержит первую депонирующую систему, которая имеет механизмы, принимающие и хранящие депонируемые объекты. В представленном варианте осуществления депонируемыми объектами являются конверты. Но в других вариантах осуществления можно принимать и другие типы депонируемых объектов, такие как чеки, платежные поручения, билеты, купоны, пакеты для депонирования, содержащие депозит носители и другие типы депонируемых объектов. Банкомат 10 имеет отверстие для депонирования, которое также может в данном документе называться входным отверстием и которое выполнено в корпусе и по размеру пригодно для приема таких депонируемых объектов, как конверт. Соответствующий затворный механизм 46 установлен с возможностью его перемещения вблизи входного отверстия для депонирования. Заслонка 46 перемещается с помощью соленоидов, электродвигателей и прочих соответствующих перемещающих устройств, чтобы предотвратить доступ внутрь банкомата через входное отверстие для депонирования, кроме того времени, когда банкомат находится в соответствующем режиме приема депонируемых объектов.
В примерном варианте осуществления депонируемые объекты перемещаются по маршруту депонирования при помощи транспортирующего устройства 48. Транспортирующее устройство 48 перемещает конверты, депонируемые пользователем, из области вблизи входного отверстия для депонирования в область 50 хранения. В некоторых вариантах осуществления транспортирующее устройство может быть устройством, описываемым в патенте США №4884679, содержание которого включено в данный документ в качестве ссылки.
В первом представленном варианте осуществления область 50 хранения ограничена съемным содержащим депонируемые объекты контейнером 52. Представленный здесь контейнер имеет внутреннюю область хранения, в которой содержатся депонируемые объекты 54. Содержащий депонируемые объекты контейнер 52 может удаляться из банкомата уполномоченными лицами и транспортироваться в другое место для проверки депонируемых объектов. Он может быть выполнен, например, в виде самозапирающегося и указывающего несанкционированное вскрытие контейнера, подробно излагаемого ниже, и который запирается при его удалении из банкомата и открывается надлежащим образом уполномоченными лицами в другом месте. Альтернативно, содержащий депонируемые объекты контейнер может иметь такое исполнение, согласно которому лица, уполномоченные для доступа к хранилищной части 14, могут по отдельности забирать депонируемые объекты из него и проверять их содержание либо у банкомата, либо в другом месте. Альтернативно, в зависимости от типа и характера депозитов, можно использовать другие методы для проверки депонируемых объектов.
Представленный банкомат 10 также содержит по меньшей мере один компьютер 56, который в данном документе также может называться контроллером. Контроллер оперативно соединен по меньшей мере с одним хранящим данные или запоминающим устройством 58, содержащим программирующие команды, сведения о транзакциях, информацию о связи и другие данные, используемые при работе банкомата. Контроллер 56 оперативно соединен с устройствами банкомата, выполняющими транзакционные функции, и управляет их работой в соответствии с запрограммированными командами.
Контроллер 56 оперативно соединен по меньшей мере с одним устройством 60 связи. Устройство связи позволяет представленному банкомату осуществлять связь по меньшей мере с одним удаленным компьютером и с информационным банком для выполнения транзакций. Согласно схематическому представлению на фиг.1 банкомат 10 оперативно соединен с сетью 62. Сеть оперативно соединена с компьютерами в финансовых учреждениях 64 и 66, которые управляют системами, разрешающими и регистрирующими информацию о транзакциях, осуществляемых пользователями посредством банкоматов. Этот способ с использованием банковской сети приводится в качестве примера, и в других вариантах осуществления можно использовать и другие способы связи и/или уполномоченные учреждения.
Фиг.2 схематически показывает транспортирующее устройство 48 для депонируемых объектов, используемое в представленном банкомате 10. В этом варианте осуществления депонируемые объекты в виде конверта 68 перемещаются по маршруту транспортирования в направлении стрелки D от входного отверстия для депонирования в область хранения. При перемещении депонируемых объектов по маршруту транспортирования определяются свойства депонируемых объектов. В представленном варианте осуществления определяется толщина депонируемых объектов посредством датчика 70. В представленном варианте осуществления датчик 70 является контактным датчиком, который физически контактирует с депонируемым объектом 68, чтобы определить его толщину. Например, согласно фиг.2 контактный ролик 72 имеет ось, которая выполнена подвижной в ответ на толщину конверта, и смещается при контакте с депонируемым конвертом, когда тот проходит по маршруту транспортирования между контактным роликом и контрольной поверхностью ролика 74 с неподвижной осью. Смещение контактного ролика 72 из его контрольного положения характеризует толщину депонируемого объекта по его длине. Смещение контактного ролика формирует один или более сигналов от датчика 70, которые передаются в контроллер и используются в упоминаемых ниже целях.
Нужно упомянуть, что хотя представленный вариант осуществления контактного датчика используется для определения толщины в других вариантах осуществления для определения толщины или других свойств депонируемого объекта можно также использовать и бесконтактные датчики. Например, бесконтактные датчики, раскрытые в патентах США №№6101266, 6242733 и 6241244, содержание которых включено сюда в качестве ссылки, можно использовать в целях определения толщины или других свойств депонируемого объекта. Эти бесконтактные датчики можно использовать вместо контактных датчиков, или дополнительно к ним, для определения толщины депонируемого объекта.
Дополнительно или альтернативно можно использовать другие типы датчиков, например магнитные датчики, для детектирования и/или определения содержания конверта. Магнитные датчики можно использовать, например, для определения наличия магнитной краски на чеках, монетах, валюте или других документах, помещаемых в депонируемый конверт. Такие бесконтактные датчики 76 схематически представлены на фиг.2. Нужно отметить, что в некоторых вариантах осуществления толщину или другие свойства депонируемого объекта можно определять на одном участке детектирования на пути конверта или вдоль этого участка. В других вариантах осуществления детектирование можно осуществлять по всей ширине депонируемого объекта или на ее части. Толщина как таковая или другие свойства депонируемого объекта, определяемые и используемые в том или ином варианте осуществления, могут зависеть от типа депонируемого объекта и от потребностей оператора банкомата.
Согласно фиг.2 одно или более записывающих устройств 78 расположены вблизи маршрута депонирования. В представленном варианте осуществления записывающие устройства могут содержать принтеры, которые печатают маркировки на депонируемом объекте. Этими принтерами могут быть, например, точечно-матричные, штампующие, струйные принтеры и другие подходящие устройства для нанесения маркировок на депонируемый объект. В других вариантах осуществления можно использовать системы маркировки депонируемого объекта согласно патенту США №4435243, содержание которого включено сюда в качестве ссылки.
В представленном варианте осуществления записывающие устройства наносят на депонируемый объект маркировки, которые соответствуют свойствам объекта, определяемым датчиком. Это может быть, например, нанесением числовых маркировок на депонируемый объект, указывающих толщину конверта, на одном или нескольких местах объекта. В других вариантах осуществления записывающее устройство может записывать идентифицирующий указатель, такой как номер счета или номер транзакции на конверте. Эти идентифицирующие маркировки потом можно соотнести с толщиной или другими свойствами депонируемого объекта, с обращением к данным в запоминающем устройстве банкомата или в ином устройстве, оперативно связанном с компьютером. Альтернативно или дополнительно, маркировки, нанесенные на депонируемый объект, могут включать в себя указанную стоимость, соответствующую сумме, которую указал пользователь банкомата и которую имеет или представляет в депонируемый объект.
Фиг.3 показывает пример депонируемого объекта 80, прошедшего через хранилище поясняемого банкомата. Для этого депонируемого объекта нанесенные на нем маркировки включают в себя идентификационный номер 82 транзакции. Идентификационный номер транзакции может соответствовать, например, определенной транзакции, выполняемой банкоматом, и может соответствовать сведениям, хранимым в запоминающем устройстве, таким как личность данного пользователя, который осуществил эту операцию депонирования. В этом представленном варианте осуществления депонируемый объект 80 также включает в себя, помимо этих маркировок, указываемую стоимость 84 депонируемого объекта. Эта указываемая стоимость может включать в себя, например, определенное значение стоимости, которое пользователь указал в качестве депонированной стоимости посредством ввода с устройства ввода банкомата данных о депонируемом объекте. Включение указываемой стоимости с записанными маркировками может облегчить проверку депозита (депонируемого объекта) при его взятии из банкомата согласно приводимому ниже описанию.
Для депонируемого объекта 80 маркировка, соответствующая толщине, записывается на данном объекте. Маркировка 86 толщины включает в себя численное указание толщины конверта с депозитом в различных местах на конверте во время депонирования. Эти разные места в поясняемом варианте осуществления являются разнесенными в продольном направлении местами на одной продольной линии вблизи центра конверта во время его прохождения через транспортирующее устройство. В этом представленном варианте осуществления маркировку толщины печатают вблизи поперечного края конверта, чтобы не мешать другим напечатанным на нем маркировкам. Очевидно, что в других вариантах осуществления можно использовать и другие способы.
Согласно приводимому ниже описанию маркировку, толщину и другие маркировки, относящиеся к данному конверту, можно использовать во время последующего вскрытия конверта, чтобы проверить, что конверт содержал именно эти депонируемые объекты при депонировании, и/или чтобы проверить тип этих депонируемых объектов.
Фиг.6 показывает альтернативный вид записанной маркировки на депонируемом объекте 88. В этом представленном варианте осуществления записанная маркировка депонируемого объекта включает в себя машиночитаемую маркировку 90. В этом варианте осуществления машиночитаемая маркировка содержат штрих-код или аналогичную машиночитаемую схему кодирования.
Машиночитаемые маркировки соответствуют определенному численному или другому указателю, соотносящемуся с данными, относящимися к данному депозиту, например, такими как личность клиента или указываемая стоимость депозита. В представленном варианте осуществления маркировки также соответствуют данным об определенном депозите, например данным о толщине и/или о других свойствах. Эти данные, регистрируемые с контактными или бесконтактными датчиками в банкомате, сопоставляют с машиночитаемой маркировкой 90. Эти данные могут быть доступны из информационного склада в банкомате. Альтернативно, эти данные можно передать в другой информационный склад, чтобы удостовериться в том, что указываемая стоимость депозита соответствует фактической стоимости депозита, содержащегося в данном конверте.
Считывающее устройство 92 считывает машиночитаемую маркировку после изъятия депонируемого объекта 88 из области хранения в банкомате уполномоченным представителем эксплуатирующей банкомат компании. Считывающее устройство 92 оперативно связано с компьютером или другим устройством 94, которое содержит само или имеет доступные для себя данные в информационном складе 96. Информационный склад 96 предпочтительно содержит такие данные, как указываемая стоимость депозита, личность пользователя и свойства отдельного депонируемого объекта, определенные датчиками в банкомате во время депонирования. Имея эту информацию, лицо, проверяющее депозиты, может удостовериться в том, что содержание конверта является на момент проверки фактической стоимостью депозита, соответствующей указываемой стоимости депозита. В случае расхождения лицо, проверяющее депозит, может использовать толщину или другие данные, записанные для данного депонируемого объекта, чтобы определить, действительно ли депонируемый объект содержал объекты, имеющие предполагаемые показатели толщины и/или другие свойства во время депонирования. Это даст возможность лицу, отвечающему за проверку депозита, лучше определить, что объекты не содержались в депонируемом объекте во время депонирования, либо определить, что содержание депонируемого объекта было утеряно или неправомерно присвоено после депонирования. Эти сведения нужны при принятии решения о кредитовании счета клиента на указываемую стоимость депозита, как описано ниже.
Фиг.4 и 5 показывают примерные типы данных, относящихся к депонируемым объектам, которые можно представить маркировками, нанесенными на депонируемые объекты. Например, фиг.4 графически представляет толщину депонируемого объекта с течением времени или относительно расстояния, когда депонируемый объект перемещается по маршруту депонирования в банкомате. Линия 98 соответствует одному или более сигналам от датчика для характеристики толщины. Различные варианты осуществления, такие как, например, депонирующая система, используемая для объекта 80 на фиг.3, записывают толщину во множестве дискретно отделенных друг от друга положениях 100. В представленном варианте осуществления перемещение конверта можно регулировать работой электродвигателя с регулируемой скоростью, шаговым электродвигателем или другим устройством регулируемого движения, чтобы маркировки, указывающие толщину в каждом положении, соответствовали относительно близко определенному участку на депонируемом объекте, на котором определяется толщина. Предусмотрены подходящие схемы так, что когда маркировки соответствуют толщине, как показано на фиг.3, то являются довольно точным представлением толщины в различных положениях во время депонирования конверта. В вариантах осуществления, в которых депонируемые объекты перемещаются с заданной и по существу постоянной скоростью, толщину можно определять с момента обнаружения переднего края данного конверта. В других вариантах осуществления можно использовать датчики положения или другие датчики расстояния для непосредственного измерения перемещения конверта. График на фиг.4 может характеризовать выходные сигналы из систем обоих типов.
В некоторых вариантах осуществления может быть достаточным условием, чтобы маркировки характеризовали максимальную толщину депонируемого объекта, как это показано на фиг.4 максимумом 102 линии 98. Максимум указывает максимальную толщину конверта, и во многих вариантах осуществления этого может быть достаточно для указания типа его содержания. Так, например, в системах, в которых записывается максимальная толщина, можно записывать на конверте только маркировки, соответствующие одному числовому значению, и/или хранить их в запоминающем устройстве как соответствующие маркировкам, записанным на конверте.
В других вариантах осуществления может быть важным соотнесение депонируемого объекта с количеством, характеризующим объем объекта. Это может соответствовать области 104 под линией 98 на фиг.4. Видно, что область 104, составляющая часть общей толщины, измеренной датчиком толщины, может характеризовать общее содержание конверта.
Фиг.5 показывает еще одни данные, которые можно записывать для данного депонируемого объекта. Например, некоторые контактные и бесконтактные датчики могут определять детальный профиль депонируемого объекта, включая толщину, связанную со складками, сгибами и объектами, содержащимися в конверте. Бесконтактные датчики могут также определять другие свойства, такие как магнитные свойства, и присутствие краски или других указателей на содержимом или в нем.
Например, фиг.5 показывает депонируемый объект 106. Бесконтактные датчики упоминаемого выше типа могут использовать излучение для определения толщины и определять границы конверта и также дополнительные области толщины, связанные с такими признаками конверта, как сгибы и складки 108. Помимо этого, эти бесконтактные датчики могут определять дополнительные значения толщины на участках 110 и 112 в конверте. На участках 110 и 112 дополнительная толщина обусловлена присутствием листов документов в конверте. Радиационные датчики, которые определяют характеристики поглощения излучения, могут определять области на объектах в конверте, на которых выполнена печать. Дополнительно или альтернативно, магнитные датчики могут идентифицировать области магнитной активности, представленные областями 114. Эта магнитная активность может соответствовать областям, на которых напечатана магнитная краска на чеках или на других документах.
Нужно отметить, что некоторые варианты осуществления могут предоставить детальный профиль депонируемого объекта и его содержимого. Этот профиль можно соотнести с маркировкой, записанной на депонируемом объекте, чтобы лицо, проверяющее депозиты, смогло определить, соответствует ли содержимое депонируемого объекта во время его проверки содержимому на время его депонирования.
Согласно примерному варианту осуществления, для выполнения банковских операций с банкоматом 10 работает пользователь. При этом, например, пользователь предоставляет устройству 22 считывания карточек дебетовую карточку, имеющую магнитную полоску. Эта магнитная полоска может содержать сведения, идентифицирующие личность пользователя и/или его счет, например первичный номер счета (PAN) пользователя. Пользователь также может подтвердить свою личность, представив банкомату персональный идентификационный номер (PIN) с помощью клавиатуры 20. Если введенный PIN соответствует данным, записанным на карточке, то пользователю может быть дано разрешение на проведение транзакций в банкомате. Нужно отметить, что использование этих входных данных пользователем в банкомате для идентификации личности пользователя излагается в качестве примера и что в других вариантах осуществления можно использовать другие входные данные, применимые для идентификации личности пользователя или счета.
Пользователь также обеспечивает один или более вводов с помощью устройств ввода в банкомате, чтобы указать тип транзакции, которую он желает осуществить. Если пользователь обеспечивает один или более вводов, указывающих, что он желает выполнить транзакцию депонирования, то контроллер в банкомате будет действовать согласно своей программе и будет предоставлять пользователю указания на дисплее 26 или на других устройствах вывода, запрашивая пользователя об указании стоимости депозита объекта(ов), которую он хочет депонировать. После указания стоимости депозита контроллер банкомата открывает заслонку 46 для транспортирующего устройства 48, чтобы пользователь смог ввести депонируемый объект. Когда пользователь вводит депонируемый объект, он перемещается с транспортирующим устройством 48, и при этом выполняется определение свойств депонируемого объекта. При этом, согласно представленному варианту осуществления, выполняется определение толщины и/или других свойств депонируемого объекта согласно вышеизложенному. Контроллер 56 также приводит в действие записывающее устройство 78, например одно или более печатающих устройств, для нанесения маркировок на депонируемом объекте, которые соответствуют измеренным особым свойствам или характеристикам. После записи маркировок на депонируемом объекте данный объект поступает в область 50 хранения, где он содержится в банкомате для последующей проверки.
Периодически владелец банкомата или другое уполномоченное лицо обращается к внутренней части банкомата для изымания из банкомата депонируемых объектов и их проверки. Это делается, согласно примерному варианту осуществления, в соответствии со следующими этапами: открывают замок 18, перемещают дверцу хранилищной части и получают доступ в хранилищную часть 14, чтобы взять содержащий депозиты контейнер 52. В некоторых вариантах осуществления депонируемые объекты можно брать из содержащего депозиты контейнера в банкомате и открывать их для проверки вблизи банкомата. Альтернативно, содержащий депозиты контейнер можно запереть и отправить в удаленное место для проверки депозитов.
В примерном варианте осуществления содержащий депозиты контейнер транспортируют в удаленное место, а пустой контейнер помещают в банкомат, чтобы принимать последующие депозиты. Затем данный банкомат возвращается в свой обычный режим работы. Депонируемые объекты забирают из содержащего депозиты контейнера для удаленного обслуживания и проверки его содержимого. Содержимое может включать в себя наличные, чеки или другие депонируемые объекты, которые суммируют для каждого депонируемого объекта, чтобы определить фактическую стоимость депозита. Фактическую стоимость депозита затем сравнивают с указанной стоимостью депозита, чтобы определить, есть ли между ними расхождение. Если фактическая стоимость и указываемая стоимость разные, то возможно, что пользователь банкомата ошибся в указании стоимости. Альтернативно, возможно, что пользователь совершил обман, неправильно указав стоимость депозита. Альтернативно, возможно, что депонируемые объекты неправомерно присвоены лицами, имеющими доступ к депонируемым объектам либо в банкомате, либо во время транспортирования, либо на месте проверки депонируемой стоимости.
Фактическую стоимость депозита можно сравнить с указываемой стоимостью депозита, проверив численные маркировки, соответствующие толщине, записанной на депонируемом объекте, например на объекте, показываемом на фиг.3. Альтернативно, данные номера транзакции или машиночитаемые маркировки можно электронными средствами сличить с указываемой стоимостью депозита. Разумеется, в случаях, когда фактическая стоимость депозита соответствует указываемой стоимости депозита, то пользователь внес указываемую сумму, и тогда счет пользователя или другой надлежащей организации кредитуют на указываемую стоимость депозита.
Но в некоторых обстоятельствах указываемая сумма депозита не соответствует фактической стоимости депозита данного объекта. На месте проверки депозитов проверяющие его лица могут проверить депонируемые объекты на наличие повреждений. Повреждениями могут быть, например, надорванные конверты с депозитом или незапечатанные конверты, или, по-видимому, разрезанные или иным образом открытые конверты. Пример поврежденного конверта с депозитом обозначен позицией 116 на фиг.7. Поврежденные или иным образом открытые конверты могут не иметь содержимого, либо все же могут содержать объекты. Если объекты в них все же содержатся, то возникает вопрос, все ли объекты еще находятся в поврежденном депонируемом объекте.
Когда лица, проверяющие депозиты, обнаруживают поврежденные или иным образом открытые депонируемые объекты, такие как конверты, то может возникнуть вопрос, были ли повреждены объекты и/или были ли они пустыми во время депонирования, либо содержимое было утеряно или похищено после депонирования объекта в банкомат. На эти вопросы часто можно будет ответить на основании маркировок, нанесенных на депонируемом объекте и соответствующих толщине и/или другим свойствам.
Например, если депонируемый объект был пустым во время депонирования, то записанную информацию о толщине данного объекта можно использовать для проверки толщины пустого конверта во время проверки этой толщины на соответствие толщине, записанной во время депонирования. Это показано на примере поврежденного конверта 116 согласно фиг.7: сведения о толщине депонируемого объекта во многих местах постоянные и соответствуют толщине пустого поврежденного конверта. Это говорит, например, о том, что пользователь, возможно, пытался совершить обман, намеренно внеся пустой поврежденный конверт, чтобы потом утверждать, что в конверте были материалы, соответствующие указываемой стоимости депозита. В случаях, когда записанная толщина или другие свойства показывают, что указываемая стоимость депозита была указана неправильно, то владелец банкомата не будет кредитовать счет пользователя на указываемую стоимость депозита.
В других обстоятельствах открытый или поврежденный депонируемый объект может иметь соответствующую толщину или соответствовать другим данным, показывающим, что депонируемый объект во время депонирования содержал объекты, которых не оказалось при проверке. В этих случаях будет понятно, что эти объекты исчезли после депонирования. Тогда владелец банкомата может кредитовать счет пользователя на указываемую стоимость депозита, так как будет документально подтверждено, что по меньшей мере некоторые из депонируемых объектов, по-видимому, утеряны из-за ошибки или неправомерного присвоения.
Разумеется, в некоторых вариантах осуществления, когда данные о депонируемых объектах содержат информацию о магнитных датчиках и о подробных профилях, то из хранимых в запоминающем устройстве данных можно получить относительно точные данные о типе и числе депонируемых объектов. Эти данные в некоторых вариантах осуществления можно получить непосредственно из информационного склада банкомата. Альтернативно, данные из банкомата можно передать по сети в другие компьютеры, к которым можно будет получить доступ на месте проверки депозитов. В рамках данного изобретения можно использовать многие методы в зависимости от возможностей и потребностей данной системы.
Для функции проверки, она может быть нередко успешно реализована ручным открытием конвертов и осмотром депонируемых объектов. Альтернативно, функция проверки может реализовываться устройствами, аналогичными устройствам банкомата для измерения толщины конверта и определения других свойств депонируемых объектов. Например, депонируемые объекты можно пропустить через эти устройства до их вскрытия, чтобы определить, произошло ли какое-либо изменение свойств объекта между моментом, когда он был депонирован, и временем, когда он был доставлен на место проверки. Это можно делать в качестве части процесса для осмотра депонируемого объекта на предмет обнаружения повреждений. Если на депонируемых объектах используются машиночитаемые маркировки, то устройство считывания и определяющее толщину (или определяющее другое свойство) устройство на месте проверки можно использовать для сравнения и идентификации депонируемых объектов, если свойства объекта изменились со времени его депонирования. Кроме того, если депонируемый объект поврежден во время транспортирования или открыт, то свойства данного депонируемого объекта на момент его приема банкоматом можно будет использовать, чтобы определить, какие именно открытые или рассыпанные объекты в содержащем депозиты контейнере соответствуют тому или иному депонируемому объекту. В рамках данного изобретения и в соответствии с его сущностью можно использовать различные методы.
В альтернативных вариантах осуществления банкомат может обнаруживать возможные ситуации, когда пользователь пытается депонировать поврежденный или пустой конверт или иной объект. В таких случаях банкомат может отказаться принять такой объект на депонирование. Эти системы могут предотвращать попытки обмана, если пользователь забыл вложить в конверт предполагаемые объекты депозита.
В некоторых банкоматах для удобства пользователя предоставляются конверты. Патент США №5590609, содержание которого включено сюда в качестве ссылки, раскрывает банкомат, который предоставляет пользователю конверты, в которые можно вложить объекты депозита. В некоторых вариантах осуществления предоставляемые конверты могут иметь заданный размер и/или толщину. Датчики на пути приема конвертов для депонирования могут определять размер и/или толщину; а компьютер, действующий в банкомате, можно запрограммировать на отбраковку и возвращение пользователю конвертов для депонирования, не соответствующих приемлемым параметрам размера или толщины. Это можно выполнить, например, в банкомате контроллером, который реверсирует направление транспортирования.
Например, представленный банкомат может определять, что данная толщина конверта превышает известную пустую толщину предоставляемых банкоматом конвертов для депонирования. Банкомат можно запрограммировать на выдачу для пользователей команд, согласно которым они должны поместить свой депозит в выданный банкоматом конверт, даже если пользователь планировал использовать собственный содержащий депозит конверт. Банкомат может дать пользователю команду поместить свой нестандартный конверт внутрь выданного банкоматом конверта. В этом варианте осуществления, если датчики, определяющие толщину депонируемого конверта, не обнаруживают толщину, которая превышает толщину стандартного выданного банкоматом конверта, то банкомат может вернуть конверт пользователю и может дать пользователю запрос поместить объекты депозита в конверт и/или использовать один из конвертов, выдаваемых банкоматом. Таким образом, будет снижен риск получения банкоматом пустого конверта.
Согласно другому варианту осуществления банкомат может иметь датчики, определяющие размер, площадь и/или границы краев депонируемого конверта. Поэтому, если депонируемый конверт не соответствует ожидаемой конфигурации стандартного выдаваемого банкоматом конверта, то данный депонируемый конверт может быть отбракован механизмом приема депозита.
Согласно другим вариантам осуществления настоящего изобретения объекты депозита могут иметь общие свойства. Например, объекты депозита могут представлять собой монеты, банкноты валют и чеки, которые имеют магнитные свойства. Магнитные свойства выдаваемых банкоматом конвертов могут отсутствовать или иметь значения в известных пределах. Банкомат может определять повышенные магнитные свойства депонируемых конвертов и тем самым указывать, что в них вложены наличные либо чеки. Конверты без таких повышенных магнитных свойств могут отбраковываться. Разумеется, в некоторых случаях банкомат может определять другие или дополнительные свойства и использовать их как основу для принятия решений о приеме или отбраковке данного депозита.
Нужно упомянуть, что в некоторых вариантах осуществления банкомат может определять комбинацию свойств и может быть выполнен с возможностью не принимать конверт, если одно или более свойств не соответствуют заданным пределам. В некоторых вариантах осуществления конверты с отбраковываемыми депозитами могут возвращаться пользователю. В некоторых вариантах осуществления подозрительные депозиты могут задерживаться в банкомате для анализа и/или в качестве доказательства.
В прочих альтернативных вариантах осуществления банкомат может выдавать пустой конверт пользователю для использования, который не имеет заданной толщины, размера, магнитных или других свойств. В таких вариантах осуществления нужные свойства можно измерять датчиками в банкомате, когда пустой конверт выдается пользователю из банкомата. Нужные свойства конверта можно также измерять, когда пользователь вводит в банкомат конверт с объектами депозита. Если ожидаемое изменение (или отсутствие такового) толщины, размера, магнитных свойств или других определяемых свойств не обнаруживается, когда пользователь вновь вводит конверт в банкомат, то данный депозит может быть отбракован.
Альтернативно или дополнительно, маркировки, соответствующие нужным свойствам, можно напечатать на конверте банкоматом до выдачи пустого конверта или во время его выдачи. Дополнительно или альтернативно, эти сведения можно хранить в базе данных. Эти сведения затем можно сравнить со сведениями для депонируемого конверта. Это можно сделать во время депонирования и использовать как основание для отбраковки депозита банкоматом, либо это можно сделать после проверки содержимого конвертов для депонирования. Разумеется, в зависимости от системы и требований владельца можно применить и другие методы.
Фиг.8 схематически показывает альтернативный депонирующий механизм для приема депозитов, таких как конверты, в банкомате. Этот депонирующий механизм 120 содержит наружный конец 122, имеющий отверстие для депонирования, через которое принимаются депонируемые объекты. Доступ через отверстие в наружном конце 22 регулируется затворным механизмом, описываемым ниже. Объекты, проходящие в депонирующий механизм 120 через отверстие для депонирования в наружном конце 122, перемещаются транспортирующим устройством 124. Принятые транспортирующим устройством объекты перемещаются мимо записывающего устройства 126, которым в представленном варианте осуществления является струйный принтер. Депонируемые объекты перемещаются транспортирующим устройством 124 в содержащий депозиты контейнер 128. Согласно приводимому ниже подробному описанию в некоторых представленных вариантах осуществления содержащий депозиты контейнер может быть выполнен в виде съемного контейнера, который с возможностью его съема установлен в хранилищной части или в другой защищенной области АТМ. В представленных вариантах осуществления разделительная стенка 130 может служить в качестве части верхней стенки, ограничивающей хранилищную часть или отделяющей ее от шкафа с выдвижным ящиком. Это целесообразно в тех вариантах осуществления, в которых контейнер для пустых конвертов или его части, служащие запасом конвертов, доступен для лиц, не имеющих доступа к защищенному хранилищу. Разумеется, этот метод приводится в качестве примера, и в других вариантах осуществления могут использоваться другие методы.
Представленный вариант депонирующего механизма 120 также содержит область 132 хранения конвертов, которая также называется контейнером для пустых конвертов. Область 132 хранения конвертов имеет оперативно связанные с ним устройства для избирательного захвата и отделения отдельного конверта из стопы конвертов, находящихся в области хранения конвертов. Этот захваченный конверт затем транспортируют транспортирующим устройством 124 и доставляют пользователю банкомата через отверстие для депонирования на наружном конце 122. Нужно отметить, что в некоторых вариантах осуществления выдаваемые пользователю конверты и/или принимаемые конверты могут маркироваться упоминаемым выше способом. Альтернативно, в других вариантах осуществления маркировка не делается или делаются альтернативные формы маркировки.
Механизм хранения и доставки конвертов, используемый в представленных вариантах осуществления, описывается со ссылкой на фиг.9-18. Представленный вариант осуществления предусматривает наличие устройства 134 для хранения и выдачи конвертов, которое также называется механизмом выдачи конвертов и показан на фиг.9-11. Устройство хранения и выдачи конвертов имеет область 132 хранения конвертов, ограниченную подвижным полом 136, который служит в качестве опорного пола, и перекрывающей сверху толкающей пластиной 138. Толкающая пластина 138 выполнена с возможностью вертикального перемещения в паре отстоящих друг от друга прорезей 140 в опорном соединении с корпусом механизма приема депозитов. Толкающая пластина 138 также выполнена с возможностью поворота на шарнирах 142. За счет этого обеспечивается поворот толкающей пластины из отклоняющего положения, смещающего стопу конвертов вниз, в отклоняющее положение, в котором толкающая пластина проходит наружу от области хранения, в результате чего конверты и другие депонируемые объекты можно удобным образом вводить или удалять из области 132 хранения. Толкающая пластина 138, вернувшись в отклоняющее положение в область хранения, прилагает направленное вниз усилие к конвертам в отсеке хранения конвертов.
Пол 136 опирается на основание 144. Пол 136 также выполнен с возможностью поворота на шарнире 146, который служит подвижной опорой и который позиционируется вблизи задней области пола 136. Пол также имеет расположенные вблизи него вертикально проходящие направляющие пластины 148, которые ограничивают контейнер для пустых конвертов и удерживают стопу конвертов для депонирования в опорном соединении с полом.
На представленном полу 136 расположена пара выступающих вверх направляющих 150, которые предназначены для уменьшения усилий поверхностного сопротивления, которые оказывают сопротивление перемещению конверта по поверхности пола. Три прорези 152 проходят в полу на конце, отстоящем от шарнира 146. Каждая прорезь 152 выровнена с соответствующей захватной лентой, которая действует как подвижный захватный элемент. Центральная прорезь выровнена с лентой 154, которая проходит центрально по отношению к полу. Каждая из прорезей 152 на обеих сторонах ленты 154 выровнена с захватной лентой 156. Ленты 154 и 156 избирательно приводятся приводом, реагируя на сигнал контроллера. Захватные ленты проходят между роликами 158, 160, установленными на валах 162, 164 в оперативном соединении с полом 136. Вблизи конца пола 136, отстоящем от шарнира 146, расположена пара поперечно расположенных кулачков 166. (См. фиг.11). Согласно приводимому ниже более подробному описанию кулачки 166 действуют как часть механизма, который поворачивает пол вокруг шарнира 146 и перемещается вверх и вниз относительно верхней поверхности захватных лент 154, 156.
Проходящая вертикально стенка 168 ограничивает переднюю сторону области 132 хранения конвертов. Стенка 168 имеет снимающий элемент 170 в опорном соединении с ней. Элемент 170 подвижно установлен в опорном соединении со стенкой 168 и выполнен с возможностью перемещения, реагируя на оперативно соединенный привод. В представленном варианте осуществления снимающий элемент действует как съемник, обеспечивающий перемещение из стопы только одного конверта, под пружинной нагрузкой с помощью пружины 171, которая действует как смещающее вниз устройство в излагаемых ниже целях. Согласно фиг.11, 13 и 15 узел съемника содержит пару расположенных под углом фрикционных накладок 172. В представленном варианте осуществления фрикционные накладки 172 выполнены из упругого материала и расположены под углом, чтобы предоставить упругую полосовую поверхность, проходящую слегка вниз, с увеличением расстояния от стопы. Также нужно отметить, что в представленном варианте осуществления конец пола 136, отдаленный от шарнира 146, проходит вперед, в результате чего прорези в нем проходят ниже фрикционных накладок 172 упругих полосовых поверхностей. В представленном варианте осуществления накладки 172 избирательно перемещаются под действием пружинной нагрузки с помощью узла 170 съемника.
В представленном варианте осуществления на валу 162 установлена пара прижимных роликов. Прижимные ролики 174 примыкают к транспортирующим ведущим роликам 176 (фиг.13), которые вращаются на валу 178, действующем от привода (не показан). Транспортирующие приводные ролики 176 приводятся в направлении стрелки Т, показываемой на фиг.13 и 15, во время выдачи конвертов. На каждом транспортирующем приводном ролике 176 расположена транспортирующая лента 180. Перемещение транспортирующих приводных роликов 176 и транспортирующей ленты 180 обеспечивает зацепление и вращение прижимных роликов 174. Разумеется, этот способ является примером, и в других вариантах осуществления можно использовать другие способы.
Согласно фиг.15 и 16 транспортирующие приводные ленты 180 оперативно соединены с натяжным роликом 182. Натяжной ролик 182 установлен на натяжном рычаге 184, который оперативно соединен с пружиной или другим отклоняющим устройством, чтобы отклонять натяжной ролик против часовой стрелки на шарнире 186, фиг.15. Зацепление натяжного ролика транспортирующей лентой 180 растягивает транспортирующую ленту над зазором 188. Зазор 188 образован между направляющими 190, 192. Согласно приводимому ниже описанию конверты, депонируемые в банкомат, перемещаются транспортирующими лентами в зазор 188. Пройдя через зазор, конверты проходят через отверстие 189 для депонирования конвертов и через разделительную стенку в область хранения внутри содержащего депозиты контейнера 128.
Согласно фиг.17 и 18 основание 144 содержит поддон 194 и направляющую перегородку 196, которая также называется пластиной. Направляющая перегородка 196 подвижно установлена в опорном соединении с поддоном и выполнена с возможностью скользящего перемещения по нему в направлении стрелки U (фиг.17). В представленном варианте осуществления направляющая перегородка 196 перемещается приводным винтом 198, который избирательно приводится, реагируя на команду контроллера, в обоих направлениях вращения приводом 199 и шкивом 200.
Направляющая перегородка 196 имеет сквозной проем 202. Поддон 194 имеет соответствующий проем 204. Проем 204 поддона соответствует положению отверстия 189 для депонирования конвертов в разделительной стенке, ограничивающей хранилищную часть, когда механизм 120 находится в рабочем положении. Проем 204 поддона расположен по существу под зазором 188. В соответствии с избирательным действием привода 199 проем 202 можно избирательно перемещать для выравнивания проема в направляющей перегородке с проемом в поддоне. При этом конверты, которые проходят в зазор 188, могут перемещаться в содержащий депозиты контейнер 128. Аналогично, когда направляющая перегородка перемещается приводом, чтобы проем в направляющей перегородке отстоял от проема поддона, доступ в содержащий депозиты контейнер блокируется. Таким образом, та часть направляющей перегородки или пластины 196, которая перемещается для блокирования доступа через зазор к отверстию для депонирования конвертов, действует в качестве заслонки.
Направляющая перегородка 196 также содержит пару прорезей 206 для кулачков. Согласно фиг.18 прорези 206 совмещены с кулачками 166, расположенными под полом 136, и имеют соответствующую им форму и размер. Поэтому перемещение направляющей перегородки относительно поддона также позволяет полу избирательно перемещаться вверх и вниз в области, примыкающей к захватным лентам у конца, отстоящего от шарнира 146. Это взаимное соединение обусловливает перемещение опорного пола с поддерживаемой стопой конвертов с частью направляющей перегородки, которая служит заслонкой.
Направляющая перегородка 196 также оперативно соединена с исполнительным роликом 208. Ролик 208 в представленном варианте осуществления оперативно соединен с кулачковым элементом, который контактирует с кулачковой частью на рычаге 210. Рычаг 210 подвижно установлен на поддоне с помощью шарнирного узла 212. (См. фиг.18). Согласно приводимому ниже подробному описанию перемещение рычага 210 за счет контакта ролика 208 и кулачка обеспечивает должное рабочее состояние струйной печатающей головки, применяемой в представленном варианте осуществления.
Согласно фиг.15 и 16 транспортирующие ленты 180 в области натяжного ролика 182 расположены вблизи транспортирующего устройства, которое содержит плиту 214. Транспортирующие ленты 180 также зацепляют пару зубчатых роликов 216, которые проходят через отверстия в транспортирующей плите 214. Зубчатые ролики поворачиваются согласованно с транспортными лентами для осуществления перемещения конвертов по ним.
Согласно фиг.19-21 транспортирующая плита 214 в представленном варианте осуществления имеет поверхность с криволинейным участком и проходит в секцию 218 доставки, которая проходит вблизи наружного конца 122 транспортирующего устройства. Плита 214 имеет поддерживающую объекты поверхность с искривленным участком 215, в котором выполнено множество выровненных отверстий, сквозь которые свободно проходят поворотные поддерживающие ленту ролики 220. Поддерживающие ленту ролики 220 расположены таким образом, что транспортирующие ленты 180 перемещаются над ними.
В представленном варианте осуществления эластичные транспортирующие ленты 180 проходят вокруг выходных роликов 222, которые вращаются на подвижном выходном валу 224, как поясняется ниже. Прикладывающие давление ролики 226 смещаются пластинчатыми пружинами 227 и обеспечивают направленное вниз давление на транспортирующие ленты в секции 218 доставки. Смещающее действие роликов 182 и 226 служит для смещения примыкающих пролетов лент 180 в зацепление с искривленным участком 215. Направляющие ролики 228 направляют возвращающиеся пролеты транспортирующих лент 180 между транспортирующими приводными роликами 176 и выходными роликами 222.
В представленном варианте осуществления депонирующего механизма 120, когда банкомат работает для выполнения транзакции депонирования, контроллер дает команду на выдачу конверта из области 132 и на доставку его пользователю банкомата через отверстие наружного конца 122 транспортирующего устройства 124. Устройство выдачи конвертов в АТМ выдает пустой конверт. При этом согласно варианту осуществления контроллер включает привод 199, чтобы прорези 206 для кулачка в направляющей перегородке 196 переместились и чтобы кулачки 166, расположенные под полом 136, переместились вниз в зацепление с прорезями 206 для кулачков. В результате этого захватные ленты, которые выполняют функцию захватного средства, проходят над поверхностью пола и направляющими и зацепляют концевой конверт, ограничивающий нижний конец стопы 207 конвертов. Приводной вал 178 электродвигателя вращается в направлении стрелки Т, и при этом захватные ленты 154, 156 перемещают конверт нижнего конца стопы 207 в первом направлении к стенке 168. При этом узел 170 съемника располагается внизу, в результате чего расположенные под углом фрикционные накладки 172 отходят вниз, и поэтому на стороне, обращенной к стопе, они находятся на приблизительном расстоянии толщины одного конверта над плоскостью опустившегося пола 136 (фиг.13).
Захватные ленты 154, 156 перемещают конверт вправо, согласно фиг.13, в зацепление с наклоненной вниз упругой полосовой поверхностью на фрикционных накладках. Это зацепление оказывает сопротивление перемещению конверта за счет зацепления стороны конверта, противоположной захватным лентам, и, как правило, отделяет от стопы самый нижний концевой конверт.
Усилие захватных лент и, в частности, участков возвышенной выпуклой контактной поверхности 234 на захватных лентах 156, служащей зубчатой частью, зацепляет нижнюю поверхность концевого конверта и вводит его передний край в место захвата, сформированное приводными лентами 180, опирающимися на ролики 176, и нажимными роликами 174, вращающимися на валу 162. Зацепление переднего края самого нижнего конверта в месте захвата, образуемого роликами, обусловливает перемещение конверта пролетами лент через зазор 188 и в зацепление с зубчатыми роликами 216.
На фиг.14 наиболее наглядно показано, что представленная конфигурация снимающего элемента 170 и установленных под углом снимающих накладок 172 придает самому нижнему конверту 230 ребристую конфигурацию. Деформированная конфигурация конверта также способствует отделению самого нижнего конверта в стопе от остальных конвертов.
Еще один признак представленного варианта осуществления механизма выдачи пустых конвертов заключается в том, что обеспечивается возможность использования в нем пустых конвертов, имеющих средства их запечатывания пользователем банкомата. Например, пустые конверты с отслаиваемыми полосами можно поместить в содержащий пустые конверты контейнер таким образом, чтобы упомянутые полосы были обращены вниз к полу. Поскольку эти отслаиваемые закрывающие клей полосы обычно находятся на поперечных краях конверта, то конверты можно перемещать за счет зацепления захватными лентами, при этом не зацепляя отслаиваемые полосы. Это обстоятельство позволяет брать конверт без повреждения отслаиваемых полос и без появления значительных различий в характеристиках трения, которые могут привести к перекосу конвертов и к их застреванию. Эти конверты с отслаиваемыми полосами могут быть желательными, поскольку при этом пользователям не придется облизывать или иным образом смачивать конверт для депонирования для запечатывания их после вложения в них материалов. Альтернативно, для пустых конвертов для депонирования можно использовать другие методы запечатывания. Например, можно использовать раскладные клапаны или иные средства, чтобы открыть клеящий материал, используемый для запечатывания конверта после того, как пользователь поместит в них материалы. Представленный вариант механизма выдачи с пролетами ленты и зубчатой частью, служащими в качестве захватного средства и расположенными под углом находящимися сверху упругими поверхностями, служащими съемником, хорошо приспособлен для отделения конвертов по одному. Разумеется, описываемая выше конструкция приводится в качестве примера, и в других вариантах осуществления можно применить другие методы.
Согласно фиг.15 и 16 захваченный конверт 230 перемещается транспортирующими лентами 180 над зазором 188, и при этом передний край конверта зацепляется зубчатыми роликами 216. Зубчатые ролики направляют передний край конверта в зацепление между поверхностью транспортирующей плиты 214 и противоположной поверхностью плиты, обращенной к пролетам транспортирующих лент 180, которые к ней примыкают. Датчик 232 конверта содержит подвижные элементы, которые проходят через множество прорезей в плите и определяют передний край конверта в связи с транспортирующими лентами вблизи плиты. Реагируя на это определение конверта, контроллер в представленном варианте осуществления обусловливает поступательное перемещение направляющей перегородки 196 относительно поддона и выдвижение кулачков 166 из прорезей 206. При этом пол 136 поднимается в области фрикционных накладок 172. В представленном варианте осуществления, поскольку съемник 170 установлен со смещением относительно стенки 168, направленное вниз зажимное усилие прикладывается к захваченному конверту, когда он продолжает выдвигаться из стопы под действием прилагаемого к нему движущего усилия транспортирующими лентами и нажимными роликами 174. В представленном варианте осуществления зажимающее усилие, воздействующее на перемещающийся конверт, также содействует отделению концевого конверта снизу стопы от других конвертов, когда они выталкиваются вместе с данным захваченным конвертом. При этом поднятие пола 136 обусловливает повторное расположение направляющих на поверхности пола над перемещающимися захватными лентами. За счет этого захватные ленты отцепляются от прочих конвертов в стопе, и тем самым снижается риск захвата дополнительных конвертов.
После перемещения захваченного конверта 230 из стопы и после того, как он выйдет из точки зажима, образованной транспортирующими лентами и нажимными роликами 174, конверт войдет в зацепление с транспортирующими лентами между поверхностью транспортирующей плиты 214 и поддерживающими ленту роликами к выходным роликам 222. При этом заслонка вблизи отверстия в наружном конце 122 открывается поясняемым ниже образом, и конверт продвигается далее до определения датчиками его прохождения через отверстие и выхода к пользователю; и в этот момент контроллер прекращает перемещение транспортирующих лент.
Представленный вариант осуществления механизма выдачи состоит в том, что конверт надежным образом снимается посредством съемного действия расположенных под углом фрикционных накладок и также волнообразного ребристого контура, который придается конверту захватными и снимающими элементами. При этом надежное удаление самого нижнего концевого конверта от прочих конвертов в стопе обычно гарантируется зажимающим действием, которое происходит в результате поднятия пола 136 после удаления конверта из стопы на достаточное расстояние.
Еще один целесообразный аспект настоящего изобретения заключается в том, что снимающий элемент смещается пружиной, но выполнен с возможностью перемещения, реагируя на излишнюю толщину. Таким образом, если по какой-либо причине существенное число конвертов нельзя будет отделить друг от друга, то всю стопу можно будет переместить наружу мимо снимающего элемента и по транспортирующему устройству к пользователю. Это обстоятельство исключает несрабатывание банкомата и выведение его из действия, когда такие обстоятельства возникают. В представленном варианте осуществления снимающий элемент обеспечивает прохождение, без застревания, конверта толщиной около 3,5 мм. Это значение представляет значительное число конвертов и может снизить риск возникновения неисправности банкомата.
Еще один целесообразный аспект поясняемого выше варианта осуществления заключается в том, что механизм выполнен с возможностью работы с конвертами, имеющими отслаиваемые полосы вощеной бумаги на сторонах или краях конверта. Эти отслаиваемые полосы можно загрузить в область хранения конвертов таким образом, чтобы полосы были обращены вниз. Поскольку представленный вариант осуществления не предусматривает какие-либо упругие зацепляющие поверхности, которые прилагали бы противонаправленные усилия и которые могут содействовать снятию этих отслаиваемых полос с конверта при отделении концевого конверта от стопы, каждый конверт можно перемещать к пользователю с ненарушенной отслаиваемой полосой на нижней стороне конверта.
Еще один целесообразный аспект представленного варианта осуществления заключается в том, что захватные ленты содержат возвышающиеся сегменты 234, которые служат в качестве зубчатой части, создающей повышенное усилие. На фиг.10 и 11 наглядно показано, что возвышающиеся сегменты на захватных лентах 156 состоят из увеличенных выпуклых частей контактной поверхности, которые выше остальной контактной поверхности. В представленном варианте осуществления возвышающиеся сегменты 234 расположены на захватных лентах с ориентацией, различающейся на 180 градусов. Эти зубчатые части обеспечивают дополнительное трение и толкающее усилие, чтобы перемещать самый нижний конверт из стопы.
Еще один целесообразный аспект представленного варианта осуществления в отношении захвата конвертов заключается в том, что применяют шаговый электродвигатель для привода роликов и лент. В представленном варианте осуществления шаговый электродвигатель оперативно связан с управляющей схемой, которая, реагируя на команды контроллера, обеспечивает работу электродвигателя в колебательном режиме. В некоторых вариантах осуществления электродвигатель может работать в вибрационном режиме с некоторой частотой вибрации, но всегда с нужным итоговым перемещением конверта вперед. В результате этого создаются вибрации с нужным перемещением вперед и назад, что также содействует отделению конверта от стопы конвертов. Например, в варианте осуществления контроллер можно запрограммировать на определение того, что определяемый передний край конверта достиг датчика 232 в определенное время после захвата конверта. Если контроллер не обнаружит конверт в течение нужного времени, то он даст команду электродвигателю начать работу в режиме вибрации. Эта работа в режиме вибрации и создаваемые при этом трясущие и колебательные движения деталей, взаимодействующих с конвертом, заканчиваются захватом самого нижнего конверта. Нужно отметить, что прочие повторяющиеся действия такие, как привод лент и роликов назад и вперед, и также перемещение направляющей перегородки назад и вперед для поднятия и опускания пола, содержащего конверты контейнера, также могут осуществляться для содействия отделению концевого конверта.
В представленном варианте осуществления шаговый электродвигатель и другой привод также используются для обеспечения звуковой индикации при реагировании на сигнал контроллера. Например, при этом контроллер приводит в действие шаговый электродвигатель в режиме вибрации, чтобы электродвигатель и соединенные с ним компоненты можно было слышать. За счет этого можно устранить необходимость обеспечения некоторых банкоматов отдельным устройством звукового выходного сигнала. Например, контроллер можно запрограммировать, чтобы указывать пользователю банкомата, что пустой конверт захвачен и перемещен через транспортирующее устройство и через отверстие для депонирования и готов для взятия его пользователем. Определив пустой конверт в этом положении, контроллер может включить шаговый электродвигатель в режим вибрации и дать звуковой сигнал или давать периодический звуковой сигнал, чтобы указать пользователю, что ему нужно выполнить соответствующие действия. Звуковые сигналы можно также предусмотреть в других обстоятельствах для индикации неисправности. В некоторых вариантах осуществления другие звуковые сигналы можно создавать при помощи вибрации. Разумеется, эти способы приводятся в качестве примера.
Еще один целесообразный аспект представленного варианта осуществления заключается в том, что пол 136 обычно удерживает самый нижний конверт от контакта с захватными лентами, когда захват конверта не осуществляют. Это помогает сохранять нужный контур для самого нижнего конверта, чтобы облегчить его захват, когда пол опускается. Нужно упомянуть, что признаки, описываемые в связи с захватом конверта, также применимы для захвата таких других типов средств, таких как листы.
Еще один целесообразный аспект представленного варианта осуществления заключается в том, что часть направляющей перегородки, служащей в качестве заслонки, выполнена с возможностью обеспечения защитной блокировки доступа к содержащему депозиты контейнеру через зазор 188 в соответствующее время, когда конверт доставляется пользователю. Это обстоятельство также обеспечивает дополнительную защиту, чтобы свести к минимуму риск того, что депонируемые объекты преступники смогут вытащить из контейнера. При помощи принципов представленного варианта осуществления можно также получить и другие дополнительные преимущества.
В представленном варианте осуществления секция 218 доставки, прилегающая к внешнему участку 122, выполнена с возможностью доставки пустых конвертов пользователю из банкомата и с возможностью приема конвертов для депонирования в банкомат. Эти принимаемые конверты могут иметь равномерный или неравномерный контур. Согласно фиг.22 выходные ролики 222 установлены на выходном валу 224. В представленном варианте осуществления эластичные транспортирующие ленты 180 проходят вокруг выходных роликов 222. Поддерживающие ленты ролики 220 проходят через отверстия в поверхности основания плиты в секции доставки и примыкают к выходным роликам 222, когда конверт не находится между ними.
В представленном варианте осуществления секция 218 доставки содержит боковые стенки 236, которые в поперечном направлении ограничивают транспортирующее устройство. Боковые стенки 236 содержат проходящие по существу вверх расположенные под углом прорези 238. Расположенные под углом прорези 238 выполнены для приема с возможностью перемещения противоположных концов выходного вала 234. Круглые направляющие 240 на выходном валу 224 обеспечивают возможность перемещения внешнего вала 224 относительно прорези. Также в представленном варианте осуществления прорези 238 расположены под таким углом, что натяжение, прилагаемое эластичными транспортирующими лентами 180, смещает выходные ролики 222 и выходной вал 224 к нижнему концу прорези. За счет этого обеспечивается контакт транспортирующих лент и роликов с конвертом.
Согласно фиг.23 в представленном варианте осуществления наружный конец 122 транспортирующего устройства имеет закрывающий корпус, называемый здесь оправой 242, имеющей отверстие 244, через которое проходят конверты к пользователю и от него. Оправа 242 оперативно соединена с секцией 218 доставки. Под оправой в представленном варианте осуществления установлен подвижный затворный элемент 246, поясняемый более подробно ниже. Согласно фиг.23 затворный элемент 246 показан в открытом положении. Согласно фиг.23 в транспортирующем устройстве с внутренней стороны от выходных роликов 222 предусмотрен датчик 248. В представленном варианте осуществления датчик 248 содержит множество подвижных элементов или пальцев, которые выполнены подвижными и проходят через поперечно расположенные прорези в местоположениях поперек транспортирующего устройства. Эти элементы перемещаются в прорезях, реагируя на наличие или отсутствие конвертов в этом положении. Фиг.25 показывает множество элементов датчиков, относящихся к датчику 248 и расположенных поперечно транспортирующему устройству. При этом элементы датчика выполнены с возможностью содействия перемещению конвертов за счет снижения поверхностного сопротивления между конвертами и основанием транспортирующего устройства. В представленном варианте осуществления элементы датчика находятся в оперативном соединении с электрическим переключателем, фотопрерывателем или другим датчиком, который обеспечивает надлежащий сигнал для контроллера. Центральное ребро 250 также предусмотрено вблизи выхода в целях снижения поверхностного сопротивления и обеспечения перемещения конвертов.
Фиг.24 иллюстрирует выгодные свойства представленного примера монтажа выходного вала 224 и выходных роликов 222. Способность вала перемещаться в расположенных под углом прорезях 238 при реагировании на наличие конвертов разной толщины обеспечивает их соответствие высоте конвертов, в результате чего транспортирующие ленты 180 могут зацеплять конверты в достаточной степени эффективно для перемещения конвертов. При этом эластичность транспортирующих лент в сочетании с расположенными под углом прорезями 238 обусловливает смещение выходных роликов 222 вместе с транспортирующими лентами в зацепление с конвертами. Фиг.26 показывает пример конверта с монетами 252. В конверте монеты 252 находятся с одной стороны. Предусмотренный в транспортирующем устройстве промежуток позволит содержащему монеты конверту перемещаться посредством транспортирующих лент в транспортирующее устройство. Другой конверт показан на фиг.27. Этот конверт 254 содержит сложенные банкноты, которые вводятся транспортирующим устройством и под выходными роликами 222. Согласно фиг.27 выходные ролики и транспортирующие ленты на них могут перемещаться и обеспечивать прохождение конверта, при этом оставаясь в контакте с конвертом. За счет этого конверт может транспортироваться без его повреждения или открытия.
Согласно фиг.19 и 20 характер смещения прикладывающих давление роликов 226, которые в представленном варианте осуществления установлены с возможностью их смещения на искривленных пластинчатых пружинах 227, содействует контактированию транспортирующих лент с конвертами после перемещения конвертов мимо выходных роликов 222. При этом установка нажимных роликов 226 с возможностью упругого смещения позволяет прохождение конвертов разных контуров и разной толщины. Помимо этого, искривленная часть 215 плиты 214 и усилия, прилагаемые находящимися сверху транспортирующими лентами, удерживают транспортируемый конверт в захвате между поверхностью плиты, несущими ленты роликами и лентами, обеспечивая перемещение конверта. Усилие, прилагаемое лентами и представленное стрелками векторов усилия на фиг.19 и 20, обеспечивает это зацепление конверта. В представленном варианте осуществления это техническое решение позволяет конвертам с неровными контурами перемещаться в сохранности в область зазора 188, из которого конверты могут проходить в содержащий депозиты контейнер 128. Разумеется, эти методы приводятся только в качестве примера. Однако излагаемые здесь принципы можно применить во многих вариантах осуществления для транспортирования конвертов или других средств или их стоп с правильными или неправильными контурами.
В представленном варианте осуществления ролики, используемые для выходных роликов 222 транспортирующего устройства, и выходной вал могут иметь конструкцию согласно фиг.28-30. Согласно этим чертежам ролики 222 показаны без внешней крышки, контактирующей с транспортирующими лентами, когда ролики работают. В некоторых вариантах осуществления выходные ролики 222 свободно вращаются относительно вала. Также в некоторых вариантах осуществления желательно, чтобы ролики вращались в обоих направлениях, с небольшим сопротивлением трению, чтобы они легко устанавливались на валу и были надежными с точки зрения обеспечения зацепления с валом и с точки зрения сохранения своего положения относительно вала. В представленном варианте осуществления это требование обеспечивается тем, что ролики сформированы с корпусом, имеющим встроенную втулочную часть 256. Втулочная часть 256 оканчивается на конце внутренней стороны кольцевой плоской поверхности 258. Кольцевая плоская поверхность 258 выполнена с возможностью ее скользящего перемещения по отношению к проходящей в радиальном направлении поверхности 260 кольцевого уступа на валу. Зацепление кольцевой плоской поверхности с проходящей в радиальном направлении поверхностью уступа ограничивает осевое перемещение ролика относительно вала.
Представленная втулочная часть 256 имеет на кольцевом конце, противоположном к кольцевой плоской поверхности, множество проходящих радиально внутрь деформируемых штырей 262. В представленном варианте осуществления проходящие радиально внутрь штыри имеют внешние края, которые проходят радиально внутрь относительно отверстия 264, которое принимает вал и которое проходит через втулочную часть. В представленном варианте осуществления проходящие внутрь штыри 262 и также втулочная часть выполнены из по существу жесткого, но упругого материала, в результате чего проходящие внутрь штыри могут деформироваться, но быстро восстанавливать свой первоначальный проходящий внутрь контур.
Вал 224 в представленном варианте осуществления имеет кольцевые выемки 266. Кольцевые выемки 266 в осевом направлении отстоят от поверхностей уступа на расстоянии, по существу соответствующем осевому расстоянию между кольцевой плоской поверхностью 258 и проходящими внутрь штырями. При этом размер и расстояние между поверхностью уступа и кольцевыми выемками таково, что в некоторых вариантах осуществления ролики 222 могут свободно вращаться относительно вала, если ролик установлен на нем таким образом, что проходящие внутрь штыри входят в кольцевые примыкающие выемки и перемещаются в них.
Еще один выгодный аспект представленного варианта осуществления заключается в том, что ролики 222 можно установить на валу 224 без помощи инструментов или крепежных деталей. Согласно фиг.28 и 30 ролики взаимно аксиально перемещаются на вал, в результате чего вал проходит в отверстие 264 втулочной части. Проходящие внутрь штыри 262 временно деформируются по сравнению со своим первоначальным положением, когда ролик перемещается в осевом направлении внутрь относительно вала. Но после того, как проходящие внутрь штыри дойдут до кольцевых выемок 266, штыри восстанавливают свою обычную форму. Это зацепление штырей с кольцевыми выемками содействует удержанию роликов в нужном положении относительно вала. При этом, когда ролик перемещен в осевом направлении, а штыри вошли в кольцевую выемку, тогда кольцевая плоская поверхность упирается в кольцевую поверхность уступа на валу. Такое зацепление предотвращает последующее осевое перемещение ролика, из-за которого штыри могут выйти из кольцевой выемки. После того, как дополнительное осевое усилие, перемещающее ролик, перестанет действовать, тогда зацепление штырей в кольцевой выемке обеспечит прилегание кольцевой плоской поверхности в представленном варианте осуществления к кольцевой поверхности уступа, но на некотором расстоянии от нее, чтобы обеспечить возможность по существу свободного вращения ролика относительно вала. В этом положении кольцевая плоская поверхность 258 ролика будет располагаться достаточно близко к соответствующей поверхности 260 уступа, и поэтому ролик сможет свободно вращаться относительно вала, но по существу не сможет перемещаться далее в осевом направлении внутрь за счет контакта с поверхностью уступа. В этом варианте осуществления конусообразный контур проходящих внутрь штырей 262 сопротивляется усилиям, которые стремятся переместить ролики в осевом направлении наружу на валу за счет зацепления внешних концов штырей с проходящими радиально наружу поверхностями на осевой наружной стороне кольцевых выемок 266. Нужно отметить, что это техническое решение и метод обеспечивают удобную, с низким трением, установку роликов относительно вала и надежное, с низким трением, позиционирование и вращение роликов относительно вала.
В представленном варианте осуществления принципы, излагаемые по отношению к установке внешних роликов 222, можно также применить и для других роликов. Фиг.31 показывает приводимое в качестве примера выполнение направляющих роликов 228, используемых при транспортировании для направления возвращающегося пролета транспортирующих лент. Направляющие ролики 228 установлены на направляющем валу 268. Направляющие ролики 228 имеют конструкцию, аналогичную конструкции, описываемой в связи с роликами 222, для обеспечения удобной установки и вращения роликов относительно вала. Разумеется, эти способы приводятся в качестве примера, и в других вариантах можно использовать и другие способы. В частности и без ограничения, в некоторых вариантах осуществления с определенными признаками можно предусмотреть для роликов жесткое зацепление, и в этом случае ролики будут вращаться вместе с приводным валом. Это можно выполнить, например, с помощью взаимозацепляющихся выступов и выемок на роликах и валу. Они могут содержать проходящие в осевом направлении или проходящие в радиальном направлении выступы, или и те и другие выступы в сочетании, в зависимости от характера оборудования и характера передаваемых усилий. Специалисты в данной области техники могут разработать различные способы обеспечения нужной степени передачи усилия между роликами и валами.
В некоторых представленных вариантах осуществления механизма 120 приема депозитов некоторые трудности могут создавать конверты, входящие или выходящие из транспортирующего устройства, если они будут перекашиваться относительно направления перемещения транспортирующих лент 180. Например, согласно фиг.41 конверт 270 имеет край, согнутый на правой стороне транспортирующего устройства из-за перекоса конверта. Это может произойти, например, если конверт 270 перекосился в транспортирующем устройстве во время выдачи и переместился наружу по транспортирующему устройству в перекошенном положении. Альтернативно, этот перекос может произойти по той причине, что пользователь ввел конверт в перекошенном положении. Фиг.40 в горизонтальной проекции показывает конверт с согнутым краем в транспортирующем устройстве, причем другой конверт прилегает к выходному валу 224. Фиг.39 показывает конверт 270, вошедший в транспортирующее устройство с перекосом.
На фиг.41 наглядно представлено, что в этом варианте осуществления перекос конверта может затруднять работу банкомата. Эти проблемы могут возникать и во время выдачи конвертов, и при приеме конвертов. Например, если конверт выдается пользователю с перекосом согласно фиг.41, то согнутый конец конверта может при своем прохождении наружу натолкнуться на препятствие в виде выходного вала 224. Если это случится, то затор будет определен вблизи выхода и/или конверт может быть надорван или поврежден при поступлении пользователю. Аналогично, перекошенные конверты могут также создать проблему при операции приема депозита. Например, конверт может быть принят транспортирующим устройством, и затем – поскольку конверт имеет определенные измеренные параметры, по причине которых он должен быть возвращен клиенту – контроллер реверсирует транспортирующие ленты 180, чтобы вернуть конверт назад пользователю. Если при этом конверт будет перекошен и задний конец уже переместится в транспортирующее устройство мимо выходного вала 224, то тогда согнутый край конверта может зацепиться за вал. Это может привести к тому, что конверт невозможно будет вернуть и/или конверт будет надорван или поврежден.
В некоторых альтернативных вариантах осуществления проблемы, связанные с перекошенными конвертами, можно решить при помощи направляющих для конвертов. Эти направляющие для конвертов могут заставить перекошенные конверты вернуться в свой определенный контур или конфигурацию, в результате чего они смогут пройти в транспортирующее устройство или из него без контактирования с другими структурами, которые могут вызвать повреждение, застревание или разрыв конверта. Представленный вариант осуществления этих направляющих представлен на фиг.34-37. Направляющие 272 и 274 для конвертов установлены на противоположных сторонах транспортирующих лент в опорном соединении с боковыми стенками транспортирующего устройства. Разумеется, согласно фиг.34, транспортирующая лента левой стороны не показана для упрощения. В представленном варианте осуществления направляющие для конвертов установлены жестко по отношению к боковым стенкам 236, но в других вариантах осуществления эти направляющие можно установить с возможностью их перемещения и/или в подпружиненном состоянии.
Поскольку направляющие 272 и 274 для конвертов являются зеркальными отображениями друг друга, поэтому подробно описывается только направляющая 272. Направляющая 272 содержит по существу вертикально проходящую поверхность 276. В представленном варианте осуществления вертикальная направляющая 276 проходит по существу внутрь с возможностью расширения внутрь относительно транспортирующего устройства, по мере приближения к выходному валу 224. Представленная форма направляющей 272 для конвертов также содержит поверхность 278, по существу обращенную вниз. Обращенная вниз поверхность 278 является конусообразной, чтобы быть ближе к поверхности плиты транспортирующего устройства по мере приближения к выходному валу. За счет этого технического решения объекты будут принудительно перемещаться под выходным валом. Разумеется, представленное выполнение направляющей 272 для конвертов имеет проходящую вертикально концевую поверхность 280, которая в достаточной степени отстоит от выходного вала 224, чтобы не мешать его движению. Это показано на фиг.35.
На фиг.34 и 36 наглядно показано, что конверт 282, перекошенный относительно транспортирующего устройства, имеет возможность перемещаться с большей легкостью внутрь и наружу мимо выходных роликов 222. Это объясняется тем, что если конверт выдается и перекошен, как показано на фиг.34, то передний согнутый край конверта контактирует с обращенными вниз поверхностями направляющих для конвертов и поэтому деформируется таким образом, что согнутый край конверта может перемещаться под выходным валом 224. Это также показано взаимосвязью между обращенной вниз поверхностью 278 направляющей, которая находится по существу на одном уровне с низом недеформированного положения выходного вала 224. Поэтому, по мере того, как конверт перемещается в наружном направлении, согнутый край проходит под выходным валом и не застревает на нем. Также нужно отметить, что поверхности проходящей внутрь вертикальной направляющей обеспечивают конвертам, которые могут значительно перекоситься, возможность перемещения так, что согнутые их края зацепляются роликами, и за счет действия роликов перемещаются с деформацией и проходят под выходным валом.
Те же принципы можно применить в тех случаях, когда конверт вводят в транспортирующее устройство в перекошенном состоянии – представлено на фиг.37. В этих обстоятельствах перекошенный конверт будет, как правило, деформироваться и сгибаться, чтобы пройти мимо выходных роликов 222. Но если необходимо отбраковать депонируемый конверт, то направляющие будут деформировать края, в результате чего конверт сможет пройти наружу под выходным валом. Эти технические решения обеспечивают надежное перемещение конвертов в транспортирующее устройство и из него, несмотря на то, что конверты перекашиваются, и эти технические решения могут исключить возможность застревания конвертов и повысить надежность действия устройства. Разумеется, эти способы приводятся в качестве примера, и в других вариантах осуществления можно использовать другие способы.
В некоторых вариантах осуществления пользователи могут столкнуться с трудностями при введении относительно крупных и/или имеющих неровные контуры конвертов в банкомат для депонирования. В некоторых случаях эти конверты, возможно, не будут приниматься легко, так как подвижно установленные выходные ролики 222 и транспортирующие ленты 180 на них, возможно, не будут легко смещаться вверх в достаточной степени, реагируя на контакт с конвертом, чтобы впустить между ними конверт повышенной толщины. Эта трудность может возникнуть в ситуациях при использовании относительно толстых или имеющих неровные контуры конвертов, сделанных из материала с низким коэффициентом трения. В этих случаях транспортирующие ленты, возможно, не создадут достаточного зацепления конверта за счет трения, чтобы конверт смог переместиться в зазор между выходными роликами 222 и соответствующими транспортирующими лентами и роликами 220. Из-за этих недостатков пользователи могут попытаться силой ввести конверт в транспортирующее устройство. В результате этого возрастает риск повреждения и/или застревания конверта.
Чтобы конверты повышенной толщины и/или с пониженным коэффициентом трения смогли легче входить в наружный конец транспортирующего устройства, некоторые альтернативные варианты осуществления изобретения могут предусматривать конструкции, представленные на фиг.32 и 33. В этом варианте осуществления наружные ролики 222 установлены относительно выходного вала 224, так что вращение наружных роликов относительно транспортирующих лент 180 вызовет вращение вала 224. Это можно сделать, например, способом, аналогичным вышеизложенному, для создания зацепляющего соединения между выходными роликами 222 и валом. Разумеется, для фиксирования выходных роликов на валу для их совместного вращения можно применить и альтернативные средства.
В этом варианте осуществления выпуклые (бугристые) ролики 284 установлены на выходном валу 224 и вращаются с ним. В этом описании выпуклые ролики представляют собой ролики, внешние поверхности которых имеют выступы, обеспечивающие усиленное захватывающее действие. В представленном варианте осуществления выпуклые ролики 284 установлены таким образом, что имеют одно положение на валу между выходными роликами 222, а также на каждой внешней стороне между выходными роликами 222 и внутренней стенкой 236. В представленном варианте осуществления выпуклые ролики выполнены из твердого, но упругого материала в области зацепления с конвертом. Эта область зацепления также выполнена из материала, имеющего достаточные захватные фрикционные свойства, чтобы зацеплять и перемещать конверты. В представленном варианте осуществления выпуклые ролики 284 имеют по существу крестообразную форму по существу с криволинейными внешними поверхностями 286. На фиг.33 наглядно показано, что в представленной форме выпуклых роликов криволинейные поверхности 286 проходят несколько дальше в радиальном направлении наружу, чем поверхность транспортирующих лент 180 на выходных роликах 222. Но внешние поверхности 286 расположены таким образом, что когда выходной вал 224 находится внизу расположенной под углом прорези 238, внешние поверхности 286 могут пропускать поверхность основания транспортирующего устройства без зацепления.
В работе этого альтернативного варианта выпуклые ролики 284 вращаются выходными роликами 222 и транспортирующими лентами 180. При зацеплении с конвертом внешние поверхности 286 выпуклых роликов прилагают дополнительное тяговое усилие к конверту, принудительно перемещая его на транспортирующее устройство, чтобы обеспечивать перемещение выходного вала 224 вверх. Помимо этого, в представленном варианте осуществления дугообразные выемки 288, которые проходят между внешними поверхностями 286, обеспечивают дополнительное зацепляющее усилие на участках, ведущих к внешним поверхностям, и это обстоятельство также помогает валу перемещать вперед и выталкивать конверты мимо выходного вала 224. За счет этого действия альтернативное транспортирующее устройство может действовать с конвертами повышенной толщины или с неровными контурами, без повреждения конвертов. Также можно отметить, что характер выпуклых роликов 284 таков, что ролики обеспечивают аналогичное тяговое усилие при перемещении конвертов в направлении наружу по транспортирующему устройству. Это техническое решение может облегчить отбраковку конвертов в транспортирующем устройстве, которые нужно возвратить пользователю. Выпуклые ролики могут также облегчать перемещение из транспортирующего устройства стопы пустых конвертов, которые из-за неисправности при загрузке сцепились и которые возможно удалить из транспортирующего устройства только как часть стопы. Это может происходить, например, с определенными типами конвертов, имеющих язычки, и которые случайно взаимно сцепились или из-за загрязнения, или из-за ошибочного изготовления прилипли друг к другу. Разумеется, нужно отметить, что конструкции, описываемые в связи с выпуклыми роликами, приводятся в качестве примера, и в других вариантах осуществления можно использовать другие способы.
Еще один выгодный аспект представленного варианта осуществления механизма 120 приема конвертов заключается в том, что механизм можно более удобным образом выполнить с возможностью использования в разных типах банкоматов. Это обеспечивается за счет возможности прохождения секции 218 доставки горизонтально далее криволинейной части 215 с помощью изменения расстояний. Это техническое решение может быть целесообразным для использования механизма в разных типах банкоматов, в которых положение компонентов в банкоматах относительно отверстия наружного конца может изменяться. Фиг.42-44 показывают пример конструкции, используемой для осуществления изобретения, для обеспечения разной длины секции 218 доставки.
В представленном варианте секции 218 она состоит из двух взаимно зацепляющихся секций 290 и 292. Секция 292 доставки в этом варианте осуществления расположена вблизи наружного конца 122 и имеет структуры, относящиеся к наружным роликам и валу. Секция 292 содержит боковые стенки 236 с расположенными под углом прорезями 238. Также на фиг.42 и 43 показано, что секция 292 имеет поверхность 294 основания плиты с проемами 296, в которых установлены опорные ролики 220 ленты, находящиеся под выходными роликами 222. В представленном варианте осуществления поверхность 294 имеет противоположные поперечные концы, формирующие поддерживающие вал карманы 298, в которые входят части 299 валов (фиг.23), и на этих валах установлены ролики, которые проходят в упомянутые проемы в собранном узле. Секция 292 также имеет прорези 300, через которые проходят контактирующие подвижные пальцы, относящиеся к датчику 248 конвертов. Секция 292 также содержит расположенную под углом вводную поверхность 302. Вводная поверхность 292 в этом варианте осуществления зазубрена, чтобы взаимодействовать с затворным элементом 246 излагаемым ниже образом.
Секция 290 также имеет боковые стенки 304 и поверхность 306 основания плиты. Поверхность 306 имеет проемы 308, в которые входят поддерживающие ленты ролики, и также поддерживающие вал карманы 310, аналогичные карманам 298. В представленном варианте секции 290 поверхность 306 также имеет прорези 312 для вхождения в них пальцев, относящихся к датчику конвертов, на середине транспортирующего устройства и проходящих через эти прорези. Секции 290 и 292 также имеют крепежные отверстия 214, используемые для установки на них прочих конструкций, таких как ребро 250. Разумеется, эти конструкции приводятся в качестве примера, и можно использовать другие варианты осуществления или другие конструкции.
Согласно фиг.43 секция 290 имеет передний конец, проходящую вниз стенку 316 с расположенными на ней установочными лепестками 318. Между установочными лепестками 318 выполнены выемки. Секция 292 имеет проходящую вниз U-образную стенку 320. U-образная стенка 320 имеет вырезы 322. U-образная стенка 320 имеет такую конфигурацию, согласно которой стороны U-образной стенки отстоят друг от друга на достаточное расстояние для вмещения между ними стенки 316 секции 290. Вырезы 322 имеют такой размер и расположены таким образом, что лепестки 318 выравниваются с ними и зацепляют их. Это показано на фиг.44. При этом, когда лепестки и вырезы находятся во взаимном зацеплении, стенки 236 и 304 секций 290 и 292 по существу выровнены, как и прилегающие части поверхностей 294 и 306 основания плиты. Согласно фиг.44 в этом варианте осуществления участки, в которых сходятся секции, скруглены, чтобы обеспечивать возможность перемещения конвертов или других средств по этому соединительному участку, при этом сводя к минимуму риск застревания.
Также в представленном варианте осуществления секция 292 имеет проушину 324. Проушина 324 имеет отверстие 326. Отверстие 326 совмещено с отверстием 328 боковой стенки 304, когда секции 290 и 292 находятся в собранном положении. Крепежное устройство (отдельно не показано) проходит для контакта отверстия 326 и отверстия 328, чтобы удерживать секции в зацепленном положении.
Также согласно фиг.43 секция 290 содержит еще одну изогнутую часть 330 стенки с вырезами 332 в ней. Секция 290 также имеет проушины 334 с отверстиями 336. Эти конструкции аналогичны конструкциям, используемым для соединения секций 290 и 292, и их можно использовать для зацепления секции 290 с еще одной транспортирующей секцией, например с горизонтальной секцией или с верхним концом криволинейной плиты 214.
В этом варианте осуществления секция 218 доставки, которая проходит горизонтально наружу между лицевой стороной банкомата и криволинейной частью транспортирующего устройства, может иметь разную длину в зависимости от длины и используемого числа секций. Поэтому депонирующий конверты механизм в представленном варианте осуществления можно использовать в нескольких типах банкоматов. Причем используемые конструкции легко собираются и минимизируют риск застревания конвертов при их прохождении между секциями транспортирующего устройства. Разумеется, эти конструкции приводятся в качестве примера, и в других вариантах осуществления можно использовать другие конструкции.
В представленном варианте осуществления депонирующего механизма 120 используется затворное устройство, чтобы свести к минимуму риск недозволенного доступа к транспортирующему устройству и ко внутреннему объему банкомата, чтобы получить доступ к находящимся там ценным объектам. В представленном варианте осуществления заслонка (затвор) расположена вблизи наружного конца 122 и контролирует доступ через отверстие 244. В представленном варианте осуществления заслонка действует таким образом, что обеспечивает доступ через проем только в том случае, когда контроллер дает команду банкомату на выдачу конверта пользователю, либо когда банкомат проводит транзакцию, в соответствии с которой депонируемый конверт поступает в банкомат. Разумеется, описываемые здесь конструкции и способы приводятся в качестве примера, и в других вариантах осуществления можно использовать другие способы.
Согласно фиг.45-50 затворный элемент 246 выполнен с возможностью поворота на шарнире 338. Шарнир 338 опирается на боковые стенки 236 транспортирующей секции 292. Затворный элемент 246 и шарнир расположены за оправой 242. В этом варианте осуществления оправа 242 содержит переднюю стенку 340 и боковые стенки 342. Здесь боковые стенки проходят назад от передней стенки и над заслонкой и наружным концом секции 292, чтобы свести к минимуму риск недозволенных попыток доступа в банкомат. Оправа 242 имеет верхнюю стенку 344 и нижнюю стенку 346. Верхняя и нижняя стенки также находятся над заслонкой и концом секции 292, чтобы свести к минимуму риск недозволенных попыток доступа в банкомат. Разумеется, эти конструкции приводятся в качестве примера, и в других вариантах осуществления можно использовать другие способы.
В представленной оправе 242 имеются стенки 348, 350, ограничивающие отверстие 244 на верхней и нижней сторонах, соответственно. Оправа 244 также имеет боковые стенки 352, конусообразные в направлении внутрь. Стенки 348, 350 и 353 образуют сужение в форме воронки, чтобы содействовать перемещению конвертов в отверстие 244 и из него. Еще одна передняя стенка 340 оправы имеет отверстие 354. В представленном варианте осуществления отверстие 354 позволяет видеть пользователю такие освещаемые устройства, как светодиоды, которые избирательно загораются, срабатывая на сигналы контроллера. При этом контроллер зажигает осветительные устройства, чтобы пользователь обратил внимание на отверстие 244 в соответствующие моменты при проведении транзакции. Это может происходить, например, когда устройство выдает конверт пользователю и/или когда пользователь должен ввести конверт в устройство. В некоторых вариантах осуществления световые устройства могут загораться разным цветом и/или могут вспыхивать с разной частотой, срабатывая на сигнал контроллера. Это может способствовать тому, чтобы направлять внимание пользователя банкомата в соответствующие моменты. Разумеется, эти способы приводятся в качестве примера.
Согласно фиг.50 представленная заслонка 246 имеет проходящую наружу часть 356. Проходящая наружу часть 356 в закрытом положении заслонки, согласно фиг.50, находится на внутренней стороне верхней стенки 348 оправы. За счет этого понижается риск недозволенного доступа внутрь банкомата, когда заслонка закрыта.
Согласно фиг.50 заслонка 246 также содержит нижнюю проходящую внутрь часть 358. Проходящая внутрь часть 358 имеет множество расположенных поперечно выемок, представляющих по существу зубчатую поверхность в представленном варианте осуществления. Эта поверхность взаимно зацепляется с множеством выступов, удлиненных в направлении перемещения конвертов, на транспортирующем устройстве, и также называемых здесь застежками-молниями 380. В закрытом положении заслонки выступы проходят через зубчатую вводящую поверхность 302 основания 294. В этом представленном варианте осуществления взаимное зацепление выступов, зубчатой проходящей внутрь части 358 и зубчатой вводящей части 302 в закрытом положении заслонки 246, помогает минимизации риска попыток недозволенного проникновения в банкомат. Это возможно благодаря тому, что деформация заслонки при попытке недозволенного проникновения может стать причиной блокировки заслонки и заедания примыкающих конструкций, чтобы препятствовать вскрытию банкомата. Конструкция представленного варианта осуществления уменьшает возможность получения доступа внутрь банкомата с использованием взламывающих инструментов и других устройств.
В представленном варианте осуществления исполнительный элемент 360 подвижно установлен в опорном соединении с секцией 218 доставки, фиг.46. Исполнительный элемент 360 в этом варианте осуществления выполнен с возможностью перемещения назад и вперед по существу поперечно направлению перемещения заслонки по линиям стрелки V за счет действия взаимно зацепляющихся штифтов и прорезей 362. В этом варианте осуществления прорези 364 имеют расширенный округлый конец, через который можно вести увеличенные головки штифтов 366. Конфигурация расширенных концевых частей прорезей такова, что исполнительный элемент может зацепляться с и выходить из зацепления только посредством штифтов в определенных положениях. В результате снижается риск того, что исполнительный элемент может выйти из зацепления с его опорными штифтами в любом положении во время его хода.
В представленном варианте осуществления исполнительный элемент имеет прорезь 368 для кулачка, примыкающую к его переднему концу. Прорезь для кулачка ограничена в исполнительном элементе криволинейной поверхностью. Кулачковый следящий элемент 370 связан с заслонкой 246 и находится в зацеплении с прорезью 368 для кулачка. Также в этом варианте осуществления прорезь 368 имеет расширенный участок 372 на дальнем ее конце. Расширенный участок 372 является участком прорези для кулачка, расположенным за тем местом, в котором кулачковый следящий элемент находится, когда заслонка перемещается между открытым и закрытым положениями. Расширенный участок используется для облегчения сборки путем обеспечения доступа к головке 370 кулачкового следящего элемента для прохождения в прорезь для кулачка. Как и в случае с другими конструкциями штифтов и направляющих, когда головка смещена от расширенного участка в прорези для кулачка, как это всегда происходит во время нормальной работы механизма, увеличенная головка не может выйти из прорези для кулачка.
Согласно фиг.46 исполнительный элемент 360 имеет зубчатый участок 374, с которым он оперативно соединен. Зубчатый участок зацепляется с поворотным зубчатым колесом 376, приводимым в движение приводом (отдельно не показано). Привод поворачивает зубчатое колесо избирательно в обоих направлениях, срабатывая на сигнал контроллера банкомата. В представленном варианте осуществления состояние заслонки определяется за счет контроля положения исполнительного элемента.
Во время работы банкомата, когда затворный элемент 246 нужно открыть, исполнительный элемент 360 перемещается в переднее положение, показываемое на фиг.47. В результате этого кулачковый следящий элемент 370 из прорези 368 для кулачка перемещается в относительно низкое положение в по существу горизонтальной концевой части прорези для кулачка. Поскольку кулачковый следящий элемент расположен на противоположной стороне шарнира 338, проходящая внутрь часть 358 заслонки перемещается вверх далее отверстия 244. Это положение заслонки показано на фиг.23 и позволяет объектам прохождение на транспортирующее устройство и с него.
Перемещение исполнительного элемента 360 назад перемещает кулачковый следящий элемент 370 в промежуточное положение в средней части прорези 368 (фиг.45 и 48). В этом положении заслонка 246 находится между открытым и закрытым положениями. Дальнейшее перемещение исполнительного элемента 360 назад от положения, показываемого на фиг.45 и 48, перемещает кулачковый следящий элемент за счет зацепления с криволинейной поверхностью, ограничивающей прорезь, в по существу горизонтальную верхнюю концевую часть 378 прорези 368 для кулачка. В этом положении заслонка перемещена в переднее закрытое положение (фиг.50). Согласно фиг.48 и 47 верхняя концевая часть прорези для кулачка проходит по существу горизонтально и имеет обращенную слегка вниз ориентацию. В представленном варианте осуществления это снижает риск того, что затворный элемент можно будет вскрыть, заставив перемещаться исполнительный элемент 360. Это объясняется тем, что внешнее усилие, прилагаемое для открытия заслонки, не приводит к тому, что кулачковый следящий элемент 370 будет прилагать усилие к исполнительному элементу 360, поступательно перемещающая его в направлении стрелки V. Разумеется, эти технические решения приводятся в качестве примера, и в других вариантах осуществления можно использовать другие технические решения.
Как упоминалось выше, в представленном варианте осуществления оправа включает в себя выступы, которые находятся с ней в оперативном соединении и называются застежками-молниями 380. Застежки-молнии 380 в этом варианте осуществления проходят с зацеплением в выемки в проходящей внутрь части 358 затворного элемента 246 и зубчатого ввода в поверхности 302 основания 294. Застежки-молнии 380 проходят в направлении транспортирования и блокируются между отверстиями в элементах, когда заслонка находится в закрытом положении. Эти застежки-молнии могут также обеспечивать сопротивление деформации и препятствовать недозволенному открытию затворного элемента. Разумеется, эти конструкции приводятся в качестве примера, и в других вариантах осуществления можно использовать другие технические решения.
Также в варианте осуществления для ситуаций, которые могут возникать в банкомате и которые в ином случае могут создавать проблемы или выводить банкомат из строя, можно использовать контроллерные схемы или программирование контроллера. Эти ситуации могут иногда возникать, если пользователи оставят пальцы или другие объекты в отверстии транспортирующего устройства, когда заслонка должна перемещаться из открытого положения в закрытое. Другие возможные ситуации могут быть обусловлены попаданием влаги непосредственно вблизи заслонки, с последующим ее замерзанием, если банкомат находится снаружи помещения. В этом случае лед может приморозить заслонки. Еще одна ситуация: конверт, выданный из механизма пользователю, или конверт, введение которого могло быть начато пользователем, остался в проеме под заслонкой.
В представленном варианте осуществления контроллер с соответствующими схемами контролирует по меньшей мере один параметр перемещения заслонки в зависимости от времени. В варианте осуществления контролируемым параметром является ток, и контроллер сравнивает нормальную характеристику тока от времени для нормального открытия и/или закрытия заслонки с профилем тока от времени, имеющимся в течение каждого открытия или закрытия заслонки. В представленном варианте осуществления это осуществляется контролированием отбора тока во времени для привода, перемещающего зубчатое колесо 376. Эти сравнения, выполняемые при открытии и закрытии, позволяют определять нежелательные или необычные состояния, и контроллер действует в соответствии со своей программой, чтобы исключить неисправности или свести к минимуму повреждение, обусловленное этими состояниями.
Если, например, заслонка примерзла в закрытом положении из-за замерзшей воды или по другой причине, то профиль тока от времени, имеющийся, когда контроллер открывает затвор, покажет сильный ток в течение короткого периода времени после выдачи команды на открытие заслонки. Выполняемое процессором сравнение имеющегося профиля тока от времени с ожидаемым профилем покажет это ненормальное состояние контроллеру, который затем будет действовать согласно запрограммированным командам, чтобы отменить последующие попытки открыть затвор, и/или укажет проблему пользователю и/или обслуживающему персоналу. Также в некоторых вариантах осуществления программа контроллера может дать банкомату возможность выполнять транзакции, даже если депонирование не может состояться. В некоторых вариантах осуществления контроллер может также действовать согласно своей программе, чтобы выполнить такие последующие исправляющие действия, как перевод привода зубчатого исполнительного механизма в режим вибрации излагаемого выше типа с помощью шаговых электродвигателей для устранения препятствия передвижения. Альтернативно или дополнительно, контроллер может включить нагреватели, ввести антиобледенитель в зону заслонки или выполнить другое действие, которое может соответствовать целям возвращения банкомата в состояние нормальной работы. Контроллер может продолжить работу после выполнения исправляющих действий или повторить исправляющие действия, или выполнить другие исправляющие действия, если данная проблема еще не устранена.
В других примерных случаях пользователь может не убрать пальцы из зоны открытой заслонки или оставить там другие объекты. В этих случаях также схемы и/или процессор, сравнивающие профиль тока от времени, имеющийся для привода при перемещении исполнительного элемента, обнаружат расхождение между действительно имеющимся профилем и нормально ожидаемым профилем. В этих случаях также контроллер может действовать согласно своим программам: вызывая реверсирование перемещения исполнительного элемента в противоположное направление, чтобы открыть заслонку. Альтернативно или дополнительно, контроллер может действовать согласно своим программам, чтобы устранить затор. Альтернативно или дополнительно, контроллер может привести в действие транспортирующие ленты и/или выдать, и/или забрать назад один или несколько конвертов из транспортирующего устройства, чтобы устранить препятствия.
Альтернативно или дополнительно, контроллер в банкомате, сравнивающий имеющийся в данной ситуации профиль тока от времени с ожидаемым в нормальной ситуации профилем, может согласно своей программе выполнить действия избирательно в зависимости от характера имеющегося профиля. Например, имеющийся профиль тока от времени показывает умеренный и/или постепенно возрастающий отбор тока, когда заслонка принимает закрытое положение, то это может указывать на наличие пальцев, конверта или иного по существу мягкого материала. Альтернативно, если происходит быстрое возрастание отбора тока, то это может указывать на то, что в транспортирующее устройство введено твердое вещество или инструмент. Это может указывать на попытку взлома или на другую неисправность, о чем нужно будет сообщить соответствующему учреждению. Это можно выполнить по способу согласно патенту США №5984178, содержание которого включено сюда в качестве ссылки. Альтернативно, банкомат или соответствующее устройство может снять и запомнить изображения пользователя и/или банкомата. Это можно выполнить по способу согласно патенту США №6583810, содержание которого включено сюда в качестве ссылки. Контроллер может выполнить действия согласно своей программе, реагируя на данный профиль.
Также в некоторых вариантах осуществления контролирование профиля тока от времени в данной ситуации и сравнение ее с ожидаемым профилем тока от времени можно скомбинировать с такими другими измеряемыми характеристиками, как определение положения, в котором заслонка встречает препятствие, определение имеющего препятствие участка заслонки, температура данного участка заслонки; либо скомбинировать с датчиками других показателей, чтобы контроллер смог принять избирательные решения по принимаемым действиям. Разумеется, эти технические решения приводятся в качестве примера, и в других вариантах осуществления можно использовать другие или дополнительные технические решения.
Согласно вышеизложенному в представленном варианте осуществления используется записывающее устройство, имеющее струйный принтер. Согласно фиг.51 в этом варианте осуществления струйный принтер 382 имеет съемный картридж, который установлен с имеющей сопла печатающей головкой вблизи плиты 214. Во время работы струйного принтера краска выпрыскивается из сопел печатающей головки для нанесения системы маркировок на конверты, которые проходят по транспортирующему устройству в опорном соединении с плитой 214. В представленном варианте осуществления струйный принтер наносит маркировки, направляя краску через отверстие в описываемом ниже вытирающем устройстве 384.
В представленном варианте осуществления предусмотрен механизм для захвата лишней краски, не наносимой на конверт, и который также помогает удерживать конверт в нужном положении. В варианте осуществления это выполнено с помощью коллектора 386 краски. Показанное исполнение коллектора краски выполняет роль емкости и имеет по существу полый корпус 388 и полость 390 внутри него. Полость 390 имеет отверстие 390. Отверстие 392 находится над соплами струйного принтера 382 в рабочем положении коллектора (фиг.51). Благодаря этому краска, выводимая из сопел печатающей головки, может проходить в полость 390 в корпусе 388 через отверстие 392, если конверт или другой объект не присутствует между ними в транспортирующем устройстве.
Представленное выполнение коллектора 386 имеет головную часть 394. Головная часть 394 имеет пару направленных наружу плечей 296, оканчивающихся шарнирными пальцами 398. В варианте осуществления пальцы 398 съемным образом зацепляются с противоположными стенками, ограничивающими участок над криволинейной плитой 214, для обеспечения шарнирной установки. Помимо этого, пальцы 398 зацепляются с этими стенками, чтобы коллектор имел возможность поворота на них в поясняемых ниже целях и возможность смещения отверстия 392 к расположению сопел.
В представленном варианте осуществления корпус 388 оперативно соединен с поворотной дверцей 400, выполняющей роль элемента доступа к внутренней полости в коллекторе. Дверца 400 выполнена с возможностью поворота на петле 402 для доступа к полости 390. Дверца 400 в представленном варианте осуществления имеет выполненные заодно с ней защелкивающиеся выступы 404, которые с возможностью отсоединения зацепляются с приемными выемками 406 в боковых стенках корпуса 388, ограничивающих полость 390. Дверца 400 обеспечивает удобный доступ внутрь полости для ее очистки от краски.
В представленном варианте осуществления коллектора 386 корпус 388 содержит кулачковую поверхность 408. Кулачковая поверхность 408 за счет своей формы принудительно перемещает конверт и другие объекты внутрь в опорном соединении с плитой 214 для перемещения к соплам струйного принтера 382. Корпус 388 также содержит кулачковую поверхность 410. Кулачковая поверхность 410 за счет своей формы принудительно направляет конверт или другие объекты, перемещающиеся наружу, мимо струйного принтера к плите 214 и к соплам принтера. В представленном варианте осуществления по существу плоская поверхность 412, которая имеет отверстие 392, проходит между кулачковыми поверхностями 408 и 410. Разумеется, эта конструкция приводится в качестве примера, и в других вариантах осуществления можно применить и другие технические решения.
В представленном варианте осуществления коллектора 386 полость 390 содержит часть, которая проходит ниже отверстия 392. Поэтому краска, которая может проходить в полость через отверстие, стекает с внутренней стороны крышки и стенок, ограничивающих полость, и собирается в нижней ее части под отверстием. В варианте осуществления, согласно фиг.51, на котором полость показана в поперечном сечении, в полости выполнен порог 414 для того, чтобы краска скапливалась в нем на нижней стороне порога на некотором расстоянии от отверстия 392 до уровня, вертикально более высокого, чем отверстие 392. Эта конструкция обеспечивает возможность более длительного действия коллектора до его очистки или замены.
В работе представленного варианта осуществления могут возникать ситуации, когда по команде контроллера банкомат будет печатать маркировки на конверте, когда никакого конверта в нем не будет. В этом случае краска выходит из сопел через отверстие 392 и улавливается в полости 388. Иначе эта краска может скапливаться на других поверхностях в устройстве и, возможно, станет причиной его неисправности. Дополнительно или альтернативно, направленная не туда краска может скапливаться на конвертах, роликах или на других поверхностях, что может препятствовать надлежащей маркировке конвертов. Помимо этого, струйный принтер нужно периодически проверять и нужно очищать струйные сопла для краски, которые могут засоряться. В представленных вариантах конструкций эту проверку работы можно делать при отсутствии конвертов, так как краска может улавливаться в полости конструкции коллектора. Помимо этого, эта конструкция также исключает необходимость использования ватных тампонов или других аналогичных средств, иногда используемых в принтерах для удаления лишней краски, которая может улавливаться в отсутствие какого-либо объекта. В альтернативных вариантах на коллекторе можно предусмотреть датчики либо на его внутренней, либо на наружной поверхности для определения рабочих характеристик принтера.
Еще один полезный аспект примерной конструкции коллектора заключается в том, что корпус смещается на штифтах вверх по отношению к соплам печатающей головки картриджа. При этом корпус закрывает струйные сопла и снижает риск скапливания на них пыли из воздуха. Помимо этого, кулачковые поверхности 408 и 410 направляют конверты и/или другие объекты мимо струйного принтера в соответствующее положение вблизи струйных сопел для печати на них. Еще один полезный аспект представленного варианта осуществления заключается в том, что конструкции штифтов и плечей обеспечивают удобное отсоединение корпуса от механизма для обеспечения возможности замены или очистки. Помимо этого, откидная дверца, ограничивающая полость, также обеспечивает возможность сбора краски и возможность более удобной очистки ее внутренней поверхности. Разумеется, поясняемые здесь технические признаки приводятся в качестве примера, и в других вариантах осуществления можно использовать другие или дополнительные признаки.
Также в представленном варианте осуществления обслуживание сопел струйного принтера 382 выполняется за счет перемещения вытирающего устройства 384. Как упомянуто выше, в представленном варианте осуществления вытирающее устройство перекрывает площадь сопел струйного принтера 382 и имеет отверстия, через которые может выпрыскиваться краска из сопел. Это показано в оперативном положении элемента 384, показываемого на фиг.57. Вытирающее устройство 384 имеет упругую вытирающую часть 416, проходящую вниз, и контактирует с поверхностью струйного принтера, имеющего сопла для краски. Пара противоположных штифтовых элементов 418 проходит наружу от вытирающего устройства 384 к задней части и над протирающей частью.
Согласно фиг.18 и 54 передний конец 420 вытирающего устройства 384 оперативно соединен с рычагом 210. В представленном варианте осуществления вытирающее устройство легко отсоединяется от рычага при помощи соединения, состоящего из вала и защелки. Рычаг 210 поворачивается, реагируя на перемещение направляющей перегородки 196, с помощью приводного узла 200. Это происходит за счет действия чистящего головку ролика 208, действующего на кулачковой поверхности, оперативно соединенной с рычагом 210.
Согласно фиг.55 вытирающее устройство 384 выполнено с возможностью перемещения в прорези 422 плиты 214. Вблизи прорези, в области штифтов 418, установлена пара наклонных частей 424. Первоначально вытирающее устройство расположено по существу вровень с расположенной на плите поверхностью зацепления с депонируемым объектом. Срабатывая на перемещение направляющей перегородки 196, ролик 208 зацепляет кулачок на рычаге 210. Рычаг 210 перемещается и перемещает вытирающее устройство 384 вправо, показано на фиг.54-57. При перемещении вытирающего устройства 384 оно направляется и остается внутри прорези 422. Когда вытирающее устройство 384 перемещается вперед, штифты перемещаются вверх в зацеплении с наклонными частями 424. В результате этого штифты 418 перемещаются вверх и на верхней поверхности плиты 214. В этом положении протирающая часть 416 продолжает прохождение в прорези.
При перемещении вперед вытирающего устройства 384 протирающая часть 416 перемещается вперед по струйным соплам. Затем вытирающее усилие прилагается к протирающей части за счет контактирования вытирающего устройства 384 с поверхностью 412 находящегося сверху корпуса 388 коллектора 386. После того, как вытирающее устройство 384 переместится в полностью переднее положение, контроллер приводит в действие привод, чтобы вернуть направляющую перегородку 396 в ее первоначальное положение. При этом вытирающее устройство 384 перемещается влево, в результате чего протирающая часть 416 снова вытирает струйные сопла. Вытирающее устройство наконец возвращается в положение, в котором верхняя поверхность находится вровень с плитой. Эти вытирающие действия исключают скапливание краски вблизи сопел и сохраняют их надлежащее рабочее состояние. Также в представленном варианте осуществления эти действия, обеспечивающие надлежащее состояние струйных сопел, выполняются совместно с перемещением направляющей перегородки, которое предусматривает взятие пустых конвертов и прием конвертов в содержащий депозиты контейнер. Поэтому по причине взаимосвязи между заслонкой, функциями взятия конвертов и ухода за головкой действия по уходу за соплами головки выполняются, когда банкомат использует принтер. Разумеется, это техническое решение приводится в качестве примера, и в других вариантах осуществления можно использовать другие технические решения.
В представленном варианте осуществления обслуживающие процедуры можно выполнять для обслуживания и/или замены картриджа струйного принтера, коллектора краски и/или вытирающего устройства. В варианте осуществления обслуживание начинают с разблокирования замка для доступа в шкаф с выдвижным ящиком, в котором находится транспортирующее устройство. Согласно излагаемому ниже пояснению в варианте осуществления основание 144 депонирующего механизма подвижно установлено на салазках, чтобы его можно было выдвинуть из банкомата для удобного обслуживания. Согласно приводимому ниже более подробному пояснению это перемещение регулируют, чтобы свести к минимуму риск того, что обслуживающий персонал или лица, имеющие доступ в шкаф с выдвижным ящиком, получат ненадлежащий доступ к депонируемым объектам. Поэтому в некоторых вариантах осуществления обслуживающий персонал, имеющий доступ к хранилищной части банкомата и которому разрешено удалять содержащий депозиты контейнер, чтобы перемещать депонирующий механизм из банкомата, может это сделать, в результате чего проведение процедур обслуживания облегчается в еще большей степени.
В представленном варианте осуществления коллектор 386 может быть выполнен с возможностью быстрого выключения из опорного соединения с корпусом путем отсоединения штифтов 398, проходящих на головной части, от зацепляющих выемок на корпусе. Поэтому коллектор можно будет убрать от сопел струйного принтера и из банкомата. Затем обслуживающий персонал может открыть дверцу 400 на коллекторе, чтобы получить доступ к внутренней полости и удалить собравшуюся в ней краску. Альтернативно, обслуживающий персонал может заменить коллектор с краской другим коллектором, в котором нет скопившейся краски. Обслуживающий персонал может затем поместить освобожденный от краски коллектор или заменяющий коллектор в оперативное соединение с корпусом банкомата путем зацепления находящихся на нем штифтов с корпусом.
Помимо этого, предпочтительно одновременно с удалением коллектора из банкомата обслуживающий персонал может очистить или заменить вытирающее устройство. Это можно сделать отсоединением вытирающего устройства 384 от рычага 210. Это отсоединение позволит вытирающему устройству, включая находящуюся на нем протирающую часть, переместиться наружу из отверстия в плите 214, в котором обычно находится вытирающее устройство. После удаления вытирающего устройства обслуживающий персонал может очистить и/или осмотреть вытирающее устройство, поместить его в указанном отверстии и снова соединить вытирающее устройство с рычагом. Альтернативно, обслуживающий персонал может заменить вытирающее устройство на новое. В этом случае будет установлено заменяющее вытирающее устройство в отверстие плиты, и рычаг будет снова соединен. Обычно рациональнее заменять вытирающее устройство при снятом коллекторе; при этом коллектор будет вновь установлен в подвижном зацеплении с корпусом после повторной установки вытирающего устройства.
Альтернативно или дополнительно, во время обслуживания коллектора и/или вытирающего устройства можно заменить картридж 383 струйного принтера. Как упомянуто выше, картридж принтера установлен с возможностью его съема в опорном соединении с корпусом. Эта установка предпочтительно делается с помощью деформируемых элементов, которые обеспечивают надежное зацепление для картриджа и при этом обеспечивают отщелкивающееся отсоединение от корпуса и также от электрических соединений с картриджем. Заменяющий картридж можно затем установить в зацепление с корпусом. Согласно некоторым способам обслуживания обслуживающий персонал может заменить картридж, без удаления коллектора или вытирающего устройства или может удалить и/или заменить некоторые объекты без замены других объектов. Это будет зависеть от определенных обстоятельств и причин обслуживания.
Обычно после проведения обслуживания обслуживающий персонал включает банкомат, чтобы проверить работу транспортирующего устройства и принтера. Это можно сделать, например, при пропускании конверта через транспортирующее устройство и печати на нем маркировок. В представленном варианте осуществления обслуживающий персонал делает в банкомат один или несколько вводов, чтобы контроллер дал команду принтеру напечатать проверочные маркировки для проверки надлежащей работы принтера. После того, как будет проверена должная работа принтера и действие транспортирующего устройства, корпус можно будет закрыть и вернуть банкомат в эксплуатацию. Разумеется, эти способы приводятся в качестве примера, и в других вариантах осуществления можно использовать другие способы.
Содержащий депозиты контейнер 128 и его соответствующее строение, используемое в представленном варианте осуществления, далее описываются со ссылкой на фиг.58-66. Согласно представленному варианту осуществления контейнер 128 имеет корпус 426, обычно сделанный из жесткой пластмассы. Корпус 426 имеет пару проходящих в наружном направлении краевых частей, являющихся фиксирующими кромками 428 и расположенных горизонтально, когда контейнер находится в рабочем положении. Выступающая часть 430 проходит по контейнеру по существу вертикально вверх над кромками 428. В этом варианте осуществления выступающая часть имеет множество отверстий 432.
Размеры рамы 434 подобраны такими, что зацепляют выступающую часть 430. Рама 434 имеет выступающие зажимные элементы, выполненные с возможностью зацепления с отверстиями 432 в выступающей части. Согласно фиг.60 рама 434 имеет поверхности, располагающиеся и над, и под выступающей частью 432.
По существу гибкая жалюзийная дверца 436 зацепляется с рамой 434. Жалюзийная дверца 436 предпочтительно выполнена из пластмассы и имеет по существу жесткую концевую часть 438 и по существу гибкую часть 440. Гибкая часть в этом варианте осуществления состоит из соединенных поперечно проходящих створок (пластинок). Концевая часть 438 имеет по существу жесткий проходящий вверх выступ 442, назначение которого подробно поясняется ниже. Поперечные концы гибкой части 440 имеют множество Т-образных закрывающих выступов 444. Согласно фиг.60 рама 434 имеет выполненную углубленную дорожку 446 на каждой его поперечной стороне. Выступы 444 входят в дорожку и могут перемещаться в ней.
Крышка 448 надевается с защелкиванием на раму 434. Крышка 448 имеет дорожку 450, которая соответствует дорожке 446 и располагается над выступами 444. Дорожки образуют окружающую дорожку, которой ограничивается перемещение выступов крышки. Крышка 448 зацепляется с рамой 434 фиксировано, так, что после их взаимного соединения их нельзя легко разъединить, и поэтому выступы 444, прикрепленные к жалюзийной дверце, могут скользить в дорожках 446 и 450 для избирательного открывания и закрывания жалюзийной дверцей отверстия 452, которое проходит через крышку. При перемещении жалюзийной дверцы в открытое положение гибкая часть этой дверцы перемещается внутрь контейнера. В представленном варианте осуществления крышка 448 также имеет отверстие 454 для установки в нем цилиндрического отпираемого ключом замка. Отпираемый ключом замок в отверстии 454 можно использовать в излагаемых ниже целях. Также в представленном варианте осуществления рукоятка 456 шарнирно установлена в соединении с проушинами 458, которые сформованы в корпусе 426.
В представленном варианте осуществления содержащий депозиты контейнер 128 с возможностью его съема установлен в хранилищной части банкомата. При работе этого варианта осуществления в хранилищную часть могут иметь доступ только уполномоченные лица. Однако в этом варианте осуществления другие компоненты депонирующего механизма, такие как компоненты на основании 144, установлены в хранилищной части и за ее пределами. Хотя это выполнение облегчает обслуживание этих компонентов за пределами хранилищной части, оно может представлять собой некоторые риски. Не имеющие соответствующего разрешения лица, которые получают доступ к банкомату снаружи хранилищной части, могут попытаться получить доступ внутрь содержащего депозиты контейнера через отверстие 204 поддона, которое соответствует отверстию в разделительной стенке, ограничивающей сверху хранилищную часть. Это можно сделать путем перемещения механизмов, которые обеспечивают выдачу конвертов и перемещение конвертов в наружный конец 122 и из него. В вариантах осуществления, согласно которым механизмы установлены в опорном соединении с хранилищной частью таким образом, что препятствуют удалению этих механизмов, это техническое решение может обеспечить соответствующую защищенность.
В других вариантах осуществления может быть желательным облегчение обслуживания депонирующего механизма, установленного над защищенной хранилищной частью. В некоторых вариантах осуществления это делается установкой основания 144 в подвижном опорном соединении с салазками 460 (фиг.8). В представленном варианте осуществления салазки находятся в опорном соединении с разделительной стенкой, и их можно использовать для перемещения основания и депонирующего механизма, и компонентов на них из рабочего положения, чтобы облегчить их обслуживание. В некоторых вариантах осуществления дверцу для обслуживания позади банкомата, ведущую в шкаф, можно отмыкать и открывать, и основание и прочие соответствующие компоненты можно перемещать наружу на салазках 460. Поскольку в этих вариантах осуществления имеется риск того, что неуполномоченные лица могут получить доступ к участку над хранилищной частью и переместить механизм, чтобы получить доступ к отверстию для конвертов наверху хранилищной части, то может стать целесообразным предоставление механизма для снижения этого риска. В варианте осуществления это делается с помощью блокирующего механизма, показываемого на фиг.63-66.
Согласно представленному варианту блокирующего механизма контейнер 128 установлен в защищенной хранилищной части путем зацепления нижней стороны каждой кромки 428 вдоль каждой предельной стороны контейнера с проходящим внутрь выступом 462, расположенным на каждой стороне контейнера (см. фиг.65). Благодаря выступам 462 контейнер можно вводить в рабочее положение и выводить из него, когда дверца защищенной хранилищной части отперта и открыта. В представленном варианте осуществления ориентация контейнера и дверцы хранилищной части такова, что контейнер невозможно вывести из рабочего положения, пока не будет открыта дверца хранилищной части. Защелка 464 блокирующего механизма, поворачиваемая на шарнире 466, имеет выступ 468. Выступ 468 выровнен с отверстием 470 в разделительной стенке, ограничивающей хранилищную часть, и контактирует с отверстием 472 в основании 144, когда основание находится в рабочем положении.
Когда содержащий депозиты контейнер 128 установлен в рабочем положении в хранилищной части, защелка 464 зацепляется с крышкой 448, в результате чего выступ 468 проходит полностью вверх и зацепляется с отверстием основания 472. Это показано, например, на фиг.63 и 64. В этом положении выступа 468 основание 144 не может перемещаться на салазках 460 в положение обслуживания, в котором депонирующий механизм перемещается от отверстия для конвертов. Поэтому, когда содержащий депозиты контейнер находится в хранилищной части так, что он может содержать депозиты, то неуполномоченные лица, имеющие доступ к шкафу, по существу не могут переместить основание, чтобы получить доступ к отверстию в хранилищной части для последующего доступа к депозитам.
Но в обстоятельствах, когда хранилищная часть открыта и содержащий депозиты контейнер удален из нее, указывая, что уполномоченное лицо получило доступ к этим депозитам, основание можно будет переместить в соединении с салазками 460. Это становится возможным по той причине, что содержащая депозиты кассета скидывает защелку 464, отводя выступ 468 из отверстия 472. За счет этого обеспечивается перемещение к основанию 144 в опорном соединении с салазками 460 в положение, в котором депонирующий механизм проходит вне корпуса. Разумеется, нужно упомянуть, что этот способ приводится в качестве примера, и в других вариантах осуществления можно использовать другие блокирующие механизмы.
Еще один выгодный аспект изобретения заключается в возможности автоматического открытия жалюзийной дверцы, когда содержащий депозиты контейнер вводится в рабочее положение, и в возможности автоматического запирания жалюзийной дверцы, когда содержащий депозиты контейнер удален из банкомата. В представленном варианте осуществления это делается с помощью запирающего механизма 476, показываемого на фиг.62 и 67. Запирающий механизм 474 имеет поворотный элемент 476, который оперативно соединен с отпираемым ключом цилиндром и который выполнен с возможностью поворота снаружи кассеты при помощи соответствующего ключа в отпираемом ключом цилиндре. Поворот элемента 476 против часовой стрелки согласно фиг.67 обусловливает зацепление и поворот по часовой стрелке защелки 478 на шарнире. Защелка 478 имеет блокирующий выступ 480. После его перемещения в открытое положение блокирующий выступ временно удерживается в ней собачкой 482. Собачка 482 имеет продолжение 484, которое удерживает защелку 478 в незаблокированном положении, противодействуя отклоняющему усилию пружины 486, которая принудительно перемещает защелку 478 в направлении против часовой стрелки.
В варианте осуществления доступ к защелке 482 осуществляется через отверстие 488 в раме 434. Плоская часть 490 собачки 483 смещается к проему под смещающим усилием пружины 492 (показано схематически).
Замыкающий выступ 494 выполнен на внутренней поверхности концевой части 438 жалюзийной дверцы 436. Выступ 494 зацепляет блокирующий выступ 480 на защелке 478, когда защелка 478 находится в положении, показываемом на фиг.62. В представленном варианте осуществления за счет этого обеспечивается возможность защелкивания жалюзийной дверцы и удерживания ее в закрытом положении. Согласно фиг.62 и 67, после открытия ключом замка защелка 478 удерживается в положении согласно фиг.67 собачкой 482 в зацеплении с ней. В этом положении жалюзийную дверцу можно открыть и закрыть, поскольку замыкающий выступ 494 может свободно перемещаться в область вблизи блокирующего выступа 480 и из него.
Затем, если дверца готова к запиранию перемещением собачки 484, то защелка 478 переместится под смещающим усилием в положение, показываемое на фиг.62. Это обычно делается за счет введения рычажного штифта или другого выступа через отверстие 488, чтобы зацепить плоскую часть 490 собачки. После того, как защелка 478 будет перемещена в это положение, последующее закрытие жалюзийной дверцы обусловит зацепление замыкающего выступа 494 с защелкой 478 и удержание его в зацеплении с ним, пока поворотный элемент 476 не будет повернут против часовой стрелки с помощью отпираемого ключом замка. Это делается в соответствии с представленным вариантом осуществления настоящего изобретения для обеспечения возможности введения содержащего депозиты контейнера в его рабочее положение; и затем в результате этого жалюзийная дверца содержащего депозиты контейнера автоматически закроется и будет заперта при его удалении.
Согласно фиг.66 проходящий вниз зацепляющий рычаг 496 зацепляет направленный вверх выступ 422 жалюзийной дверцы при перемещении контейнера в рабочее положение в банкомате. При перемещении содержащего депозиты контейнера на место и когда замок находится в отомкнутом положении, жалюзийная дверца открывается за счет скользящего перемещения, нужного для установки ее на место. В представленном варианте осуществления содержащий депозиты контейнер можно установить с открытой или закрытой жалюзийной дверцей, и если дверца закрыта, то она будет открыта при установке. Причем зацепляющий рычаг согласно варианту осуществления находится в выемке 498, выполненной в концевой части 438 жалюзийной дверцы (см. фиг.69). За счет этого зацепляющий рычаг зацепляет жалюзийную дверцу в выемке 498 так, что когда содержащий депозиты контейнер удален из банкомата, то жалюзийная дверца перемещена в закрытое положение. Затем дополнительное усилие, прилагаемое к контейнеру, перемещает зацепляющий рычаг 491 из углубления и позволяет удалить содержащий депозиты контейнер из банкомата.
Также в варианте осуществления штифт установлен в соответствующем положении относительно содержащего депозиты контейнера в корпусе банкомата таким образом, что когда содержащий депозиты контейнер полностью вставлен в рабочее положение, штифт проходит через отверстие 488 и перемещает собачку 482. Поэтому, хотя блокирующий механизм 474 первоначально находится в открытом положении согласно фиг.67, когда контейнер вставлен в банкомат, расцепление собачки перемещает замок в положение, показываемое на фиг.62, когда жалюзийная дверца открыта. Затем, когда содержащий депозиты контейнер будет удален, запирающий выступ 489 зацепляет замыкающий выступ 494, удерживая жалюзийную дверцу в закрытом положении, чтобы защитить депозиты в нем, пока контейнер не будет разблокирован персоналом, имеющим соответствующий ключ. За счет этого облегчается обработка депонируемых объектов и сводится к минимуму риск утери. Также в варианте осуществления, поскольку компоненты контейнера имеют описываемую выше конструкцию, попытки недозволенного доступа к депозитам в контейнере оставят сразу заметные признаки факта получения недозволенного доступа. Разумеется, эти технические решения приводятся в качестве примера, и в других вариантах осуществления можно использовать другие технические решения.
Еще один полезный аспект представленного варианта осуществления содержащего депозиты контейнера заключается в том, что, хотя конструкции таковы, что указывают факт попытки их вскрытия, тем не менее, уполномоченный персонал может заменить жалюзийные дверцы в случаях, если та износилась или по иной причине нуждается в замене. Согласно фиг.59 и 61 представленный вариант осуществления дорожки 446 в раме 443 имеет на своей нижней части ломкую часть, указанную как секция 500. При этом крышка 448 имеет выемку 502 в кромке над дорожкой 450, соответствующую ломкой части 500. Разумеется, нужно отметить, что, хотя эти признаки показаны только на одной стороне контейнера, варианты осуществления имеют эти признаки в дорожках, находящихся на каждой стороне.
Согласно фиг.59 ломкая секция 500 может сломаться на одной стороне при открытии дверцы, и тогда ставшая подвижной часть сместится вверх на одной стороне в выемку 502. В результате этого получится обращенное внутрь отверстие в дорожке. Затем за счет перемещения жалюзийной дверцы в направлении стрелки Х и вниз внутрь контейнера, жалюзийную дверцу можно отделить от дорожек путем перемещения выступов из дорожек. После того, как она будет отделена от дорожек, жалюзийную дверцу можно удалить из контейнера через отверстие и установить новую жалюзийную дверцу с помощью выступов 444, проходящих в дорожках. Затем ломкую секцию можно вернуть в ее первоначальную ориентацию, ограничивающую дорожку, и новая жалюзийная дверца будет действовать согласно излагаемому выше способу. Последующие замены дверцы можно выполнить перемещением ранее отломанной секции 500 в выемку. Таким образом, в варианте осуществления жалюзийные дверцы, которые могут сломаться, износиться или повредиться, могут быть заменены уполномоченными лицами, без разборки и повторной сборки верхних частей кассеты. За счет этого облегчается выполнение вариантов осуществления с обеспечением по существу постоянного прикрепления различных компонентов; и при этом обеспечиваются излагаемые выше свойства по обеспечению указания на факт попытки вскрытия содержащих депозиты контейнеров. Также в альтернативных вариантах осуществления ломкая секция может иметь секцию, ограничивающую дорожку и подвижную, но для которой не нужна первоначальная поломка поверхности, ограничивающей дорожку. В этом описании «ломкой секцией» считается секция, выполненная с возможностью деформирования для отделения от смежной поверхности, чтобы позволить жалюзийной дверце отделяться от дорожки не взирая на то, нужна ли поломка элемента. Разумеется, эти признаки приводятся в качестве примера, и в других вариантах осуществления можно использовать другие технические решения.
Как упоминалось выше, в представленном варианте осуществления основание 144, на котором установлены компоненты депонирующего механизма, расположенные вне хранилищной части, можно подвижно установить в опорном соединении с салазками 460 корпуса. За счет этого депонирующий механизм можно выдвигать из корпуса для обслуживания и затем возвращать механизм обратно в рабочее положение. В этих вариантах осуществления оправа 242 на наружном конце 122 транспортирующего устройства должна быть выровнена с соответствующим отверстием на лицевой стороне банкомата. При этом необходимо обеспечить выравнивание оправы с этими отверстиями лицевой стороны. Чтобы свести к минимуму необходимость точного выравнивания лицевой стороны в некоторых вариантах осуществления, секции лицевой стороны, находящиеся в опорном соединении с корпусом, выполнены с возможностью их перемещения по отношению к другим частям лицевой стороны. Это показано на фиг.60 и 70 в соединении с примерной лицевой пластиной 504. Лицевая пластина 504 находится в оперативном соединении с внешней лицевой стороной банкомата. Пластина установлена таким образом, что она подвижна в двух (2) измерениях по отношению к нему. Это взаимодействие достигается в представленном варианте осуществления за счет структуры типа сандвич, но могут также использоваться и другие технические решения.
Согласно фиг.69 задняя часть лицевой пластины 504 содержит пару боковых направляющих 506 и вертикальную направляющую 508. Также в этом варианте осуществления лицевая пластина 504 содержит выступы 510, которые формируют углубление, в которое оправа 242 может помещаться с выравниванием.
В результате, когда депонирующий механизм перемещается из обслуживающего положения, в котором он выходит из банкомата на направляющих 460 в рабочее положение, оправа 242 зацепляет направляющие 506, 508 и 510 и перемещает лицевую пластину 504 относительно лицевой стороны в соответствующее положение, в результате чего отверстие 512 в лицевой пластине соответствует местоположению оправы и отверстию приема депозитов в оправе. Нужно отметить, что этот вариант осуществления устраняет необходимость обеспечения точного выровненного взаимного расположения между устройствами и лицевой стороной, так как подвижная лицевая пластина может компенсировать небольшую несоосность. Разумеется, нужно отметить, что эти признаки можно применить и для других устройств, которые нужно сопрягать с лицевой стороной банкомата. Разумеется, нужно отметить, что эти конструкции, поясняемые в связи с депонирующим механизмом, являются примерными, и в других вариантах осуществления можно использовать другие технические решения.
Представленные варианты осуществления позволяют контроллеру и другим схемам банкомата определять условия, которые могут указывать состояния и проблемы депонирующего механизма или других компонентов банкомата. В этом варианте осуществления это выполняется датчиками, схематически показываемыми на фиг.68. Эти датчики в варианте осуществления содержат выходной датчик 248, который определяет конверт или другие объекты вблизи наружного конца 122 транспортирующего устройства. Помимо этого, представленный вариант осуществления изобретения имеет датчик 514 середины транспортирующего устройства, аналогичный датчику 248, который определяет конверты или другие объекты в транспортирующей секции и который можно использовать вместе с детектирующими пальцами, которые проходят согласно приводимому выше пояснению в прорезях 312 в секции 290. Упоминаемый выше датчик 232, который также может быть аналогичным датчику 248, определяет конверты или другие объекты на плите вблизи зазора 188. Датчик 516 положения заслонки определяет положение заслонки по положению исполнительного элемента 360. Внутренний датчик 518 заслонки определяет положение направляющей пластины 196 относительно основания 144. В варианте осуществления по меньшей мере два (2) датчика используются в этих целях, чтобы содействовать определению направляющей перегородки в разных положениях. Датчик 520 наполненности контейнера предусмотрен в области, через которую конверты проходят в контейнер, чтобы определить, наполнен ли контейнер. Также датчик 522 наличия контейнера предусмотрен для определения факта установки кассеты в надлежащем положении в банкомате. Наконец, датчик 524 печатающей головки определяет рабочее положение и также другие свойства печатающей головки. Разумеется, эти датчики в их соответствующих положениях в механизме приводятся в качестве примера. Можно также использовать дополнительные или другие типы датчиков. Также в связи с вариантами осуществления этих функций можно использовать датчики различных типов. Например, несмотря на то, что контактные датчики упомянуты в связи с выходным датчиком 248, датчиком 232 и датчиком 514 середины транспортирующего устройства, возможно использовать альтернативно или дополнительно другие типы датчиков, такие как фотоприемники, радиационные датчики, индуктивные датчики, звуковые датчики, емкостные датчики, датчики напряжения, датчики тока или другие типы датчиков.
В работе представленного варианта осуществления датчики обычно контролируются на предмет изменений состояния и направляют сигналы, сообщающие контроллеру или другим схемам о каком-либо изменении состояния. При этом, когда контроллер не дал команду механизму на выполнение функции, вызывающей это событие, асинхронное событие отмечается соответствующими средствами программного обеспечения. Характер этого события отмечается, и контроллер может выполнить действие в соответствии со своей программой для выполнения надлежащей функции. Например, если объект определен в транспортирующем устройстве датчиком середины транспортирующего устройства, в случае, когда контроллер не включался для того, чтобы направить объект на транспортирующее устройство, то контроллер можно запрограммировать на указание ненормального состояния. Контроллер может сообщить соответствующей обслуживающей организации или другим учреждениям на возможные попытки незаконного вскрытия банкомата.
Аналогично, когда банкомат выдает конверты или принимает конверты, то контроллер действует в соответствии с программой, чтобы определить, осуществляют ли датчики надлежащие действия в должной последовательности и в соответствующее время. Эти события сравнивают во время работы контроллера с запомненными данными в информационном складе, соответствующем последовательностям событий, ожидаемым в ходе этих действий. Если в течение этих действий происходит аномальное событие или аномальная последовательность событий, то компьютер будет действовать в соответствии со своими программами, чтобы исправить аномальное событие и/или зарегистрировать попытки незаконного вскрытия и сообщить о них. Например, если пользователь запрашивает выполнение транзакции депонирования и если заслонка сразу перемещается в открытое положение, присутствие данного объекта определяется выходным датчиком в транспортирующем устройстве до определения конверта датчиком 514 середины транспортирующего устройства, то вероятно, что кто-то пытается ввести инструмент взлома в транспортирующее устройство. В этих случаях контроллер может дать банкомату команду переместить направляющую перегородку 196 в закрытое должным образом положение, чтобы предотвратить доступ в содержащий депозиты контейнер. Аналогично, контроллер может дать команду согласно своим программам отправить сообщение соответствующему персоналу с уведомлением о подозреваемом факте вскрытия. Дополнительно или альтернативно, контроллер может дать команду соответствующим камерам или устройствам сигнализации дать сообщение об этом событии и зафиксировать такую информацию, как изображения, показывающие человека, работавшего с банкоматом во время возникновения события. Разумеется, эти технические решения приводятся в качестве примера, и в других вариантах осуществления можно использовать другие технические решения.
Представленные варианты осуществления изложены относительно депонируемых объектов, которыми являются конверты, но принципы изобретения не ограничиваются этими объектами. Принципы настоящего изобретения можно применить для билетов, чеков, платежных поручений, векселей и других типов, которые можно в качестве депозита ввести в банкомат или выдавать их из него. Помимо этого, описываемые здесь принципы можно применить для ситуаций, когда операторам таких систем нужно принять денежные депозиты или другие объекты. Специалистам в данной области техники из приводимого выше описания будут очевидными многочисленные альтернативные технические решения в рамках описываемых здесь принципов.
Таким образом, описываемые здесь устройства и способы решают по меньшей мере некоторые из сформулированных выше задач, устраняют трудности, возникающие во время использования устройств и систем известного уровня техники, решают проблемы и обеспечивают получение упоминаемых выше результатов.
В приводимом выше описании определенные термины использованы для краткости, ясности и пояснения, но из них не следуют ненужные ограничения, так как эти термины используются в описательных целях и подразумевают широкое истолкование. Помимо этого, приводимое описание и пояснения даны в качестве примеров, и изобретение не ограничивается только показываемыми и излагаемыми подробностями.
В приводимой ниже формуле изобретения любой признак, указываемый как средство для выполнения функции, должен истолковываться как включающий в себя любое средство, известное специалистам в данной области техники как способное выполнять упоминаемую функцию, и его не следует считать ограничиваемым каким-либо определенным средством, упоминаемым в излагаемое выше описании или лишь его эквивалентами.
После изложения признаков, раскрытий и принципов изобретения, способа его создания и действия, и получаемых преимуществ и целесообразных результатов обладающие новизной и целесообразные конструкции, устройства, элементы, компоновки, детали, сочетания, системы, оборудование, действия, способы и взаимосвязи излагаются ниже в прилагаемой формуле изобретения.
Формула изобретения
1. Банкомат, содержащий корпус; по меньшей мере одно устройство ввода в опорном соединении с корпусом и выполненное с возможностью приема по меньшей мере одного ввода от каждого пользователя банкомата; механизм выдачи наличных в опорном соединении с корпусом; контейнер, содержащий пустые конверты и находящийся в опорном соединении с корпусом; контейнер, содержащий депозитные конверты и находящийся в опорном соединении с корпусом; депонирующий механизм, который перемещает пустой конверт из содержащего пустые конверты контейнера через отверстие для депонирования, проходящее через корпус наружу банкомата, и перемещает принятый в отверстии для депонирования депозитный конверт в контейнер, содержащий депозитные конверты.
2. Банкомат по п.1, отличающийся тем, что корпус содержит верхний шкаф и защищенную хранилищную часть под верхним шкафом, причем к содержащему пустые конверты контейнеру доступ осуществляется в верхнем шкафу и содержащий депозиты контейнер расположен в защищенной хранилищной части.
3. Банкомат по п.2, отличающийся тем, что также содержит дверцу шкафа, подвижно установленную в опорном соединении с корпусом и выполненную с возможностью контроля доступа внутрь шкафа, и также содержит замок шкафа, оперативно соединенный с дверцей шкафа и выполненный с возможностью перемещения между запертым и отомкнутым положениями, причем в запертом состоянии замка шкафа дверца шкафа предотвращает доступ внутрь шкафа.
4. Банкомат по п.3, отличающийся тем, что также содержит дверцу хранилищной части, подвижно установленную в опорном соединении с корпусом и выполненную с возможностью контроля доступа внутрь хранилищной части, и также содержит замок хранилищной части в оперативном соединении с дверцей хранилищной части и выполненный с возможностью перемещения между запертым и отомкнутым положениями, причем в запертом состоянии замка хранилищной части ее дверца предотвращает доступ внутрь хранилищной части.
5. Банкомат по п.4, отличающийся тем, что также содержит разделительную стенку в корпусе, при этом разделительная стенка отделяет друг от друга внутреннее пространство хранилищной части и внутреннее пространство шкафа, и разделительная стенка имеет отверстие для депонирования, при этом депонирующий механизм пропускает депозитные конверты в отверстие для депонирования.
6. Банкомат по п.5, отличающийся тем, что депонирующий механизм подвижно установлен в опорном соединении с разделительной стенкой, причем в открытом положении дверцы шкафа депонирующий механизм может перемещаться в опорном соединении с разделительной стенкой из рабочего положения в положение обслуживания, при этом депонирующий механизм выходит из корпуса.
7. Банкомат по п.6, отличающийся тем, что контейнер пустых конвертов подвижно установлен в опорном соединении с разделительной стенкой.
8. Банкомат по п.7, отличающийся тем, что контейнер пустых конвертов установлен в опорном соединении с депонирующим механизмом, причем в положении обслуживания депонирующего механизма контейнер пустых конвертов выходит из корпуса.
9. Банкомат по п.6, отличающийся тем, что контейнер, содержащий депозитные конверты, подвижно установлен в опорном соединении с корпусом.
10. Банкомат по п.9, отличающийся тем, что контейнер, содержащий депозитные конверты, выполнен с возможностью перемещения между положением приема депозита, причем содержащий депозитные конверты контейнер принимает в себя депозитные конверты через отверстие для депонирования, и отведенным положением, в котором содержащий депозитные конверты контейнер отведен от отверстия для депонирования, чтобы не принимать в себя депозитные конверты через отверстие для депонирования.
11. Банкомат по п.10, отличающийся тем, что также содержит блокирующий механизм в оперативном соединении с содержащим депозитные конверты контейнером и депонирующим механизмом, депонирующий механизм предохраняется от перемещения в положение обслуживания, когда содержащий депозитные конверты контейнер находится в положении приема депозитов.
12. Банкомат по п.11, отличающийся тем, что депонирующий механизм подвижно установлен в опорном соединении с корпусом при помощи по меньшей мере одних салазок, причем в положении приема депозитов содержащего депозитные конверты контейнера исключена возможность перемещения в опорном соединении депонирующего механизма в положение обслуживания по меньшей мере с помощью одних салазок.
13. Банкомат по п.12, отличающийся тем, что содержащий депозитные конверты контейнер предохраняется от перемещения в отведенное положение, если замок хранилищной части не приведен в отомкнутое состояние.
14. Банкомат по п.13, отличающийся тем, что содержащий депозитные конверты контейнер выполнен с возможностью оперативного зацепления с дверцей хранилищной части и предотвращен от перемещения в отведенное положение, если дверца хранилищной части не перемещается, чтобы создать возможность доступа во внутреннее пространство хранилищной части.
15. Банкомат по п.12, отличающийся тем, что содержащий депозитные конверты контейнер установлен с возможностью его съема в опорном соединении с корпусом, при этом содержащий депозитные конверты контейнер выполнен с возможностью его удаления из хранилищной части, когда замок хранилищной части принимает отомкнутое положение.
16. Банкомат по п.11, отличающийся тем, что блокирующий механизм имеет подвижный зацепляющий элемент, который оперативно зацепляет содержащий депозитные конверты контейнер в положении приема депозита и отсоединяется от содержащего депозитные конверты контейнера, когда этот контейнер перемещается в отведенное положение.
17. Банкомат по п.16, отличающийся тем, что также содержит подвижную заслонку, причем заслонка выполнена с возможностью перемещения для избирательного блокирования отверстия для депонирования.
18. Банкомат по п.16, отличающийся тем, что также содержит по меньшей мере один контроллер в корпусе и по меньшей мере один привод в оперативном соединении по меньшей мере с одним контроллером, причем по меньшей мере один контроллер приводится избирательно в действие для перемещения заслонки.
19. Банкомат по п.18, отличающийся тем, что по меньшей мере один контроллер оперативно соединен с устройством выдачи наличных, при этом устройство выдачи наличных выдает наличность, реагируя на действие по меньшей мере одного контроллера.
20. Банкомат по п.19, отличающийся тем, что депонирующий механизм также содержит печатающую головку, причем депонирующий механизм оперативно соединен по меньшей мере с одним контроллером и по меньшей мере один контроллер дает команду для печати печатающей головкой маркировок на депозитных конвертах, перемещаемых депонирующим механизмом между отверстием для депонирования в корпусе и отверстием для депонирования депозитных конвертов в разделительной стенке.
21. Банкомат по п.20, отличающийся тем, что также содержит подвижное вытирающее устройство, выполненное с возможностью контактирования с печатающей головкой, при этом вытирающее устройство оперативно взаимно соединено с заслонкой, при этом вытирающее устройство перемещается при перемещении заслонки.
22. Банкомат по п.21, отличающийся тем, что также содержит по меньшей мере один ролик, зацепляемый по меньшей мере с одним кулачком, при этом заслонка и вытирающее устройство оперативно взаимно соединены посредством по меньшей мере одного ролика и кулачка.
23. Банкомат по п.20, отличающийся тем, что депонирующий механизм содержит захватное устройство пустого конверта, выполненное с возможностью перемещения одного за один раз пустого конверта из контейнера пустых конвертов, в ответ на команду контроллера.
24. Банкомат по п.23, отличающийся тем, что захватное устройство оперативно взаимосвязано с заслонкой; причем когда заслонка перемещается, захватное устройство зацепляет конверт и принудительно перемещает его из контейнера пустых конвертов.
25. Банкомат по п.24, отличающийся тем, что контейнер пустых конвертов удерживает стопу пустых конвертов в опорном соединении с опорным полом; причем когда заслонка перемещается, опорный пол также перемещается относительно корпуса.
26. Банкомат по п.24, отличающийся тем, что также содержит по меньшей мере один кулачок, причем заслонка и захватное устройство оперативно соединены через по меньшей мере один кулачок.
27. Банкомат по п.24, отличающийся тем, что также содержит подвижное вытирающее устройство, причем подвижное вытирающее устройство выполнено с возможностью контактирования с печатающей головкой, при этом вытирающее устройство оперативно взаимосвязано с заслонкой и захватным устройством и вытирающее устройство перемещается при перемещении заслонки.
28. Банкомат, содержащий корпус, по меньшей мере одно устройство ввода в опорном соединении с корпусом и выполненное с возможностью приема по меньшей мере одного ввода от каждого пользователя банкомата; механизм выдачи наличных в опорном соединении с корпусом; содержащий депозитные конверты контейнер в опорном соединении с корпусом, причем содержащий депозитные конверты контейнер приспособлен для удержания стопы пустых депозитных конвертов и имеет опорный пол, приспособленный для контакта с концевым конвертом, ограничивающим нижний конец стопы; по меньшей мере один подвижный захватный элемент вблизи опорного пола, выполненный с возможностью зацепления и перемещения концевого конверта из стопы в первом направлении из содержащего депозитные конверты контейнера; по меньшей мере один снимающий элемент, по существу предотвращающий перемещение других конвертов в стопе, кроме концевого конверта из содержащего депозитные конверты контейнера; по меньшей мере одно транспортирующее устройство, приспособленное для перемещения концевого конверта, которое перемещается в первом направлении от стопы к отверстию для депонирования и которое проходит через корпус, причем конверт в отверстии для депонирования доступен снаружи корпуса.
29. Банкомат по п.28, отличающийся тем, что опорный пол подвижно установлен в опорном соединении с корпусом, причем опорный пол перемещается вертикально по отношению к по меньшей мере одному захватному элементу, причем в первом вертикальном положении опорного пола концевой конверт расположен вертикально над по меньшей мере одним снимающим элементом и во втором вертикальном положении опорного пола концевой конверт зацепляется по меньшей мере одним захватным элементом.
30. Банкомат по п.29, отличающийся тем, что по меньшей мере один захватный элемент принудительно перемещает нижнюю сторону концевого конверта в первом направлении, при этом по меньшей мере один снимающий элемент содержит по меньшей мере одну упругую снимающую поверхность, зацепляющую верхнюю сторону концевого конверта и оказывающую сопротивление перемещению концевого конверта в первом направлении.
31. Банкомат по п.28, отличающийся тем, что по меньшей мере один захватный элемент принудительно перемещает нижнюю сторону концевого конверта в первом направлении и по меньшей мере один снимающий элемент содержит по меньшей мере одну упругую снимающую поверхность, зацепляющую верхнюю сторону концевого конверта и оказывающую сопротивление перемещению конверта в первом направлении.
32. Банкомат по п.30, отличающийся тем, что также содержит смещающее устройство, при этом смещающее устройство смещает вниз упругую снимающую поверхность.
33. Банкомат по п.30, отличающийся тем, что по меньшей мере одна упругая снимающая поверхность имеет конусообразную поверхность, проходящую под углом далее вниз с увеличением расстояния от стопы в первом направлении.
34. Банкомат по п.32, отличающийся тем, что по меньшей мере одна упругая снимающая поверхность имеет конусообразную поверхность, проходящую под углом далее вниз с увеличением расстояния от стопы в первом направлении.
35. Банкомат по п.30, отличающийся тем, что по меньшей мере один захватный элемент имеет множество подвижных элементов, отстоит поперечно один от другого по отношению к первому направлению, при этом по меньшей мере одна снимающая поверхность расположена между парой непосредственно смежных подвижных элементов, причем концевому конверту, зацепляемому по меньшей мере с одной снимающей поверхностью, придается поперечная волнистая конфигурация.
36. Банкомат по п.35, отличающийся тем, что по меньшей мере один из множества захватных элементов содержит по меньшей мере одну зубчатую часть, причем по меньшей мере одна зубчатая часть, будучи зацепляемой с одним концевым конвертом, прилагает дополнительное усилие, чтобы перемещать концевой конверт в первом направлении.
37. Банкомат по п.36, отличающийся тем, что множество захватных элементов имеют верхние пролеты из множества бесконечных транспортирующих лент.
38. Банкомат по п.35, отличающийся тем, что также содержит подвижную опору, при этом опорный пол подвижно установлен в опорном соединении с корпусом при помощи подвижной опоры, причем подвижная опора отстоит во втором направлении, противоположном первому направлению, относительно по меньшей мере одного снимающего элемента.
39. Банкомат по п.35, отличающийся тем, что также содержит подвижную толкающую пластину, выполненную с возможностью располагаться в области хранения пустых конвертов, причем толкающая пластина приспособлена для смещения стопы в сторону опорного пола.
40. Банкомат по п.39, отличающийся тем, что толкающая пластина подвижно установлена в опорном соединении с корпусом и выполнена с возможностью перемещения между смещающим положением, в котором толкающая пластина проходит в контейнер пустых конвертов и смещает стопу вниз, и положением доступа, в котором толкающая пластина выходит из контейнера пустых конвертов, причем в положении доступа пустые конверты пригодны для ввода по меньшей мере одного из них в контейнер пустых конвертов или удаления из него.
41. Банкомат по п.40, отличающийся тем, что при перемещении между смещающим положением и положением доступа толкающая пластина перемещается и вертикально, и поворотно по отношению к корпусу.
42. Банкомат по п.35, отличающийся тем, что также содержит отверстие для депонирования для приема депонируемого материала, расположенное в корпусе и между снимающим элементом и по меньшей мере одним транспортирующим устройством, причем депонируемый материал может приниматься в отверстии для депонирования и перемещаться по меньшей мере одним транспортирующим устройством к отверстию для депонирования.
43. Банкомат по п.42, отличающийся тем, что также имеет содержащий депонируемый материал контейнер, установленный в опорном соединении с корпусом, причем депонируемые материалы перемещаются к отверстию для депонирования при помощи по меньшей мере одного перемещения транспортирующего устройства в содержащий депонируемые материалы контейнер.
44. Банкомат по п.28, отличающийся тем, что также содержит содержащий депонируемые материалы контейнер, установленный в опорном соединении с корпусом, причем депонируемые материалы можно принимать в отверстии для депонирования и перемещать по меньшей мере при помощи одного перемещения транспортирующего устройства в содержащий депонируемые материалы контейнер.
45. Банкомат по п.42, отличающийся тем, что также содержит подвижную заслонку и привод в оперативном соединении с заслонкой, причем привод избирательно перемещает заслонку между блокирующим положением, в котором заслонка блокирует отверстие для депонирования, и открытым положением, в котором депонируемые материалы могут проходить через отверстие для депонирования.
46. Банкомат по п.45, отличающийся тем, что опорный пол оперативно взаимосвязан с заслонкой, причем при перемещении заслонки относительно корпуса опорный пол перемещается между первым вертикальным положением и вторым вертикальным положением.
47. Банкомат по п.45, отличающийся тем, что также содержит по меньшей мере один кулачок в оперативном соединении с поверхностью пола, при этом поверхность пола перемещается, реагируя на действие по меньшей мере одного кулачка.
48. Банкомат по п.47, отличающийся тем, что также содержит пластинчатый элемент, по существу подвижно установленный горизонтально в опорном соединении с корпусом, при этом пластинчатый элемент содержит заслонку в опорном соединении с ним, причем пластинчатый элемент имеет по меньшей мере одну прорезь, при этом по меньшей мере один кулачок перемещается, реагируя на зацепление по меньшей мере с одной прорезью.
49. Банкомат по п.48, отличающийся тем, что также содержит по меньшей мере один контроллер в корпусе и по меньшей мере одну печатающую головку, выполненную с возможностью печати маркировок на депозитных конвертах в транспортирующем устройстве, при этом по меньшей мере один контроллер оперативно соединен по меньшей мере с одной печатающей головкой и приводом.
50. Банкомат по п.49, отличающийся тем, что также содержит вытирающий элемент, установленный с возможностью перемещения в опорном соединении с корпусом и приспособленный для контакта с печатающей головкой, при этом вытирающее устройство оперативно соединено с пластинчатым элементом, причем вытирающий элемент перемещается при перемещении пластинчатого элемента.
51. Банкомат по п.48, отличающийся тем, что также содержит по меньшей мере одни салазки, при этом пластинчатый элемент подвижно установлен в опорном соединении с корпусом при помощи по меньшей мере одних салазок и
также содержит содержащий депозитные материалы контейнер, выполненный с возможностью перемещения между положением приема депозита, в котором депозитные материалы могут перемещаться через отверстие для депонирования во внутреннюю область содержащего депозитные материалы контейнера, и отведенным положением, в котором внутренняя область не является доступной через отверстие для депонирования, и также содержит блокирующий механизм в оперативном соединении с пластинчатым элементом и содержащим депозитные материалы контейнером, причем перемещение пластинчатого элемента в опорном соединении с салазками ограничено блокирующим механизмом, когда содержащий депозитные материалы контейнер находится в положении приема депозитов.
52. Банкомат по п.51, отличающийся тем, что также содержит по меньшей мере один контроллер и по меньшей мере один шаговый электродвигатель в оперативном соединении по меньшей мере с одним контроллером, причем по меньшей мере один шаговый электродвигатель оперативно соединен по меньшей мере с одной из множества транспортирующих лент, причем контроллер дает команду шаговому электродвигателю для осуществления вибрации по меньшей мере одной ленты.
53. Банкомат по п.28, отличающийся тем, что также содержит по меньшей мере один контроллер и по меньшей мере один шаговый электродвигатель в оперативном соединении по меньшей мере с одним контроллером, при этом по меньшей мере один шаговый электродвигатель оперативно соединен по меньшей мере с одним захватным элементом и оперативно реагирует на команду по меньшей мере одного контроллера для осуществления вибрации по меньшей мере одного захватного элемента.
54. Банкомат содержащий корпус; устройство ввода в опорном соединении с корпусом, принимающее по меньшей мере один ввод от каждого пользователя банкомата; механизм выдачи листов в опорном соединении с корпусом и выполненный с возможностью выдачи листов из банкомата; устройство выдачи конвертов, имеющее поверхность, поддерживающую пустые конверты и приспособленную для опирания стопы пустых конвертов; по меньшей мере один захватный элемент, выполненный с возможностью его перемещения вблизи опорной поверхности; привод, оперативно соединенный с опорной поверхностью; причем привод перемещает опорную поверхность относительно корпуса таким образом, что ограничивающий стопу концевой конверт, опирающийся на опорную поверхность, оперативно зацепляется одним захватным элементом и перемещается относительно стопы; по меньшей мере одно транспортирующее устройство для транспортирования концевого конверта после его перемещения относительно стопы к отверстию для депонирования в корпусе причем конверт доступен снаружи корпуса.
55. Банкомат по п.54, отличающийся тем, что также содержит по меньшей мере один снимающий элемент вблизи по меньшей мере одного захватного элемента, при этом по меньшей мере один снимающий элемент имеет по меньшей мере одну расположенную под углом снимающую поверхность, причем расположенная под углом снимающая поверхность зацепляет концевой конверт и по существу препятствует перемещению из стопы других конвертов, кроме концевого конверта.
56. Банкомат по п.54, отличающийся тем, что также содержит отверстие для депонирования в корпусе, при этом концевой конверт перемещается в зацепление по меньшей мере с одним транспортирующим устройством над отверстием для депонирования, причем депозитные конверты, вводимые в отверстие для депонирования, чтобы депонироваться в банкомат, перемещаются в корпус по меньшей мере одним транспортирующим устройством и перемещаются к отверстию для депонирования.
57. Банкомат, содержащий корпус; по меньшей мере устройство ввода в опорном соединении с корпусом, принимающее по меньшей мере один ввод от каждого пользователя банкомата; механизм выдачи наличных; транспортирующее устройство, выполненное с возможностью транспортирования депозитных объектов между отверстием для депонирования в корпусе и областью хранения депозитов в корпусе; печатающую головку для печати маркировок на депозитных объектах, перемещаемых по транспортирующему устройству; вытирающее устройство, подвижно установленное в опорном соединении с корпусом и выполненное с возможностью контактирования с печатающей головкой; привод в оперативном соединении с вытирающим устройством; по меньшей мере один контроллер в корпусе, причем по меньшей мере один контроллер оперативно соединен по меньшей мере с одним устройством ввода, механизмом выдачи наличных, транспортирующим устройством, печатающей головкой и приводом, при этом по меньшей мере один контроллер дает команду вытирающему устройству для контактирования с печатающей головкой.
58. Банкомат по п.57, отличающийся тем, что вытирающее устройство имеет упругую протирающую часть, при этом печатающая головка имеет сопла для краски, причем протирающая часть перемещается по соплам.
59. Банкомат по п.57, отличающийся тем, что также содержит заслонку, подвижно установленную в опорном соединении с корпусом, причем заслонка выполнена с возможностью перемещения между блокирующим положением, в котором она проходит между по меньшей мере одним транспортирующим устройством и областью хранения депозитов, и открытым положением, в котором депозитные объекты могут перемещаться от транспортирующего устройства в область хранения депозитов.
60. Банкомат по п.59, отличающийся тем, что заслонка оперативно соединена с приводом, посредством чего заслонка и вытирающее устройство оперативно взаимосвязаны.
61. Банкомат по п.58, отличающийся тем, что транспортирующее устройство содержит плиту, имеющую поверхность зацепления объекта, и по меньшей мере один примыкающий пролет транспортирующей ленты вблизи поверхности зацепления объектов, причем когда протирающая часть вытирающего устройства не контактирует с соплами, внешняя поверхность вытирающего устройства проходит по существу вровень с поверхностью зацепления объектов.
62. Банкомат по п.61, отличающийся тем, что депозитные объекты перемещаются по транспортирующему устройству в первом направлении, при этом вытирающее устройство перемещается в первом направлении, перемещая протирающую часть над соплами.
63. Банкомат по п.62, отличающийся тем, что плита имеет по меньшей мере одну направляющую поверхность в опорном соединении с ней, причем по меньшей мере одна направляющая поверхность направляет протирающую часть для перемещения по соплам.
64. Банкомат по п.63, отличающийся тем, что также содержит подвижную пластину в опорном соединении с корпусом, при этом вытирающее устройство оперативно соединено с пластиной и перемещается, реагируя на ее перемещение, причем пластина имеет заслонку в опорном соединении с ней, при этом заслонка, реагируя на перемещение пластины, перемещается между блокирующим положением, в котором заслонка проходит между транспортирующим устройством и областью хранения депозитов, и открытым положением, в котором заслонка не проходит между транспортирующим устройством и областью хранения депозитов.
65. Банкомат по п.64, отличающийся тем, что также содержит устройство выдачи пустых конвертов в корпусе, причем устройство выдачи пустых конвертов избирательно доставляет пустой конверт из запаса пустых конвертов в банкомате, при этом пустой конверт доставляется транспортирующим устройством в отверстие для депонирования.
66. Банкомат по п.65, отличающийся тем, что устройство выдачи пустых конвертов оперативно соединено с пластиной и выдает пустой конверт, реагируя на перемещение пластины.
67. Банкомат по п.58, отличающийся тем, что также содержит емкость в оперативном соединении с корпусом, причем емкость содержит отверстие напротив сопел, причем отверстие емкости принимает краску из сопел, которая не наносится на депозитные объекты.
68. Банкомат по п.67, отличающийся тем, что емкость также содержит внутреннюю полость и по меньшей мере один порог, проходящий во внутренней полости, причем по меньшей мере один порог обеспечивает возможность сбора краски в полости, без ее вытекания из емкости через отверстие.
69. Банкомат по п.68, отличающийся тем, что емкость имеет подвижный элемент доступа, выполненный с возможностью перемещения относительно емкости, причем подвижный элемент доступа обеспечивает доступ в полость в емкости.
70. Банкомат по п.69, отличающийся тем, что емкость подвижно установлена в опорном соединении с корпусом.
71. Банкомат по п.70, отличающийся тем, что емкость подвижно установлена в опорном соединении с корпусом при помощи шарнира.
72. Банкомат по п.71, отличающийся тем, что сопла направлены по существу вверх, при этом емкость расположена по существу над печатающей головкой, причем емкость смещается для поворотного ее движения вокруг шарнира и принуждает отверстия емкости располагаться вблизи сопел.
73. Банкомат по п.72, отличающийся тем, что емкость содержит первую контурную наружную поверхность такую, что депозитные объекты, перемещающиеся из отверстия для депонирования к области хранения депозитов, зацепляют первую контурную наружную поверхность и принудительно перемещаются к соплам.
74. Банкомат по п.70, отличающийся тем, что депозитные объекты, перемещающиеся из отверстия для депонирования к области хранения депозитов, зацепляют и перемещают емкость относительно корпуса.
75. Банкомат по п.73, отличающийся тем, что также содержит в корпусе устройство выдачи пустых конвертов, при этом пустые конверты перемещаются на транспортирующем устройстве из устройства выдачи конвертов к отверстию для депонирования.
76. Банкомат по п.75, отличающийся тем, что емкость имеет вторую контурную наружную поверхность, причем вторая контурная наружная поверхность направляет конверты, перемещающиеся на транспортирующем устройстве к отверстию для депонирования, для перемещения между соплами и отверстием емкости.
77. Банкомат по п.70, отличающийся тем, что емкость съемно установлена в опорном соединении с корпусом.
78. Банкомат по п.67, отличающийся тем, что емкость проходит над соплами, причем емкость содержит внутреннюю полость для краски, при этом полость проходит вертикально под отверстием емкости.
79. Банкомат по п.67, отличающийся тем, что емкость подвижно установлена в опорном соединении с корпусом, причем емкость контактирует с депозитными объектами на транспортирующем устройстве и перемещается ими.
80. Банкомат по п.66, отличающийся тем, что также содержит емкость, имеющую внутреннюю полость, причем емкость подвижно установлена в опорном съемном соединении с корпусом, при этом сопла направляют краску по существу вверх, причем емкость имеет отверстие, по существу выровненное с соплами, при этом краска из сопел, не наносимая на депозитные объекты, поступает в отверстие емкости, причем емкость имеет по меньшей мере одну полость, ограничиваемую внутренним порогом, при этом краска, поступающая в емкость через отверстие емкости, удерживается в полости, и за счет порога по существу исключен ее выход из емкости через отверстие емкости, при этом емкость содержит расположенный на ней подвижный элемент доступа, причем доступ к краске в полости для ее удаления обеспечивается за счет перемещения подвижного элемента доступа, при этом емкость содержит по меньшей мере одну контурную наружную поверхность, причем по меньшей мере один конверт из пустых конвертов и депозитных объектов, перемещающийся в первом направлении на транспортирующем устройстве, контактирует по меньшей мере с одной контурной наружной поверхностью и в результате этого он направляется между соплами и отверстием емкости.
81. Банкомат, содержащий механизм выдачи наличных; принтер, имеющий сопла; транспортирующее устройство, перемещающее депозитные объекты в банкомат, причем принтер печатает маркировки на депозитных объектах за счет выпуска краски из сопел, вытирающее устройство, установленное в банкомате с возможностью перемещения и приспособленное для вытирания сопел.
82. Банкомат по п.81, отличающийся тем, что депозитные объекты включают в себя по меньшей мере один объект из следующих объектов: депозитные конверты, пустые конверты и листы.
83. Банкомат по п.81, отличающийся тем, что также содержит съемную емкость, имеющую внутреннюю полость для краски, и отверстие емкости по существу напротив сопел, причем краска из сопел, не наносимая на депозитные объекты, проходит через отверстие емкости.
84. Банкомат, содержащий корпус; механизм выдачи наличных в опорном соединении с корпусом; по меньшей мере одно устройство ввода в опорном соединении с корпусом и принимающее вводы каждого пользователя банкомата; транспортирующее устройство, перемещающее объекты между отверстием в корпусе, причем доступ к объектам в отверстии имеется снаружи банкомата, и по меньшей мере одной областью хранения объектов в корпусе; транспортирующее устройство, имеющее по существу гладкую несущую поверхность, имеющую криволинейную часть; по меньшей мере один подвижный пролет транспортирующей ленты, смещаемый в зацепление с криволинейной частью несущей поверхности, при этом объекты перемещаются между отверстием и по меньшей мере одной областью хранения, находясь между по меньшей мере одним пролетом транспортирующей ленты и криволинейной частью несущей поверхности, образуя структуру типа сандвич.
85. Банкомат по п.84, отличающийся тем, что также содержит по меньшей мере один первый смещающий ролик, подвижно установленный в опорном соединении с корпусом и перемещаемый от несущей поверхности, при этом по меньшей мере один первый смещающий ролик смещает по меньшей мере один пролет транспортирующей ленты к криволинейной части несущей поверхности, причем по меньшей мере один первый смещающий ролик расположен вблизи первого конца криволинейной части несущей поверхности.
86. Банкомат по п.85, отличающийся тем, что также содержит по меньшей мере один второй смещающий ролик, подвижно установленный в опорном соединении с корпусом и выполненный с возможностью перемещения от несущей поверхности, при этом по меньшей мере один второй смещающий ролик смещает по меньшей мере один пролет транспортирующей ленты к криволинейной части несущей поверхности, причем по меньшей мере один второй смещающий ролик расположен вблизи второго конца криволинейной части несущей поверхности, причем второй конец находится по существу напротив первого конца.
87. Банкомат по п.86, отличающийся тем, что также содержит пружину, причем по меньшей мере один второй смещающий ролик смещается к несущей поверхности этой пружиной.
88. Банкомат по п.87, отличающийся тем, что по меньшей мере один второй смещающий ролик содержит пару отстоящих друг от друга роликов, контактирующих с одним пролетом транспортирующей ленты, при этом каждый из роликов смещается к несущей поверхности за счет усилия, прилагаемого по меньшей мере одной пластинчатой пружиной.
89. Банкомат по п.87, отличающийся тем, что криволинейная часть содержит по меньшей мере одно отверстие, причем по меньшей мере один опорный ролик расположен в этом по меньшей мере одном отверстии.
90. Банкомат по п.81, отличающийся тем, что криволинейная часть содержит по меньшей мере одно отверстие, причем по меньшей мере один опорный ролик расположен в этом по меньшей мере одном отверстии.
91. Банкомат по п.90, отличающийся тем, что по меньшей мере одно отверстие ограничено поперечно парой противоположных углублений, причем каждый опорный ролик оперативно соединен с противоположными частями вала, проходящими от них, причем каждая из частей вала расположена в углублении.
92. Банкомат по п.89, отличающийся тем, что по меньшей мере одно отверстие ограничено поперечно парой противоположных углублений, причем каждый опорный ролик оперативно соединен с противоположными частями вала, проходящими от него, причем каждая из частей вала расположена в углублении.
93. Банкомат по п.92, отличающийся тем, что по меньшей мере один опорный ролик выровнен по меньшей мере с одним пролетом ленты и зацепляет по меньшей мере один пролет транспортирующей ленты, когда объект не находится на транспортирующем устройстве между по меньшей мере одним пролетом транспортирующей ленты и по меньшей мере одним опорным роликом.
94. Банкомат по п.93, отличающийся тем, что несущая поверхность имеет множество поперечно разнесенных прорезей и множество подвижных элементов датчика, причем каждый элемент датчика расположен с возможностью перемещения в каждой из прорезей, при этом объекты, перемещающиеся в транспортирующем устройстве, зацепляют и перемещают по меньшей мере один из элементов датчика, в результате чего определяются находящиеся на транспортирующем устройстве объекты.
95. Банкомат по п.84, отличающийся тем, что несущая поверхность включает в себя множество поперечно разнесенных прорезей и множество подвижных элементов датчиков, причем каждый элемент датчика с возможностью перемещения расположен в каждой прорези, причем перемещающиеся на транспортирующем устройстве объекты зацепляют и перемещают по меньшей мере один элемент датчика, в результате чего определяются объекты на транспортирующем устройстве.
96. Банкомат по п.94, отличающийся тем, что также содержит по меньшей мере один выходной ролик вблизи отверстия для депонирования и по меньшей мере одну бесконечную транспортирующую ленту в опорном соединении по меньшей мере с одним выходным роликом, при этом по меньшей мере одна бесконечная транспортирующая лента имеет по меньшей мере один пролет ленты.
97. Банкомат по п.96, отличающийся тем, что по меньшей мере один выходной ролик подвижно установлен в опорном соединении с корпусом и выполнен с возможностью перемещения от несущей поверхности.
98. Банкомат по п.97, отличающийся тем, что также содержит по меньшей мере один опорный ролик в опорном соединении с корпусом и под по меньшей мере одним выходным роликом.
99. Банкомат по п.97, отличающийся тем, что также содержит по меньшей мере один выходной вал, причем по меньшей мере один выходной ролик находится в опорном соединении по меньшей мере с одним выходным валом, при этом по меньшей мере один выходной вал подвижно установлен и вертикально, и поворотно в опорном соединении с корпусом.
100. Банкомат по п.99, отличающийся тем, что также содержит пару разнесенных по существу вертикальных боковых стенок, проходящих вблизи отверстия для депонирования, причем каждая боковая стенка имеет прорезь, при этом выходной вал выполнен с возможностью перемещения в прорези и относительно прорези.
101. Банкомат по п.100, отличающийся тем, что каждая прорезь является расположенной под углом прорезью, причем прорезь проходит ближе к отверстию для депонирования с увеличением расстояния от несущей поверхности.
102. Банкомат по п.99, отличающийся тем, что также содержит по меньшей мере одну направляющую в опорном соединении с корпусом, причем по меньшей мере одна направляющая направляет объекты, перемещающиеся на транспортирующем устройстве, по меньшей мере к одному выходному ролику по меньшей мере под одним выходным валом.
103. Банкомат по п.100, отличающийся тем, что также содержит пару противоположных направляющих, при этом каждая направляющая находится в опорном соединении с одной из боковых стенок, при этом направляющие направляют объекты, перемещающиеся на транспортирующем устройстве, по меньшей мере к одному выходному ролику по меньшей мере под одним выходным валом.
104. Банкомат по п.99, отличающийся тем, что также содержит по меньшей мере один выпуклый ролик в опорном соединении по меньшей мере с одним выходным валом.
105. Банкомат по п.99, отличающийся тем, что также содержит подвижную выходную заслонку, подвижно установленную в опорном соединении с корпусом и избирательно перемещающуюся для блокирования доступа между транспортирующим устройством и выходным отверстием.
106. Банкомат по п.84, отличающийся тем, что по меньшей мере один пролет транспортирующей ленты находится в опорном соединении по меньшей мере с одним выходным роликом вблизи выходного отверстия, причем по меньшей мере один выходной ролик подвижно установлен и поворотно, и вертикально в опорном соединении с корпусом.
107. Банкомат по п.106, отличающийся тем, что по меньшей мере один выходной ролик находится в опорном соединении с выходным валом; также содержит по меньшей мере одну направляющую, причем по меньшей мере одна направляющая направляет объекты, перемещающиеся на транспортирующем устройстве, по меньшей мере к одному выходному ролику под выходным валом.
108. Банкомат по п.106, отличающийся тем, что по меньшей мере один выходной ролик находится в опорном соединении с выходным валом; также содержит по меньшей мере один выпуклый ролик в опорном соединении с выходным валом.
109. Банкомат по п.99, отличающийся тем, что также содержит продолжающую часть, причем продолжающая часть включает в себя наружную часть несущей поверхности, при этом продолжающая часть с возможностью отсоединения зацепляется с транспортирующим устройством, причем выходной вал находится в опорном соединении с продолжающей частью.
110. Банкомат по п.84, отличающийся тем, что транспортирующее устройство содержит продолжающую часть, причем продолжающая часть с возможностью отсоединения зацепляется с транспортирующим устройством, при этом продолжающая часть включает в себя часть несущей поверхности.
111. Банкомат по п.109, отличающийся тем, что область хранения объектов содержит область хранения депозитных конвертов, причем депозитные конверты перемещаются в корпусе от отверстия в корпусе по транспортирующему устройству в область хранения объектов.
112. Банкомат по п.111, отличающийся тем, что также содержит устройство выдачи пустых конвертов в корпусе, причем пустые конверты перемещаются в транспортирующем устройстве к отверстию в корпусе.
113. Банкомат по п.112, отличающийся тем, что также содержит зазор в корпусе вблизи первого смещающего ролика, причем депозитные конверты, перемещающиеся по транспортирующему устройству, перемещаются в область хранения объектов через зазор.
114. Банкомат по п.113, отличающийся тем, что пустые конверты, выдаваемые устройством выдачи в банкомате, перемещаются через зазор и зацепляются с пролетом транспортирующей ленты, причем пустые конверты перемещаются на транспортирующем устройстве к отверстию в корпусе.
115. Банкомат по п.114, отличающийся тем, что также содержит заслонку, подвижно установленную в опорном соединении с корпусом, причем заслонка выполнена с возможностью ее перемещения под зазором.
116. Банкомат по п.114, отличающийся тем, что корпус содержит хранилищную часть и шкаф, отделенные друг от друга разделяющей стенкой, причем отверстие для депонирования проходит в разделительной стенке под зазором, причем депозитные конверты перемещаются через отверстие для депонирования в область хранения.
117. Банкомат по п.116, отличающийся тем, что также содержит подвижный содержащий депозиты контейнер, съемным образом установленный в хранилищной части, причем содержащий депозиты контейнер ограничивает область хранения.
118. Способ эксплуатации банкомата, согласно которому
а) при перемещении депозитных конвертов в банкомате осуществляют перемещение вала, установленного в цилиндрическом отверстии ролика, поддерживающего транспортирующую ленту для перемещения депозитных конвертов, для зацепления и ввода, по меньшей мере, одного проходящего радиально внутрь деформируемого штыря, соединенного с корпусом ролика в кольцевую выемку вала для обеспечения сопротивления осевому перемещению ролика относительно вала; b) поворачивают ролик относительно вала, по меньшей мере одним штырем, проходящим в указанной кольцевой выемке, таким образом, что зацепляют транспортирующей лентой депозитный конверт в банкомате.
119. Способ по п.118, отличающийся тем, что c) перемещение вала относительно цилиндрического отверстия ролика осуществляют вблизи второго конца корпуса напротив первого конца для зацепления кольцевой плоской поверхности корпуса ролика с радиально направленной наружу кольцевой поверхностью уступа на валу.
120. Способ по п.119, отличающийся тем, что кольцевую плоскую поверхность зацепляют с поверхностью уступа на этапе (с), когда по меньшей мере один штырь вводят в кольцевую выемку вала на этапе (b).
121. Способ по п.120, отличающийся тем, что, по меньшей мере, один штырь смещают внутрь в осевом направлении наружу от первого конца цилиндрического отверстия ролика,
d) поворачивают ролик относительно вала, по меньшей мере, одним штырем, проходящим в кольцевой выемке.
122. Способ по п.121, отличающийся тем, что корпус имеет соединенное с ним множество проходящих в радиальном направлении внутрь штырей, причем на этапе (d) множество штырей перемещают в кольцевой выемке.
123. Способ по п.122, отличающийся тем, что также перемещают вал относительно по меньшей мере одной прорези корпуса, реагируя на зацепление депозитного конверта лентой.
124. Способ по п.123, отличающийся тем, что проводят вал в еще одном цилиндрическом отверстии в еще одном корпусе еще одного ролика банкомата; перемещают вал относительно другого одного цилиндрического отверстия для зацепления по меньшей мере одного другого проходящего в радиальном направлении внутрь штыря, соединенного с одним другим корпусом в одной другой кольцевой выемке вала, причем зацепление по меньшей мере одного другого штыря с одной другой кольцевой выемкой вала оказывает сопротивление осевому перемещению одного другого ролика относительно вала.
125. Способ по п.124, отличающийся тем, что один другой штырь располагают вблизи одного другого первого осевого конца одного другого корпуса и перемещают вал относительно одного другого цилиндрического отверстия для зацепления одной другой кольцевой плоской поверхности вблизи одного другого второго осевого конца одного другого первого конца, и одной другой проходящей в радиальном направлении наружу кольцевой поверхности уступа на валу.
126. Способ по п.125, отличающийся тем, что одна другая кольцевая плоская поверхность ролика зацепляет одну другую поверхность уступа вала, причем по меньшей мере один другой штырь проходит в одну другую кольцевую выемку.
127. Способ по п.126, отличающийся тем, что на этапе (b) вал перемещается относительно цилиндрического отверстия в первом осевом направлении, при этом вал перемещают относительно одного другого цилиндрического отверстия во втором осевом направлении, противоположном первому осевому направлению.
128. Способ по п.127, отличающийся тем, что также поворачивают один другой ролик относительно вала, по меньшей мере, с одним другим штырем в одной другой кольцевой выемке.
129. Банкомат, имеющий корпус, в котором подвижно установлен вал в опорном соединении с корпусом и транспортирующая лента, находящаяся в оперативном зацеплении с роликом, для перемещения наличных в банкомате, в корпусе ролика имеется сквозное цилиндрические отверстие, приспособленное для пропускания вала банкомата, ролик имеет кольцевую плоскую поверхность напротив первого конца сквозного цилиндрического отверстия вблизи его второго конца, при этом кольцевая плоская поверхность выполнена с возможностью зацепления с проходящей в радиальном направлении наружу кольцевой поверхностью уступа на валу, а ролик выполнен с возможностью поворота в опорном соединении с валом и удерживается в осевом положении относительно вала, множество проходящих в радиальном направлении внутрь деформируемых штырей в жестком опорном соединении с корпусом вблизи первого конца сквозного цилиндрического отверстия при этом штыри приспособлены для зацепления кольцевой выемки на валу и препятствуют осевому смещению ролика относительно вала.
130. Банкомат по п.129, отличающийся тем, что каждый штырь проходит и в радиальном направлении внутрь, и в осевом направлении наружу в первом направлении относительно корпуса ролика, при этом штыри при зацеплении с кольцевой выемкой препятствуют перемещению корпуса в первом направлении относительно вала.
131. Банкомат, содержащий корпус; механизм выдачи наличных в опорном соединении с корпусом; отверстие, проходящее в корпусе, причем объекты перемещаются по меньшей мере в корпус и из него через отверстие; заслонку, подвижно установленную в опорном соединении с корпусом и выполненную с возможностью перемещения между закрытым положением, в котором заслонка закрывает доступ снаружи в корпус через отверстие, и открытым положением, в котором доступ в корпус снаружи обеспечивается через отверстие; оправу, выполненную вокруг отверстия, причем оправа и заслонка имеют по меньшей мере один выступ взаимного зацепления и выемку, при этом в закрытом положении заслонки по меньшей мере один выступ находится в выемке.
132. Банкомат по п.131, отличающийся тем, что также содержит исполнительный элемент, имеющий криволинейную поверхность; причем заслонка перемещается между открытым и закрытым положениями, реагируя на перемещение исполнительного элемента.
133. Банкомат по п.132, отличающийся тем, что заслонка при перемещении между открытым и закрытым положениями перемещается по существу перпендикулярно исполнительному элементу.
134. Банкомат по п.133, отличающийся тем, что банкомат также содержит транспортирующее устройство, проходящее в банкомате вблизи отверстия, причем транспортирующее устройство ограничено по существу вертикально проходящей боковой стенкой, при этом исполнительный элемент подвижно установлен в опорном соединении с боковой стенкой.
135. Банкомат по п.134, отличающийся тем, что заслонка шарнирно установлена в опорном соединении с боковой стенкой.
136. Банкомат по п.135, отличающийся тем, что заслонка оперативно соединена с боковой стенкой посредством по меньшей мере одного шарнира и также содержит кулачковый следящий элемент в оперативном соединении с заслонкой, при этом кулачковый следящий элемент перемещается в зацеплении с криволинейной поверхностью, причем заслонка расположена на первой стороне шарнира, а кулачковый следящий элемент расположен на второй стороне шарнира напротив первой стороны.
137. Банкомат по п.136, отличающийся тем, что криволинейная поверхность ограничивает прорезь для кулачка, проходящую через исполнительный элемент.
138. Банкомат по п.137, отличающийся тем, что прорезь для кулачка имеет увеличенную область, причем кулачковый следящий элемент проходит через прорезь для кулачка в увеличенной области прорези для кулачка, причем, когда кулачковый следящий элемент отстоит от увеличенной области прорези для кулачка, то кулачковый следящий элемент не может отсоединиться от прорези.
139. Банкомат по п.138, отличающийся тем, что оправа включает в себя по меньшей мере одну боковую стенку, причем по меньшей мере одна боковая стенка проходит по меньшей мере над одним шарниром.
140. Банкомат по п.139, отличающийся тем, что исполнительный элемент перемещается по существу горизонтально, причем криволинейная поверхность содержит по меньшей мере две по существу горизонтально проходящие концевые части и по меньшей мере одну среднюю часть между концевыми частями, при этом заслонка перемещается между открытым и закрытым положениями, когда кулачковый следящий элемент зацепляет по меньшей мере одну среднюю часть.
141. Банкомат по п.138, отличающийся тем, что исполнительный элемент перемещается по существу горизонтально, причем криволинейная прорезь имеет две проходящие по существу горизонтально концевые части и среднюю часть между концевыми частями, причем заслонка перемещается между открытым и закрытым положениями, когда кулачковый следящий элемент перемещается в средней части, при этом увеличенная часть области прорези для кулачка ограничивает по меньшей мере одну из концевых частей.
142. Банкомат по п.141, отличающийся тем, что также содержит по меньшей мере один штифт в опорном соединении с боковой стенкой, причем исполнительный элемент содержит по меньшей мере одну исполнительную прорезь, причем по меньшей мере один штифт проходит по меньшей мере в одной исполнительной прорези и выполнен с возможностью перемещения относительно нее, причем исполнительный элемент перемещается в опорном соединении по меньшей мере с одним штифтом при перемещении заслонки между открытым и закрытым положениями.
143. Банкомат по п.142, отличающийся тем, что по меньшей мере одна исполнительная прорезь имеет увеличенную часть, причем по меньшей мере один штифт может проходить через по меньшей мере одну исполнительную прорезь только в ее увеличенной части и не может отсоединиться от исполнительной прорези, когда по меньшей мере один штифт расположен не в увеличенной части исполнительной прорези.
144. Банкомат по п.143, отличающийся тем, что при перемещении исполнительным элементом заслонки между открытым и закрытым положениями по меньшей мере один штифт располагается не в увеличенной части исполнительной прорези.
145. Банкомат по п.142, отличающийся тем, что транспортирующее устройство содержит по меньшей мере один ролик по меньшей мере на одном валу, при этом вал находится в опорном соединении с боковой стенкой.
146. Банкомат по п.145, отличающийся тем, что боковая стенка имеет по меньшей мере одну вертикально проходящую прорезь вала, при этом вал подвижно установлен в прорези вала.
147. Банкомат по п.146, отличающийся тем, что транспортирующее устройство перемещает объекты по существу в первом направлении, причем по меньшей мере один выступ и выемка выполнены удлиненными в первом направлении.
148. Банкомат по п.147, отличающийся тем, что заслонка имеет проходящую внутрь часть, причем проходящая внутрь часть имеет по меньшей мере одну выемку.
149. Банкомат по п.148, отличающийся тем, что по меньшей мере один выступ находится в опорном соединении с оправой вблизи нижней стороны отверстия.
150. Банкомат по п.149, отличающийся тем, что оправа и проходящая внутрь часть имеют множество взаимно зацепляющихся выступов и выемок.
151. Банкомат по п.150, отличающийся тем, что заслонка имеет проходящую в направлении наружу часть вблизи ее верхнего конца, при этом в закрытом положении заслонки проходящая в наружном направлении часть находится над отверстием и проходит позади оправы.
152. Банкомат по п.150, отличающийся тем, что также содержит содержащий депозиты контейнер в корпусе, причем транспортирующее устройство проходит между отверстием и содержащим депозиты контейнером, в результате чего транспортирующее устройство перемещает депозитные конверты к содержащему депозитные конверты контейнеру.
153. Банкомат по п.134, отличающийся тем, что также содержит содержащий депозитные конверты контейнер в корпусе, причем транспортирующее устройство проходит между отверстием и содержащим депозитные конверты контейнером, при этом транспортирующее устройство перемещает депозитные конверты к содержащему депозитные конверты контейнеру.
154. Банкомат по п.150, отличающийся тем, что также содержит устройство выдачи пустых конвертов в корпусе, выдающее пустые конверты, причем пустые конверты перемещаются на транспортирующем устройстве к отверстию.
155. Банкомат по п.153, отличающийся тем, что также содержит устройство выдачи пустых конвертов в корпусе, выдающее пустые конверты, причем пустые конверты перемещаются на транспортирующем устройстве к отверстию.
156. Банкомат по п.155, отличающийся тем, что также содержит зубчатую часть в оперативном соединении с исполнительным элементом, при этом исполнительный элемент выполнен с возможностью перемещения по зубчатой части.
157. Банкомат по п.156, отличающийся тем, что транспортирующее устройство содержит плиту, причем плита имеет множество прорезей, при этом прорези имеют удлиненную форму в первом направлении; также содержит множество элементов датчика, подвижно установленных в прорезях, в результате чего обеспечена возможность определения объектов на транспортирующем устройстве.
158. Банкомат по п.145, отличающийся тем, что также содержит по меньшей мере одну направляющую в опорном соединении с боковой стенкой, причем по меньшей мере одна направляющая направляет объекты, перемещающиеся к валу на транспортирующем устройстве, под валом.
159. Банкомат по п.157, отличающийся тем, что также содержит по меньшей мере одну направляющую в опорном соединении с боковой стенкой, при этом по меньшей мере одна направляющая направляет объекты к валу на транспортирующем устройстве, под валом.
160. Банкомат по п.150, отличающийся тем, что также содержит по меньшей мере один контроллер в оперативном соединении по меньшей мере с одним приводом, причем по меньшей мере один привод перемещает зубчатую часть, при этом контроллер определяет характеристику потребления электроэнергии привода, прикладываемую для закрытия заслонки, и дает команду приводу переместить заслонку в открытое положение в соответствии с определяемой характеристикой.
161. Банкомат по п.131, отличающийся тем, что также содержит привод в оперативном соединении с заслонкой и по меньшей мере один контроллер в оперативном соединении с приводом, причем по меньшей мере один контроллер определяет сопротивление, оказываемое приводу при перемещении заслонки в закрытое положение, и дает команду на открытие заслонки в соответствии с определяемым таким образом сопротивлением.
162. Банкомат по п.160, отличающийся тем, что также содержит по меньшей мере одно осветительное устройство в опорном соединении с оправой, причем по меньшей мере одно осветительное устройство оперативно соединено по меньшей мере с одним контроллером, причем по меньшей мере один контроллер дает команду по меньшей мере одному осветительному устройству на выполнение освещения по меньшей мере в то время, когда заслонка в открытом положении.
163. Банкомат по п.131, отличающийся тем, что также содержит по меньшей мере один контроллер в банкомате; также содержит по меньшей мере одно осветительное устройство в опорном соединении с оправой, причем по меньшей мере один контроллер управляет открытием и закрытием заслонки и включением по меньшей мере одного осветительного устройства, когда заслонка находится в открытом положении.
164. Банкомат по п.162, отличающийся тем, что также содержит лицевую пластину, подвижно установленную относительно корпуса, причем оправа зацепляется с лицевой пластиной.
165. Банкомат по п.164, отличающийся тем, что транспортирующее устройство подвижно установлено относительно корпуса, причем лицевая пластина имеет лицевое отверстие, лицевая пластина находится в оперативном соединении по меньшей мере с одной лицевой направляющей, при этом по меньшей мере одна лицевая направляющая направляет оправу в лицевое отверстие, когда транспортирующее устройство перемещается относительно корпуса.
166. Банкомат по п.165, отличающийся тем, что лицевая пластина выполнена подвижной относительно корпуса и вертикально, и горизонтально, причем по меньшей мере одна направляющая направляет оправу и вертикально, и горизонтально.
167. Банкомат по п.131, отличающийся тем, что также содержит лицевую пластину, подвижно установленную в опорном соединении с корпусом; при этом лицевая пластина оперативно зацепляет оправу и перемещается относительно корпуса за счет этого зацепления.
168. Способ эксплуатации банкомата, согласно которому (a) перемещают заслонку вблизи отверстия банкомата, содержащего устройство выдачи наличных между открытым положением и закрытым положением при помощи привода; причем в открытом положении по меньшей мере один объект может проходить через отверстие, а в закрытом положении отверстие блокировано заслонкой; (b) в течение по меньшей мере части этапа (а) контролируют по меньшей мере один параметр привода; (c) анализируют по меньшей мере один параметр, контролируемый на этапе (b) как функцию от времени, при помощи по меньшей мере одного контроллера в банкомате; (d) приводят в действие по меньшей мере один контроллер, чтобы банкомат выполнил по меньшей мере одно действие, реагируя на этап (с).
169. Способ по п.168, отличающийся тем, что этап (d) включает в себя действие для перемещения заслонки.
170. Способ по п.169, отличающийся тем, что этап (d) включает в себя приложение к заслонке вибрации при помощи привода.
171. Способ по п.170, отличающийся тем, что этап (d) включает в себя нагревание заслонки.
172. Способ по п.171, отличающийся тем, что этап (d) включает в себя применение антиобледенительного материала для заслонки.
173. Способ по п.172, отличающийся тем, что этап (d) включает в себя оповещение третьего лица, удаленного от банкомата.
174. Способ по п.173, отличающийся тем, что этап (d) включает в себя фиксирование данных, соответствующих по меньшей мере одному изображению, создаваемому устройством фиксирования изображения.
175. Способ по п.174, отличающийся тем, что этап (d) включает в себя передачу данных, соответствующих по меньшей мере одному изображению, в удаленное местоположение.
176. Способ по п.175, отличающийся тем, что на этапе (d) по меньшей мере одним контролируемым параметром является ток, отбираемый по меньшей мере одним приводом.
177. Способ по п.168, отличающийся тем, что этап (d) включает в себя этап определения по меньшей мере одного определяемого профиля тока от времени.
178. Способ по п.177, отличающийся тем, что этап (с) включает в себя сравнение по меньшей мере одного определенного профиля с ожидаемым профилем, который соответствует нормальной работе заслонки.
179. Способ по п.178, отличающийся тем, что на этапе (d) по меньшей мере одно осуществляемое действие выбирают из множества возможных действий, реагируя по меньшей мере одним действием, согласно которому по меньшей мере один определенный профиль изменяется относительно ожидаемого профиля.
180. Способ по п.179, отличающийся тем, что этап (с) включает в себя определение относительного местоположения между открытым и закрытым положениями заслонки, когда перемещению заслонки оказывается сопротивление.
181. Способ по п.180, отличающийся тем, что на этапе (а) заслонка перемещается из открытого положения в закрытое положение, причем этап (с) включает в себя определение столкновения заслонки с твердым или мягким объектом во время перемещения в закрытое положение.
182. Способ по п.181, отличающийся тем, что заслонка управляет доступом к принимающему депозит транспортирующему устройству, причем банкомат содержит содержащий депозиты контейнер, при этом подвижная заслонка выполнена с возможностью перемещения в банкомате между транспортирующим устройством и содержащим депозиты контейнером, причем этап (d) включает в себя действие по перемещению заслонки для блокирования области между транспортирующим устройством и контейнером.
183. Способ по п.182, отличающийся тем, что также (e) определяют объект по меньшей мере одним датчиком вблизи транспортирующего устройства; (f) с помощью по меньшей мере одного контроллера определяют, что данный объект определен не в ожидаемой последовательности; при этом заслонку закрывают на этапе (d), в зависимости от этапа (f).
184. Способ по п.168, отличающийся тем, что на этапе (b) по меньшей мере одним контролируемым параметром является ток, отводимый по меньшей мере одним приводом.
185. Способ по п.168, отличающийся тем, что этап (с) включает в себя определение по меньшей мере одного определяемого профиля по меньшей мере одного параметра в зависимости от времени.
186. Способ по п.185, отличающийся тем, что этап (с) включает в себя этап сравнения по меньшей мере одного определяемого профиля с ожидаемым профилем, соответствующий нормальной работе.
187. Способ по п.186, отличающийся тем, что на этапе (d) по меньшей мере одно действие выбирают по меньшей мере одним контроллером из множества возможных действий, которые можно попытаться выполнить, реагируя по меньшей мере одним действием, согласно которому по меньшей мере один определенный профиль изменяется относительно ожидаемого профиля.
188. Способ по п.168, отличающийся тем, что на этапе (а) заслонка перемещается из открытого положения в закрытое положение, причем на этапе (с) определяют, где именно заслонка сталкивается с сопротивлением между открытым и закрытым положениями.
189. Способ по п.168, отличающийся тем, что на этапе (а) заслонка перемещается из открытого положения в закрытое положение, причем на этапе (с) определяют, сталкивается ли заслонка при перемещении в закрытое положение с твердым или мягким препятствием.
190. Способ по п.189, отличающийся тем, что на этапе (d) выполняют действие, зависящее от того, с твердым или мягким препятствием, определяемым на этапе (с), сталкивается заслонка.
191. Способ по п.168, отличающийся тем, что отверстием является отверстие для депонирования, через которое в банкомат принимают депозитные объекты, причем до этапа (а) (e) открывают заслонку для приема депозитного объекта;
(f) при помощи по меньшей мере одного датчика в банкомате определяют, что данный депозитный объект вклад принят в банкомат; причем на этапе (а) заслонку перемещают из открытого положения в закрытое положение.
192. Способ по п.168, отличающийся тем, что отверстием является отверстие для депонирования в банкомате, через которое пустые конверты выдают пользователям; причем перед этапом (а) (e) открывают заслонку, чтобы выдать пустой депозитный конверт из банкомата;
(f) с помощью по меньшей мере одного датчика в банкомате определяют, что пустой депозитный конверт взят из банкомата; причем на этапе (а) заслонку перемещают из открытого положения в закрытое положение.
193. Способ по п.168, отличающийся тем, что также предусмотрено транспортирующее объекты устройство в банкомате, причем объекты перемещают в банкомате по меньшей мере либо к отверстию при помощи транспортирующего устройства, либо от отверстия, и в транспортирующем устройстве имеется множество датчиков, причем дополнительно
(e) определяют по меньшей мере один объект в банкомате по меньшей мере одним датчиком; (f) определяют, ожидать ли определение объекта во время его определения по меньшей мере одним контроллером; (g) реагируя на этап (f), на котором определено, что данный объект не ожидается для определения во время его определения, приводят в действие по меньшей мере один контроллер, чтобы выполнить по меньшей мере одно запрограммированное действие.
194. Способ по п.193, отличающийся тем, что по меньшей мере один контроллер дает команду на выполнение по меньшей мере одной транзакции и имеет в памяти по меньшей мере одну последовательность событий, определенных датчиками при выполнении транзакции, причем на этапе (f) определяют, имеется ли данный объект по меньшей мере в одной иной последовательности.
195. Способ по п.193, отличающийся тем, что банкомат имеет внутри содержащий депозиты контейнер и подвижную заслонку, перемещение которой управляет доступом к контейнеру через отверстие, а этап (g) предусматривает закрытие заслонки.
196. Способ по п.168, отличающийся тем, что этап (е) включает в себя придание заслонке вибрации от привода.
197. Способ по п.168, отличающийся тем, что этап (d) включает в себя нагревание заслонки.
198. Способ по п.168, отличающийся тем, что этап (d) включает в себя применение антиобледенительного материала для заслонки.
199. Способ по п.168, отличающийся тем, что этап (d) включает в себя оповещение третьего лица, удаленного от банкомата.
200. Способ по п.168, отличающийся тем, что этап (d) включает в себя фиксирование данных, соответствующих по меньшей мере одному изображению, устройством фиксирования изображения.
201. Способ по п.168, отличающийся тем, что этап (d) включает в себя передачу данных, соответствующих по меньшей мере одному изображению, в удаленное местоположение.
РИСУНКИ
MM4A – Досрочное прекращение действия патента СССР или патента Российской Федерации на изобретение из-за неуплаты в установленный срок пошлины за поддержание патента в силе
Дата прекращения действия патента: 10.03.2009
Извещение опубликовано: 27.06.2010 БИ: 18/2010
NF4A – Восстановление действия патента СССР или патента Российской Федерации на изобретение
Дата, с которой действие патента восстановлено: 20.07.2010
Извещение опубликовано: 20.07.2010 БИ: 20/2010
|
|