|
|
(21), (22) Заявка: 2003124588/09, 07.08.2003
(24) Дата начала отсчета срока действия патента:
07.08.2003
(30) Конвенционный приоритет:
15.08.2002 UA 2002086778
(43) Дата публикации заявки: 27.02.2005
(46) Опубликовано: 10.10.2007
(56) Список документов, цитированных в отчете о поиске:
RU 2103732 C1, 27.01.1998. RU 2183853 C2, 20.06.2002. US 6339764 А, 15.01.2002. WO 01/06338 А2, 19.07.2000.
Адрес для переписки:
61168, г. Харьков, а/я 1081, Н.В. Шевеле
|
(72) Автор(ы):
Лесовой Сергей Николаевич (UA)
(73) Патентообладатель(и):
Лесовой Сергей Николаевич (UA)
|
(54) СПОСОБ АВТОМАТИЗИРОВАННОГО УЧЕТА И ПРЕДСТАВЛЕНИЯ ИНФОРМАЦИИ О НАЛИЧИИ И ДВИЖЕНИИ ТОВАРОВ НА МЕСТЕ ХРАНЕНИЯ И ИХ ОТБОРА ДЛЯ РЕАЛИЗАЦИИ И ЭЛЕКТРОННАЯ СИСТЕМА ДЛЯ ЕГО ОСУЩЕСТВЛЕНИЯ
(57) Реферат:
Изобретение относится к системам автоматизации складского учета. Техническим результатом является повышение надежности и автономности работы склада. В способе информацию о товарных операциях на месте хранения поставляют в автоматизированную систему учета, хранят в памяти сетевого сервера, информацию о наличии товара на месте хранения получают путем идентификации по его штрих-коду, причем всю информацию о товарной операции, которую необходимо произвести, получают на склад из сетевой автоматизированной системы бухгалтерского учета и менеджмента при помощи электронно-бумажного тандема, представляющего собой совокупность электронной карточки с вмонтированной микросхемой (смарт-документа) и бумажного носителя информации о товарной операции, содержание смарт-документа перезаписывают и дополняют после выполнения товарной операции, а затем записывают эту информацию в центральную базу данных и учитывают бумажный носитель информации о товарной операции. Система реализует указанный способ. 2 н. и 9 з.п. ф-лы, 3 ил.
Изобретение относится к технологии автоматизированного учета движения товаров на месте хранения или ином месте оптовой реализации товаров и их отбора для реализации и может быть использовано в системах и способах автоматизации складского учета.
Известен способ автоматизированного учета и представления информации о наличии и движении товаров на месте хранения и их отбора для реализации, в соответствии с которым информацию о товарных операциях на месте хранения поставляют в автоматизированную систему учета путем ввода информации с первичного носителя информации об этой товарной операции путем сканирования или с клавиатуры с созданием электронного документа и хранят в памяти сетевого сервера в виде центральной базы данных сетевой автоматизированной системы учета и менеджмента со складской подсистемой, информацию о наличии товара на месте хранения получают путем идентификации по его штрих-коду, прочитанному сканнером мобильного рабочего места складской подсистемы сети предприятия, сравниваемому затем с электронной базой данных о штрих-кодах товаров, представленных для реализации и хранящимися в памяти сетевого сервера (пат. США №6339764 от 15.01.2002 г., МПК G06F 015/24).
Недостатком такого способа является то, что в процессе обработки бумажного документооборота происходит временная задержка в поставке информации, связанная с обработкой операторами значительных объемов бумажных документов, и искажение или потеря части этой информации операторами компьютерной сети предприятия.
Информация об ожидаемых поступлениях и отгрузках поступает в центральную компьютерную базу данных и далее является основой для распределения товаров по местам хранения, оптимизации оперирования ними, изготовления различных документов, в том числе и карт-заданий для людей, реально исполняющих директивы системы по отгрузкам и перемещениям товаров как вручную, так и при помощи средств механизации.
Но, при таком подходе к осуществлению способа, остается нерешенной проблема стыковки бумажных документов, в том числе и листов-заданий, поступающих от конкретных людей, которые исполняют действия, описанные в этих документах, а также получаемых сторонними организациями и людьми, и электронной базы данных предприятия с системной точки зрения (машина не умеет видеть, читать и понимать написанное или исправления в написанном, как человек), а также проблема поставки первичной информации в компьютерную систему с бумажных документов-носителей такой информации (счета, таможенные декларации, товарно-транспортные накладные и т.п.). То есть остается проблема «оцифровки» информации бумажных документов (перевода человекопонимаемой и человекочитаемой информации в машинопонимаемую и машиночитаемую), регламентирующих движение товаров на складе или ином месте оптовой реализации.
Главным недостатком известного способа является то, что происходит разделение во времени и в пространстве бумажных носителей информации о товарных операциях (документов) и их электронных представлений в системе автоматизированного управления и менеджмента, а их дальнейшая стыковка и соответствие между ними проблематичны.
Известна также электронная сетевая система автоматизированного учета и представления информации о наличии и движении товаров на месте хранения и их отбора для реализации, содержащая собственно сеть предприятия, состоящую из сетевого сервера, в памяти которого хранится центральная база данных, с монитором и клавиатурой, потребного количества сетевых стационарных рабочих мест различных подсистем с собственными мониторами, клавиатурами, принтерами, сканнерами, сетевым оборудованием, а также необходимым количеством мобильных рабочих мест (пат. США №6339764 от 15.01.2002 г., МПК G06F 015/24).
Основными недостатками такой системы является сложность и дороговизна создания и эксплуатации систем учета: отбор товара для доставки к месту, оборудованному системой идентификации (часто это неудобно или невозможно); сложная система специальных мест хранения, ассоциированных только с определенным товаром, с прилагаемой системой позиционирования складской техники; использование сложных кабельных систем или радиодоступа в организации автоматизированного учета движения товаров.
Основным недостатком современных способов и систем автоматизированного учета и представления информации о наличии и движении товаров на месте хранения и их отбора для реализации и электронных систем для их осуществления является противоречие между необходимостью иметь информацию о товарах в виде, удобном для использования человеком в работе, и в то же время, эта изменяемая человеком в процессе работы и учета, информация должна быть без ошибок поставлена в память электронно-вычислительных машин для последующей обработки и хранения. Использование знаний и навыков персонала предприятия является столь же необходимым, как и по возможности желательна более полная автоматизация учета всех операций, производимых с товаром. Особенно это актуально для предприятий с большими и протяженными складами, небольшим числом обслуживающего персонала, со значительным ассортиментом товаров и высокой скоростью работы по отпуску товаров, в сочетании с неудобством или невозможностью их перемещения с места на место или их доставки в особое выделенное место, оборудованное специальной техникой для идентификации и подсчета.
При построении складской сетевой системы или складской подсистемы сетевой системы на основе Ethernet-сети исключается возможность применения такой разработки для складов, удаленных на расстояние, большее, чем то, которое позволяет применять технологию Ethernet-сети.
В основу изобретения поставлено задачу – путем изменения способа и системы поставки информации в память ЭВМ, а также введения новых компонентов в электронную систему учета, устранить системные (принципиальные) недостатки, присущие известному способу автоматизированного учета и представления информации о наличии и движении товаров на месте хранения и их отбора для реализации и электронной системе для его осуществления, связанные с противоречием между восприятием информации человеком и ЭВМ, влияющие на точность и оперативность представления информации в электронной базе данных предприятия и оперирование с ней, а также обеспечить максимальное удобство работы персонала, с одновременным увеличением скорости, точности и эффективности работы при идентификации товаров для их учета и отбора на реализацию, в случае наличия больших протяженных складов, небольшого числа обслуживающего персонала, высокой скорости отпуска товаров, и нежелательность перемещения товаров с их мест хранения, а также минимизировать количество ошибок в этой работе с одновременным, возможным, удешевлением и упрощением разработки и эксплуатации таких систем. Устраняется разделение бумажных документов и их электронных первоисточников в памяти автоматизированной системы управления предприятием. Кроме этого предлагаемый подход позволяет повысить надежность и автономность работы складского хозяйства, даже в случае выхода из строя части оборудования или отсутствия связи с сетевым сервером предприятия.
Поставленная задача решается тем, что в способе автоматизированного учета и представления информации о наличии и движении товаров на месте хранения и их отбора для реализации, в соответствии с которым информацию о товарных операциях на месте хранения поставляют в автоматизированную систему учета путем ввода информации с первичного носителя информации об этой товарной операции путем сканирования или с клавиатуры с созданием электронного документа и хранят в памяти сетевого сервера в виде центральной базы данных сетевой автоматизированной системы учета и менеджмента со складской подсистемой, информацию о наличии товара на месте хранения получают путем идентификации по его штрих-коду, прочитанному сканером мобильного рабочего места складской подсистемы сети предприятия, сравниваемому затем с электронной базой данных о штрих-кодах товаров, представленных для реализации и хранящимися в памяти сетевого сервера, согласно изобретению всю информацию о товарной операции, которую необходимо произвести, получают на склад из сетевой автоматизированной системы бухгалтерского учета и менеджмента при помощи электронно-бумажного тандема, представляющего собой совокупность электронной карточки с вмонтированной микросхемой, именуемой смарт-документом, на которую занесена цифровая копия электронного документа, регламентирующего данную товарную операцию, и бумажного носителя информации о товарной операции, представляющего собой графическое изображение на бумаге электронного документа, содержание смарт-документа перезаписывают и дополняют после выполнения товарной операции, а затем записывают эту информацию в центральную базу данных и учитывают бумажный носитель информации о товарной операции.
Электронный документ, регламентирующий данную товарную операцию, копируют одновременно на смарт-документ, создавая его карточную электронную копию, и на бумажный носитель информации о товарной операции, создавая его твердую графическую копию.
Смарт-документ создают путем копирования данных с электронного документа посредством устройства записи/считывания электронных карточек с микросхемами.
Информацию о товарной операции копируют на месте хранения товаров со смарт-документа в память мобильного рабочего места складской подсистемы учета.
Содержание товарной операции заказывается смарт-документом, а информацию о результатах произведенной на месте хранения товаров товарной операции поставляют на сетевой сервер сети предприятия из памяти мобильного рабочего места путем ее синхронизации с памятью сетевого сервера, в том числе и через стационарное рабочее место оператора складской подсистемы.
Цифровую копию информации о результате произведенной товарной операции копируют из памяти мобильного рабочего места на смарт-документ в виде дополнения к исходному содержанию смарт-документа.
Смарт-документ с дополнениями к исходному содержанию копируют в память сетевого сервера, в том числе и через стационарное рабочее место оператора складской подсистемы, а коррекцию центральной базы данных, отражающую результат произведенной товарной операции, осуществляют исходя из сравнения исходного и дополненного содержания смарт-документа.
Результаты операции идентификации по штрих-коду товаров, заказанных обрабатываемым смарт-документом, и подсчет товаров в режиме «да/нет» определяют по командам, появляющимся на экране терминала мобильного рабочего места и/или звуковым сигналам, которые подаются устройствами мобильного рабочего места.
Поставленная задача решается также посредством того, что электронная сетевая система автоматизированного учета и представления информации о наличии и движении товаров на месте хранения и их отбора для реализации, содержащая собственно сеть предприятия, состоящую из сетевого сервера, в памяти которого хранится центральная база данных, с монитором и клавиатурой, потребного количества сетевых стационарных рабочих мест различных подсистем с собственными мониторами, клавиатурами, принтерами, сканерами, сетевым оборудованием, а также необходимым количеством мобильных рабочих мест, согласно изобретению снабжена по крайней мере двумя устройствами для записи машиночитаемой информации на пластиковые карты с микросхемами и считывания с них, причем одно из указанных устройств для записи и считывания информации размещено на стационарном рабочем месте оператора складской подсистемы, которое также оснащено устройством синхронизации памяти мобильных рабочих мест с памятью компьютера стационарного рабочего места оператора складской подсистемы.
Стационарное рабочее место оператора складской подсистемы выполнено в виде ветви intranet-сети предприятия. Intranet-сеть – это частная сеть ЭВМ в пределах, чаще всего, одного предприятия, в которой используется та же технология, что и в Internet. Такой подход позволяет снять ограничения по расстоянию, на которое может быть удален склад, от сетевого сервера предприятия, которые присущи реализациям, использующим технологию Ethernet. Кроме этого мобильные рабочие места не являются собственно элементами сети, то есть они – не сетевые машины. Это просто мобильные портативные ЭВМ, на которые через стационарное рабочее место оператора складской подсистемы копируется со смарт-документа необходимая для выполнения заказа информация. Это позволяет при реализации системы существенно упростить ее архитектуру и стоимость при одновременном улучшении показателя надежности и скорости работы.
Определение некоторых терминов, используемых в данном описании:
Смарт-документ – это пластиковая карточка со встроенным перезаписываемым чипом (микросхемой памяти), которая используется для записи цифровой копии первичного носителя информации о товарной операции (электронного документа) (и иной служебной информации) регламентирующего движение товаров, к которой относится данный электронный документ и карточка.
Логически неразрывная совокупность смарт-документа и бумажного документа, которая возникает при записи на микросхему памяти смарт-документа цифровой копии электронного документа и копировании его в виде бумажного документа на принтере, регламентирующего перемещение товаров названа электронно-бумажным тандемом.
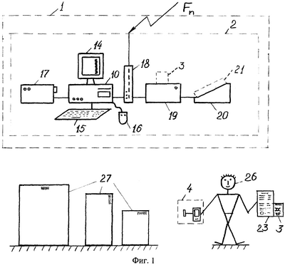
Изобретение поясняется чертежами, на которых представлены на:
фиг.1 – структурная схема электронной системы автоматизированного учета и представления информации о наличии и движении товаров на месте хранения и их отбора для реализации,
фиг.2 – смарт-документ и электронно-бумажный тандем,
фиг.3 – мобильное рабочее место, регулярно синхронизируемое с компьютером стационарного рабочего места оператора складской подсистемы.
Электронная система автоматизированного учета и представления информации о наличии товаров на месте хранения и их отбора для реализации (Фиг.1), представляющая собой intranet-сеть предприятия, содержит саму intranet-сеть предприятия 1, которая обслуживает разнородные потребности предприятия, стационарное рабочее место оператора склада 2 (их может быть несколько в случае нескольких удаленных складов), смарт-документы 3 (Фиг.2) (в потребных количествах) и мобильные рабочие места 4 (также в потребных количествах). В состав сети могут быть также включены другие специальные компоненты, например электронные весы для взвешивания сыпучих товаров, измерители линейных величин, различные счетчики и т.п.
Intranet-сеть предприятия состоит из стационарных (настольных) рабочих мест: стационарного рабочего места 5 (адрес этого компьютера в сети ааа.вв.с.100) и стационарного рабочего места 6 (адрес этого компьютера в сети ааа.вв.с.101) (число рабочих мест определено и ограничено только функциональными потребностями предприятия). Также в состав этой сети входят сетевой сервер 7 (адрес этого компьютера в сети ааа.вв.с.1), шлюз в Internet 8 (в сети этот компьютер имеет адрес ааа.вв.сс.2, а в Internet его адрес ddd.eee.kk.m). Также в состав сети входят кабельные и выделенные линии 9.
Связи сетевого сервера и удаленного компьютера 10 в сети (а стационарное рабочее место оператора склада 2 таковым обычно и является), в рамках Internet-технологий, осуществляется через DNS-сервер Internet-провайдера 11 (этот компьютер имеет в Internet-адрес ddd.eee.ppp.t). Ломаная стрелка-молния Fn символизирует то, что связь удаленного компьютера и сетевого сервера происходят через Internet.
Стационарные рабочие места оборудованы всеми необходимыми периферийными устройствами и имеют в составе периферии не менее одного принтера 12 для печатания бумажных копий электронных документов, и не менее одного SLIM-устройства 13 для записи карточных копий электронных документов.
Стационарное рабочее место оператора склада 2 (Фиг.1) содержит настольную удаленную ЭВМ intranet-сети предприятия 10 с монитором 14, клавиатурой 15, монитор-мышь 16, принтер 17 и сетевое оборудование 18 (модем).
Кроме того, стационарное рабочее место имеет устройство 19 для записи/считывания машиночитаемой информации со смарт-документов 3 и устройство 20 (док) для подсоединения и синхронизации терминалов мобильных рабочих мест 21 (Фиг.3) с сетью предприятия.
Стационарное рабочее место оператора склада 2 (Фиг.1) представляет собой intranet-сетевую ЭВМ, предназначенную для связи с сетевым сервером предприятия 7, на котором находятся базы данных, и поставки (записи в оперативную память, подсоединенных посредством специальных устройств – доков 20, терминалов мобильных рабочих мест 21) потребных для работы элементов баз данных, которые ассоциированы с товарами, описанными в обрабатываемом тандеме 22 (Фиг.2) в память мобильных рабочих мест 21, и возврата измененной информации из памяти мобильных рабочих мест 21 в память компьютера 10 стационарного рабочего места оператора складской подсистемы (Фиг.3), обратно на смарт-документ 3 и передачи ее на сетевой сервер 7.
Смарт-документ 3 предназначен для записи цифровой копии бумажного документа 23 (Фиг.2) (и иной служебной информации), регламентирующего любые движения товара на складе, и представляет собой обычную пластиковую карточку со встроенной перезаписываемой микросхемой (чипом) памяти (наподобие банковской карточки) для размещения потребной информации. Запись или считывание информации производится при помощи специальных устройств 13, 19, подсоединенных к ЭВМ intranet-сети предприятия.
Бумажный документ 23 представляет собой накладную на отпуск товара со склада, служебную записку о переучете (подсчете) товаров на складе или иной документ, оформленный согласно требованиям официального документооборота к таким документам.
Мобильное рабочее место 4 (Фиг.3) представляет собой автономную миниатюрную переносную персональную ЭВМ типа «наладонник» (palmtop) 21, к которой подсоединен сканнер для считывания штрих-кодов товаров 25 (или palmtop имеет встроенный сканнер). «Наладонник» имеет экран, реагирующий на прикосновение пользователя, позволяющий легко им управлять. Для тяжелых промышленных условий могут быть также использованы терминалы со встроенными сканнерами штрих-кодов, процессором, памятью и дисплеем (например, FORMULA 734 (производства DataLogic) или SPT1700 (производства Symbol)), но без использования аппаратуры радиопередачи данных.
Осуществление способа автоматизированного учета и представления информации о наличии и движении товаров на месте хранения и их отбора для реализации поясняется следующими примерами
Пример 1.
При оформлении менеджером продаж или бухгалтером предприятия на одном из компьютеров сети предприятия электронного документа, регламентирующего движение товаров (продажа, отпуск товаров со склада в магазины), как указывалось ранее, на устройстве записи/считывания смарт-документов 13 параллельно с печатанием на принтере 12 бумажного документа 23 (в потребном количестве копий) создается и смарт-документ 3, то есть создается электронно-бумажный тандем 22 (Фиг.2). Затем тандем 22 следует на место хранения товаров, где обрабатывается оператором стационарного рабочего места склада 2, который, получив тандем 22 от экспедитора или от клиента, помещает смарт-документ 3 тандема в устройство считывания/записи смарт-документов 19, и специальное программное обеспечение производит синхронизацию оперативной памяти мобильного рабочего места 4, которое назначено для обработки данного тандема 22 и размещено на доке 20 стационарного рабочего места оператора склада 2 и электронной базы данных предприятия. Это происходит путем записи потребных элементов баз данных предприятия, полученных с сетевого сервера 7 intranet-сети предприятия 1 и записанных в смарт-документ 3, в оперативную память удаленной ЭВМ 10, а затем копирования этой информации в память выбранного для работы терминала 21 мобильного рабочего места. Затем мобильное рабочее место 4, выбранное для обработки поступившего тандема 22, извлекается из устройства синхронизации (дока) 20, а смарт-документ 3 извлекается из устройства записи/считывания 19. Вместе с обрабатываемым тандемом 22 мобильное рабочее место 4 получает от оператора через менеджера (заведующего) склада один из товароведов-грузчиков 26 (Фиг.1), который непосредственно и доставляет мобильное рабочее место 4 к местам хранения товаров 27 и оперирует с ним, осуществляя идентификацию товаров, их отбор, подсчет, пометку и доставку к месту загрузки в транспортное средство, месту выдачи экспедитору или клиенту, а также производит необходимые пометки в рабочей копии бумажной части тандема 23.
Последовательность работы оператора мобильного рабочего места 26 (товароведа-грузчика) следующая. Получив рабочую копию бумажной части тандема 23, смарт-документ 3 и подготовленное оператором стационарного рабочего места склада 2 мобильное рабочее место 4, оператор 26 отправляется к требуемым местам хранения описанных в обрабатываемом тандеме 22 товаров 27. Затем, последовательно, согласно порядку расположения товаров на бумажном документе 23 производит их отпуск (всю товарную позицию с начала и до конца).
Отпуск товаров представляет собой следующую циклическую цепочку действий. Сканером штрих-кодов 25 с товара 27 или его упаковки считывается (сканируется) штрих-код. При совпадении штрих-кода товарной позиции заявки и штрих-кода отсканированного с товара, мобильное рабочее место 4 сигнализирует об этом, зажигая на экране разрешающий трафарет и подавая продолжительный звуковой сигнал определенного тона. Если совпадения нет (ошибка) – запрещающий трафарет и прерывистый звуковой сигнал другого тона.
После этой операции опознанный товар извлекается (в потребном количестве) с места хранения, помечается и помещается в накопитель (тележка, специальное место и т.п.). Отпущенный товар помечается специальным лейблом (или надписью) с номером тандема и личным номером работника 26 (например, при помощи этикет-пистолета).
Когда все количество товара данного вида, соответствующее одной позиции в бумажном документе 23 отпущено, раздается продолжительный звуковой сигнал определенного тона, сигнализируя об этом, и на экране терминала мобильного рабочего места 4 загорается трафарет, сообщающий об этом. Оператор 26 делает пометку об отпуске данной позиции на рабочей копии бумажной части тандема 23 и переходит к следующей товарной позиции.
В случаях возникновения каких-либо вопросов мобильное рабочее место 4 всегда подсказывает оператору 26 на экране варианты корректного разрешения проблем. Для эффективной работы складского хозяйства желательно, чтобы операторы мобильных рабочих мест 26 имели телефонную или иную связь (например, радиосвязь или DECT-связь) с оператором складского терминала 2 или менеджером (заведующим складом), а в особо сложных случаях и с системным оператором сетевого сервера 7 intranet-сети предприятия.
После выполнения операций по обработке конкретного тандема 22 (и при наличии свободного времени) оператор мобильного рабочего места 26 производит перезапись информации о произведенном реальном движении товаров, описанных в обработанном тандеме 22. Для этого он возвращает оператору стационарного рабочего места склада 2 обработанный тандем 22 с пометками об отпуске товаров и мобильное рабочее место 4, участвовавшее в обработке данного конкретного тандема, которое затем помещается в устройство синхронизации (док) 20 на стационарном рабочем месте оператора склада 2, где и происходит синхронизация данных. Компьютеры 21 и 10 intranet-сети обмениваются информацией, а затем обмениваются информацией компьютеры 10 и 7 сети, и в базе данных предприятия отражаются изменения, реально произошедшие на складе. На смарт-документ 3 также заносятся (при их наличии) изменения или исправления, имеющие место на бумажной части тандема 23, при этом исходная информация сохраняется. В конце рабочего дня все тандемы доставляются в офис предприятия, где оператор сетевого сервера 7 intranet-сети производит контроль за суточной работой системы.
Необходимо отметить, что такой подход позволяет автоматизировать работу склада, даже при отсутствии или сбое в сетевой связи между компьютером на складе и сетевым сервером (с центральной базой данных), правда, требуется курьерская доставка отработанных на складе тандемов к ЭВМ, имеющей связь с сетевым сервером центральной базы данных предприятия (аварийный вариант).
Пример 2.
При оформлении менеджером или логистиком фирмы на одном из компьютеров сети предприятия электронного документа, регламентирующего поступление на склад новой товарной партии, на основе опорных документов (счета, договора поставки, товарно-транспортная накладная, расходные накладные контрагентов) создается предварительная приходная накладная (электронный документ), а вместе с ней и соответствующий смарт-документ 3 и бумажный документ 23. Затем вновь образованный тандем 22 поступает на склад для обработки. Там смарт-документ 3 загружается в одно из свободных мобильных рабочих мест 4 и вместе с тандемом 22 выдается грузчику-товароведу 26, назначенному ответственным за приемку данной партии товара.
Приемка происходит следующим образом. Считывая штрих-коды с ненарушенных товарных упаковок (единиц товара или идентифицируемых товарных групп), оператор мобильного рабочего места 26 производит идентификацию и подсчет товаров 27 в партии, делая соответствующие пометки в бумажной части 23 тандема (предварительной приходной накладной) 22.
При необходимости, он, после предварительного осмотра партии товаров, восстанавливает поврежденные штрих-коды или наклеивает новые штрих-коды и свою личную метку на те физические единицы товара, на которых штрих-коды повреждены или полностью отсутствуют. Для этого потребные штрих-коды в необходимых количествах распечатываются оператором стационарного рабочего места склада 2 по заказу менеджера, подготавливавшего приемку данной партии товара и оператора мобильного рабочего места 26, производящего приемку данной партии товаров 27. Эти штрих-коды поставляются в память ЭВМ стационарного рабочего места оператора склада 2 по intranet-сети предприятия из центральной базы данных (с сетевого сервера 7), где хранится база данных о штрих-кодах товаров, а также согласно содержанию смарт-документа 3.
Если имеется образовавшийся в процессе доставки брак товаров (или иной брак) или требуется дополнительная оперативная экспертиза сомнительной товарной части, в приходной накладной 23 об этом производится пометка, а сам товар откладывается в сторону до выяснения. Когда все товарные группы отсканированы сканером мобильного рабочего места 25 и все позиции приходной накладной 23 помечены и обсчитаны, грузчик-товаровед 26 сдает отработанный тандем 22 оператору стационарного рабочего места склада 2, и тот производит синхронизацию памяти терминала 21 мобильного рабочего места и компьютера 10 стационарного рабочего места складской подсистемы, смарт-документа 3, а затем и сетевого сервера 7. При этом создается новая реальная приходная накладная 23 (прим) в виде смарт-документа 3 и его распечатки на принтере 17 стационарного рабочего места оператора склада 2, заверенной подписью заведующего складом, которая в отличие от предварительной приходной накладной 23 содержит верифицированную, путем реального приема товара, информацию о реально поступивших товарах с учетом брака, пересортицы и т.д. Смарт-документ 3, который соответствует этой накладной, который затем передается в центральный офис по сети и физически (подстраховка на случай утери информации). После окончания процедуры приемки все вновь поступившие товары 27 полностью снабжены необходимыми для дальнейших обработок штрих-кодами.
Формула изобретения
1. Способ автоматизированного учета и представления информации о наличии и движении товаров на месте хранения и их отбора для реализации, в соответствии с которым информацию о товарных операциях на месте хранения поставляют в автоматизированную систему учета путем ввода информации с первичного носителя информации об этой товарной операции путем сканирования или с клавиатуры с созданием электронного документа и хранят в памяти сетевого сервера в виде центральной базы данных сетевой автоматизированной системы учета и менеджмента со складской подсистемой, информацию о наличии товара на месте хранения получают путем идентификации по его штрих-коду, прочитанному сканнером мобильного рабочего места складской подсистемы сети предприятия, сравниваемому затем с электронной базой данных о штрих-кодах товаров, представленных для реализации и хранящимися в памяти сетевого сервера, отличающийся тем, что всю информацию о товарной операции, которую необходимо произвести, получают на склад из сетевой автоматизированной системы бухгалтерского учета и менеджмента при помощи электронно-бумажного тандема, представляющего собой совокупность электронной карточки с вмонтированной микросхемой, именуемой смарт-документом, на которую занесена цифровая копия электронного документа, регламентирующего данную товарную операцию, и бумажного носителя информации о товарной операции, представляющего собой графическое изображение на бумаге электронного документа, содержание смарт-документа перезаписывают и дополняют после выполнения товарной операции, а затем записывают эту информацию в центральную базу данных, и учитывают бумажный носитель информации о товарной операции.
2. Способ по п.1, отличающийся тем, что электронный документ, регламентирующий данную товарную операцию копируют одновременно на смарт-документ, создавая его карточную электронную копию, и на бумажный носитель информации о товарной операции, создавая его твердую графическую копию.
3. Способ по п.1 или 2, отличающийся тем, что смарт-документ создают путем копирования данных с электронного документа посредством устройства записи/считывания электронных карточек с микросхемами.
4. Способ по п.1, отличающийся тем, что информацию о товарной операции копируют на месте хранения товаров со смарт-документа в память мобильного рабочего места складской подсистемы учета.
5. Способ по п.1, отличающийся тем, что содержание товарной операции заказывается смарт-документом, а информацию о результатах произведенной на месте хранения товаров товарной операции поставляют на сервер сети предприятия из памяти мобильного рабочего места путем ее синхронизации с памятью сетевого сервера, в том числе и через стационарное рабочее место оператора складской подсистемы.
6. Способ по п.1, отличающийся тем, что цифровую копию информации о результате произведенной товарной операции копируют из памяти мобильного рабочего места на смарт-документ в виде дополнения к исходному содержанию смарт-документа.
7. Способ по п.6, отличающийся тем, что смарт-документ с дополнениями к исходному содержанию копируют в память сетевого сервера, а коррекцию центральной базы данных, отражающую результат произведенной товарной операции, осуществляют, исходя из сравнения исходного и дополненного содержания смарт-документа.
8. Способ по п.1, отличающийся тем, что результаты операции идентификации по штрих-коду товаров, заказанных обрабатываемым смарт-документом, и подсчет товаров в режиме “да/нет” определяют по командам, появляющимся на экране терминала мобильного рабочего места и/или звуковым сигналам, которые подаются устройствами мобильного рабочего места.
9. Электронная сетевая система автоматизированного учета и представления информации о наличии и движении товаров на месте хранения и их отбора для реализации, содержащая собственно сеть предприятия, состоящую из сетевого сервера, в памяти которого хранится центральная база данных, с монитором и клавиатурой, потребного количества сетевых стационарных рабочих мест различных подсистем с собственными мониторами, клавиатурами, принтерами, сканнерами, сетевым оборудованием, а также необходимым количеством мобильных рабочих мест, отличающаяся тем, что она снабжена, по крайней мере, двумя устройствами для записи машиночитаемой информации на пластиковые карты с чипами и считывания с них, причем одно из указанных устройств для записи и считывания информации размещено на стационарном рабочем месте оператора складской подсистемы, которое также оснащено устройством синхронизации памяти мобильных рабочих мест с памятью стационарного рабочего места оператора складской подсистемы сети предприятия.
10. Электронная сетевая система по п.9, отличающаяся тем, что стационарное рабочее место оператора складской подсистемы выполнено в виде ветви intranet-сети предприятия.
11. Электронная сетевая система по п.9 или 10, отличающаяся тем, что мобильное рабочее место складской подсистемы является переносной ЭВМ.
РИСУНКИ
|
|