|
|
(21), (22) Заявка: 2006104277/06, 13.02.2006
(24) Дата начала отсчета срока действия патента:
13.02.2006
(46) Опубликовано: 10.10.2007
(56) Список документов, цитированных в отчете о поиске:
RU 2235892 С2, 10.09.2004. US 4415059 А, 15.11.1983. GB 1315339 А, 02.05.1973. DE 475509 А, 29.04.1929. SU 1509555 А1, 23.09.1989. SU 1666782 А2, 30.07.1991.
Адрес для переписки:
601900, Владимирская обл., г. Ковров, ул. Труда, 4, ОАО “Завод им. В.А. Дегтярева”, ОПЛИР
|
(72) Автор(ы):
Заплаткин Анатолий Алексеевич (RU), Кутузов Михаил Владимирович (RU), Маринин Михаил Геннадьевич (RU), Печёнов Владимир Петрович (RU)
(73) Патентообладатель(и):
Открытое акционерное общество “Завод им. В.А. Дегтярева” (RU)
|
(54) ГЛУШИТЕЛЬ ШУМА ВЫПУСКА
(57) Реферат:
Изобретение относится к машиностроению, в частности к двигателестроению. Глушитель шума выпуска содержит корпус, состоящий из двух частей, симметрично расположенных относительно плоскости сопряжения. Левая и правая части корпуса образуют внутренний объем и формируют входной и выходной цилиндрические патрубки. Внутри корпуса установлена перегородка, выполненная из двух симметричных относительно плоскости сопряжения половин, которая образует каналы и расширительные камеры с помощью трех конструктивных элементов перегородки, первый и третий из которых выполнены с волнообразными поверхностями, имеющими наружные поверхности, сопряженные с внутренней поверхностью корпуса. Глушитель снабжен входным каналом в виде трубы, соединяющим входной патрубок с расширительной камерой третьего элемента перегородки через расширительную камеру первого элемента и через центральный канал второго трехканального элемента, расположенного в плоскости сопряжения половин перегородки, центральный канал которого выполнен с площадью проходного сечения, равной площади проходного сечения входного патрубка, а два боковых канала, соединяющие между собой внутренние расширительные камеры, выполнены с площадью проходного сечения, равной 1,6-2 площади сечения водного канала в виде трубы, имеющим площадь сечения, равную площади сечения входного патрубка. Каналы, образованные волнообразной поверхностью третьего элемента перегородки, выполнены сквозными, а каналы, соединяющие внутренние и наружные расширительные камеры, образованы волнообразной поверхностью, выполненной на части первого элемента перегородки. Изобретение позволяет снизить шум. 4 ил.
Изобретение относится к машиностроению, в частности к двигателестроению.
Известен глушитель шума выпуска, который содержит корпус, состоящий из левой и симметричной относительно плоскости сопряжения правой части с цилиндрическими входным и выходным патрубками, перегородку, состоящую из двух симметричных половин, установленных в корпусе с образованием каналов и расширительных камер для прохода отработавшего газа (см. патент Японии F01N 7/18, 1/08, заявка N58-167, опубл, 83.08.08).
Известен глушитель шума выпуска (см. патент РФ 2235892, МПК F01N 1/00, бюллетень ОИ N25, 10.09.2004 г.), взятый в качестве прототипа. Глушитель шума выпуска, содержащий корпус (кожух), состоящий из левой и симметричной относительно плоскости сопряжения правой части, образующих между собой внутренний объем, и цилиндрические входной и выходной патрубки, перегородку, состоящую из двух симметричных относительно плоскости сопряжения половин, установленную во внутренний объем корпуса, с образованием каналов и расширительных камер с помощью трех конструктивных элементов перегородки, первый и третий из которых выполнены с волнообразными поверхностями, имеющими наружные поверхности, сопряженные с внутренней поверхностью корпуса.
Недостатком прототипа является то, что поток газа, обладающий большой скоростью и температурой, попадает в глушитель шума выпуска через входной патрубок и проходит по наружным расширительным камерам, которые образованы стенками корпуса. В результате перепада температур снаружи и внутри корпуса движущийся со скоростью поток газа приводит к образованию корпусного шума. Использование известного глушителя на четырехтактных двигателях внутреннего сгорания ограничено из-за большого внутреннего сопротивления для проходящих газов, обладающих большой скоростью и температурой.
Предлагаемым изобретением решается задача: обеспечение использования глушителя шума выпуска на двигателях внутреннего сгорания, на двухтактных и четырехтактных с более высокими экологическими показателями, а также достижение одновременно высоких показателей и по шуму, и по мощности двигателя.
Технический результат, получаемый при осуществлении изобретения, заключается в повышении эффективности работы глушителя, в снижении шума выхлопных отработавших газов и уменьшении корпусного шума.
Указанный технический результат достигается тем, что в глушителе шума выпуска, содержащем корпус, состоящий из левой и симметричной относительно плоскости сопряжения правой части, образующих между собой внутренний объем, и цилиндрические входной и выходной патрубки, перегородку, состоящую из двух симметричных относительно плоскости сопряжения половин, установленную во внутренний объем корпуса, с образованием каналов и расширительных камер с помощью трех конструктивных элементов перегородки, первый и третий из которых выполнены с волнообразными поверхностями, имеющими наружные поверхности, сопряженные с внутренней поверхностью корпуса, новым является то, что он снабжен входным каналом в виде трубы, соединяющим входной патрубок с расширительной камерой третьего элемента перегородки через расширительную камеру первого элемента и через центральный канал второго трехканального элемента, расположенного в плоскости сопряжения половин перегородки, центральный канал которого выполнен с площадью проходного сечения, равной площади проходного сечения входного патрубка, а два боковых канала, соединяющие между собой внутренние расширительные камеры, выполнены с площадью проходного сечения, равной 1,6-2 площади сечения входного канала в виде трубы, имеющего площадь сечения, равную площади сечения входного патрубка, кроме того, каналы, образованные волнообразной поверхностью третьего элемента перегородки, выполнены сквозными, а каналы, соединяющие внутренние и наружные расширительные камеры, образованы волнообразной поверхностью, выполненной на части первого элемента перегородки.
Отличительные признаки изобретения: новые конструктивные элементы и новая форма связи каналов и расширительных камер в глушителе позволяют уменьшить энергию выхлопных газов в несколько раз. Это способствует, во-первых, снижению шума выхлопных отработавших газов и, во-вторых, значительному снижению корпусного шума глушителя.
Таким образом, предлагаемое техническое решение обладает новизной и изобретательским уровнем.
Сущность изобретения поясняется чертежами, где
на фиг.1 изображен глушитель шума выпуска, общий вид,
на фиг.2 – вид слева,
на фиг.3 – сечение А-А на фиг.1, повернуто,
на фиг.4 – сечение Б-Б на фиг.1, повернуто.
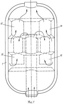
Глушитель шума выпуска содержит корпус 1, состоящий из двух частей 2 и 3, симметрично расположенных относительно плоскости сопряжения 4. Левая 2 и правая 3 части корпуса формируют входной 5 и выходной 6 цилиндрические патрубки. Внутри корпуса 1 установлена перегородка, выполненная из двух половин 7 и 8, симметричных относительно плоскости сопряжения 4.
Каждая половина 7 и 8 перегородки имеет три элемента 9, 10, 11. Первый 9 и третий 11 элементы перегородки выполнены с волнообразной поверхностью, имеющей наружную поверхность, сопрягающуюся с внутренней поверхностью корпуса. Между наружной поверхностью перегородки и внутренней поверхностью корпуса выполнены каналы 12, 13, 14, 15, соединяющие наружные относительно перегородки расширительные камеры 16, 17 и внутренние камеры 18, 19. Внутренние расширительные камеры образованы половинами 7 и 8 перегородки. Каналы 12 и 13 соединяют внутреннюю расширительную камеру 19 с наружными расширительными камерами 16, 17 и имеют длину 0,5-0,8 длины внутренней расширительной камеры 19, а каналы 14 и 15 выполнены сквозными и соединяют расширительные камеры 16 и 17 с расширительной камерой 20.
Глушитель шума выпуска снабжен каналом 21 в виде трубы, соединяющим входной патрубок 5 с расширительной камерой 18 через расширительную камеру 19 и центральный канал 10. Площадь сечения канала-трубы 21 равна площади сечения входного патрубка 5 и каналы 12, 13, 14, 15 имеют суммарную площадь проходного сечения, равную площади сечения входного патрубка 5.
Второй элемент перегородки имеет в плоскости сопряжения половин перегородки три канала: центральный 10 и боковые 22 и 23. Каналы 22 и 23 соединяют между собой внутренние расширительные камеры и имеют суммарную площадь сечения 1,6-2 площади сечения входного канала 21, а центральный канал выполнен с площадью проходного сечения, равной площади проходного сечения входного патрубка 5.
Глушитель шума выпуска работает следующим образом.
Поток отработавшего газа через входной патрубок 5 и входной канал 21 в виде трубы поступает во внутреннюю расширительную камеру 18 (см. фиг.2), далее поток поступает по каналам 22 и 23 во внутреннюю расширительную камеру 19, из которой по каналам 12 и 13 поступает в наружные расширительные камеры 16, 17. Из наружных расширительных камер 16, 17 через каналы 14, 15 поток отработавшего газа поступает в расширительную камеру 20 и через выходной патрубок 6 выходит в атмосферу. Выхлопные газы двигателя внутреннего сгорания, обладающие большой скоростью и температурой, попадая во внутренние расширительные камеры 18, 19 глушителя, не контактируют с наружным корпусом, благодаря чему его колебания значительно снижаются и, следовательно, уменьшается корпусный шум.
Энергия выхлопных газов, проходящих через каналы 21, 22, 23 и две внутренние расширительные камеры 18, 19, уменьшается в несколько раз, что способствует, во-первых, снижению шума выхлопных отработавших газов и, во-вторых, значительному снижению корпусного шума глушителя.
Формула изобретения
Глушитель шума выпуска, содержащий корпус, состоящий из левой и симметричной относительно плоскости сопряжения правой части, образующих между собой внутренний объем, и цилиндрические входной и выходной патрубки, перегородку, состоящую из двух симметричных относительно плоскости сопряжения половин, установленную во внутренний объем корпуса, с образованием каналов и расширительных камер с помощью трех конструктивных элементов перегородки, первый и третий из которых выполнены с волнообразными поверхностями, имеющими наружные поверхности, сопряженные с внутренней поверхностью корпуса, отличающийся тем, что он снабжен входным каналом в виде трубы, соединяющим входной патрубок с расширительной камерой третьего элемента перегородки через расширительную камеру первого элемента и через центральный канал второго трехканального элемента, расположенного в плоскости сопряжения половин перегородки, центральный канал которого выполнен с площадью проходного сечения, равной площади проходного сечения входного патрубка, а два боковых канала, соединяющие между собой внутренние расширительные камеры, выполнены с площадью проходного сечения, равной 1,6-2 площади сечения входного канала в виде трубы, имеющим площадь сечения, равную площади сечения входного патрубка, кроме того каналы, образованные волнообразной поверхностью третьего элемента перегородки, выполнены сквозными, а каналы, соединяющие внутренние и наружные расширительные камеры, образованы волнообразной поверхностью, выполненной на части первого элемента перегородки.
РИСУНКИ
|
|