|
|
(21), (22) Заявка: 2005130616/06, 03.10.2005
(24) Дата начала отсчета срока действия патента:
03.10.2005
(43) Дата публикации заявки: 10.04.2007
(46) Опубликовано: 10.10.2007
(56) Список документов, цитированных в отчете о поиске:
КОРТЕНКО И.И. и др. Теплофикационные паровые турбины для парогазовых установок. Тяжелое машиностроение 1996, №6, с.11-13. RU 2151888 C1, 27.06.2000. RU 2131978 C1, 20.06.1999. RU 2079673 C1, 20.05.1997. RU 94019738 A1, 20.01.1996. FR 2670826 A, 26.06.1992. DE 3726786 A1, 23.02.1989.
Адрес для переписки:
620017, г.Екатеринбург, ул. Фронтовых бригад, 18, ЗАО “Уральский турбинный завод”
|
(72) Автор(ы):
Баринберг Григорий Давидович (RU)
(73) Патентообладатель(и):
Закрытое акционерное общество “Уральский турбинный завод” (RU)
|
(54) СПОСОБ ЭКСПЛУАТАЦИИ ТЕПЛОФИКАЦИОННОЙ ТУРБИННОЙ УСТАНОВКИ
(57) Реферат:
Изобретение относится к теплоэнергетике и может быть использовано на ТЭЦ при эксплуатации теплофикационных турбинных установок. Задачей заявляемого изобретения является повышение мощности и экономичности теплофикационной турбинной установки с трехступенчатым подогревом сетевой воды при отключении питания пикового бойлера паром отбора турбины и догрева сетевой воды в пиковом водогрейном котле. Она достигается тем, что из обоймы промежуточного отсека удаляют диафрагму первой по ходу пара ступени давления, разлопачивают диск этой ступени и устанавливают вместо удаленных рабочих лопаток хвостовики лопаток. 1 ил.
Изобретение относится к теплоэнергетике и может быть использовано на теплоэлектроцентралях (ТЭЦ) при эксплуатации теплофикационных турбинных установок.
Известен способ эксплуатации теплофикационной турбинной установки с трехступенчатым подогревом сетевой воды, согласно которому первые два бойлера питаются паром из отборов турбины, а третьей ступенью подогрева сетевой воды является пиковый водогрейный котел (ПВК) (см., например, В.Я.Рыжкин. Тепловые электрические станции. М.: Энергоатомиздат, 1987, рис.8.14). При таком способе подогрева сетевой воды между камерами отбора на бойлер 1 (Б1) и бойлер 2 (Б2) в турбине расположен промежуточный отсек, содержащий две ступени давления (см., например, Е.И.Бененсон, Л.С.Иоффе. Теплофикационные паровые турбины. М.: Энергоатомиздат, 1986, с.28). Геометрия ступеней промежуточного отсека выбрана таким образом, чтобы в среднегодовом разрезе были равные тепловые нагрузки на Б1 и Б2, что обеспечивает наибольшую эффективность двухступенчатого подогрева сетевой воды, т.е., наибольшую мощность турбины (см., например, Е.И.Бененсон, Л.С.Иоффе. Теплофикационные паровые турбины. М.: Энергоатомиздат, 1986, с.86). При таком способе обеспечивается подогрев сетевой воды до 125°С, что требует поддержания давления в камере отбора пара на Б2 на уровне 0,25 МПа.
Указанный способ эксплуатации теплофикационной турбинной установки имеет следующие недостатки:
1. Требуются затраты для размещения ПВК в котельном цехе.
2. В качестве топлива для ПВК пригоден газ или мазут и не может быть использовано твердое топливо (см., например, Энергетическое оборудование для тепловых электростанций и промышленной энергетики. Номенклатурный каталог.Часть 1. ЦНИИТЭИТЯЖМАШ. М., 2003 г.).
Известен также способ эксплуатации теплофикационной турбинной установки, согласно которому все три ступени подогрева сетевой воды, в том числе пиковый бойлер (ПБ) питаются паром из отборов турбины (см., например, Кортенко В.В., Баринберг Г.Д. Теплофикационные паровые турбины для парогазовых установок. Тяжелое машиностроение, 1996, №6, с.11-13). Для обеспечения оптимальной тепловой нагрузки на Б1, Б2 и ПБ промежуточный отсек содержит три ступени давления.
Этот способ является ближайшим к заявленному, но обладает следующими недостатками:
1. При трехступенчатом подогреве сетевой воды температура ее на выходе из ПБ составляет до 150°С, что требует давления в камере отбора турбины не менее 0,6 МПа, в связи с этим имеет место недовыработка мощности за счет отбора пара на ПБ при более высоком давлении.
2. Зачастую для повышения мощности турбины при наличии на ТЭЦ ПВК, установленных в качестве резерва для покрытия тепловой нагрузки при останове турбины, производят отключение ПБ. Мощность турбины повышается за счет расширения пара ПБ от давления 0,6 МПа до давления 0,25 МПа. При этом из-за наличия трех ступеней давления в промежуточном отсеке, что связано с большим его сопротивлением по сравнению с промежуточным отсеком, состоящим из двух ступеней давления, расход пара через него не может быть увеличен. Это препятствует дополнительному повышению мощности турбины за счет расширения высвободившейся части пара ПБ от давления 0,25 МПа до давления отбора пара на Б1.
Задачей заявляемого изобретения является повышение мощности и экономичности теплофикационной турбинной установки с трехступенчатым подогревом сетевой воды при отключении питания ПБ паром отбора турбины и догрева сетевой воды в ПВК.
Указанная задача достигается тем, что вскрывают цилиндр турбины, удаляют из обоймы промежуточного отсека диафрагму первой по ходу пара ступени давления, разлопачивают диск этой ступени и устанавливают вместо удаленных рабочих лопаток хвостовики лопаток, после чего цилиндр закрывают, турбину пускают и набирают заданную нагрузку.
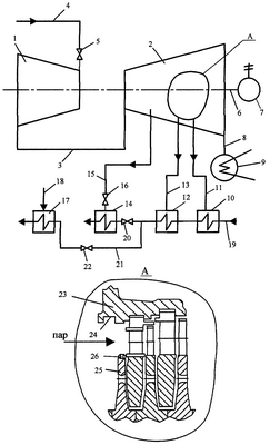
На чертеже изображена принципиальная схема теплофикационной турбинной установки для реализации данного способа.
Установка содержит турбину, содержащую ЦВД1 и ЦВД2, сообщенные между собой ресивером 3. К ЦВД1 подключен трубопровод 4 подвода свежего пара с установленными на нем органами паровпуска 5. К валу 6 подсоединен генератор 7.
Отработавший в ЦНД2 пар по трубопроводу 8 отводится в конденсатор 9. Из ЦНД2 имеются отборы пара на Б10 по трубопроводу 11, Б12 по трубопроводу 13 и ПБ14 по трубопроводу 15 с установленной на нем задвижкой 16. Установка также содержит ПВК 17 с трубопроводом подвода топлива 18. Сетевая вода подается в Б10, Б12 и ПБ14 по трубопроводу 19, на котором перед ПБ14 установлена задвижка 20. Сетевая вода в ПВК 17 подается по трубопроводу 21, на котором установлена задвижка 22.
При необходимости эксплуатации турбинной установки отключением питания ПБ14 паром из отбора закрытием задвижки 16 на трубопроводе 15 и догреве сетевой воды в ПВК 17 сжиганием топлива, подаваемого по трубопроводу 18, и открытием задвижки 22 на трубопроводе подвода 21 сетевой воды к ПВК 17 при одновременном закрытии задвижки 20 турбину останавливают, вскрывают ЦНД2, удаляют из обоймы 23 промежуточного отсека диафрагму первой по ходу пара ступени давления, размещенной в пазе 24 (на чертеже она удалена), разлопачивают диск 25 этой ступени (на чертеже он разлопачен) и устанавливают вместо удаленных рабочих лопаток хвостовики 26 лопаток.
Способ осуществляют следующим образом.
В ЦВД1 посредством паропровода 4 и органов паровпуска 5 подается пар, который последовательно пропускается через ресивер 3 в ЦНД2 и далее по трубопроводу 8 в конденсатор 9. Механическая энергия через вал 6 турбины передается в генератор 7 и превращается в нем в электрическую.
Большая часть пара из отборов ЦНД2 отбирается в Б10 по трубопроводу 11, Б12 по трубопроводу 13 и ПБ 14 по трубопроводу 15 для подогрева сетевой воды, подаваемой по трубопроводу 19.
При эксплуатации турбины с отключением питания ПБ14 паром из отбора путем закрытия задвижки 16 на трубопроводе 15 и догреве сетевой воды в ПВК 17 сжиганием топлива, подаваемого по трубопроводу 18, и подачей воды в ПВК 17 по трубопроводу 21 путем открытия задвижки 22 и закрытия задвижки 20 на трубопроводе 19 турбину останавливают, вскрывают ЦНД2, удаляют из обоймы 23 промежуточного отсека диафрагму первой по ходу пара ступени давления (на чертеже она удалена), разлопачивают диск 25 этой ступени (на чертеже он разлопачен) и устанавливают вместо удаленных рабочих лопаток хвостовики 26 лопаток, после чего ЦНД2 закрывают, турбину пускают и набирают заданную нагрузку.
В результате удаления из обоймы 23 промежуточного отсека диафрагмы первой по ходу пара ступени давления, разлопачивания диска 25 этой ступени и установки вместо удаленных рабочих лопаток хвостовиков 26 лопаток сопротивление проточной части промежуточного отсека значительно уменьшается. Это способствует увеличению пропуска пара через отсек и выработки дополнительной мощности за счет расширения дополнительной части пара от камеры отбора пара на Б12 до камеры отбора пара на Б10, в результате чего экономичность теплофикационной турбинной установки также повышается.
Если появится необходимость догревать воду в ПБ 14, например, при ремонте ПВК 17, то возможно восстановление проточной части ступеней промежуточного отсека установкой в паз 24 обоймы 23 удаленной диафрагмы первой по ходу пара ступени давления и облопачивания диска 25 этой ступени после удаления хвостовиков 26.
Формула изобретения
Способ эксплуатации теплофикационной турбинной установки с трехступенчатым подогревом сетевой воды паром из отборов турбины уменьшением количества ступеней давления в промежуточном отсеке цилиндра при отключении питания пикового бойлера паром из отбора цилиндра и догреве сетевой воды в пиковом водогрейном котле, отличающийся тем, что турбину останавливают, вскрывают цилиндр, удаляют из обоймы промежуточного отсека диафрагму первой по ходу пара ступени давления, разлопачивают диск этой ступени и устанавливают вместо удаленных рабочих лопаток хвостовики лопаток, после чего цилиндр закрывают, турбину пускают и набирают заданную нагрузку.
РИСУНКИ
|
|