|
|
(21), (22) Заявка: 2005141098/03, 27.12.2005
(24) Дата начала отсчета срока действия патента:
27.12.2005
(46) Опубликовано: 10.10.2007
(56) Список документов, цитированных в отчете о поиске:
SU 1595537 A1, 30.09.1990. SU 588992 A, 25.01.1978. SU 724776 A, 30.03.1980. SU 895449 A, 07.01.1982. SU 962654 А, 03.10.1982. RU 2097082 С1, 27.11.1997. RU 2134605 С1, 20.08.1999. DE 3122897 С1, 27.01.1983.
Адрес для переписки:
650026, г.Кемерово, ул. Весенняя, 28, Кузбасский государственный технический университет, патентный отдел
|
(72) Автор(ы):
Ермолаев Алексей Михайлович (RU), Ермолаев Андрей Алексеевич (RU), Нартикоев Дмитрий Романович (RU)
(73) Патентообладатель(и):
Ермолаев Алексей Михайлович (RU), Ермолаев Андрей Алексеевич (RU), Нартикоев Дмитрий Романович (RU)
|
(54) УСТРОЙСТВО ДЛЯ АВТОМАТИЧЕСКОГО ОТКРЫВАНИЯ ПРОТИВОПОЖАРНОГО ТРУБОПРОВОДА
(57) Реферат:
Изобретение относится к горному делу и может быть использовано для тушения подземных пожаров в угольных шахтах, возникающих после взрыва метана и (или) угольной пыли. Устройство для автоматического открывания противопожарного трубопровода содержит индикатор взрыва, противопожарный трубопровод с краном для открытия слива, связанный с краном приводной рычаг, закрепленную на приводном рычаге гибкую тягу. Индикатор взрыва выполнен в виде перекрывающего верхнюю часть сечения горной выработки флажка, установленного на валу, при этом вал имеет фигурный элемент, установленный с возможностью взаимодействия с приводным рычагом, связь которого с краном осуществляется посредством перекинутой через шкив с неподвижной осью гибкой тяги, второй конец которой закреплен на зубчатой рейке с гравитационным грузом, установленной с возможностью взаимодействия с зубчатым колесом, вал которого жестко соединен с краном или вентилем на противопожарном трубопроводе. Изобретение позволяет повысить эффективность тушения пожара, возникающего в угольных шахтах после взрыва метана и (или) угольной пыли, за счет ускорения начала воздействия на очаг пожара при взрыве метана и (или) угольной пыли в горной выработке. 2 ил.
Изобретение относится к горному делу и может быть использовано для тушения подземных пожаров в угольных шахтах, возникающих после взрыва метана и (или) угольной пыли.
Известно устройство для профилактики и тушения пожаров, включающее цилиндрический корпус с конфузором, смесительную камеру с диффузором и сообщенный со смесительной камерой приемный бункер (а.с. СССР №1579123, кл. Е21F 5/00,1987).
Недостатками известного устройства являются сложность конструкции и возможность отказа.
Известно также устройство для тушения подземных пожаров, принятое за прототип, содержащее цилиндрический корпус, конфузор, смесительную камеру с бункером для огнегасительного порошка и диффузор (а.с. СССР №962654, кл. Е21F 5/00,1982, опубл. 30.09.82, бюл. №36).
Недостаток известного устройства состоит в том, что для его работы необходим сторонний источник энергии.
Известно также устройство автоматического открывания противопожарного трубопровода (авторское свидетельство SU 1595537 А1, 30.09.1990, всего 2 стр.), содержащее индикатор взрыва, противопожарный трубопровод с краном, приводной рычаг, связанный с краном, поворот которого открывает слив на противопожарном трубопроводе, закрепленную на приводном рычаге гибкую тягу.
Недостатком известного устройства является низкая эффективность тушения пожара, возникающего в угольных шахтах после взрыва метана и (или) угольной пыли.
Задача изобретения – повышение эффективности тушения пожара, возникающего в угольных шахтах после взрыва метана и (или) угольной пыли, путем обеспечения ускорения начала времени воздействия на очаг пожара при взрыве метана и (или) угольной пыли в горной выработке.
Указанная задача достигается тем, что в устройстве автоматического открывания противопожарного трубопровода, содержащем индикатор взрыва, противопожарный трубопровод с краном для открытия слива, связанный с краном приводной рычаг, закрепленную на приводном рычаге гибкую тягу, согласно изобретению, индикатор взрыва выполнен в виде перекрывающего верхнюю часть сечения горной выработки флажка, установленного на валу, при этом вал имеет фигурный элемент, установленный с возможностью взаимодействия с приводным рычагом, связь которого с краном осуществляется посредством перекинутой через шкив с неподвижной осью гибкой тяги, второй конец которой закреплен на зубчатой рейке с гравитационным грузом, установленной с возможностью взаимодействия с зубчатым колесом, вал которого жестко соединен с краном или вентилем на противопожарном трубопроводе.
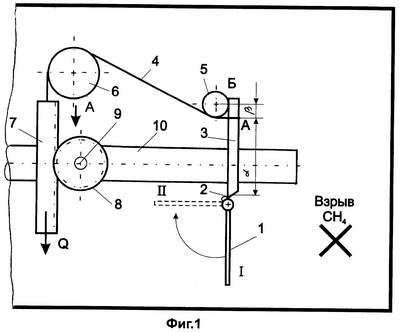
Изобретение поясняется чертежами, где на фиг.1 показана кинематическая схема устройства автоматического открывания противопожарного трубопровода при взрывах метана и (или) угольной пыли и пожарах в горных выработках; на фиг.2 – (вид по стрелке А) узел соединения вала зубчатого колеса со шпинделем вентиля или с пробкой крана на противопожарном трубопроводе.
Устройство для автоматического открывания противопожарного трубопровода содержит флажок – индикатор 1, на валу которого выполнен фигурный элемент 2, на который опирается своим длинным плечом приводной рычаг 3. Второе плечо приводного рычага 3 образуется между точкой А (точка соединения гибкой тяги 4 с приводным рычагом) и точкой Б (точка соприкосновения приводного рычага с неподвижной осью 5). Гибкая тяга 4, перекинутая через шкив 6, одним концом закреплена на зубчатой рейке 7 с гравитационным грузом Q, а другим концом – на приводном рычаге 3. Зубчатая рейка 7 с гравитационным грузом при своем опускании (или подъеме) вращает зубчатое колесо 8. Вал зубчатого колеса 8 жестко соединен со шпинделем вентиля (или пробкой крана) 9 на отводе противопожарного става 10.
Устройство для автоматического открывания противопожарного трубопровода работает следующим образом. При взрыве метана или угольной пыли в шахте взрывная волна отклоняет флажок – индикатор взрыва 1 от вертикального положения (положение II). В результате чего груз Q под собственным весом перемещает зубчатую рейку 7 с гравитационным грузом вниз, поворачивая тем самым шпиндель вентиля на несколько оборотов (или пробку крана на угол 90°), в результате чего вода из противопожарного трубопровода поступает в горную выработку.
Гибкая тяга 4 изготавливается из горючего материала (пенька, капрон, лавсан и пр.) и под воздействием высокой температуры при пожаре обрывается. В результате чего устройство автоматически срабатывает при пожаре так же как и при взрыве.
Преимущества заявляемого изобретения:
Мгновенное действие сил гравитации при взрывах метана, простота устройства.
Формула изобретения
Устройство для автоматического открывания противопожарного трубопровода, содержащее индикатор взрыва, противопожарный трубопровод с краном для открытия слива, связанный с краном приводной рычаг, закрепленную на приводном рычаге гибкую тягу, отличающееся тем, что индикатор взрыва выполнен в виде перекрывающего верхнюю часть сечения горной выработки флажка, установленного на валу, при этом вал имеет фигурный элемент, установленный с возможностью взаимодействия с приводным рычагом, связь которого с краном осуществляется посредством перекинутой через шкив с неподвижной осью гибкой тяги, второй конец которой закреплен на зубчатой рейке с гравитационным грузом, установленной с возможностью взаимодействия с зубчатым колесом, вал которого жестко соединен с краном или вентилем на противопожарном трубопроводе.
РИСУНКИ
MM4A – Досрочное прекращение действия патента СССР или патента Российской Федерации на изобретение из-за неуплаты в установленный срок пошлины за поддержание патента в силе
Дата прекращения действия патента: 28.12.2007
Извещение опубликовано: 20.08.2009 БИ: 23/2009
|
|