|
|
(21), (22) Заявка: 2006106191/03, 01.03.2006
(24) Дата начала отсчета срока действия патента:
01.03.2006
(46) Опубликовано: 10.10.2007
(56) Список документов, цитированных в отчете о поиске:
RU 2075596 C1, 20.03.1997. RU 2209945 C1, 10.08.2003. RU 2175057 С2, 20.10.2001. RU 2136851 C1, 10.09.1999. US 6854518 B1, 15.02.2005. US 4968226 А, 06.11.1990. ПОПОВ А.А. Ударные воздействия на призабойную зону скважин. – М.: Недра, 1990, с.106-107.
Адрес для переписки:
630082, г.Новосибирск-82, ул. Жуковского, 97, кв.2, А.И. Артеменко
|
(72) Автор(ы):
Сердюков Сергей Владимирович (RU), Ерохин Геннадий Николаевич (RU), Чередников Евгений Николаевич (RU)
(73) Патентообладатель(и):
Сердюков Сергей Владимирович (RU), Ерохин Геннадий Николаевич (RU), Чередников Евгений Николаевич (RU)
|
(54) СПОСОБ ВОЛНОВОГО ВОЗДЕЙСТВИЯ НА ПРОДУКТИВНЫЙ ПЛАСТ
(57) Реферат:
Изобретение относится к отраслям добывающей промышленности, связанным с добычей флюида из скважин, и может быть использовано для повышения нефтеотдачи пластов при эксплуатации нефтяных скважин. Обеспечивает повышение мощности волнового воздействия путем повышения перепада давлений жидкости и, следовательно, импульса гидродинамического воздействия при сообщении находящихся под разным давлением жидкости камер скважины. Сущность изобретения: по способу устанавливают в заполненной жидкостью скважине плунжерный насос. Создают в скважине изолированные камеры постоянного и переменного давления, которые связаны друг с другом посредством каналов. Периодически изменяют давление в отдельных камерах за счет возвратно-поступательного перемещения плунжера указанного насоса. Периодически сообщают отдельные камеры между собой. Согласно изобретению камеру переменного давления создают в подплунжерной камере насоса путем понижения давления в ней за счет разряжения при ходе плунжера вверх. Камеру постоянного давления создают в надплунжерной камере. Камеру постоянного повышенного давления создают в межтрубном пространстве путем заполнения его жидкостью на расчетную высоту столба. Периодическое сообщение камеры переменного давления с камерой повышенного постоянного давления осуществляют при ходе плунжера вниз. 1 з.п. ф-лы, 1 ил.
Изобретение относится к отраслям добывающей промышленности, связанным с добычей флюида из скважин, и может быть использовано для повышения нефтеотдачи пластов при эксплуатации нефтяных скважин.
Известен способ обработки нефтяных пластов путем возбуждения колебаний гидродинамического давления в скважине по патенту РФ №2089726 (МПК 6 Е21В 43/25, опубл. 10.09.1997). В данном способе в качестве источника импульсов используется перепад гидростатического давления в насосно-компрессорных трубах и межтрубном пространстве скважины. Известный способ позволяет интенсифицировать приток нефти за счет очистки порового пространства призабойной зоны пласта от засоряющих его частиц и эмульсионных капель. При этом известный способ может быть использован одновременно с процессом эксплуатации скважины.
Недостатком известного способа является ограниченная (несколько метров от оси скважины) зона воздействия на пласт, что обусловлено малой мощностью развиваемого волнового воздействия. Это объясняется тем, что степень повышения давления в насосно-компрессорных трубах ограничена тяговым усилием привода, а высота столба жидкости в межтрубном пространстве определена пластовым давлением.
Наиболее близким техническим решением по совокупности существенных признаков и достигаемому эффекту является способ по патенту РФ №2075596 (МПК: Е21В 43/25, 28/00, 43/16, опубл. 20.03.1997), заключающийся в следующем. В обсаженную эксплуатационной колонной скважину на насосно-компрессорных трубах опускают цилиндр и закрепляют его в зоне пласта. В цилиндре размещают связанный со станком-качалкой плунжер, установленный с возможностью его осевого перемещения и выхода из цилиндра в крайнем верхнем положении. После монтажа устройства и заполнения скважины жидкостью включают в работу станок-качалку. При ходе плунжера вверх происходит сжатие жидкости в насосно-компрессорных трубах, а при подходе плунжера к крайнему верхнему положению сжатая жидкость сбрасывается из насосно-компрессорных труб в эксплуатационную колонну. В момент сброса жидкости в эксплуатационной колонне образуется ударная волна, которая достигает забоя скважины и вызывает упругие колебания в продуктивном пласте.
Недостатком известного способа является недостаточная мощность волнового воздействия, обусловленная только сжатием жидкости в надплунжерной зоне из-за ограниченного тягового усилия привода и хода плунжера для создания повышенного давления и, как следствие, относительно малым перепадом давлений жидкости в надплунжерной камере и в находящейся под постоянным пластовым давлением жидкости подплунжерной камере.
Техническая задача, решаемая в предлагаемом изобретении, заключается в повышении мощности волнового воздействия путем повышения перепада давлений жидкости и, следовательно, импульса гидродинамического воздействия при сообщении находящихся под разным давлением жидкости камер скважины.
Поставленная задача решается тем, что в способе волнового воздействия на продуктивный пласт, включающем установку в заполненной жидкостью скважине плунжерного насоса, создание в скважине изолированных камер постоянного и переменного давления, связанных друг с другом посредством каналов, периодическое изменение давления в отдельных камерах за счет возвратно-поступательного перемещения плунжера указанного насоса и периодическое сообщение отдельных камер между собой, камеру переменного давления создают в подплунжерной камере насоса путем понижения давления в ней за счет разряжения при ходе плунжера вверх, камеру постоянного давления создают в надплунжерной камере, а камеру постоянного повышенного давления создают в межтрубном пространстве путем заполнения его жидкостью на расчетную высоту столба, при этом периодическое сообщение камеры переменного давления с камерой повышенного постоянного давления осуществляют при ходе плунжера вниз. Регулировать энергию импульсного воздействия можно, изменяя высоту столба жидкости в камере постоянного повышенного давления от сотен до более чем 1000 м, т.е. обеспечивать перепад давления жидкости до 10 и более МПа. В одной камере мы можем повышать давление в зависимости от высоты столба жидкости (причем эта высота не ограничена пластовым давлением), а в другой камере понижать давление за счет разрежения. Такое выполнение камер постоянного и переменного давления обеспечивает создание мощного импульса, не ограниченного пластовым давлением.
Чтобы повысить долговечность насоса, целесообразно произвести фильтрацию жидкости перед заполнением ею камеры постоянного повышенного давления.
Предлагаемое изобретение поясняется чертежом, где представлена структурная схема реализации предлагаемого способа.
Предлагаемый способ реализуется следующим образом.
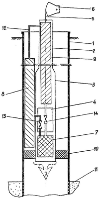
В обсаженную скважину 1 на насосно-компрессорных трубах (НКТ) 2 устанавливают цилиндр 3, внутри которого с возможностью осевого перемещения размещен плунжер 4, связанный тягой 5 с приводом 6 возвратно-поступательного движения, образуя камеру переменного давления 7, камеру постоянного повышенного давления 8 и камеру постоянного давления 9.
Скважину заполняют жидкостью на расчетную высоту столба. При движении плунжера вверх под действием привода 6 жидкость из камеры 8 поступает в камеру 7 до момента перекрытия канала связи между камерами 7, 8, а далее при движении плунжера вверх происходит разрежение жидкости в камере 7. Жидкость из камеры постоянного давления 9 при ходе плунжера 4 вверх перетекает в камеру 8. После достижения крайнего верхнего положения плунжер 4 начинает движение вниз под действием собственного веса и веса тяги 5. При ходе плунжера вниз происходит сообщение камеры 8 с камерой 7, создавая импульс давления, передаваемый в продуктивный пласт и вызывающий его упругие колебания. При дальнейшем движении вниз жидкость из камеры 7 поступает в камеру постоянного давления 9. Далее цикл повторяется.
Пример конкретной реализации предлагаемого способа.
В обсаженную скважину 1 на насосно-компрессорных трубах (НКТ) 2 устанавливают цилиндр 3, внутри которого с возможностью осевого перемещения размещен плунжер 4, связанный тягой 5 с приводом 6 возвратно-поступательного движения. Внизу цилиндра устанавливают пакер 10, изолирующий скважину от продуктивного пласта 11. На устье скважины полость НКТ 2 связывают с межтрубным пространством переливным коленом 12. Скважину заполняют жидкостью. В результате пространство скважины разделяется на 3 камеры:
– подплунжерная камера 7 переменного давления, одновременно являющаяся и пульсационной камерой, в которой формируется импульс I давления жидкости, передаваемый в дальнейшем на продуктивный пласт. Посредством золотникового распределителя 13 камера 7 соединена на части хода плунжера с межтрубной камерой 8 постоянного повышенного давления;
– межтрубная камера 8 постоянного повышенного давления образована кольцевым зазором между ставом НКТ 2 и обсадной трубой. Давление жидкости на уровне цилиндра в этой камере постоянно и определяется высотой столба жидкости в ней;
– надплунжерная камера 9 образована кольцевым зазором между ставом НКТ 2 и тягой 5. Давление жидкости на уровне цилиндра в этой камере постоянно и определяется высотой столба жидкости в ней, т.е. глубиной скважины от устья до цилиндра насоса. Камера 9 через нагнетательный клапан 14 связана с подплунжерной камерой 7 переменного давления.
В нижнем исходном положении плунжера камера переменного давления 7 соединена с камерой постоянного повышенного давления 8 золотниковым распределителем 13. При движении плунжера вверх под действием привода 6 жидкость из камеры 8 поступает в камеру 7 до момента перекрытия канала связи между камерами 7, 8, а далее движение плунжера вверх сопровождается снижением давления жидкости в камере 7 за счет разрежения. Жидкость из камеры постоянного давления 9 при ходе плунжера 4 вверх перетекает через колено 12 в камеру 8. После достижения крайнего верхнего положения плунжер 4 начинает движение вниз под действием собственного веса и веса тяги 5. В момент открытия золотниковым распределителем 13 канала связи между камерами 7 и 8 находящаяся под повышенным давлением жидкость из камеры 8 устремляется в камеру 7, создавая импульс I давления, передаваемый в продуктивный пласт и вызывающий его упругие колебания. При дальнейшем движении вниз жидкость из камеры 7 через нагнетательный клапан 14 поступает в камеру постоянного давления 9. Далее цикл повторяется.
Изменяя высоту столба жидкости в камере 8 постоянного повышенного давления, можно в широких пределах регулировать энергию импульсного воздействия, при этом привод 6 не испытывает динамических воздействий от пульсационного движения жидкости, и, следовательно, его конструктивная прочность не ограничивает величину импульсного воздействия. Фильтрация жидкости перед заполнением ею камеры 8 позволяет в несколько раз повысить долговечность насоса.
Использование предлагаемого способа наибольший эффект дает при воздействии на продуктивные пласты с низким уровнем пластового давления и при использовании скважин, выведенных из эксплуатации.
Формула изобретения
1. Способ волнового воздействия на продуктивный пласт, включающий установку в заполненной жидкостью скважине плунжерного насоса, создание в скважине изолированных камер постоянного и переменного давления, связанных друг с другом посредством каналов, периодическое изменение давления в отдельных камерах за счет возвратно-поступательного перемещения плунжера указанного насоса и периодическое сообщение отдельных камер между собой, отличающийся тем, что камеру переменного давления создают в подплунжерной камере насоса путем понижения давления в ней за счет разряжения при ходе плунжера вверх, камеру постоянного давления создают в надплунжерной камере, а камеру постоянного повышенного давления создают в межтрубном пространстве путем заполнения его жидкостью на расчетную высоту столба, при этом периодическое сообщение камеры переменного давления с камерой повышенного постоянного давления осуществляют при ходе плунжера вниз.
2. Способ по п.1, отличающийся тем, что перед заполнением камеры повышенного постоянного давления жидкостью указанную жидкость фильтруют.
РИСУНКИ
MM4A – Досрочное прекращение действия патента СССР или патента Российской Федерации на изобретение из-за неуплаты в установленный срок пошлины за поддержание патента в силе
Дата прекращения действия патента: 02.03.2008
Извещение опубликовано: 20.02.2010 БИ: 05/2010
|
|