|
|
(21), (22) Заявка: 2006114600/28, 02.05.2006
(24) Дата начала отсчета срока действия патента:
02.05.2006
(46) Опубликовано: 10.10.2007
(56) Список документов, цитированных в отчете о поиске:
RU 2032966 C1, 10.04.1995. RU 1632311 С, 27.01.1995. WO 2004/054924 А1, 01.07.2004. WO 03/043090 А1, 22.05.2003.
Адрес для переписки:
124498, Москва, Зеленоград, пр-д 4806, 5, МИЭТ, патентно-лицензионный отдел
|
(72) Автор(ы):
Бобринецкий Иван Иванович (RU), Неволин Владимир Кириллович (RU), Хартов Станислав Викторович (RU), Чаплыгин Юрий Александрович (RU)
(73) Патентообладатель(и):
Государственное образовательное учреждение высшего профессионального образования Московский государственный институт электронной техники (технический университет) (RU)
|
(54) СПОСОБ ФОРМИРОВАНИЯ ПЛАНАРНЫХ МОЛЕКУЛЯРНЫХ ПРОВОДНИКОВ В ПОЛИМЕРНОЙ МАТРИЦЕ
(57) Реферат:
Изобретение относится к технологии изготовления элементов интегральных схем и позволяет получать планарные молекулярные проводники посредством упорядочивания молекул матрицы под действием электрического поля определенной конфигурации. Сущность изобретения: в способе формирования планарных молекулярных проводников в полимерной матрице, включающем подачу разности потенциалов между электродами, введенными в полимерную матрицу, электроды выполнены планарными и их геометрия обеспечивает конфигурацию электрического поля в зазоре, удовлетворяющую условию осевой локализации, при которой напряженность максимальна на оси формируемого канала и быстро спадает по радиусу. В состав формируемой структуры вводится управляющий третий электрод. В качестве материала полимерной матрицы используется любой полимер, включая низкомолекулярный, состав и структура молекул которого обеспечивают возможность осуществления в них электронного транспорта. Техническим результатом изобретения является повышение технологичности и расширение возможностей способа за счет преодоления необходимости в подвижности игольчатого электрода. 3 ил.
Настоящее изобретение относится к технологии изготовления элементов интегральных схем и может использоваться для создания молекулярных транзисторов и бистабильных элементов, например энергонезависимых ячеек памяти.
Как аналог может рассматриваться способ, предложенный в работе «Pentacene nanotransistor with carbon nanotube electrodes», где авторы применили в качестве управляемого канала транзистора нанокристалл полимера пентацен, сформированный в зазоре между концами углеродных нанотрубок методом напыления [1].
Известен способ создания молекулярных проводников в полимерной матрице, который является прототипом предлагаемого изобретения и включает подачу постоянного напряжения между поверхностью подложки с эпоксидной смолой и погруженным в нее игольчатым электродом, перемещение игольчатого электрода к подложке до возникновения туннельного тока, повышение напряжения при неподвижном игольчатом электроде до возникновения тока короткого замыкания, отведение электрода от подложки с определенной скоростью, полимеризацию смолы при комнатной температуре и постоянном токе между игольчатым электродом и поверхностью подложки [2].
Недостаток прототипа в том, что способ включает операцию прецизионного перемещения игольчатого электрода, что требует его оснащения механическим приводом и значительно усложняет решение задачи интеграции создаваемых данным способом элементов, также серьезную проблему представляет преодоление ограничений по воспроизводимости и нижнему пределу размеров такого игольчатого электрода. Кроме того, возможности прототипа ограничены созданием только двухэлектродных элементов.
Целью изобретения является повышение технологичности и расширение возможностей способа за счет преодоления необходимости в подвижности игольчатого электрода, упрощения решения проблемы обеспечения требуемой геометрии электродов, включения возможности формирования дополнительного третьего электрода.
Технический результат изобретения заключается в предложении способа создания молекулярного проводника между планарными электродами вблизи от управляющего третьего электрода.
Это достигается тем, что выполнение условий критической напряженности и осевой локализации электрического поля, необходимое для организации молекулярного канала проводимости в полимерной матрице, осуществляется за счет характера геометрии формирующих поле электродов, в то время как в случае прототипа данные условия обеспечивались минимизацией зазора игольчатый электрод – подложка, на начальном этапе, и игольчатый электрод – сформированный участок молекулярного канала, на этапе увеличения длины молекулярного канала, что требовало операции прецизионного перемещения игольчатого электрода и подложки относительно друг друга. Условие критической напряженности электрического поля связано с тепловым движением молекул исходной полимерной матрицы. Энергия диполь-дипольного взаимодействия поляризованных молекул должна превышать тепловую энергию разориентации. Напряженность поля, соответствующую равенству этих энергий, можно оценить по формуле:

где ‘ – постоянный дипольный момент молекулы, – наибольшее из значений тензора поляризуемости молекул ij.
В случае отсутствия у молекул постоянного дипольного момента ( ‘=0) для оценки критического поля получаем:

Аналогично оценкам, проведенным в работе [3], величина Ес, полученная для эпоксидной смолы, не превышает 24·106 В/м или 0.024 В/нм.
Второе необходимое условие – условие осевой локализации электрического поля, при которой напряженность максимальна на оси формируемого канала и быстро спадает по радиусу, по-видимому, связано со свойствами ориентируемых макромолекул, их движением в электрическом поле и взаимодействием друг с другом. Степень локализации электрического поля увеличивается с уменьшением поперечных размеров электродов и уменьшается с увеличением расстояния между электродами, причем уменьшение степени локализации происходит тем сильнее, чем меньше аспектное соотношение электродов.
В соответствии с вышеописанными условиями организации молекулярного канала проводимости в полимерной матрице предлагаемый способ включает в себя следующую последовательность операций. Формирование на изолирующем слое подложки планарных электродов стока и истока, отделенных друг от друга зазором и обладающих поперечными размерами и аспектным соотношением, обеспечивающими осевую локализацию электрического поля в зазоре, при которой напряженность максимальна на оси формируемого канала и быстро спадает по радиусу. Формирование таких планарных электродов может быть осуществлено посредством электронной или ионной литографии, посредством методов контролируемых электромиграции материала проводящей дорожки или термического разрушения нанотрубки, локального анодного окисления или механического разрезания материала проводящей дорожки или нанотрубки при помощи зонда атомно-силового или туннельного микроскопов. Геометрия и метод формирования управляющего третьего электрода зависят от варианта его расположения. В качестве вариантов можно привести боковое расположение управляющего электрода или его формирование под изолирующим слоем подложки. Далее наносится слой полимера таким образом, чтобы система электрод – зазор – электрод оказалась в полимерной матрице. Молекулы полимера должны обладать составом и структурой, обеспечивающими возможность осуществления электронного транспорта вдоль молекулярной цепочки. Например, иметь в составе мономера бензольные кольца. Сам полимер должен являться хорошим диэлектриком вследствие туннельного механизма межмолекулярного транспорта электронов. Примером является эпоксидная смола, которая в своем естественном, неструктурированном состоянии представляет собой жидкий диэлектрик, характеризующийся удельным электрическим сопротивлением не менее 1014 Ом·м, в то время как ее молекулы, упорядоченные в линейные мостики, обладают проводимостью, близкой к баллистической [4]. После нанесения слоя полимера приложение напряжения к электродам стока и истока приводит к возникновению электрического поля в зазоре, которое поляризует молекулы полимерной матрицы и выстраивает их в проводящие молекулярные мостики, образующие канал проводимости, электрически соединяющий электроды стока и истока. Поскольку характерная энергия связей в органических молекулах составляет около 5 эВ, то при приложении к электродам напряжения более 5 В в принципе возможен разрыв связей молекул полимерной матрицы в результате автоэлектронной эмиссии с электродов, и, соответственно, в этом случае нельзя исключать участие в молекулярном канале фрагментов молекул матрицы. Наибольшую длину формируемого молекулярного канала в первом приближении можно оценить, используя последовательно модели «эмиттерного эффекта» и «плоского конденсатора». На начальном этапе формирования молекулярного канала более корректно рассматривать электроды как удаленные друг от друга эмиттеры. Напряженность электрического поля, концентрирующегося на концах таких электродов, оценивается согласно формуле:
E=U/R,
где R – радиус, характеризующий поперечные размеры электродов. В случае выполнения условия Е>Ес, где Ес – критическая напряженность электрического поля, у электродов начинается выстраивание проводящих молекулярных мостиков вдоль расходящихся силовых линий поля. Это происходит до тех пор, пока характерный радиус области структурированной матрицы R’ не достигает критического:

Если величина зазора между электродами не превышает удвоенного значения , то на некоторой стадии структуризации полимерной матрицы более корректным становится приближение плоского конденсатора, согласно которому протяженность области, в которой можно поддерживать критическое поле, определяется формулой:
L=U/Ec .
Наибольшая величина зазора, в котором будет происходить организация молекулярного канала проводимости, таким образом, равна сумме величин L и удвоенного значения :

Если принять значение 5 В в качестве верхнего предела подаваемого на электроды напряжения, а величину критического поля определить из условия преодоления теплового движения молекул матрицы, т.е. согласно формуле (1), то наибольшая допустимая величина зазора между электродами стока и истока составит:
Lmax=3·U/Ec=625 (нм).
Поскольку за рамками рассмотренного приближения остался фактор эпитаксиального влияния поверхности подложки на молекулы граничного слоя полимера, затрудняющий ориентацию молекул во внешнем поле, то полученное значение Lmax по-видимому является завышенным.
Получаемый вышеописанным способом молекулярный канал проводимости обладает следующими основными свойствами. Он не подвержен разрушению при комнатной температуре, в условиях отсутствия внешнего электрического поля, что имело место в случае прототипа. Предположительно данная устойчивость обусловлена как повышенной жесткостью и дрейфоустойчивостью планарной системы по сравнению с системой зонд-подложка, используемой в прототипе, так и эпитаксиальным влиянием поверхности подложки, актуальным для планарной системы. В связи с этим становится приемлемо исключение операции полимеризации, содержащейся в прототипе. Проводимость молекулярного канала в статическом режиме модулируется электрическим полем затвора. При резком изменении напряжения затвора молекулярный канал переходит в стабильное высокоомное состояние. Требуемая скорость изменения напряжения затвора зависит от геометрии затвора, его расположения относительно канала и других факторов. Для возврата в исходное проводящее состояние необходимо приложить напряжение сток-исток. Описанные закономерности поведения молекулярного канала проводимости, по-видимому, можно объяснить микромеханикой молекул во внешних электрических полях. В то время как продольное электрическое поле сток-исток ориентирует макромолекулы в линейные молекулярные мостики, поперечное поле затвора должно вызывать частичную переориентацию молекул.
Чертежи
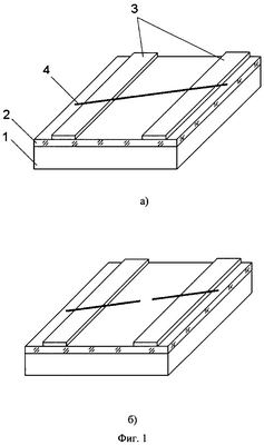
На фиг.1а представлено изображение структуры, состоящей из планарного затвора 1, изолирующего слоя 2, контактных дорожек 3, углеродной нанотрубки 4.
На фиг.1b представлено изображение структуры после операции разрезания нанотрубки.
На фиг.2 представлено семейство ВАХ цепи с молекулярным проводником при различных напряжениях затвора Ug: 1-Ug=0 В; 2-Ug=-20 В; 3-Ug=20 В.
На фиг.3 представлено семейство ВАХ двух устойчивых состояния молекулярного канала: 1 – «включенное»; 2 – «выключенное».
Пример конкретного выполнения
На структуру (фиг.1), состоящую из планарного затвора 1, изолирующего слоя 2 и контактных дорожек 3, помещается углеродная нанотрубка 4 (или пучок углеродных нанотрубок) таким образом, чтобы она формировала электрический контакт с двумя контактными дорожками. Это достигается одним из трех методов: осаждением нанотрубок из раствора на подложку поверх предварительно сформированных контактных дорожек, осаждением нанотрубок из раствора на подложку с последующим формированием контактных дорожек, выращиванием нанотрубок методом химического осаждения из газовой фазы на частицах катализатора, содержащихся в контактных дорожках. В той части нанотрубки, которая находится между контактными дорожками, делается разрез с целью получения двух нанотрубок, разделенных зазором. Величина зазора должна находиться в диапазоне от 2 до 600 нм (фиг.1б). Разрезание нанотрубки осуществляется либо при помощи зонда АСМ (посредством локального анодного окисления или механического воздействия), либо посредством контролируемого термического разрушения нанотрубки проходящим через нее электрическим током высокой плотности. Полученные таким образом две ориентированные относительно друг друга нанотрубки электрически подсоединены к контактным дорожкам и могут играть роль игольчатых электродов. Причем такие электроды обладают ультрамалым поперечным сечением и идеальным аспектным соотношением, что обеспечивает конфигурацию электрического поля в зазоре, удовлетворяющую условию осевой локализации для относительно больших величин зазоров. Далее наносится слой эпоксидной смолы таким образом, чтобы система нанотрубка – зазор – нанотрубка оказалась в полимерной матрице. В итоге, создание между нанотрубками разности потенциалов до 10 В приводит к формированию молекулярного канала проводимости, который электрически соединяет обе нанотрубки. Проводимость молекулярного канала модулируется электрическим полем затвора. Пример семейства статических ВАХ представлен на фиг.2. Касательно данного примера необходимо отметить, что основной вклад в сопротивление цепи контактные дорожки – углеродные нанотрубки – молекулярный канал вносили области соприкосновения нанотрубок и контактных дорожек, что характерно для использованного в примере метода нанесения нанотрубок из раствора поверх предварительно сформированных контактных дорожек. Кроме того, отметим, что поскольку в качестве игольчатых электродов использовались многостенные углеродные нанотрубки, то их собственная проводимость заметно не модулировалась внешним электрическим полем. При резком изменении напряжения затвора молекулярный канал переходит в стабильное высокоомное состояние. Для возврата в исходное проводящее состояние необходимо подать напряжение между игольчатыми электродами не более 10 В. В этом режиме работы устройство проявляет свойства энергонезависимой ячейки память. Пример семейства ВАХ устройства в бистабильном режиме работы представлен на фиг.4. В данном примере производилось изменение напряжения затвора с -20 В на +20 В со временем переходного процесса порядка 0.1 мс.
Источники информации
1. Kazuhito Tsukagoshi et al. Applied physics letters, V.85, №69, 2004.
2. Патент RU 2032966, МПК Н01L 39/00, 1991. – прототип.
3. Неволин В.К. Основы туннельно-зондовой нанотехнологии. Учебное пособие. Москва МГИЭТ (ТУ), 1996.
4. Неволин В.К. Электронная техника. Сер.3. Микроэлектроника. 1989. №3. С.58-59.
Формула изобретения
1. Способ формирования планарных молекулярных проводников в полимерной матрице, включающий подачу разности потенциалов между электродами, введенными в полимерную матрицу, отличающийся тем, что электроды выполнены планарными и их геометрия обеспечивает конфигурацию электрического поля в зазоре, удовлетворяющую условию осевой локализации, при которой напряженность максимальна на оси формируемого канала и быстро спадает по радиусу; в состав формируемой структуры вводится управляющий третий электрод; в качестве материала полимерной матрицы используется любой полимер, включая низкомолекулярный, состав и структура молекул которого обеспечивают возможность осуществления в них электронного транспорта.
2. Способ по п.1, отличающийся тем, что после подачи разности потенциалов между электродами и возникновения электрического тока в цепи, проводится операция отверждения полимерной матрицы.
3. Способ по п.1 или 2, отличающийся тем, что в качестве материала полимерной матрицы используется эпоксидная смола.
4. Способ по п.1 или 2, отличающийся тем, что в качестве планарных электродов используются нанотрубки.
5. Способ по п.1 или 2, отличающийся тем, что в качестве планарных электродов используются углеродные нанотрубки.
РИСУНКИ
|
|