|
|
(21), (22) Заявка: 2005140890/12, 26.12.2005
(24) Дата начала отсчета срока действия патента:
26.12.2005
(46) Опубликовано: 10.10.2007
(56) Список документов, цитированных в отчете о поиске:
RU 18699 U1, 10.07.2001. SU 793871 A1, 07.01.1981. RU 2103209 C1, 27.01.1998. RU 2065391 С1, 20.08.1996. JP 8058882 A, 05.03.1996.
Адрес для переписки:
450062, г.Уфа, ул. Космонавтов, 1, ГОУВПО “Уфимский государственный нефтяной технический университет”, патентный отдел
|
(72) Автор(ы):
Шнейдер Григорий Борисович (RU), Мустафин Фаниль Мухаметович (RU), Абдуллин Наил Винерович (RU), Садыков Габит Гатович (RU), Кирилов Сергей Леонидович (RU), Файзулина Юлия Юриковна (RU)
(73) Патентообладатель(и):
Государственное образовательное учреждение высшего профессионального образования “Уфимский государственный нефтяной технический университет” (RU)
|
(54) УПЛОТНЯЮЩИЙ ЗАТВОР ПЛАВАЮЩИХ КРЫШ РЕЗЕРВУАРОВ
(57) Реферат:
Изобретение относится к резервуаростроению. Предлагаемая конструкция уплотняющего затвора плавающих крыш резервуаров содержит стенку резервуара, периферийную часть плавающей крыши резервуара, верхнее и нижнее вторичные уплотнения, защитный металлический лист, резинотканевую шторку, шарнирно-стержневую систему, пружины сжатия, скользящий лист, фартук, шарнирную систему для соединения скользящего листа со скребком, скребок, кольцевые нагреватели. Изобретение позволяет повысить газоплотность затвора, уменьшить до минимального загрязнение внутренней полости затвора, уменьшить пожароопасность, более эффективно произвести очистку стенки резервуара от остатков нефти, отложений парафина, загрязнителей, сократить сроки монтажа и повысить ремонтопригодность. 1 з.п. ф-лы, 1 ил.
Изобретение относится к резервуаростроению и может быть использовано при сооружении стальных цилиндрических резервуаров с плавающими крышами.
Известна конструкция жесткого уплотняющего затвора, основными частями которого являются металлические детали (башмаки, рычаги, пружины) и эластичные элементы. Главная особенность жесткого затвора – использование в его конструкции тонколистного металла (оцинкованная сталь, дюраллюминевая лента и др.) или башмака, скользящего по корпусу резервуара. Башмаки, состыкованные друг с другом, образуют плотное кольцо, которое прижимается к корпусу резервуара системой рычагов или пружин. Однако в данной конструкции затвора не предусмотрены очистка стенки резервуара от остатков нефти, отложений парафина; защита внутренней полости затвора от загрязнения [Н.И.Коновалов, Ф.М.Мустафин и др. Оборудование резервуаров – Уфа, 2004, стр.159-160].
Наиболее близким техническим решением к заявляемому изобретению является уплотняющий затвор плавающей крыши цилиндрического резервуара [Свидетельство на полезную модель РФ №18699, В65D 88/34, Бюл. №19 10.07.2001 г.], содержащий уплотнитель из эластичного износостойкого токопроводящего материала, резинотканевого полотнища, верхний край которого прикреплен к уплотнителю, нижний край – к плавающей крыше, компрессионный лист из пружинящего материала, к верхнему краю которого прикреплен уплотнитель, нижний край прикреплен к плавающей крыше, при этом уплотнитель выполнен из листового материала (полотна), зажат между двумя П-образными профильными деталями с образованием герметизирующих элементов, контактирующих со стенкой резервуара, кроме того затвор снабжен скребковым устройством, включающим скребок из твердого не искрящегося материала, имеющий скобообразную форму с двумя режущими кромками, пружину сжатия, выполненную в виде полуокружности, один конец которой неподвижно прикреплен к плавающей крыше, другой свободно контактирует с вертикальной стенкой плавающей крыши, обращенной к стенке резервуара, к средней части (вершине) ее шарнирно прикреплен скребок.
Недостатками прототипа являются низкая эффективность очистки стенок резервуара от твердых остатков при отрицательной температуре, отсутствие защиты внутренней полости уплотняющего затвора от загрязнения, невозможность обеспечения высокой газоплотности затвора.
Задачей предлагаемого изобретения является обеспечение эффективной очистки стенок резервуара от твердых остатков при отрицательной температуре, обеспечение защиты внутренней полости затвора от загрязнения, повышение его газоплотности.
Указанная задача решается тем, что уплотняющий затвор плавающих крыш резервуаров, включающий резинотканевую шторку, скребковое устройство, пружины сжатия, один конец которых неподвижно прикреплен к плавающей крыше, согласно изобретению содержит скользящий лист, на нижнем и верхнем профильных концах которого, между П-образной и Г-образной профильными деталями, зажато верхнее и нижнее вторичное уплотнение, скребковое устройство поджимается к стенке резервуара пружинами сжатия, которые жестко закреплены на плавающей крыше, и шарнирно соединено со скользящим листом, который через шарнирно-стержневую систему и пружину сжатия соединен с плавающей крышей, кроме того, скользящий лист с помощью болтового соединения соединен с защитным металлическим листом, снабженным резинотканевой шторкой, перекрывающей зазор между верхом плавающей крыши и защитным металлическим листом, на стенке плавающей крыши закреплены кольцевые нагреватели.
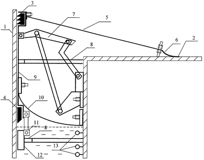
На чертеже представлен общий вид уплотняющего затвора плавающих крыш резервуаров.
Уплотняющий затвор плавающих крыш резервуаров содержит стенку резервуара 1, периферийную часть плавающей крыши резервуара 2, верхнее вторичное уплотнение 3, нижнее вторичное уплотнение 4, защитный металлический лист 5, резинотканевую шторку 6, шарнирно-стержневую систему 7, пружины сжатия 8, скользящий лист 9, фартук 10, шарнирную систему 11 для соединения скользящего листа 9 со скребком 12, кольцевые нагреватели 13.
Уплотняющий затвор плавающих крыш резервуаров работает следующим образом. При вертикальных и горизонтальных подвижках плавающей крыши благодаря шарнирно-стержневой системе 7 и пружине сжатия 8 происходит плотное прижатие скользящего листа 9 с нижним 4 и верхним 3 вторичным уплотнением к стенке резервуара 1, в результате чего обеспечиваются высокая газоплотность затвора и очистка с помощью скребка 12 вертикальных стенок 1 резервуара, с дополнительной подчисткой стенки резервуара нижним вторичным уплотнением 4. При отрицательных температурах твердые остатки размягчают циркуляцией нагретого воздуха через кольцевые нагреватели 13, закрепленные на стенке плавающей крыши 2, кроме того, при вертикальных и горизонтальных подвижках плавающей крыши резинотканевая шторка 6, соединенная при помощи шпильки с защитным металлическим листом 5, перекрывает зазор между плавающей крышей 2 и защитным металлическим листом 5, предотвращая загрязнение внутренней полости затвора.
Предлагаемая конструкция уплотняющего затвора для плавающих крыш резервуаров позволяет повысить газоплотность затвора, уменьшить до минимального загрязнения внутренней полости затвора, уменьшить пожароопасность, более эффективно произвести очистку стенки резервуара от остатков нефти, отложений парафина, загрязнителей, сократить сроки монтажа и повысить ремонтопригодность, в результате чего предлагаемый затвор для плавающих крыш резервуаров найдет широкое применение в резервуаростроении.
Формула изобретения
1. Уплотняющий затвор плавающих крыш резервуаров, включающий резинотканевую шторку, скребковое устройство, пружины сжатия, один конец которых неподвижно прикреплен к плавающей крыше, отличающийся тем, что он содержит скользящий лист, на нижнем и верхнем профильных концах которого, между П-образными и Г-образными профильными деталями, зажато верхнее и нижнее вторичное уплотнение, скребковое устройство поджимается к стенке резервуара пружинами сжатия, которые жестко закреплены на плавающей крыше и шарнирно соединено со скользящим листом, который через шарнирно-стержневую систему и пружину сжатия соединен с плавающей крышей, кроме того, скользящий лист с помощью болтового соединения соединен с защитным металлическим листом, снабженным резинотканевой шторкой, перекрывающей зазор между верхом плавающей крыши и защитным листом.
2. Уплотняющий затвор по п.1, отличающийся тем, что для очистки стенок резервуара при отрицательной температуре воздуха на стенке плавающей крыши закреплены кольцевые нагреватели.
РИСУНКИ
|
|