|
|
(21), (22) Заявка: 2006110794/11, 03.04.2006
(24) Дата начала отсчета срока действия патента:
03.04.2006
(46) Опубликовано: 10.10.2007
(56) Список документов, цитированных в отчете о поиске:
Коршак А.А., Шаммазов А.М. Основы нефтегазового дела. Учебник для ВУЗов. – Уфа: ООО «Дизайн Полигаф Сервис», 2001, с.327-330. RU 2211791 С2, 10.09.2003. US 3861555 A, 21.01.1975. GB 1343222 А, 10.01.1974. SU 943138 A1, 15.07.1982.
Адрес для переписки:
443100, г.Самара, ул. Молодогвардейская, 244, Главный корпус СамГТУ, патентный отдел
|
(72) Автор(ы):
Багдасаров Реджинальд Сергеевич (RU), Багдасарова Юлия Александровна (RU), Симонов Дмитрий Александрович (RU)
(73) Патентообладатель(и):
Государственное образовательное учреждение высшего профессионального образования Самарский государственный технический университет (RU)
|
(54) ПОНТОН ДЛЯ ВЕРТИКАЛЬНЫХ СТАЛЬНЫХ РЕЗЕРВУАРОВ
(57) Реферат:
Изобретение относится к нефтяной и нефтехимической промышленности и может быть использовано в резервуарных парках промысловых и магистральных нефте- и нефтепродуктопроводах, призаводских резервуарных парках нефтеперерабатывающих и нефтехимических заводов, на нефтебазах и морских, и речных терминалах. Понтон содержит кольцо жесткости, поплавки, сетку, покрытие, стойки, уплотняющий затвор и вентиляционный патрубок. Несущая конструкция выполнена из гнутых по радиусу трубных секций, заглушенных с торцов пробками и сваренных между собой в горообразное кольцо с положительной плавучестью. Внешний диаметр понтона меньше внутреннего диаметра резервуара. С внутренней стороны торообразного кольца к нему в диаметральных плоскостях приварены плоские кольца для увеличения жесткости. К вентиляционному патрубку приварены фланцы, раскрепленные вантовыми стяжками. Покрытие установлено между вантовыми стяжками, опирается на них и выполнено из вспененного термостойкого, химически инертного и не набухающего в хранимом продукте материала, армированного нитеобразными волокнами. Покрытие имеет меньшую плотность и больший объем, чем продукт, вытесненный при погружении понтона. Достигается уменьшение металлоемкости конструкции понтона, увеличение его плавучести, жесткости и термостойкости, обеспечение непотопляемости. 2 ил.
Изобретение относится к нефтяной и нефтехимической промышленности и может быть использовано в резервуарных парках промысловых и магистральных нефте- и нефтепродуктопроводах, призаводских резервуарных парках нефтеперерабатывающих и нефтехимических заводов, на нефтебазах и морских, и речных терминалах.
Известны конструкции однослойных металлических понтонов и принципиально не отличающихся от них плавающих крыш, плавучесть которых обеспечивается приваркой к днищу, изготовленному в виде диска из листовой стали, периферийного борта и элементов жесткости, образующих кольцевые секторные отсеки [1].
Недостатком этих конструкций является ненадежность работы из-за малой жесткости, ведущей к нарушению сплошности сварных швов при перекосах понтона, появлению течи и, как следствие, затоплению понтона.
Известны конструкции двухслойных металлических понтонов и плавающих крыш, плавучесть которых обеспечивается изолированными друг от друга секторными отсеками в виде замкнутых коробов прямоугольного сечения, образованных радиальными ребрами жесткости в соединении с окаймляющими бортами [1].
Недостатками этих конструкций являются их сложность, большая металлоемкость и протяженность сварных соединений, что обуславливает невысокую надежность.
Наиболее близким по технической сущности к предлагаемому является устройство понтона в виде кольца жесткости с сеткой, опирающегося на поплавки и покрытого ковром из синтетической пленки [1].
К числу недостатков конструкции этого понтона относятся: склонность материала покрытия к набуханию и невысокие несущая способность и термостойкость, что обуславливает малую надежность и небольшой срок службы.
Техническим результатом изобретения является уменьшение металлоемкости конструкции понтона, увеличение его плавучести, жесткости и термостойкости, обеспечение непотопляемости.
Технический результат достигается тем, что понтон для вертикальных стальных резервуаров содержит кольцо жесткости, поплавки, сетку, покрытие, стойки, уплотняющий затвор и вентиляционный патрубок, причем несущая конструкция выполнена из гнутых по радиусу трубных секций, заглушенных с торцов пробками и сваренных между собой в горообразное кольцо с положительной плавучестью и внешним диаметром меньше внутреннего диаметра резервуара, а для увеличения жесткости с внутренней стороны торообразного кольца к нему в диаметральных плоскостях приварены плоские кольца и к вентиляционному патрубку – фланцы, раскрепленные вантовыми стяжками, а покрытие установлено между вантовыми стяжками и опирается на них, и выполнено из вспененного термостойкого, химически инертного и не набухающего в хранимом продукте материала, армированного нитеобразными волокнами, имеющего меньшую плотность и больший объем, чем продукт, вытесненный при погружения понтона.
Сопоставительный анализ показывает, что заявляемое устройство отличается от прототипа тем, что собранные в кольцо, замкнутые с торцов пробками трубные секции подкреплены кольцевыми ребрами жесткости с косынками и вантовыми стяжками и одномоментно выполняют роль поплавков и несущей конструкции, а перекрытие зеркала изолируемого продукта осуществляется слоем не набухающего в продукте и химически инертного к нему вспененного термостойкого материала, размещенного между вантовыми стяжками.
Таким образом, заявляемое устройство соответствует критерию “новизна”. Сравнение заявляемого устройства с другими техническими решениями, аналогами в исследуемой области (резервуаростроение), позволяет сделать вывод об отсутствии в них признаков, сходных с существенными отличительными признаками в заявляемом понтоне для вертикальных стальных резервуаров, и признать заявляемое решение соответствующим критерию “существенные отличия”.
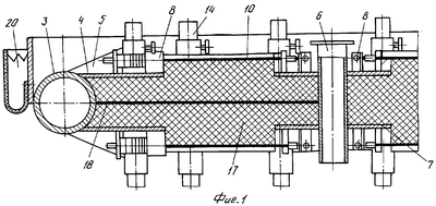
Сущность изобретения поясняется чертежами, где на фиг.1 показан общий вид и поперечное сечение понтона для вертикальных стальных резервуаров, а на фиг.2 – его вид сверху.
Несущая конструкция понтона выполнена в виде гнутых по радиусу трубных секций 1, заглушенных с торцов пробками 2 и сваренных между собой в горообразное кольцо 3 с внешним диаметром Дк меньше внутреннего диаметра резервуара Др.
С внутренней стороны торообразное кольцо 3, в диаметральных плоскостях к нему, подкреплено кольцевыми ребрами жесткости 4, усиленными косынками 5. В центре понтона размещен вентиляционный патрубок 6 с приваренными к нему фланцами 7 и установленными в верхней его части клапаном и огнепреградителем (на черт. не показано). Кольцевые ребра жесткости 4 и фланцы 7 по своей внутренней и наружной, соответственно, периферии снабжены упорами 8 для крепления наконечников 9 вантовых стяжек 10 и создания необходимого натяжения последних с помощью инвентарных винтовых или гидравлических домкратов (не показано).
Фиксация положения наконечников 9 осуществляется набором разрезных шайб-проставок 11.
На кольцевых ребрах жесткости нормально к ним установлены направляющие стаканы 12 с пропущенными в них и регулируемыми по высоте с помощью запоров 13 стойками 14 и стаканы 15 с пропущенными в них трубными направляющими 16, крепящимися к днищу и кровле резервуара (не показано).
В пространстве между винтовыми стяжками 10 размещено покрытие 17 из термостойкого, химически инертного к хранимому в резервуаре нефтепродукту и не набухающего в нем материала. Армирующим компонентом покрытия 17 служит высокопрочное волокно, например, из стеклонитей. Крепление покрытия 17 к ребрам жесткости 4 и фланцам 7 осуществляется термостойкой и химически инертной к хранимому продукту клеевой композицией типа жидкого стекла.
Несущим элементом для покрытия 17 служат пояса вантовых стяжек 10, изготовленных, например, из высокопрочных стальных канатов.
По внешней периферии горообразного кольца 3 приварен фартук 19, на котором установлено запорное устройство 20, герметизирующее зазор между понтоном и стенкой резервуара.
В исходном положении понтон посредством стоек 14, размещенных по окружности на кольцевых ребрах 4 в направляющих стаканах 12, опирается на днище резервуара. Стойки 14 регулируются по высоте в соответствии с технологическими требованиями и требованиями к условиям проведения очистных и ремонтных работ, а затем фиксируются запором 13 в заданном положении в направляющих стаканах 12. По мере наполнения резервуара продуктом понтон всплывает вместе со стойками. В плавучем положении понтона работает верхний пояс вантовых стяжек 10. Подъем понтона без крена и предотвращение его поворотов относительно стенки резервуара обеспечиваются установкой в последнем вертикальных трубных направляющих 16, а на понтоне – стаканов 15. При этом трубные направляющие 16 имеют перфорацию в своей нижней части, что обеспечивает возможность проведения ряда технологических и метрологических операций – отбора средней пробы, измерение уровня продукта в резервуаре, положения понтона и др.
Плавучесть понтона обеспечивается двояко: герметизацией полости каждой трубной секции 1 горообразного кольца 3 и пробками 2 и размещением между нижним и верхним рядами вантовых стяжек 10 покрытия 17 из материала химически инертного к нефти и нефтепродуктам, не набухающего в них и имеющего объемную плотность намного меньше объемной плотности последних.
Необходимое натяжение вантовых стяжек 10 обеспечивается регулировкой положения их наконечников 9 с помощью винтовых или гидравлических домкратов и фиксации положения наконечников с помощью разрезных шайб-проставок 11.
Проветривание подпонтонного пространства после осушки резервуара, необходимое для проведения ремонтных и очистных работ, осуществляется с помощью патрубка 6 и установленного на нем предохранительного клапана и огнепреградителя (не показано).
Верхнее положение понтона контролируется по дублирующимся сигналам нескольких датчиков верхнего уровня продукта, установленных по периферии верхнего пояса резервуара (не показано).
Герметизация зазора между понтоном и стенкой резервуара осуществляется любым известным запорным устройством 20.
Заявляемый понтон для вертикальных стальных резервуаров имеет намного меньшую металлоемкость, чем известные стальные понтоны, не уступает им в термостойкости, обладает большей жесткостью и практически непотопляем. По коррозионной стойкости к нефти и нефтепродуктам, содержащим серу, он намного превосходит понтоны, изготовленные из алюминиевых сплавов. В сравнении с понтоном, имеющим ковровое покрытие из синтетической пленки, заявляемый понтон намного надежнее, обладает большей термостойкостью и большим сроком службы.
Заявляемый понтон может быть использован как в строящихся, так и находящихся в эксплуатации или реконструируемых резервуарах для хранения сырых нефтей и нефтепродуктов. Его использование позволит резко увеличить межремонтные сроки, т.е. уменьшить простои оборудования, и сократить затраты на обслуживание, повысить промышленную и экологическую безопасность.
Источники информации
1. А.А.Коршак, A.M.Шаммазов. Основы нефтегазового дела. Учебник для ВУЗов: Уфа, ООО “ДизайнПолиграфСервис”, 2001, 544 с. С.327-330.
Формула изобретения
Понтон для вертикальных стальных резервуаров, содержащий кольцо жесткости, поплавки, сетку, покрытие, стойки, уплотняющий затвор и вентиляционный патрубок, отличающийся тем, что несущая конструкция выполнена из гнутых по радиусу трубных секций, заглушенных с торцов пробками и сваренных между собой в горообразное кольцо с положительной плавучестью и внешним диаметром меньше внутреннего диаметра резервуара, а для увеличения жесткости с внутренней стороны горообразного кольца к нему в диаметральных плоскостях приварены плоские кольца и к вентиляционному патрубку – фланцы, раскрепленные вантовыми стяжками, а покрытие установлено между вантовыми стяжками и опирается на них и выполнено из вспененного термостойкого, химически инертного и не набухающего в хранимом продукте материала, армированного нитеобразными волокнами, имеющего меньшую плотность и больший объем, чем продукт, вытесненный при погружении понтона.
РИСУНКИ
|
|