|
|
(21), (22) Заявка: 2004130166/12, 18.10.2004
(24) Дата начала отсчета срока действия патента:
18.10.2004
(43) Дата публикации заявки: 27.03.2006
(46) Опубликовано: 10.10.2007
(56) Список документов, цитированных в отчете о поиске:
SU 9246 A1, 31.05.1929. RU 2122947 C1, 10.12.1998. JP 8-318685 A, 03.12.1996. US 4149738 A1, 17.04.1979. GB 2323118 A, 16.09.1998.
Адрес для переписки:
182100, Псковская обл., г. Великие Луки, ул. Матвея Кузьмина, 13, кв.142, Г.И. Игнатенкову
|
(72) Автор(ы):
Игнатенков Геннадий Иванович (RU), Рохлин Алексей Николаевич (RU)
(73) Патентообладатель(и):
Игнатенков Геннадий Иванович (RU), Рохлин Алексей Николаевич (RU)
|
(54) СПОСОБ СШИВАНИЯ ДОКУМЕНТОВ И УСТРОЙСТВО ДЛЯ ЕГО ОСУЩЕСТВЛЕНИЯ
(57) Реферат:
Изобретение касается способа сшивания документов и устройства для его осуществления и относится к брошюровочно-переплетному производству. Способ сшивания документов заключается в том, что листы документов с подложкой из плотной бумаги укладывают стопкой на пластину накопителя-сшивателя устройства для сшивания документов до необходимой высоты папки. Стопку бумаги закрывают крышкой из плотной бумаги, плотно прижимают листы крышкой устройства для сшивания документов и фиксируют с помощью контактной ленты. Переворачивают устройство для сшивания вместе с документами, просверливают отверстия в стопе документов, а в образовавшиеся отверстия вставляют стержни с проушинами. Далее снова переворачивают устройство для сшивания, снимают с крышки данного устройства фиксирующую контактную ленту, удаляют крышку, продевают в проушины стержней нить, вытаскивают стержни и завязывают документы указанной нитью. Предложенное изобретение позволяет упростить способ и сократить время сшивания, повысить безопасность и удобство при сшивании. 2 н.п.ф-лы, 6 ил.
Изобретение относится к брошюровочно-переплетному производству, в частности, к брошюрованию бухгалтерских документов и может быть использовано для брошюрования любых документов, не требующих переплетения.
Известен способ сшивания документов, например, бухгалтерских, при котором стопку документов прокалывают, например, шилом, затем в образовавшиеся отверстия продевают нить и завязывают.
Этот способ трудоемок, так как требует больших усилий при прокалывании отверстий в большом объеме документов, кроме того, документы распадаются, образуя стопку с неровными краями, и по этим же причинам неудобен для сшивания.
Известно устройство для подшивки документов, например, папка-скоросшиватель (артикул 1С2-2444, производитель ОАО «Санкт-Петербургский картонно-полиграфический комбинат»). Она содержит накопитель-сшиватель с жестко закрепленной на ней металлической гибкой П-образной пластиной, на свободные концы которой сначала надевают предварительно проколотые (перфорированные) документы, затем надевают планку и концы пластины отгибают.
Недостатком такого устройства является то, что его нельзя использовать для сшивания, например, бухгалтерских документов, требующих четырех проколов и в конечном счете неразъемного скрепления.
Задачей настоящего изобретения является создание способа сшивания документов и устройства для его осуществления, позволяющих упростить способ и сократить время сшивания, повысить технику безопасности и удобство при сшивании.
Поставленная задача достигается тем, что листы документов с подложкой из плотной бумаги, например картона, укладывают на пластину накопителя-сшивателя устройства для сшивания стопкой до необходимой высоты папки, закрывают крышкой из плотной бумаги, например картона, плотно прижимают крышкой устройства для сшивания, фиксируют с помощью контактной (липучей) ленты, переворачивают устройство вместе с документами, просверливают отверстия в документах через имеющиеся отверстия в пластине накопителя-сшивателя и крышке, в образовавшиеся отверстия вставляют стержни с проушинами, снова переворачивают устройство для сшивания, снимают с крышки устройства фиксирующую контактную ленту, удаляют крышку, продевают в проушины стержней нить, вытаскивают стержни и завязывают документы указанной нитью.
Кроме того, поставленная задача достигается тем, что известное устройство для сшивания документов, содержащее накопитель-сшиватель, согласно изобретению, дополнительно снабжено крышкой в виде пластины с отверстиями на определенном расстоянии, закрепленным посередине отрезком контактной ленты, и боковыми стенками, на задних торцевых поверхностях которых также закреплены отрезки контактной ленты, а указанный накопитель-сшиватель выполнен в виде пластины с отверстиями, направляющими на отверстиях и закрепленными на ней по углам и посередине отрезками контактной ленты для фиксации документов, ограничителями в виде боковых и задней стенок, причем на задней стенке в местах соприкосновения с торцевыми поверхностями боковых стенок крышки закреплены отрезки контактной ленты и профильных стержней с проушинами.
Заявляемое изобретение позволяет значительно снизить трудоемкость, время сшивания, удобно и предохраняет работника от травм (уколов шилом или другим острым предметом при прокалывании документов). Кроме того, позволяет получить неразъемное скрепление документов.
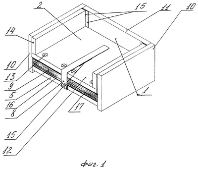
На фиг.1-6 представлено заявляемое устройство для сшивания документов и проиллюстрирован способ сшивания документов нитью с его помощью.
На фиг.1 представлено устройство для сшивания документов с зафиксированными на нем документами; на фиг.2 – то же, что на фиг.1, перевернутый вид; на фиг.3 – то же, что на фиг.1 с просверленными отверстиями в папке документов и вставленными стержнями; на фиг.4 – накопитель-сшиватель с документами и продетыми в проушины стержней нитями; на фиг.5 – накопитель-сшиватель с документами и вытянутыми стержнями; на фиг.6 – папка документов перед завязыванием нити.
Устройство для сшивания документов состоит из накопителя-сшивателя 1, крышки 2 и профильных стержней 3 с проушинами 4. Накопитель-сшиватель 1 выполнен в виде пластины 5 с отверстиями 6 на определенном расстоянии, при этом на нижней поверхности пластины 5 на отверстиях 6 закреплены направляющие 7 в виде гаек, а на передней поверхности закреплен отрезок контактной (липучей) ленты 8 для фиксации стопки документов 9. Для выравнивания стопки документов 9 и ограничения размера папки документов пластина 5 снабжена боковыми 10 и задней 11 стенками. Крышка 2 устройства для сшивания документов выполнена в виде пластины 12 с отверстиями 13 на определенном расстоянии и боковых стенок 14. На задних торцевых поверхностях боковых стенок 14, на верхней поверхности пластины 12, а также на задней стенке 11 накопителя-сшивателя 1 в местах соприкосновения с торцевыми поверхностями боковых стенок 14 крышки 2 закреплены отрезки контактной (липучей) ленты 15 для дополнительной фиксации стопки документов 9.
Устройство работает следующим образом. На пластину 5 накопителя-сшивателя 1 укладывают листы документов 9 стопкой, предварительно подложив плотный лист бумаги 16, например картон, при этом боковые 10 и задняя 11 стенки способствуют выравниванию стопки документов и ограничению размеров папки, закрывают крышкой 17 из плотной бумаги, например из картона, закрывают и плотно прижимают крышкой 2 устройства для сшивания документов, фиксируют стопку документов с помощью контактной ленты 8, переворачивают устройство для сшивания документов и просверливают, например, дрелью, отверстия в стопке документов, используя имеющиеся отверстия 6 и направляющие 7 в пластине 5 накопителя-сшивателя 1 и отверстия 13 в пластине 12 крышки 2. Затем в образовавшиеся в стопке отверстия 18 вставляют стержни 3 с проушинами 4, переворачивают устройство для сшивания вместе с документами, снимают с крышки 2 устройства для сшивания фиксирующую контактную ленту 8, удаляют крышку 2, продевают в проушины 4 стержней 3 нить 19, вытаскивают стержни 3 и завязывают документы указанной нитью 19.
Заявляемое изобретение позволяет значительно снизить трудоемкость, время сшивания, удобно при использовании, предохраняет работника от травм (уколов шилом или другим острым предметом при прокалывании) и кроме того позволяет получить требуемое неразъемное скрепление документов.
Формула изобретения
1. Способ сшивания документов, заключающийся в том, что листы документов с подложкой из плотной бумаги укладывают на пластину накопителя-сшивателя устройства для сшивания документов стопкой до необходимой высоты папки, закрывают крышкой из плотной бумаги, плотно прижимают их крышкой устройства для сшивания документов, фиксируют с помощью контактной ленты, переворачивают устройство для сшивания вместе с документами, просверливают отверстия в документах, в образовавшиеся отверстия вставляют стержни с проушинами, снова переворачивают устройство для сшивания, снимают с крышки устройства для сшивания фиксирующую контактную ленту, удаляют крышку, продевают в проушины стержней нить, вытаскивают стержни, и завязывают документы указанной нитью.
2. Устройство для сшивания документов, содержащее накопитель-сшиватель, отличающееся тем, что оно снабжено крышкой в виде пластины с отверстиями на определенном расстоянии, закрепленным посередине крышки отрезком контактной ленты и боковыми стенками, на задних торцевых поверхностях которых закреплены отрезки контактной ленты, а указанный накопитель-сшиватель выполнен в виде пластины с отверстиями, направляющими на отверстиях и закрепленными на ней по углам и посередине отрезками контактной ленты для фиксации документов, с ограничителями в виде боковых и задней стенок, причем на задней стенке в местах соприкосновения с торцевыми поверхностями боковых стенок крышки закреплены отрезки контактной ленты, при этом устройство дополнительно снабжено профильными стержнями с проушинами.
РИСУНКИ
|
|