|
|
(21), (22) Заявка: 2005115322/28, 20.05.2005
(24) Дата начала отсчета срока действия патента:
20.05.2005
(43) Дата публикации заявки: 27.11.2006
(46) Опубликовано: 27.09.2007
(56) Список документов, цитированных в отчете о поиске:
RU 2106619 C1, 10.03.1998. SU 1798935 A1, 28.02.1993. RU 2243629 С2, 27.12.2004. RU 2237985 С1, 10.10.2004. US 4521905 A, 04.06.1985. GB 2175778 A, 12.03.1986. JP 6018447 A, 25.01.1994. US 5675625 A, 07.10.1997. JP 1185500 A, 25.07.1989.
Адрес для переписки:
140003, Московская обл., г. Люберцы, в/ч 75360
|
(72) Автор(ы):
Кеткович Андрей Анатольевич (RU), Маклашевский Виктор Яковлевич (RU)
(73) Патентообладатель(и):
В/ч 75360 (RU), Кеткович Андрей Анатольевич (RU), Маклашевский Виктор Яковлевич (RU)
|
(54) ДИФРАКЦИОННЫЙ ЛАЗЕРНЫЙ ЦЕНТРАТОР ДЛЯ РЕНТГЕНОВСКОГО ИЗЛУЧАТЕЛЯ
(57) Реферат:
Использование: для ориентации рентгеновского излучателя по отношению к объекту. Сущность: заключается в том, что в лазерный центратор дополнительно введен оптический растр, состоящий из 4-х групп идентичных прозрачных и непрозрачных штрихов шириной t и высотой Н, штрихи каждой группы развернуты в плоскости растра на 45° относительно штрихов соседних групп и расположены симметрично оси лазера, растр установлен на оси лазера перпендикулярно к ней, перед растром между ним и первым отражателем на оси лазера перпендикулярно к ней установлен непрозрачный экран для экранирования лучей лазера высших дифракционных порядков, экран имеет одно центральное отверстие для прохождения лучей лазера нулевого порядка дифракции и восемь отверстий для пропускания лучей лазера, дифрагированных в ±1-й порядок дифракции, которые расположены на экране на определенном диаметре через 45° друг от друга и пространственно совмещены с положением соответствующих дифракционных максимумов ±1-го порядка в плоскости растра. Технический результат: определение области объекта, просвечиваемого рентгеновским излучением, а также упрощение определения центра этой зоны. 4 ил.
Известен лазерный центратор, содержащий корпус, расположенный в нем лазер с двусторонним выходом излучения, оптическая ось которого параллельна продольной оси рентгеновского излучателя, два отражателя, первый из которых установлен на пересечении оптической оси лазера с осью рентгеновского пучка, а второй установлен на оптической оси выхода излучения лазера вне проекции на нее выходного окна рентгеновского излучателя с возможностью его поворота вокруг оси, перпендикулярной плоскости, задаваемой оптической осью выхода излучения лазера с осью рентгеновского пучка, и средство индикации фокусного расстояния в виде указателя со шкалой, закрепленной на корпусе центратора, дополнительно снабжен двумя цилиндрическими линзами, установленными на оси излучения лазера, поперек каждого его выходного пучка, первая – между одним из торцов лазерного излучателя и первым отражателем, а вторая – между вторым торцом лазерного излучателя и вторым отражателем, а их фокус выбирается из соотношения f=h/tg , где h – радиус лазерного пучка, – угол излучения рентгеновского пучка, при этом цилиндрические линзы установлены с возможностью вращения вокруг оси лазерного пучка [2].
Недостаток этого центратора – невозможность оценки области объекта, просвечиваемого рентгеновским излучением, а также сложность определения центра этой зоны и определения расстояния от рентгеновского излучателя до объекта в связи с необходимостью вращения цилиндрических линз.
Для устранения этих недостатков в лазерный центратор, содержащий корпус, расположенный в нем лазер с двусторонним выходом излучения, оптическая ось которого параллельна продольной оси рентгеновского излучателя, два отражателя, первый из которых установлен на пересечении оптической оси лазера с осью рентгеновского пучка, а второй установлен на оптической оси выхода излучения лазера вне проекции на нее выходного окна рентгеновского излучателя с возможностью его поворота вокруг оси, перпендикулярной плоскости, задаваемой оптической осью выхода излучения лазера с осью рентгеновского пучка, и средство индикации фокусного расстояния в виде указателя со шкалой, закрепленной на корпусе центратора, цилиндрическую линзу, установленную на оси излучения лазера, поперек его выходного пучка, между вторым торцом лазерного излучателя и вторым отражателем, фокус которой выбирается из соотношения f=h/tg , где h – радиус лазерного пучка, – угол излучения рентгеновского пучка, при этом цилиндрическая линза установлена с возможностью вращения округ оси лазерного пучка, дополнительно введен оптический растр, состоящий из 4-х групп идентичных прозрачных и непрозрачных штрихов шириной t и высотой Н, штрихи каждой группы развернуты в плоскости растра на 45° относительно штрихов соседних групп и расположены симметрично относительно оси лазера, растр установлен на оси лазера перпендикулярно к ней на расстоянии А от центра первого отражателя, равного расстоянию от этого центра до фокуса рентгеновской трубки, ширина штрихов выбирается из условия t= (sin( /2)), где – длина волны излучения лазера, – угол излучения рентгеновской трубка, перед растром между ним и первым отражателем на оси лазера перпендикулярно к ней на расстоянии B от растра установлен непрозрачный экран для экранирования лучей лазера высших дифракционных порядков, экран имеет одно центральное отверстие для прохождения лучей лазера нулевого порядка дифракции и восемь отверстий для пропускания лучей лазера, дифрагированных в ±1-й порядок дифракции, которые расположены на экране на диаметре D=B(tg( /2)) через 45° друг от друга и пространственно совмещены с положением соответствующих дифракционных максимумов ±1-го порядка в плоскости растра, а разбор экрана выбирается с учетом соотношения DЭ 2tg , где , k угол дифракционного порядка, – порядок дифракции,  2,3,4…, причем конкретное значение выбирается с учетом яркости дифракционных максимумов высших порядков, зависящей от мощности лазера и условий наблюдения.
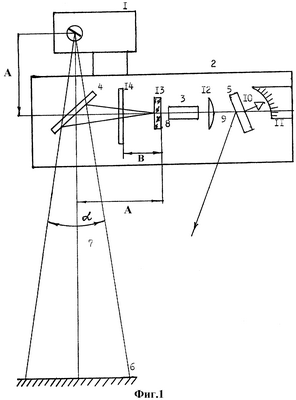
Изобретение поясняется чертежами фиг.1-4, на которых представлены общая схема устройства (фиг.1), конфигурация дифракционного растра (фиг.2), структура дифракционной картины после прохождения лазерного излучения через растр (фиг.3,а), вид экрана для экранирования лазерного излучения, дифрагированного в высшие порядки дифракции (фиг.3,б), вид дифракционной картины за экраном (фиг.3,в) и схематическое изображение экрана и лазерных лучей, дифрагированных на растре в ±1 порядки дифракции.
Лазерный центратор содержит рентгеновский излучатель 1, к которому крепится корпус 2 с расположенным в нем лазером 3 с двусторонним выходом излучения, оптическая ось выхода излучения которого параллельна продольной оси рентгеновского излучателя, два отражателя 4 и 5, первый (4) из которых выполнен из оргстекла, установлен на пересечении оптической оси лазера 8 с осью рентгеновского пучка 7 излучателя (падающего на контролируемую поверхность 6) с возможностью поворота вокруг оси, перпендикулярной плоскости, задаваемой оптической осью 8 выхода излучения лазера с осью 7 рентгеновского пучка, в диапазоне углов 25-65°, а второй (5) установлен с возможностью поворота вокруг оси, параллельной оси поворота первого отражателя на оптической оси 9 выхода излучения вне проекции на нее выходного окна рентгеновского излучателя, средство индикации фокусного расстояния в виде указателя 10 со шкалой 11, закрепленной на корпусе 2 центратора, связанного с вторым отражателем 5, и средство прерывания пучка от второго отражатели 5, выполненное в виде откидной шторки, установленной до или после второго отражателя.
В центраторе имеется цилиндрическая линза 12, которая установлена на оптической оси лазерного пучка, между торцом лазера и отражателем 5 таким образом, что на объекте 6 образуется вертикальная светящаяся полоса.
Перед первым выходным торцом лазера между ним и первым отражателем 4 на расстоянии А от центра отражателя 4 на оси лазера перпендикулярно к ней установлен оптический растр 13, состоящий из 4-х групп идентичных прозрачных и непрозрачных штрихов шириной t и высотой Н (фиг.2). Штрихи каждой группы наклонены на угол 45° по соотношению к штрихам соседней группы. Между растром 13 и первым отражателем 4 на оси лазера перпендикулярно к ней установлен экран 14 для экранирования лазерных лучей высших фракционных порядков.
Диаметр растра d должен быть d dЛ, где dЛ – диаметр пучка лазера.
Устройство работает следующим образом. Излучение лазера 3 из его первого выходного торца попадает на растр 13 и, в соответствии с законами оптической дифракции, преобразуется в систему пространственно разделенных лучей, распространяющихся под различными углами к оси лазера. При этом лучи нулевого порядка дифракции распространяются по оси лазера и имеют максимальную интенсивность излучения. Лучи, дифрагированные в 1-й и более высокие порядки дифракции, распространяются в плоскостях, перпендикулярных штрихам данной группы штрихов растра симметрично оси лазера под углами  , величина которых определяется соотношением tsin = , где =0, 1, 2, 3…, где t – ширина штрихов растра, – порядок дифракции, – длина волны лазера.
Таким образом, для растра, имеющего 4 группы штрихов, развернутых относительно друг друга на угол 45° (фиг.2) дифракционная картина в плоскости, перпендикулярной оси лазера, будет иметь вид, показанный на фиг.3,а.
Интенсивность излучения в 1-м порядке составляет примерно 40% от интенсивности нулевого порядка, а в высших порядках быстро уменьшается. Поэтому в устройстве с помощью экрана 14, установленного на расстоянии B от растра, на объект направляются только лучи нулевого и первого порядков (фиг.3,б).
Размер экрана DЭ выбирается с учетом полного перекрытия высших порядков, начиная с =2 и до =4, с учетом их интенсивности, зависящей от мощности лазеров. Практически для реально используемого устройства лазера с =0,63 мкм диаметром луча dЛ=2,0 мм и мощностью излучения P 5 мВт с  4 практически не видны на объекте. Поэтому габариты экрана выбираются с учетом устранения порядков до =4.
Расстояние от растра до центра первого отражателя выбирается равным расстоянию от этого центра до фокуса рентгеновской трубки. Направление лучей нулевого порядка после отражения от первого отражателя совпадает с направлением оси рентгеновского пучка, что достигается известными приемами угловой юстировки зеркал.
Ширина штрихов растра во всех его группах одинакова и выбрана такой, чтобы углы между осью лазера и лучами ±1 порядка дифракции численно совпадали с углом излучения рентгеновского излучателя, т.е. 2 = (фиг.4).
В силу вышеизложенного на объект падает веер из 9 лазерных лучей, один из которых – центральный луч нулевого порядка дифракции, пространственно совпадает с осью рентгеновского пучка и формирует на объекте яркое пятно, геометрически совпадающее с точкой пересечения объекта с осью рентгеновского пучка.
Остальные восемь лучей распространяются симметрично относительно центрального луча нулевого порядка под углами к нему, адекватными угловому размеру рентгеновского пучка. На объекте при этом формируется 8 ярких пятен, расположенных симметрично относительно центрального пятна нулевого порядка дифракции, причем диаметр окружности, на которой они расположены, соответствует диаметру зоны объекта, просвечиваемой рентгеновским пучком.
Как показали наши исследования, восемь лазерных точек (пятен) вполне достаточно для оценки положения и размера зоны объекта, просвечиваемой рентгеновским пучком. В то же время это позволяет использовать в качестве растров оптические миры для контроля качества изображения оптических систем [4], широко применяемые в оптической и электронной промышленности.
Выбирая нужный номер оптической миры и номер группы ее штрихов, можно достаточно просто подобрать нужное значение угла дифракционного порядка 1-го порядка. Ширина штрихов мир изменяется от 2 мкм (мира №3) до 10 мкм (мира №4) и более, что достаточно для практики.
В процессе работы оператор наводит центратор на нужную зону объекта, совмещая ее центр с лазерным кольцом, а затем, вращая второй отражатель, совмещает яркую точку в центре лазерного кольца с лазерной полоской, формируемой цилиндрической линзой перед вторым выходным торцом лазера, снимает со шкалы устройства отсчет, равный расстоянию от объекта до рентгеновского излучателя, аналогично патенту-аналогу [2].
Для повышения контраста изображения лазерных лучей на объекте особенно в условиях интенсивной солнечной засветки рекомендуется наблюдать объект через узкополосный светофильтр с длиной волны лазера.
Растр выполняется фотолитографическим методом, хорошо освоенным в электронной и оптической промышленности. Ширина штрихов для получения углов дифракции 1-го порядка в диапазоне 6±10°, что соответствует углам излучения рентгеновских излучателей =12÷20°, составляет 2÷5 мкм, что вполне реализуемо на практике даже на обычных фотоматериалах типа «Микрат» и т.п. Размер растра принят равным диаметру излучения серийных лазеров, т.е. H 1÷2 мм, излучающих на длине волны =0,63 мкм (наиболее распространенный диапазон излучения газовых или полупроводниковых лазеров). Применяя растры различной ширины, можно легко изменять угловой размер лазерного конического пучка.
ЛИТЕРАТУРА
1. Патент России 1798935, Лазерный центратор.
2. Патент России 2106619, Лазерный центратор для рентгеновского излучателя.
3. Справочник конструктора оптико-механических приборов, под ред. В.А.Панова, М.: Машиностроение, 1980, 742 с.
4. Афанасьев В.А. Оптические намерения. М.: Высшая школа, 1981, 229 с.
Формула изобретения
Лазерный центратор, содержащий корпус, расположенный в нем лазер с двусторонним выходом излучения, оптическая ось которого параллельна продольной оси рентгеновского излучателя, два отражателя, первый из которых установлен на пересечении оптической оси лазера с осью рентгеновского пучка, а второй установлен на оптической оси выхода излучения лазера вне проекции на нее выходного окна рентгеновского излучателя с возможностью его поворота вокруг оси, перпендикулярной плоскости, задаваемой оптической осью выхода излучения лазера с осью рентгеновского пучка, и средство индикации фокусного расстояния в виде указателя со шкалой, закрепленной на корпусе центратора, цилиндрическую линзу, установленную на оси излучения лазера, поперек его выходного пучка, между вторым торцом лазерного излучателя и вторым отражателем, фокус которой выбирается из соотношения f=h/tg , где h – радиус лазерного пучка, – угол излучения рентгеновского пучка, при этом цилиндрическая линза установлена с возможностью вращения вокруг оси лазерного пучка, отличающийся тем, что в него дополнительно введен оптический растр, состоящий из 4-х групп идентичных прозрачных и непрозрачных штрихов шириной t и высотой Н, штрихи каждой группы развернуты в плоскости растра на 45° относительно штрихов соседних групп и расположены симметрично оси лазера, растр установлен на оси лазера перпендикулярно к ней на расстоянии А от центра первого отражателя, равного расстоянию от этого центра до фокуса рентгеновской трубки, ширина штрихов выбирается из условия t= (sin( /2), где – длина волны излучения лазера, – угол излучения рентгеновской трубки, перед растром между ним и первым отражателем на оси лазера перпендикулярно к ней на расстоянии В от растра установлен непрозрачный экран для экранирования лучей лазера высших дифракционных порядков, экран имеет одно центральное отверстие для прохождения лучей лазера нулевого порядка дифракции и восемь отверстий для пропускания лучей лазера, дифрагированных в ±1-й порядок дифракции, которые расположены на экране на диаметре D=B(tg( /2) через 45° друг от друга и пространственно совмещены с положением соответствующих дифракционных максимумов ±1-го порядка в плоскости растра, а размер экрана выбирается с учетом соотношения DЭ>2·В·tg , где , – порядок дифракции,  2, 3, 4…, причем конкретное значение выбирается с учетов яркости дифракционных максимумов высших порядков, зависящей от мощности лазера и условий наблюдения.
РИСУНКИ
MM4A – Досрочное прекращение действия патента СССР или патента Российской Федерации на изобретение из-за неуплаты в установленный срок пошлины за поддержание патента в силе
Дата прекращения действия патента: 21.05.2008
Извещение опубликовано: 10.06.2010 БИ: 16/2010
|
|