|
|
(21), (22) Заявка: 2005134729/06, 09.11.2005
(24) Дата начала отсчета срока действия патента:
09.11.2005
(43) Дата публикации заявки: 20.05.2007
(46) Опубликовано: 27.09.2007
(56) Список документов, цитированных в отчете о поиске:
RU 2099847 C1, 20.12.1995. US 4206396 A, 03.06.1980. RU 2150170 C1, 27.05.2000. RU 2241300 C1, 27.11.2004.
Адрес для переписки:
199034, Санкт-Петербург, наб. Макарова, 6, ФИН, Н.М. Корнюшиной
|
(72) Автор(ы):
Горшков Эдуард Степанович (RU), Иванов Вячеслав Васильевич (RU), Корнюшина Наталия Михайловна (RU)
(73) Патентообладатель(и):
Корнюшина Наталия Михайловна (RU)
|
(54) ЭЛЕКТРОСТАТИЧЕСКИЙ ЭЛЕКТРОГЕНЕРАТОР ТОКА
(57) Реферат:
Электрогенератор предназначен для использования в электротехнике. Электрогенератор содержит плавсредство, электроды и расположенный между электродами диэлектрический элемент, выполненный в виде сетчатой емкости, которая заполнена крошкой или гранулами с возможностью их перемещения. Изобретение обеспечивает эффективность в работе, экономичность в изготовлении и эксплуатации. 1 ил.
Изобретение относится к электротехнике, к электростатическим электрогенераторам тока (ЭЭГТ).
Известен ЭЭГТ (1), принятый за прототип, содержащий электроды и между ними диэлектрический элемент.
Однако эффективность таких генераторов в работе низка.
Цель изобретения – повышение эффективности ЭЭГТ.
Сущность предложенного ЭЭГТ, содержащего электроды и между ними элемент из диэлектрика, заключается в выполнении этого элемента в виде сетчатой емкости, заполненной крошкой или гранулами диэлектрика с возможностью их перемещения, а генератор снабжен плавсредством.
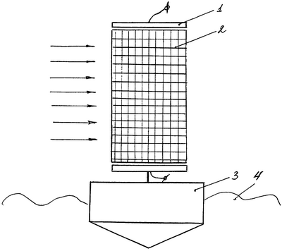
На чертеже изображен предложенный ЭЭГТ, где 1 – электрод, 2 – емкость из диэлектрической сетки, 3 – плавсредство, 4 – вода. Стрелками условно показано направление потока воздуха.
Работа устройства происходит следующим образом. Проникающий сквозь сетку 2 и между гранулами или крошками заполнения воздушный поток заряжает их благодаря трибостатическому эффекту. Одновременно поток воздуха за счет парусности генератора раскачивает его вместе с волнами. Гранулы заполнения смещаются и трутся друг о друга и о внутреннюю поверхность сетки 2 емкости. В результате внутри емкости возникает электростатический заряд, суммирующийся с трибостатическим. Суммарный заряд повышает эффективность электрогенератора.
Изготовление устройства не представляет трудностей, используются при этом дешевые материалы, а в процессе эксплуатации – природная энергия ветра и волн, чем и обусловлена экономичность электрогенератора.
Литература:
1. Патент РФ №2027298 (прототип).
Формула изобретения
Электростатический электрогенератор тока, содержащий электроды и между ними элемент из диэлектрика, отличающийся тем, что диэлектрический элемент выполнен в виде сетчатой емкости, заполненной гранулами с возможностью их перемещения, а генератор снабжен плавсредством.
РИСУНКИ
MM4A – Досрочное прекращение действия патента СССР или патента Российской Федерации на изобретение из-за неуплаты в установленный срок пошлины за поддержание патента в силе
Дата прекращения действия патента: 10.11.2007
Извещение опубликовано: 27.07.2009 БИ: 21/2009
|
|