|
|
(21), (22) Заявка: 2006107881/09, 13.03.2006
(24) Дата начала отсчета срока действия патента:
13.03.2006
(46) Опубликовано: 27.09.2007
(56) Список документов, цитированных в отчете о поиске:
WO 0070914 А2, 23.11.2000. RU 2035082 С1, 10.05.1995. DE 2905698 А1, 28.08.1980. ШОФФА В.Н. и др. Реле тока на магнитоуправляемых герметизированных контактах. Информэлектро. – М., 1978, с.36-43.
Адрес для переписки:
390027, г.Рязань, ул. Новая, 51В, ОАО “РЗМКП”
|
(72) Автор(ы):
Карабанов Сергей Михайлович (RU), Иванов Юрий Григорьевич (RU), Майзельс Рафаил Михайлович (RU), Провоторов Виктор Степанович (RU), Цедилин Николай Григорьевич (RU), Фадин Евгений Михайлович (RU)
(73) Патентообладатель(и):
Открытое акционерное общество “Рязанский завод металлокерамических приборов”, ОАО “РЗМКП” (RU)
|
(54) ВЫКЛЮЧАТЕЛЬ КОНЦЕВОЙ ГЕРКОНОВОЙ ПРЕЦИЗИОННЫЙ
(57) Реферат:
Изобретение относится к области электротехники и может быть использовано для контроля и управления электромеханическими проводами и замками-фиксаторами повышенной точности. Техническим результатом является упрощение эксплуатации и уменьшение дифференциала хода. Технический результат достигается тем, что выключатель содержит прямоугольный пластмассовый корпус с внутренними приливами, в котором загерметизирована печатная плата с односторонним меднением. На немедненной поверхности указанной платы установлен переключающий геркон, между выводами которого размещен магнитомягкий ферромагнитный экран в виде отрезка цилиндрической трубки. При этом переключающий геркон удален от наружной поверхности рабочей грани корпуса на величину , а расстояние срабатывания Lсраб при линейном и соосном перемещении цилиндрического стержневого магнита в плоскости, проходящей через продольные оси симметрии рабочей грани корпуса и магнита, определяется из выражения

где dм и Lm – соответственно диаметр и длина стержневого магнита,
LЭ, dЭ, hЭ – соответственно длина, диаметр и толщина стенки трубчатого ферромагнитного экрана,
а – величина перекрытия контакт-деталей геркона в замыкаемой паре,
b – ширина подвижной контакт-детали геркона,
Fмакс(А) – верхняя граница допустимого диапазона магнитодвижущей силы срабатывания,
Fi(A) – текущее значение магнитодвижущей силы срабатывания геркона, используемого в выключателе,
– расстояние между наружной поверхностью рабочей грани корпуса и проекцией продольной оси симметрии баллона геркона на плоскость, включающую продольную ось симметрии рабочей грани корпуса, и расположенной параллельно плоскости печатной платы, при одновременном выполнении ограничений, налагаемых следующими соотношениями:

где l – длина стеклянного баллона геркона, для магнита с полюсами N и S, находящимися на концах стержня, с допустимой разницей магнитной индукции BN и BS с торцов, ограниченной соотношением

6 ил.
Изобретение относится к электротехнике и может быть использовано для контроля и управления электромеханическими приводами и замками-фиксаторами повышенной точности.
Известны различные конструкции концевых выключателей, использующих при управлении герконом линейное перемещение как постоянного магнита, так и ферромагнитной шторки, шунтирующей магнитный поток от неподвижного магнита, проходящий через зазор в перекрытии контакт-деталей геркона [1]. Сложность систем кинематики, обеспечивающих перемещение шторок, снижает надежность работы выключателя, установленного на массивном шасси из ферромагнитной стали, подверженного воздействию одиночного удара с пиковым ускорением 7500 м/с2 (750 g) длительностью (0,1-2) мс. При использовании в концевом выключателе переключающего геркона с длиной стеклянного баллона (14-16) мм, используемого в системах контроля замков-фиксаторов с небольшим расстоянием срабатывания при переходе управляющего магнита через точку срабатывания замка, для обеспечения надежности переключения геркона и исключения возможного несанкционированного повторного замыкания размыкаемой пары переключающего геркона, так называемого “тройника”, при котором между всеми тремя выводами имеется гальваническая связь, нужны специальные меры.
Для компенсации магнитных потоков рассеяния при близком расположении больших по массе ферромагнитных элементов конструкций, в которых используются концевые выключатели, масса и габариты управляющего магнита в несколько раз превышают величину, необходимую для переключения геркона с максимальной магнитодвижущей силой срабатывания. Из-за этого вероятность образования “тройников” превышает 50% для выключателей с малым дифференциалом хода и расстоянием срабатывания.
Известна конструкция герконового переключателя с ферромагнитным экраном [2], представляющего собой цилиндрический стакан, изготовленный из железа, кобальта или никеля, внутри которого помещен геркон, к выводам которого припаяны провода, выходящие из открытого торца стакана. При приближении постоянного магнита на малое расстояние геркон замыкается, если происходит насыщение экрана и магнитный поток рассеяния проходит через контакт-детали геркона.
Недостатком такого переключателя являются малые диапазон и допуски на месторасположение управляющего магнита, вызывающего замыкание и размыкание геркона. Кроме того, большая инерционность в работе из-за сложных процессов перераспределения магнитных потоков насыщения и рассеяния не позволяют использовать его как на поверхности стальных конструкций, так и на летательных аппаратах, изготовленных из сплавов титана или алюминия с массивными ферромагнитными элементами, на которых установлены герконовые переключатели.
Предлагаемое техническое решение позволяет упростить условия эксплуатации выключателя концевого герконового с небольшим дифференциалом хода и полностью исключить “тройники” в процессе эксплуатации различных систем, подверженных воздействию одиночного удара.
Технический результат достигается тем, что выключатель концевой герконовый прецизионный, включающий подвижный постоянный магнит и неподвижный геркон, стеклянный баллон которого и выводы с припаянными к ним проводами размещены внутри ферромагнитного экрана, содержит прямоугольный пластмассовый корпус с внутренними приливами, в котором установлена и загерметизирована печатная плата с односторонним меднением, к трем изолированным друг от друга секторам которой через отдельные отверстия припаяны провода и, обрезанные и изогнутые в одну сторону под прямым углом к плоскости печатной платы, выводы переключающего геркона, у которого вдоль продольной оси стеклянного баллона разнесены замыкаемая и размыкаемая пары, на котором между выводами геркона закреплен магнитомягкий ферромагнитный экран из отрезка цилиндрической трубки, при этом для геркона с экраном, находящегося на немедненной поверхности печатной платы и удаленного от наружной поверхности рабочей грани корпуса на величину , расстояние срабатывания Lсраб при линейном и соосном перемещении цилиндрического стержневого магнита в плоскости, проходящей через продольные оси симметрии рабочей грани корпуса и магнита, определяется из выражения

где Dм и Lм – соответственно диаметр и длина стержневого магнита,
LЭ, dЭ, hЭ – соответственно длина, диаметр и толщина стенки трубчатого ферромагнитного экрана,
a – величина перекрытия контакт-деталей геркона в замыкаемой паре,
b – ширина подвижной контакт-детали геркона,
Fмакс(А) – верхняя граница допустимого диапазона магнитодвижущей силы срабатывания геркона,
Fi(A) – текущее значение магнитодвижущей силы срабатывания геркона,
– расстояние между наружной поверхностью рабочей грани корпуса и проекцией продольной оси симметрии баллона геркона на плоскость, включающую продольную ось симметрии рабочей грани корпуса, и расположенной параллельно плоскости печатной платы, при одновременном выполнении ограничений, налагаемых следующими соотношениями:

где lб – длина стеклянного баллона геркона для магнита с полюсами N и S, находящимися на концах стержня, с допустимой разницей магнитной индукции BN и BS с торцов стержня, ограниченной соотношением 
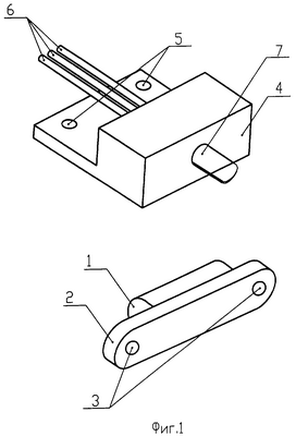
На фиг.1 представлен общий вид выключателя, управляющего магнита и расположение области его срабатывания. На фиг.2 – внешний вид собранной платы, на фиг.3 – конструкция платы, на фиг.4 – конфигурация геркона МКС-14104 с изогнутыми выводами, а на фиг.5 – конструкция пластмассового корпуса выключателя. На фиг.6 приведена усредненная экспериментальная зависимость расстояния срабатывания выключателя от чувствительности переключающего геркона МКС-14104 до обрезки и изгиба его выводов.
Представленный на фиг.1 управляющий магнит 1, имеющий форму цилиндрического стержня диаметром 7-0,12 и длиной 15-0,12 мм, отлит из сплава ЮНДК-35Т5БА и запрессован в пластмассовом корпусе 2, имеющем крепежные отверстия 3. Пластмассовый корпус 4 имеет два отверстия 5, предназначенные для установки выключателя на неподвижной части металлической конструкции. Через три провода 6 выключатель присоединяется в электрическую цепь контроля и управления подвижной частью конструкции с закрепленным на ней магнитом 1. Конфигурация основной области срабатывания 7 выключателя имеет вид цилиндра с закругленным торцом при линейном и соосном перемещении магнита 1 над рабочей гранью корпуса 4.
На фиг.2 представлен сборочный узел, представляющий собой экран 8, закрепленный на стеклянном баллоне геркона 9, изогнутые и обрезанные выводы 10 которого припаяны к плате 11 с отверстиями 12, через которые провода 6 припаяны к медненным секторам 13, изолированным друг от друга дорожками 14 со снятым меднением.
На фиг.3 показано расположение секторов 13 и дорожек 14 на плате 11 между отверстиями 12 и 15, предназначенными для выводов 10 геркона 9, конфигурация которого представлена на фиг.4. Экран 8 при установке платы 11 в корпусе 4 фиксируется внутренними приливами 16, а плата 11 центрируется при помощи приливов 17, обеспечивая нужную ориентацию геркона 9 относительно рабочей грани корпуса 4, представленного на фиг.5.
На фиг.6 представлены экспериментальные зависимости расстояния срабатывания (Lсраб – кривая 18) и расстояния отпускания (Lотп – кривая 19) выключателя, использующего геркон МКС-14104 с различной магнитодвижущей силой срабатывания (МДСсраб).
Выключатель работает следующим образом. Корпус 4 с помощью отверстий 5 устанавливается на неподвижной части металлической конструкции таким образом, чтобы центр рабочей грани корпуса 4 находился напротив центра постоянного магнита 1, закрепленного через отверстия 3 в корпусе 2 на подвижной части металлической конструкции. Допустимое смещение между центрами при установке постоянного магнита 1 на плоскости, параллельной рабочей грани корпуса 4, продольная ось симметрии которой соосна продольной оси симметрии постоянного магнита 1, должно находиться в пределах области срабатывания 7 выключателя, находящейся на рабочей грани корпуса 4 вокруг его центра. Подвижная часть металлической конструкции вызывает возвратно-поступательное перемещение постоянного магнита 1 над рабочей гранью корпуса 4, обеспечивая заданную соосность между продольными осями симметрии постоянного магнита 1 и рабочей гранью корпуса 4.
При приближении постоянного магнита 1 к рабочей грани корпуса 4 на расстояние Lсраб происходит переключение контакт-деталей геркона 9, который возвращается в исходное состояние при удалении постоянного магнита 1 на расстояние Lотп, превышающее Lсраб на величину (Lотп-Lсраб), являющуюся дифференциалом хода выключателя.
Для обеспечения минимально допустимых значений расстояния срабатывания, отпускания и дифференциала хода для прецизионного выключателя, использующего герконы МКС-14104 с магнитодвижущей силой срабатывания от 10 А до 20 А, необходимы меры по ослаблению магнитного потока, создаваемого постоянным магнитом 1, отлитым из сплава ЮНДК-35Т5БА в виде цилиндрического стержня диаметром 7-0,12 мм и длиной 15-0,12 мм, при этом допустимый разброс между магнитами по абсолютным значениям магнитной индукции в центре торца постоянного магнита 1 находится в пределах от 0,1 мТ до 0,16 мТ, а для каждого магнита соотношение индукции с торца у северного полюса BN к индукции с торца у южного полюса BS должно находится в пределах 
Прецизионность выключателя обусловлена стабильностью формы и геометрии основной области срабатывания 7 выключателя с различными герконами и магнитами. Для компенсации допустимых разбросов между магнитами и герконами на стеклянном баллоне геркона 9 установлен ферромагнитный экран 8, представляющий собой 15 мм отрезок пермаллоевой трубки диаметром 3 мм с толщиной стенки 0,15 мм.
Реализация предлагаемого технического решения с использованием герконов МКС-14104 или КЭМ-3 позволила разработать прецизионный концевой выключатель СКВ-04, имеющий небольшой (несколько мм) дифференциал хода управляющего магнита относительно рабочей грани корпуса выключателя. Кроме того, малое расстояние срабатывания выключателя, сравнимое по величине с дифференциалом хода, позволяет расширить область его применения, в частности для контроля замков-фиксаторов в устройствах с подвижными частями конструкции. Использование постоянного магнита, изготовленного из сплава ЮНДК-35Т5БА в виде цилиндрического стержня диаметром 7 мм, длиной (15-25) мм, и магнитомягкого ферромагнитного экрана, изготовленного из цилиндрической трубки диаметром 3 мм с толщиной стенки 0,15 мм, расположенного по всей длине стеклянного баллона у геркона МКС-14104 или КЭМ-3, позволило создать выключатель, способный обеспечивать расстояние срабатывания в пределах (2-5) мм с дифференциалом хода (1-4) мм при установке выключателя на массивном шасси, подверженного воздействию механического удара одиночного действия с пиковым ускорением 7500 м/с2 (750 g) длительностью (0,1-2) мс.
Формула изобретения
Выключатель концевой герконовый прецизионный, включающий подвижный постоянный магнит и неподвижный геркон, стеклянный баллон которого и выводы с припаянными к ним проводами размещены внутри ферромагнитного экрана, отличающийся тем, что содержит прямоугольный пластмассовый корпус с внутренними приливами, в котором установлена и загерметизирована печатная плата с односторонним меднением, к трем изолированным друг от друга секторам которой через отдельные отверстия припаяны провода и, обрезанные и изогнутые в одну сторону под прямым углом к плоскости печатной платы, выводы переключающего геркона, у которого вдоль продольной оси стеклянного баллона разнесены замыкаемая и размыкаемая пары, на котором между выводами геркона закреплен магнитомягкий ферромагнитный экран из отрезка цилиндрической трубки, при этом для геркона с экраном, находящегося на немедненной поверхности печатной платы и удаленного от наружной поверхности рабочей грани корпуса на величину , расстояние срабатывания Lсраб при линейном и соосном перемещении цилиндрического стержневого магнита в плоскости, проходящей через продольные оси симметрии рабочей грани корпуса и магнита, определяется из выражения

где dм и Lм – соответственно диаметр и длина стержневого магнита;
LЭ, dЭ, hЭ – соответственно длина, диаметр и толщина стенки трубчатого ферромагнитного экрана;
а – величина перекрытия контакт-деталей геркона в замыкаемой паре;
b – ширина подвижной контакт-детали геркона;
Fмакс(А) – верхняя граница допустимого диапазона магнитодвижущей силы срабатывания;
Fi(A) – текущее значение магнитодвижущей силы срабатывания геркона, используемого в выключателе;
– расстояние между наружной поверхностью рабочей грани корпуса и проекцией продольной оси симметрии баллона геркона на плоскость, включающую продольную ось симметрии рабочей грани корпуса,
и расположенной параллельно плоскости печатной платы, при одновременном выполнении ограничений, налагаемых следующими соотношениями

где lб – длина стеклянного баллона геркона, для магнита с полюсами N и S, находящимися на концах стержня, с допустимой разницей магнитной индукции BN и BS с торцов, ограниченной соотношением 
РИСУНКИ
|
|